metalinstryment.com
Довідник по металорізальних верстатів та пресовому обладнанні

ФП-17 Верстат фрезерный вертикальний з ЧПУ
руководство, схеми, опис, характеристики

ФП-17 Верстат фрезерный вертикальний з ЧПУ







Производитель фрезерного вертикального бесконсольного верстата ФП-17 - Савеловский машиностроительный завод СМЗ, основанный в 1915 году.

В 1946 году приказом министерства авиационной промышленности определен профиль предприятия, как завода по выпуску токарных прецизионных высокоточных верстатів.

В 1966 году предприятие преобразовано в Савеловский машиностроительный завод (СМЗ) п/я-4.

В 1979 году завод становится Савеловским производственным объединением "Прогресс" (СПО "Прогресс").





Верстати, выпускаемые Савеловским машиностроительным заводом СМЗ (ПО Прогресс)

ФП-17 Верстат фрезерный вертикальний з ЧПУ. Назначение, область применения

Верстат фрезерный вертикальний ФП-17 специализированный з ЧПУ і автоматичною сменой инструмента (АСИ) предназначен для обробки деталей сложной криволинейной формы типа дисков, плит, рычагов, корпусных деталей і др. из сталей, титановых і легких сплавов в условиях механического цеха при отсутствии вблизи сварочных аппаратов установок ТВЧ і других источников помех і тепловой радиации, а также оборудования ударного дії, вызывающего вибрацию.

На станке ФП-17 можно производить фрезерование плоскостей і пазов, сверление, зенкерование, развертывание і предварительное растачивание отверстий.

Принцип роботи і особливості конструкції верстата ФП-17

Верстати ФП-17ВС2, ФП-17ВС2 созданы на базе вертикального фрезерного верстата ФП-17МН і предназначены для высокоскоростного (контурного і объемного)фрезерування по программе деталей типа балок, нервюр, лонжеронов, кронштейнов, корпусов, формообразующей оснастки, і др.

Используются для высокоскоростной обробки сталей, алюминиевых і магниевых сплавов.

В конструкції верстата применены: литые базовые детали підвищеної жесткости, комбинированные направляющие, силовая фрезерна головка, высокоточные шариковые винтовые пары в сочетании з высокодинамичными приводами подач, централизованная смазка, система подачі і сбора СОЖ.

Стандартно верстат оснащен:

Верстат по особому заказу може комплектоваться

Верстат фрезерный вертикальний з ЧПУ ФП-17ВС2М

Отличительные особливості верстата




Загальний вигляд вертикального бесконсольного фрезерного верстата ФП-17

ФП-17 Загальний вигляд  бесконсольного фрезерного верстата

Фото бесконсольного фрезерного верстата ФП-17лн

Фото бесконсольного фрезерного верстата ФП-17. Дивитись у збільшеному масштабі



ФП-17 Загальний вигляд  бесконсольного фрезерного верстата

Фото бесконсольного фрезерного верстата ФП-17а3

Фото бесконсольного фрезерного верстата ФП-17. Дивитись у збільшеному масштабі



ФП-17 Загальний вигляд  бесконсольного фрезерного верстата

Фото бесконсольного фрезерного верстата ФП-17а3

Фото бесконсольного фрезерного верстата ФП-17. Дивитись у збільшеному масштабі



ФП-17 Загальний вигляд  бесконсольного фрезерного верстата

Фото бесконсольного фрезерного верстата ФП-17а3

Фото бесконсольного фрезерного верстата ФП-17. Дивитись у збільшеному масштабі



ФП-17 Загальний вигляд  бесконсольного фрезерного верстата

Фото бесконсольного фрезерного верстата ФП-17а3

Фото бесконсольного фрезерного верстата ФП-17. Дивитись у збільшеному масштабі







Кінематична схема бесконсольного вертикально-фрезерного верстата ФП-17

Кінематична схема бесконсольного вертикально-фрезерного верстата ФП-17

Кінематична схема вертикально-фрезерного верстата ФП-17

Кінематична схема бесконсольного вертикально-фрезерного верстата ФП-17. Дивитись у збільшеному масштабі



Кінематична схема бесконсольного вертикально-фрезерного верстата ФП-17

Кінематична схема вертикально-фрезерного верстата ФП-17

Кінематична схема бесконсольного вертикально-фрезерного верстата ФП-17. Дивитись у збільшеному масштабі



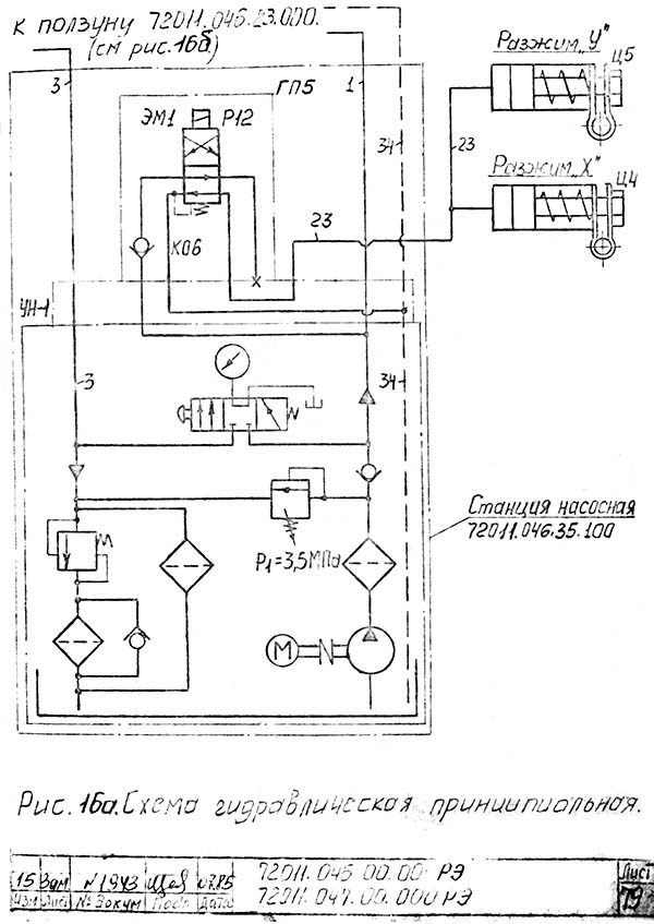
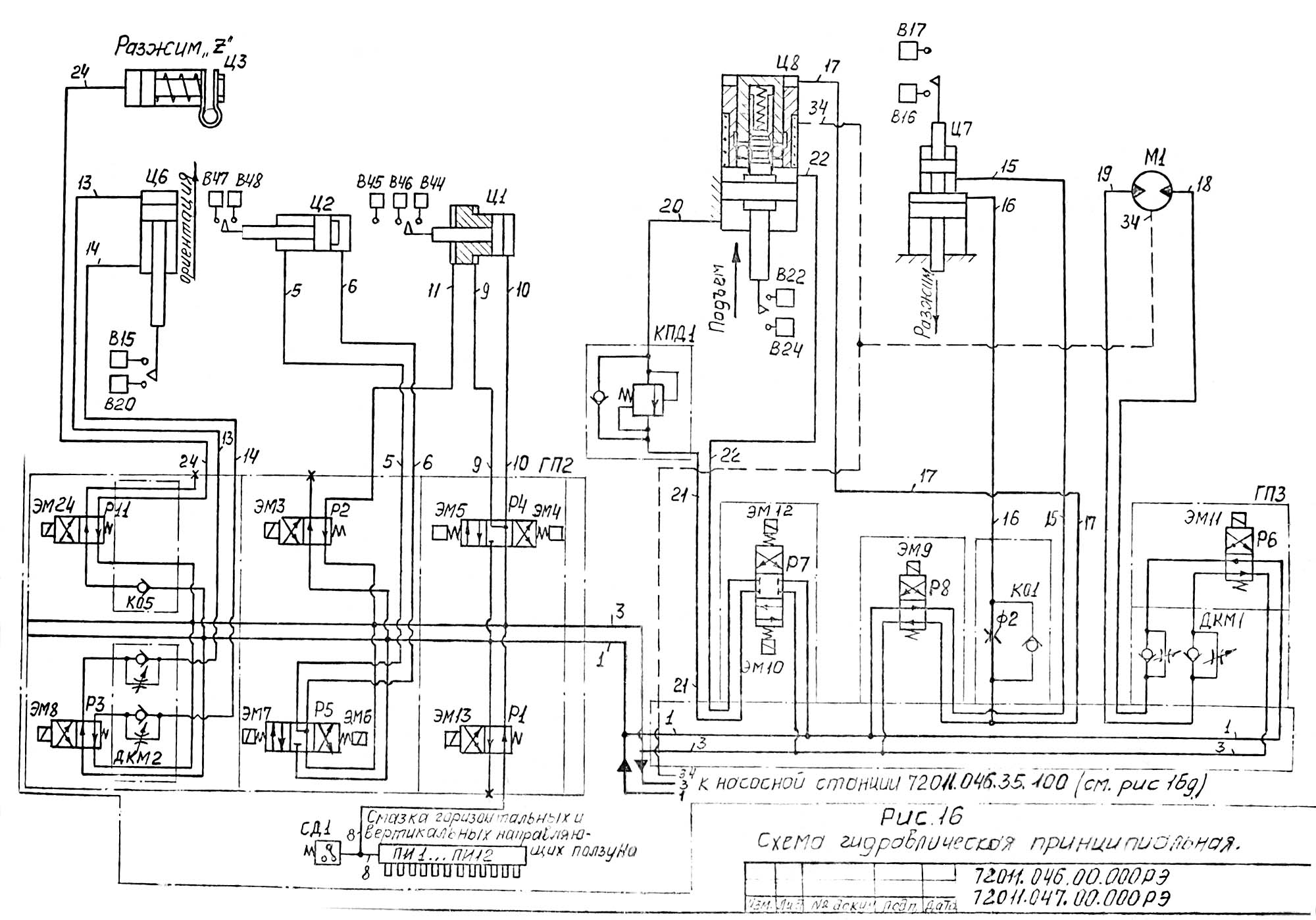
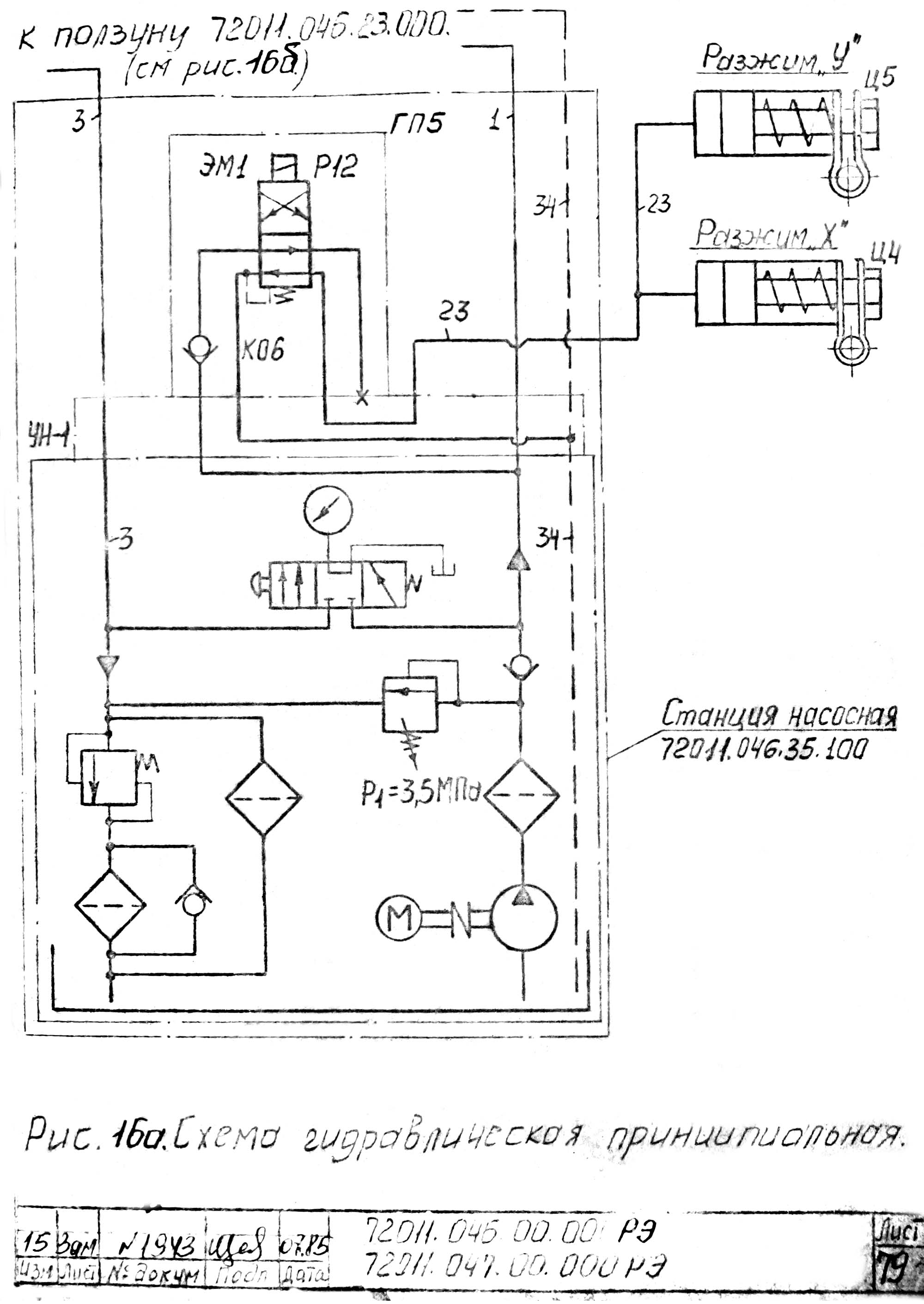
Гідравлічна схема бесконсольного вертикально-фрезерного верстата ФП-17

Гідравлічна схема вертикально-фрезерного верстата ФП-17

Гідравлічна схема бесконсольного вертикально-фрезерного верстата ФП-17. Дивитись у збільшеному масштабі



Гідравлічна схема бесконсольного вертикально-фрезерного верстата ФП-17

Гідравлічна схема вертикально-фрезерного верстата ФП-17

Гідравлічна схема бесконсольного вертикально-фрезерного верстата ФП-17. Дивитись у збільшеному масштабі






ФП-17 Верстат фрезерный вертикальний з ЧПУ. Відеоролик.




Технічні характеристики бесконсольного фрезерного верстата ФП-17

Наименование параметра МА-655 А7 ФП-17 ВС2 ФП-7 ВС2
Основні параметри верстата
Класс точності по ГОСТ 9726-72 і ГОСТ 8-82 н н н
Розміри поверхности стола, мм 500 х 1250 500 х 1600 500 х 3000
Высота поверхности стола над полом, мм 900
Расстояние от торца шпинделя до поверхности стола, мм 160…790 110..590 110..590
Расстояние от оси шпинделя до вертикальних направляючих (вылет), мм 560
Наибольшее перемещение в следящем режиме (продольное стола X/ поперечное салазок Y/ вертикальное фрезерной головки Z), мм 1000/ 500/ 630 1600/ 660/ 480 3000/ 660/ 480
Пределы рабочих подач, мм/мин 5…2400 1..8000 1..8000
Скорости быстрых перемещений по осям X, Y, м/мин. 4,800 16,0 16,0
Наибольшая масса обрабатываемой детали, кг 2000 3000
Точность позиционирования стола при одностороннем подходе без корректировки по координате Х, мм ±0,02 0,05 (0,025) 0,07 (0,035)
Точность позиционирования стола (ползуна) при одностороннем подходе без корректировки по координате Y, мм ±0,02 0,05 (0,025) 0,05 (0,025)
Точность позиционирования вертикальная при одностороннем подходе без корректировки по координате Z, мм ±0,02 0,05 (0,025) 0,05 (0,025)
Точность обробки деталей по контуру, мм ±0,05
Шероховатость поверхности при обработке деталей по ГОСТ 2789-73, мм Rz=20; Rа=2,5
Шпиндель. Бабка шпиндельна
Частота обертання шпинделя, об/мин 20…2500 0..12000 0..12000
Число диапазонов швидкостей шпинделя 6
Ход гильзы шпинделя
Наибольший крутящий момент на шпинделе, Нм (кгс*м) 750 (75) 190 190
Наибольшее усилие різання, допускаемое механізмом подачі бабки, Н (кгс) 750 (75)
Конус отверстия шпинделя по ГОСТ 15945-70 7:24
Кінець шпинделя SK50 SK50
Рабочий стол і ползун
Пределы продольных подач стола (б/с регулювання)(X), мм/мин 5..1500 1..8000 1..8000
Пределы поперечных подач стола (Ползуна) (б/с регулювання) (Y), мм/мин 5..1500 1..8000 1..8000
Магазин инструмента
Количество инструментов в магазине 8 12 12
Наибольший диаметр инструмента, мм 160 160
Електроустаткування і привід верстата
Штатная система ЧПУ (1982 год) NC-210 МТС-200 МТС-200
Штатная гідростанція ЗАМПГ48-83, 8Г12-22/АО2-42-6
Количество електродвигателей на станке 7
Електродвигун приводу головного руху, кВт 11,0 30 30
Електродвигун насоса гідростанції, кВт 4,0
Електродвигун приводов подач стола і бабки (X, Y, Z), Нм/ об/мин 35/ 2000
Електродвигун насоса змазки направляючих стола і салазок, кВт 0,018
Електродвигун насоса охлаждения, кВт 0,125
Габаритные розміри і масса верстата
Габаритные розміри (длина х ширина х высота), мм 2360 х 2660 х 3680 6162 х 4715 х 3345 8800 х 4715 х 3345
Масса верстата, кг 10000 16000 19300

    Список литературы:

  1. Аврутин С.В. Основы фрезерного дела, 1962
  2. Аврутин С.В. Фрезерне дело, 1963
  3. Ачеркан Н.С. Металлорежущие верстати, Том 1, 1965
  4. Барбашов Ф.А. Фрезерне дело 1973
  5. Барбашов Ф.А. Фрезерные роботи (Профтехобразование), 1986
  6. Блюмберг В.А. Справочник фрезеровщика, 1984
  7. Григорьев С.П. Практика координатно-расточных і фрезерных работ, 1980
  8. Копылов Работа на фрезерных верстатах,1971
  9. Косовский В.Л. Справочник молодого фрезеровщика, 1992
  10. Кувшинский В.В. Фрезерование,1977
  11. Ничков А.Г. Фрезерные верстати (Библиотека станочника), 1977
  12. Пикус М.Ю. Справочник слесаря по ремонту металлорежущих верстатів, 1987
  13. Плотицын В.Г. Расчёты настроек і наладок фрезерных верстатів, 1969
  14. Плотицын В.Г. Наладка фрезерных верстатів,1975
  15. Рябов С.А. Современные фрезерные верстати і их оснастка, 2006
  16. Схиртладзе А.Г., Новиков В.Ю. Технологическое обладнання машиностроительных производств, 1980
  17. Тепинкичиев В.К. Металлорежущие верстати, 1973
  18. Чернов Н.Н. Металлорежущие верстати, 1988
  19. Френкель С.Ш. Справочник молодого фрезеровщика (3-е изд.) (Профтехобразование), 1978









Заказать

Кто владеет информацией - тот владеет миром.

Натан Ротшильд