Виробник токарно-револьверного верстата моделі 1М116, 1М110 - Мелітопольський верстатобудівний завод ім. 23 Жовтня. У 1933 р. завод-ВТУЗ перепрофільовано на випуск металорізальних верстатів. Того ж року студенти-робітники дали країні 288 Верстатів.
Автомати токарно-револьверні одношпиндельні пруткові моделі 1М116 та 1М110 призначені для виготовлення деталей типу тіл обертання з каліброваного прутка різних марок сталей, кольорових металів та їх сплавів з найбільшим діаметром обробки 12.18 мм. при застосуванні пристрою для зовнішньої подачі – 18..22 мм.
Найбільша довжина каліброваного прутка 3000 мм круглого, квадратного та шестигранного перерізу не нижче 4 класу точності за ГОСТ 7417-75, ГОСТ 8559-75х та ГОСТ 8560-67.
Автомати 1М116 та 1М110 використовуються в умовах масового та серійного виробництва. При застосуванні групової обробки деталей автомати можуть ефективно використовуватись у дрібносерійному виробництві.
Точність обробки на автоматі 1М116 при зовнішній обточці - по 8 квалітету, при обточуванні внутрішніх поверхонь - по 11 квалітету; довжина при відрізку — за 9 кваліфікацією.
Наявність нових конструктивних елементів, заміна матеріалів ряду деталей, використання 30 додаткових пристроїв значно розширили технологічні можливості автоматів. На автоматах можна проводити обточування, розточування, свердління отворів, нарізування різьблення, пропилювання та фрезерування пазів з боку револьверної головки, з боку відрізки деталей, поперечне свердління та фрезерування при загальмованому шпинделі, обробляти штучні заготовки, використовуючи магазинну та бункерну.
Автомати 1М116 випускаються у двох виконаннях:
Подача охолоджуючої рідини до ріжучого інструменту здійснюється насосом, розташованим у правій ніші основи автомата. Регулювання подачі СОЖ здійснюється корковим краном. Як СОЖ на автоматах рекомендується застосовувати сульфофрезол, ГОСТ 122-76, та емульсол, ГОСТ 1975-75.
Клас точності автоматів Н за ГОСТ 8—77.
Розробник — Мелітопольський верстатобудівний завод імені 23 Жовтня.
У комплект і вартість автомата входить підтримуючий пристрій для прутка.
За особливим замовленням за окрему плату поставляються:
Синоніми: токарно-револьверний верстат, револьверний верстат, токарно-револьверний напівавтомат, токарно-револьверний автомат, turret lathe, automatic turret lathe.

Принцип роботи токарно-револьверного автомата
На відміну від автоматів поздовжнього точення шпиндельна бабка 1 токарно-револьверного автомата встановлена на станині жорстко і поздовжнього переміщення не має (рис. 81).
Для нарізування різьблення на заготівлі різьбонарізним інструментом, що не обертається, шпиндель 2 автомата обертається у двох напрямках:
Крім поперечних супортів 3 токарно-револьверний автомат має поздовжній револьверний супорт 5, на якому встановлена поворотна шестипозиційна (I-VI) револьверна головка 4 з інструментами для обробки поздовжньою подачею. В одній позиції револьверної головки встановлюється спеціальний упор 6, що обмежує величину подачі дроту 7.
Наявність в токарно-револьверних автоматах трьох (а в деяких і чотирьох) поперечних супортів і поздовжнього револьверного супорта значно розширює їх технологічні можливості порівняно з автоматами поздовжнього точення і дозволяє обробляти на них досить складні заготовки із застосуванням великої кількості різноманітних різальних інструментів. Застосування спеціальних пристроїв ще більше розширює їх технологічні можливості.
Більшість робочих операцій виконується при швидшому лівому обертанні шпинделя, а такі операції, як нарізання різьблення, розгортання та деякі інші, - при більш повільному правому обертанні шпинделя. Перемикання напрямків обертання шпинделя здійснюється автоматично.
Недоліком токарно-револьверних автоматів є необхідність подавати пруток відразу на всю довжину заготовки, що обробляється. При великому вильоті l прутка зі шпинделя він прогинатматися під дією сили різання Рz, що призводитиме до зниження точності обробки.

Схема обробки заготівлі на токарно-револьверному автоматі
Схема обробки заготовки на токарно-револьвер . Дивитись у збільшеному масштабі
На рис. 82 показано обробку заготівлі типової деталі на токарно-револьверному автоматі. Після відрізки деталі та відходу відрізного різця проводиться швидка подача дроту до упору (I) відразу на всю довжину заготовки. Потім проводиться послідовна обробка заготівлі різальними інструментами (II-VII), що встановлюються в робочу позицію при періодичному повороті револьверної головки, та інструментами поперечних супортів.
Приклад позначення одношпиндельних автоматів та напівавтоматів: 1Б140, 1Е140, 1П140, 1Г140П, 1І125П, 1І140П, 1І165П.

Габарит робочого простору револьверного верстата 1М116
Габарит робочого верстата 1М116, 1М110. Дивитись у збільшеному масштабі

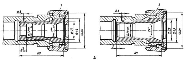
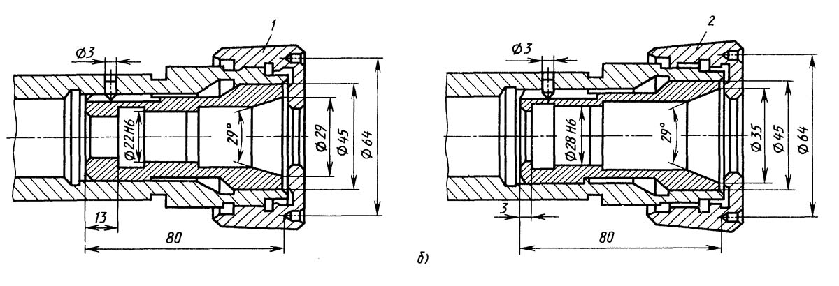
Приєднувальні розміри затискного вузла верстата 1М116, 1М110
Приєднати -Револьверного верстата 1М116, 1М110. Дивитись у збільшеному масштабі

Фото токарно-револьверного верстата 1М116

Фото супортів токарно-револьверного верстата 1М116

Розташування органів керування револьверним верстатом 1М116
Розташування органів керування револьверним верстатом 1М116. Дивитись у збільшеному масштабі

Кінематична схема токарно-револьверного верстата 1М116
1. Кінематична схема токарно-револьверного верстата 1М116, 1М110. Дивитись у збільшеному масштабі
Установлювальне креслення токарного револьверного верстата 1М116, 1М110
Установлювальний креслення1 токарного револь1 . Дивитись у збільшеному масштабі

Зразки виробів, отримані на верстаті 1М116

Технічні характеристики верстата 1М116, 1М110