metalinstryment.com
Довідник по металорізальних верстатів та пресовому обладнанні

5Б63 Верстат резьбофрезерный горизонтальный напівавтомат
схеми, опис, характеристики

5Б63 Загальний вигляд  зубофрезерного верстата







Відомості про виробника резьбофрезерного напівавтомату 5Б63

Производитель горизонтального резьбофрезерного напівавтомату 5Б63 - Мелитопольский станкостроительный завод им. 23 Октября. В 1933 г. завод-ВТУЗ перепрофилирован на выпуск металлорежущих верстатів. В том же году студенты-рабочие дали стране 288 верстатів.

Разработчик резьбофрезерных верстатів 5Б63 і 5Б63Г Одесское специальное конструкторское бюро специальных верстатів.





Верстати, выпускаемые Мелитопольским станкостроительным заводом им. 23 Октября


5Б63 Верстат резьбофрезерный горизонтальный напівавтомат. Назначение і область применения

Резьбофрезерный напівавтомат 5Б63 производился з 1985 года і заменил в производстве устаревшую модель 5К63.

Верстат резьбофрезерный 5Б63 горизонтальный предназначен для фрезерування в патроне коротких наружных і внутренних цилиндрических резьб в условиях крупносерийного і массового производства.

На напівавтоматі можно фрезеровать короткие наружные цилиндрические різьби методом охватывающего резьбофрезерування, наружные і внутренние цилиндрические різьби — резьбовыми гребенчатыми фрезами по ГОСТ 1336—77.

Полуавтомат 5Б63 обеспечивает фрезерование різьб 6-й степени точності по ГОСТ 16093—81.

Класс точності напівавтомату Н по ГОСТ 8—82Е.

Шероховатость обработанной поверхности Ra = 3,2 мкм.

Категория качества — высшая.

Принцип роботи і особливості конструкції верстата

На напівавтоматі 5Б63 вручную производятся только пуск, закрепление і смена деталей, все остальные рабочие і холостые руху выполняются автоматически.

Все автоматические переключения осуществляются при помощи кулачков і конечных выключателей. Шаг різьби устанавливается при помощи сменных копиров.

Наладка напівавтомату 5Б63 на наружную или внутреннюю, правую или левую резьбу производится при помощи реверсивных переключателей електродвигателей і рукоятки реверса бабки вироби.

Нарезание різьби производится при помощи двух взаимодействующих копиров, кинематически связанных і управляющих продольным переміщенням каретки на величину шага і одновременным поперечным переміщенням її на глубину різьби.

Копир продольного переміщення каретки расположен в корпусе бабки вироби і вращается от шпинделя вироби з передаточным отношением 1,31, т.е. за один оборот копиров, соответствующий полному циклу обробки, изделие совершает 1,31 оборота.

Копир поперечного переміщення фрезерной головки смонтирован на каретке і вращается з угловой скоростью, равной скорости продольного копира. Весь цикл обробки (подвод і врезание фрезы в изделие, фрезерование на полную глубину і перемещение на шаг різьби, зачистка різьби і вывод фрезы из різьби) совершается за один оборот копиров.

Быстрый подвод і отвод каретки обеспечивается специальным механізмом ускоренных перемещений.

Полуавтомат 5Б63 устанавливается на фундамент на виброопорах типа ОВ-31.

Система СОЖ — централизованного типа.

Требования по технике безопасности согласно ГОСТ 12.2.009—80, СТ СЭВ 539—77, СТ СЭВ 538—77 і СТ СЭВ 576—77.

Условия транспортирования і хранения согласно ГОСТ 90141—78, ОСТ2 Н89-30—79, ГОСТ 10198—78, ГОСТ 2991—76 і ГОСТ 10354—82.

Полуавтомат изготовляется по ТУ2-024-4211—80.

Разработчик — Одесское специальное конструкторское бюро специальных верстатів.


Резьбофрезерные верстати

Схеми резьбофрезерування

Схеми резьбофрезерування

Сущность резьбофрезерування заключается в следующем (рис. 85, а). Дисковій фрезе 1, имеющей профиль нарезаемой різьби, сообщают вращение вокруг її оси (главное движение). Одновременно з етим осуществляют рух подачі, состоящее из медленного обертання детали 2 (круговая подача) і продольного переміщення її или фрезы вдоль оси. Последнее равно величине шага нарезаемой різьби за время одного оборота детали. В начале процесса обробки фрезе или заготовке сообщают дополнительно і поперечную подачу для врізання инструмента на полную глубину різьби.

Для нарізання різьби з большим шагом применяют дисковые фрезы (рис. 85, а), а для коротких і мелких різьб большого диаметра — гребенчатые фрезы (рис. 85, б).

Гребенчатая фреза представляет собой как бы набор дисковых фрез, Поетому процесс фрезерування значительно ускоряется, так как витки по всей длине різьби обрабатываются одновременно. За один оборот заготовки конец канавки, нарезанный одним из резьбовых дисков фрезы, совпадает з началом канавки, нарезанной следующим диском. Таким образом, резьба фрезеруется за один оборот заготовки. Однако, имея в виду процесс врізання фрезы во время обертання детали, практически для получения полной різьби детали необходимо совершить более одного оборота. Обычно етот цикл заканчивается за 1,2 — 1,4 оборота детали, в зависимости от конструкції верстата. Минимальная длина фрезы должна быть на 2 — 3 шага больше длины фрезеруемой різьби.

Ось гребенчатой фрезы располагается параллельно оси детали, что приводит к некоторому искажению профиля різьби. Величина искажения тем больше, чем больше шаг різьби, диаметр фрезы і чем меньше диаметр різьби. Однако при нарезании обычных треугольных резьб, имеющих небольшой наклон витков винтовой линии, такое искажение не является существенным.

Гребенчатыми фрезами можно фрезеровать как наружные (рис. 85, б), так і внутренние (рис. 85, в) різьби. В первом случае фрезе і детали сообщают вращение в одну сторону, во втором случае - в разные стороны,





5Б63 Габарити робочого простору резьбофрезерного напівавтомату

5Б63 Верстат резьбофрезерный. Габарити робочого простору

Габаритные розміри робочого простору верстата 5Б63

Габаритные розміри робочого простору верстата 5Б63. Дивитись у збільшеному масштабі



5Б63 Верстат резьбофрезерный. Габарити робочого простору

Габаритные розміри робочого простору верстата 5Б63


Посадочные і присоединительные базы инструмента верстата 5Б63.
Ескіз шпинделя фрезы

5Б63 Посадочные і присоединительные базы резьбофрезерного напівавтомату 5Б63. Ескіз шпинделя фрезы

Ескіз шпинделя фрезы верстата 5Б63

Посадочные і присоединительные базы верстата 5Б63. Дивитись у збільшеному масштабі



5Б63 Загальний вигляд резьбофрезерного верстата-напівавтомату

5Б63 напівавтомат резьбофрезерный. Загальний вигляд

Фото резьбофрезерного верстата 5Б63

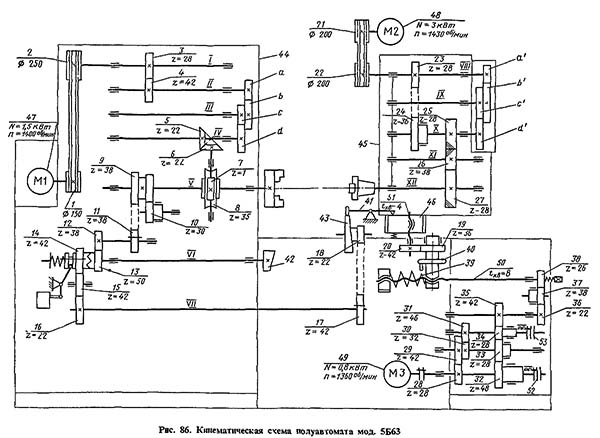
Схема кінематична резьбофрезерного верстата 5Б63

Схема кінематична резьбофрезерного верстата 5Б63

Кінематична схема резьбофрезерного верстата 5Б63

1. Схема кінематична резьбофрезерного верстата 5Б63. Дивитись у збільшеному масштабі



Резьбофрезерный напівавтомат мод. 5Б63 для фрезерування резьб

Цикл обробки следующий:

Керування нарезанием різьби осуществляется при помощи двух копиров, кинематически связанных і управляющих продольным переміщенням каретки на величину шага і одновременным поперечным переміщенням її на глубину різьби. Копир 42 продольного переміщення каретки (рис. 86) расположен в корпусе шпиндельной бабки 44 і получает рух от шпинделя вироби з передаточным отношением 1,31 (один оборот копира соответствует 1,31 оборотам шпинделя). Цикл обробки, включающий подвод і врезание фрезы в изделие, фрезерование на полную глубину і перемещение на шаг різьби, зачистку різьби і вывод фрезы из різьби, совершается за один оборот копиров. Копир 43 поперечного переміщення фрезерной головки вращается з угловой скоростью, равной скорости продольного копира.

Шпиндельная бабка вироби 44 жестко крепится на станине. Шпиндель, установленный на підшипниках ковзання, приводится во вращение от електродвигуна 47 через клиноременную передачу 1—2 і коробку швидкостей со сменными шестернями а — b, c — d, которая обеспечивает 16 частот обертання шпинделя в пределах 0,5-16 об/мин. Передаточное отношение зубчатых колес 9 — 11, 12 — 13 на вал VI, на котором находится сменный копир 42 для каждого шага різьби, составляет 1,31. Для обеспечения остановки копира 42 в положении, соответствующем началу цикла, вал VI копира отключается от приведенной ланцюги при помощи муфты з зубчатым колесом 14.

Фрезерная головка 45 устанавливается на салазках каретки 46 і може занимать по отношению к ней такое положение, при котором ось шпинделя либо параллельна оси шпиндельной бабки вироби (при нарезании цилиндрических резьб), либо будет образовывать з осью післядней угол 30°30' (при нарезании конических резьб). Вместе з салазками фрезерна головка може перемещаться в поперечном направлении для врізання на глубину різьби.

На корпусе фрезерной головки размещается електродвигатель 48, от которого через клиноременную передачу 21—22, сменные колеса а' — b', c'—d' і колеса 25—26 — 27 рух передається шпинделю фрезы, который вращается з частотой 160 — 2500 об/мин.

Каретка 46 фрезерной головки имеет продольное і поперечное переміщення. Продольное перемещение каретки може быть быстрым при подводе к копиру 42, замедленным в момент соприкосновения з копиром і рабочим при нарезании різьби. Продольное перемещение при подводе каретки осуществляется винтом 50, получающим вращение от механізма быстрых перемещений по ланцюги: електродвигатель 49, муфта 52, зубчасті колеса 32 — 35, 36 — 38 (при включенной муфте 52) на винт. В кінці швидкого подвода каретки к копиру выключается муфта 52 і включается муфта 53, чем обеспечивается медленное перемещение каретки по ланцюги колес 28 — 31, 34 — 35 і 36 — 38 на винт 50. Плавающая гайка гвинта связана з кареткой через пружину 39, которая служит для прижима каретки к копиру 42 в процессе нарізання різьби, т. е. обеспечивает перемещение каретки на шаг нарезаемой різьби при нерухомому винте 50. В кінці подвода каретки переключением електромагнітних муфт 52 — 53 включается замедленная передача через зубчасті колеса 28 — 29, 30 — 31, муфту 53 і колеса 34-35, 36-38 і винт 50.

Поперечное установочное перемещение каретки фрезерной головки осуществляется вручную маховиком 40 через передачи 19 — 20 і винтовую пару 51. Рабочее перемещение осуществляется от копира 43 поперечного переміщення, который связан жесткой кінематичної ланцюгю зубчатых колес 18 — 17, валом VII і колесами 16 — 15 — 14 — 13 з копиром продольного переміщення 42. Копир 43 поперечного переміщення - открытого типа, сменный для определенного диапазона шагов резьб.

Расчет налаштування резьбофрезерных верстатів

Расчет налаштування верстатів в общем случае сводится к определению параметров кинематических ланцюгів:

Исходными данными для расчета є шаг нарезаемой різьби tH, материал детали і инструмента. По нормативам режимов різання для фрезерування різьби по диаметру фрезы dф і подаче на зуб sz подбирают скорость різання v. Передаточное отношение сменных колес можно определить из уравнения кинематического баланса ланцюги головного руху. Применительно к схеме на рис, 86 ето будет


Расчет налаштування резьбофрезерных верстатів 5Б63

Расчет налаштування резьбофрезерных верстатів 5Б63

Расчет налаштування резьбофрезерных верстатів 5Б63


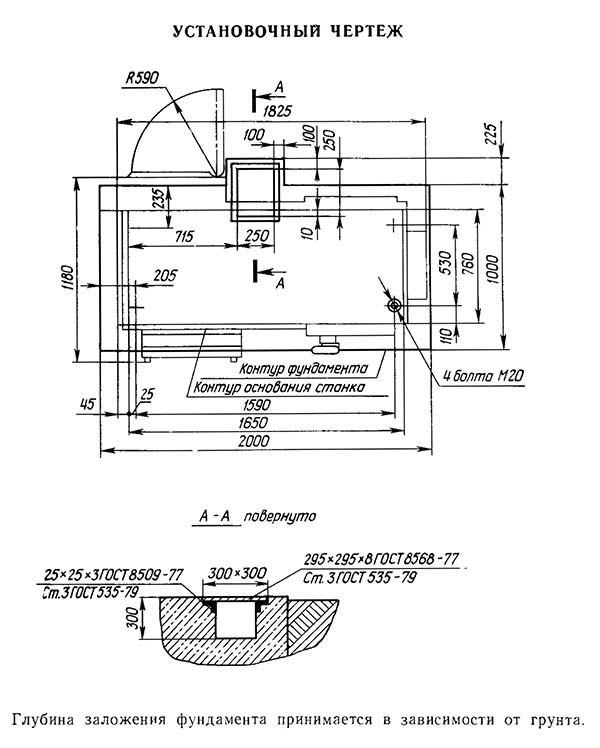
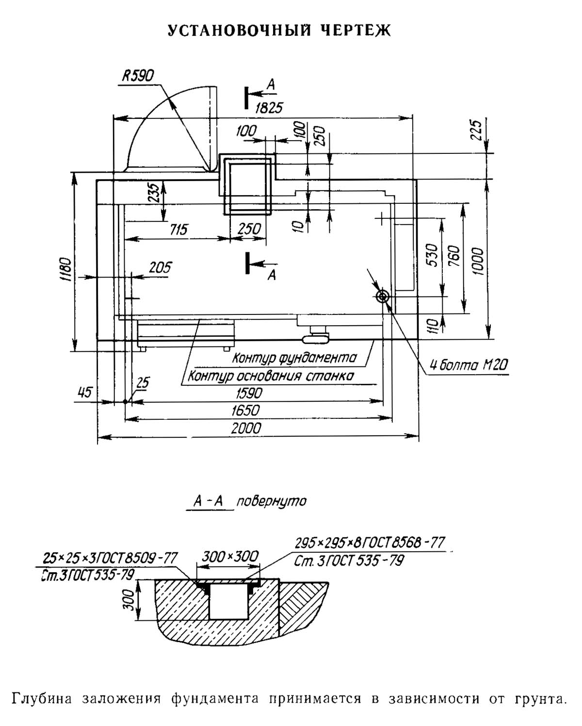
Настановне креслення резьбофрезерного верстата 5Б63

Настановне креслення резьбофрезерного верстата 5Б63

Настановне креслення резьбофрезерного верстата 5Б63

Настановне креслення резьбофрезерного верстата 5Б63. Дивитись у збільшеному масштабі






5Б63 Верстат резьбофрезерный горизонтальный напівавтомат. Відеоролик.



Технічні характеристики резьбофрезерного верстата 5Б63

Наименование параметра 5К63 5Б63 5К63Г
Основні параметри верстата
Наибольший диаметр детали устанавливаемой над станиной, мм 320 450 450
Наибольшее расстояние между торцами шпинделей, мм 400
Наибольшая длина заготовки, устанавливаемой в центрах мм 750 - 710
Наибольший диаметр фрезеруемой реьбы наружный, мм 100
Наибольший диаметр фрезеруемой реьбы внутренний, мм 80
Наибольшая длина нарезаемой різьби при работе охватывающей резьбовой фрезой, мм 30 30
Наибольшая длина нарезаемой різьби приработе гребенчатой резьбовой фрезой (по ГОСТ 1336-77), мм 50 50
Наибольший шаг нарезаемой різьби (винтовой канавки), мм 1..6 5 5
Наибольший шаг нарезаемой різьби (винтовой канавки), ниток на 1" 16..4
Высота центров, мм 200
Расстояние от от основания верстата до оси шпинделя, мм 1060 1060
Количество швидкостей обертання шпинделя вироби 18 16
Частота обертання шпинделя вироби, об/мин 0,315..16 0,315..10
Количество швидкостей обертання шпинделя фрезерной головки 8 13 10
Частота обертання шпинделя фрезерной головки, об/мин 75, 95, 118, 150, 190, 235, 300, 375 160..2500 80..630
Фрезерный шпиндель: размер конического отверстия по ГОСТ 836-72 50 -
Фрезерный шпиндель: размер конического отверстия по ГОСТ 25557-82 - Морзе 3
Шпиндель бабки вироби: конец шпинделя по ГОСТ 12595-72, условный размер 6 6
Диаметр отверстия в шпинделе бабки вироби, мм 70 70
Наибольший крутящий момент шпинделя фрезерной головки, Н.м 99 95 120
Наибольший продольный ход фрезерной каретки от руки, мм 500 355 810
Наибольший продольный ход фрезерной каретки - механический, мм 130
Поперечный ход салазок фрезерной головки - механический, мм 6 2..5 2..5
Поперечный ход салазок фрезерной головки - от руки, мм 82,5 122 122
Скорость ускоренного продольного переміщення фрезерной каретки, м/мин 4 4
Скорость продольного переміщення фрезерной каретки, м/мин 0,2 0,2
Привід і електрообладнання верстата
Количество електродвигателей, установленных на станке 4 4
Електродвигун обертання фрезы (главный привод), кВт (об/мин) 1,5 (1420) 3,0 (1425) 2,2
Електродвигун обертання вироби, кВт (об/мин) 1,1 (1400) 1,5 (1400) 1,5
Електродвигун переміщення каретки, кВт (об/мин) 1,1 (1400) 1,1 (1400) 1,1
Електродвигун насоса охлаждения, кВт (об/мин) 0,15 (2800) 0,15
Суммарная мощность всех електродвигателей, кВт 5,75 4,96
Габаритные розміри і масса верстата
Габаритные розміри верстата (длина х ширина х высота), мм 2140 х 1255 х 1130 1250 х 1180 х 1320 2295 х 1085 х 1675
Масса верстата з електрообладнанням і охолодженням, кг 2400 2585

    Список литературы

  1. Колев Н.С. Металлорежущие верстати.
  2. Гальперин Е.И. Наладка зуборезных верстатів, 1960.
  3. Козлов Д.Н. Зуборезные роботи, 1971.
  4. Лоскутов В.В., Ничков А.Г. Зубообрабатывающие верстати, 1978.
  5. Малахов Я.А. Зубообрабатывающие і резьбофрезерные верстати і их наладка, 1972.
  6. Мильштейн М.З. Нарезание зубчатых колес, 1972.
  7. Овумян Г.Г., Адам А.И. Справочник зубореза, 1983.
  8. Птицин Г.А., Кокичев В.Н. Зуборезные верстати, 1957.
  9. Сильвестров Б.Н., Захаров И.Д. Конструкція і наладка зуборезных і резьбофрезерных верстатів, 1979.
  10. Шавлюга Н.И. Расчет і примеры наладок зубофрезерных і зубодолбежных верстатів, 1978.
  11. Руководящий материал для конструкторов, проектирующих технологическую оснастку. Основні данные і посадочные места металлорежущих верстатів. НИИМАШ, 1968.









Заказать

Кто владеет информацией - тот владеет миром.

Натан Ротшильд