Виробником універсального токарно-гвинторізного верстата 1М63Д є Тбіліський верстатобудівний завод ім. Кірова
Верстат токарно-гвинторізний 1М63Д (початок серійного виробництва – 1983 рік) замінив модель 1Д63А . У 1986 році верстат 1м63д був замінений на більш досконалу модель 1М63МФ101 .
Токарно-гвинторізні верстати 163 серії одні з найпоширеніших на території колишнього СРСР, призначені для обробки деталей середніх і великих розмірів, в умовах одиничного та дрібносерійного виробництва. На верстаті можна проводити зовнішнє і внутрішнє точення, включаючи точення конусів, розточування, свердління та нарізування різьблень (метричної, модульної, дюймової та питної).
Технічні характеристики та жорсткість конструкція станини, каретки, шпинделя верстата дозволяють повністю використовувати можливості роботи на високих швидкостях різання із застосуванням різців із швидкорізальної сталі або оснащених пластинами із твердих сплавів при обробці деталей із чорних та кольорових металів.
Супорт верстата 1м63д має механічне переміщення верхньої частинини, що дозволяє робити точення довгих конусів. Точення коротких конусів також здійснюється рухом верхньої частинини супорта.
Зміна величин подач і налаштування на крок різьби, що нарізається, здійснюються перемиканням зубчастиних коліс коробки подач і налаштуванням гітари змінних шестерень.
Супорт має швидке переміщення в поздовжньому та поперечному напрямках, яке здійснюється від індивідуального електродвигуна.
1М63 – наступне покоління 163-ї серії, верстат замінив модель 163, початок випуску 1968 рік.
1М63Ф306 - токарно-гвинторізний верстат з ЧПУ, початок серійного випуску 1973 рік.
1М63Ф101 - токарно-гвинторізний верстат з УЦИ, що забезпечує відлік поперечного переміщення супорта, початок серійного випуску 1976 рік.
1М63Б, 1М63БГ, 1М63БФ101 - токарно-гвинторізні швидкохідні підвищеної потужності.
1М63Д, 1М63ДФ101 - токарно-винторезные, Тбилиси, 1983 год.
1М63М, 1М63МФ101 - токарно-гвинторізні підвищеної потужності, Тбілісі, 1986 рік.
1М63МФ30 - токарний верстат із ЧПУ Електроніка НЦ-31, Тбілісі.
1М63МС5 - токарно-гвинторізний верстат 163 серии, Тбилиси, 1991 год.
Виробник – Тбіліський верстатобудівний завод ім. Кірова.
Запланований термін настановної серії – 1983 рік.
У 1937 році в ЕНІМС було розроблено типаж (номенклатура типів та розмірів) верстатів, у тому числі й прийнято єдину систему умовних позначень верстатів.
1 - токарний верстат (номер групи за класифікацією ЕНІМС)
М - покоління верстата або позначення заводу-виробника:
6 – номер підгрупи (1, 2, 3, 4, 5, 6, 7, 8, 9) за класифікацією ЕНІМС (6 – токарно-гвинторізний)
3 – висота центрів над станиною (1, 2, 3, 4, 5) (2 – висота центрів 315 мм)
Літери наприкінці позначення моделі:
Г – верстат з виїмкою у станині
А, М - верстат з механічним приводом верхнього (різцевого) супорта. Поставляється на особливе замовлення
Б - верстат швидкохідний
Д – верстат виготовлений Тбіліським верстатобудівним заводом ім. Кірова
К - верстат з копіювальним пристроєм
П - точність верстата - (н, п, в, а, с) за ГОСТ 8-82 (П - підвищена точність)
Ф1 – верстат з влаштуванням цифрової індикації УЦІ та переднабором координат
Ф2 - верстат з позиційною системою числового керування ЧПУ
Ф3 - верстат з контурною (безперервною) системою ЧПУ

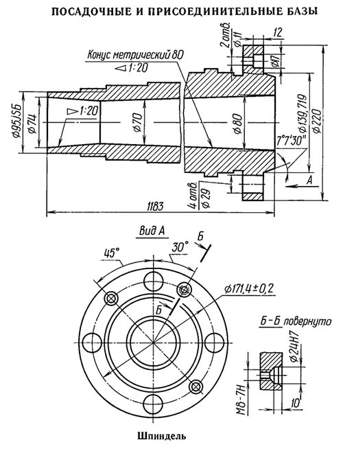
Габаритні розміри робочого простору верстата 1М63Д

Габаритні розміри робочого простору верстата 1М63Д

Фото токарно-гвинторізного верстата 1М63Д

Розташування органів керування токарно-гвинторізним верстатом 1М63Д

Кінематична схема токарно-гвинторізного верстата 1М63Д
Схема кінематична токарно-гвинторізного верстата 1М63Д. Завантажити у збільшеному масштабі
Від головного електродвигуна, поміщеного в лівій тумбі верстата, обертання передається клиновими ременями на приводний шків першого (фрикційного) валу коробки швидкостей (рис 4).
Значення 24 ступенів частоти обертання шпинделя та числа зубів зубчастиних коліс відповідних кінематичних ланцюгів коробки швидкостей наведені у табл. 4.
Рух на вал VIII сменных зубчатых колес передається через наступні кинематические ланцюги:
Рух передається через сменные зубчасті колеса 37-39-40-42 на вал XI коробки подач, далее через муфту 46-47, зубчасті колеса (48, 49, 51, 53, 55) - (66-67-68-69-70-71-72-73), муфту 74-75, зубчасті колеса (76, 77) - (58, 59), 60-78, 79-62, муфту 63-64 на винт 117.
Рух передається через сменные зубчасті колеса 37-39-40-42 на вал XI коробки подач, далее через зубчасті колеса 45-65, (66, 67, 68, 69, 70, 71, 72, 73) - (48, 49, 51, 53, 55), 56-75, (76, 77) - (58, 59), 60-78, 79, 62, муфту 63-64 на винт 117.
Рух передається через сменные зубчасті колеса 39-37, 38-40-41 на вал XI коробки подач, далее через муфту 46-47, зубчасті колеса (48, 49, 51, 53, 55) - (66, 67, 68, 69, 70, 71, 72, 73), муфту 74-75, зубчасті колеса (76, 77) -(58, 59), 60-78, 79-62, муфту 63-64 на винт 117.
Рух передається через сменные зубчасті колёса 39-37, 38-40-41 на вал XI коробки подач, далее через зубчасті колеса 45-65, (66, 67, 68, 69, 70, 71, 72, 73) -(48, 49, 51, 53, 55), 56-75, (76, 77)-(58, 59), 60-78. 79-62. муфту 63-64 на винт 117.
При нарезании дюймовых, модульных, питчевых і метрических різьб нельзя использовать механізм ускоренного переміщення каретки в исходное положение, за исключением случаев нарізання метрических резьб. имеющих шаг, кратный шагу ходового гвинта (шаг ходового гвинта равен 12 мм).
Возврат каретки в исходное положение осуществляется реверсом фрікциону путем переключения рукоятка 16 или 23 (см. рис. 3) не выключая маточной гайки, т.е. не переключая рукоятку 17 из положения "Ходовой винт".
При нарезании многозаходных різьб деление на число заходов можно осуществлять:
Рух передається через сменные зубчасті колеса 37-39-40-42 на вал XI коробки подач, далее через зубчасті колеса кінематичної ланцюги метрической різьби, губчатые колеса 63-80 на ходовой вал XVII і губчатые колеса фартука 81-82, червячную пару 83-86, губчатые колеса 87-91, муфту сцепления, зубчасті колеса 89-92, муфту 93-94, зубчатое колесо 95 на рейку 96.
При обратной подаче рух передається от червячной пары 83-86 через зубчасті колеса 88-100-90, муфту сцепления, губчатые колеса 89-92, муфту 93-94, зубчатое колесо 95 на рейку 96.
Рух передається от ходового вала XVII через зубчасті колеса 81-82, червячную пару 83-86, зубчасті колеса 87-99, муфту сцепления, зубчасті колеса 97-102-104, 104-103 на винт 115.
Рух передається от ходового вала XVII через зубчасті колеса 81-82, червячную пару 83-86, зубчасті колеса 87-99, муфту сцепления, зубчасті колеса 97-102-104, 104-103 на винт 115.
Рух передається от ходового вала XVII через зубчасті колеса 81-82, червячную пару 83-86, зубчасті колеса 87-99, муфту сцепления, зубчасті колеса 97-102-104, 104-103 на винт 115.
Рух передається от ходового вала XVII через зубчасті колеса 81-82, червячную пару 83-86, зубчасті колеса 87-99, муфту сцепления, зубчасті колеса 97-102-104, 104-103 на винт 115.
При обратной подаче рух передається от червячной пары 83-86 через зубчасті колеса 88-100-98, муфту сцепления, губчатые колеса 97-102-104, 104-103 на винт 115.
При подаче верхних резцовых салазок суппорта рух передається от фартука черев губчатые колеса 97-102-104, 105-106, 107-108-109-110, 111-112 і кулачковую муфту на винт 113.
Рух передається от електродвигуна через губчатые колеса 85-84, червячную пару 83-86 і далее через механізмы соответствующих подач.

Коробка швидкостей токарно-гвинторізного верстата 1М63Д
Коробка швидкостей токарно-гвинторізного верстата 1М63Д. Скачать в увеличенном масштабе

Коробка швидкостей токарно-гвинторізного верстата 1М63Д

Коробка швидкостей токарно-гвинторізного верстата 1М63Д
Коробка швидкостей крепится к левой головной частини станины. Приводной шкив 6 (рис. 5) коробки швидкостей получает рух от електродвигуна через клиноременную передачу.
Регулювання механізма головного руху ступенчатое. Вращение шкива приводит в рух целый ряд шестерен коробки швидкостей, післядовательным переключением которых можно получить 24 скорости обертання шпинделя, из которых две перекрываются. Самые высокие шесть швидкостей шпиндель получает непосредственно от вала 7, что способствует резкому повышению КПД верстата при работе на высоких скоростях, а также значительному уменьшению шума.
Установка определенных частот обертання шпинделя осуществляется передвижением зубчатых колес по валам при помощи двух рукояток 2 і 1, находящихся на лицевой частини коробки швидкостей. Все зубчасті колеса выполнены из качественной стали з соответствующей термообработкой і сидят на шлицевых валиках, вращающихся в шариковых і роликовых підшипниках. Передней опорой стального пустотелого шпинделя 9 является радиальный двухрядный регулируемый роликоподшипник 10 з короткими цилиндрическими роликами, а задньої - радиально-упорный шарикоподшипник 4. Осевая нагрузка на шпиндель воспринимается упорным шарикоподшипником 3, находящимся у задньої опори шпинделя.
Для пуска, остановки і увімкнення швидкого обратного ходу имеется фрикционная пластинчатая муфта 5. Введение в действие муфты совершается рукоятками, находящимися на станине у передньої бабки і на фартуке.
Торможение шпинделя производится автоматически в момент виключення фрикционной муфты при помощи електромагнитной муфты 8.
В коробке швидкостей имеются механізмы, дающие возможность реверсировать рух суппорта, увеличить шаг нарезаемой різьби в 4 или 16 раз.

Фартук токарного токарно-гвинторізного верстата 1М63Д
Фартук токарного токарно-гвинторізного верстата 1М63Д. Скачать в увеличенном масштабе
Фартук закрытого типа со съемной передньої стенкой. Фартук получает рух от коробки подач через ходовой винт при нарезании різьб или через ходовой вал при выполнении остальных работ (рис. 7).
Благодаря наличию електромагнітних муфт 4 і 5 керування фартуком сосредоточено в одной поворотной рукоятке 7, расположенной з правой стороны фартука. Направление поворота етой рукоятки совпадает з направлением необходимого руху подач или швидкого переміщення каретки і поперечных салазок. При етом для обеспечения швидкого переміщення надо нажать на кнопку 6, находящуюся на самой рукоятке.
Благодаря наличию в фартуке обгонной муфты 8, увімкнення ускоренного ходу возможно при включенной рабочей подаче.
Во избежание одновременного увімкнення ходового гвинта і ходового вала предусмотрена електрична блокировка.
Електродвигун швидкого переміщення суппорта расположен з правой стороны фартука. На передньої частини фартука находится лимб 2 продольного точения з ценой деления I мм. С целью исключения влияния механізма фартука при нарезании різьб валик реечного зубчатого колеса поздовжньої подачі отключается от етого механізма путем вталкивания находящейся внутри валика вытяжной кнопки I, которая расцепляет муфту внутреннего зацепления 3.
Циркуляционная система змазки фартука
Система включает в себя резервуар 23, плунжерный насос 17, маслораспределитель 21. Плунжерный насос приводится в действие от кулачка, установленного на валу реечного зубчатого колеса. Масло подается насосом в маслораспределитель, из которого поступает на смазку детален фартука. Контроль наличия в системе змазки і її уровня в фартуке производится по маслоуказателям 20 і 25. Контроль за работой плунжерного насоса производится при ускоренных переміщеннях суппорта.

Коробка подач токарно-гвинторізного верстата 1М63Д
Коробка подач токарно-гвинторізного верстата 1М63Д. Скачать в увеличенном масштабе
Коробка подач закрытого типа, двухосная. Переключенням соответствующих рукояток и, при необходимости, установкой сменных зубчатых колес можно получить налаштування механізма подач для нарізання нормального ряда метрических, модульных, дюймовых і питчевых резьб, а также для получения необходимых подач при токарной обработке (рис. 8).
Для нарізання точных і специальных різьб можно использовать прямое увімкнення ходового гвинта (при етом потребуется изготовить спеціальний набор зубчатых колес).

Суппорт токарно-гвинторізного верстата 1М63Д
Суппорт токарно-гвинторізного верстата 1М63Д. Скачать в увеличенном масштабе
Количество резцов, установленных в резцовой головке .. 4
Наибольшее расстояние от оси центров до кромки резцедержателя, мм .. 320
Наибольшее продольное перемещение, мм .. 1260
Наибольшее поперечное перемещение, мм .. 400
Цена одного деления лимба при продольном перемещении, мм .. 1
Цена одного деления лимба при поперечном перемещении на диаметр, мм .. 0,05
Перемещение на один оборот лимба продольное, мм .. 300
Перемещение на один оборот лимба поперечное, мм .. 5
Скорость ускоренного переміщення суппорта продольного ходу, м/мин .. 4,5
Скорость ускоренного переміщення суппорта поперечного ходу, м/мин .. 1,6
Суппорт крестовой конструкції имеет продольное перемещение по направляющим станины і поперечное - по направляющим каретки I (рис. 6). Оба переміщення могут быть ручными или механическими, а механическое - рабочим или ускоренным. Поворотная часть суппорта 2 имеет направляющие для переміщення верхней частини суппорта 4 з резцовой головкой 3.
Верхня часть суппорта также може перемещаться вручную і механически. Гайка поперечного гвинта 6 имеет пристрій для выборки люфта. Осевые зусилля поперечного гвинта і гвинта верхних салазок воспринимаются упорными шарикопідшипниками 5.
К верстату прилагается комплект сменных зубчатых ,колес для получения метрической і дюймовой или модульной і питчевой резьб. Сменные зубчатве колеса располагаются на левой стенке корпуса коробки швидкостей. Верстат снабжен защитным кожухом, закрывающим левую стенку коробки швидкостей.
Задня бабка тлеет жесткую конструкцию. После установки на направляющие станины задня бабка закрепляется на ней з помощью двух планок і четырех болтов.
Перемещение задньої бабки вдоль станины облегчено вмонтированными в мостик четырьмя подпружиненными шарикопідшипниками. Для определения величины переміщення пиноли при сверлильных операциях около маховика на винте установлен лимб.
Верстат снабжен подвижным і нерухомим люнетами для обробки круглых деталей диаметром от 20 до 150 мм.
От електронасоса, установленного в правой тумбе, охлаждающая жидкость через шланг по трубопроводу на суппорте поступает к инструменту, а затем стекает в два корыта, установленные спереди і сзади верстата, откуда поступает в бак правой тумбы і к електронасосу.
Очистку корыт і бака следует производить не реже одного раза в месяц.

Настановне креслення токарно-гвинторізного верстата 1М63Д
| Наименование параметра | 163 | 1М63 | 1М63Б | 1М63Д | 1М63Н |
|---|---|---|---|---|---|
| Основні технические данные верстата | |||||
| Класс точності по ГОСТ 8-82 | Н | Н | Н | Н | Н/П |
| Наибольший диаметр заготовки обрабатываемой над станиной, мм | 630 | 630 | 630 | 630 | 630 |
| Наибольший диаметр заготовки обрабатываемой над суппортом, мм | 350 | 350 | 350 | 350 | 350 |
| Наибольший диаметр заготовки устанавливаемой над станиной, мм | 700 | 700 | 700 | 700 | 700 |
| Наибольший диаметр заготовки устанавливаемой над выемкой, мм | 900 | 900 | 900 | 900 | 900 |
| Высота центров, мм | 315 | 315 | 315 | 325 | 315 |
| Наибольший диаметр заготовки обрабатываемой в люнете, мм | 20...350 | ||||
| Наибольшая длина устанавливаемой детали РМЦ, мм | 1400 | 1400 | 1400 | 1400 | 1500 |
| Наибольшая масса обрабатываемого вироби, кг | 2000 | 3500 | |||
| Шпиндель | |||||
| Мощность приводу головного руху, кВт | 13 | 13 | 15 | 18,5 | 15 |
| Частота прямого/ обратного обертання шпинделя, об/мин | 10...1250 18...1800 |
10...1250 18...1800 |
10...1250 18...1800 |
12,5...1600 22,4..2240 |
10...1250 18...1800 |
| Диаметр отверстия в шпинделе, мм | 70 | 70 | 70 | 70 | 80, 105 |
| Центр в шпинделе по ГОСТ 13214-79 | Морзе 6 | Морзе 6 | Морзе 6 | ||
| Кінець шпинделя по ГОСТ 12593-72 | 8 М | 8 М | 11 М | ||
| Размер внутреннего конуса шпинделя по ГОСТ 25557-82 | Метрич 80 | 100, 115 | |||
| Количество прямых/ обратных швидкостей шпинделя | 22/ 11 | 22/ 11 | 22/ 11 | 22/ 11 | 22/ 11 |
| Наибольший крутящий момент на шпинделе, кНм | 3,3 | 3 | |||
| Торможение шпинделя | есть | есть | есть | есть | есть |
| Подачи | |||||
| Наибольшее перемещение продольное/ поперечное, мм | 1260/ 400 | 1260/ 400 | 1260/ 400 | 1260/ 400 | 1350/ 400 |
| Наибольшее перемещение резцовых салазок, мм | 220 | 220 | 220 | 220 | 220 |
| Количество подач продольных/ поперечных/ резцовых салазок | 32/ 32/ 32 | 44/ 44/ 44 | 32/ 32/ 32 | 32/ 32/ 32 | 32/ 32/ 32 |
| Пределы рабочих подач продольных/ поперечных/ резцовых салазок (1-й ряд) | 0,064...1,025 0,026...0,38 |
0,06...1,0 0,024...0,37 0,019...0,31 |
0,06...1,0 0,024...0,37 0,019...0,31 |
0,06...1,0 0,024...0,37 0,019...0,31 |
|
| Пределы рабочих подач продольных/ поперечных/ резцовых салазок (2-й ряд) | 0.084...1,4 0,034...0,518 0,027...0,434 |
0.084...1,4 0,034...0,518 0,027...0,434 |
0.084...1,4 0,034...0,518 0,027...0,434 |
||
| Пределы/ количество шагов метрических резьб, мм | 1-192/ 56 | 1-192/ 56 | 1-224/ 47 | 1-224/ 46 | 1-224/ 47 |
| Пределы/ количество шагов дюймовых резьб, ниток/дюйм | 24-0,25/ 33 | 24-0,25/ 33 | 28-0,25/ 31 | 28-0,25/ 31 | 28-0,25/ 31 |
| Пределы/ количество шагов модульных резьб, модуль | 0,5-48/ 55 | 0,5-48/ 55 | 0,25-56/ 37 | 0,25-56/ 37 | 0,25-56/ 37 |
| Пределы/ количество шагов питчевых резьб, питч диаметральный | 96-7/8 /52 | 96-7/8 /52 | 112-0,5/ 30 | 112-0,5/ 30 | 112-0,5/ 30 |
| Скорость быстрых перемещений продольных/ поперечных, м/мин | 3,6/ 1,3 | 4,5/ 1,6 | 4,5/ 1,6 | 4,5/ 1,6 | 5,2/ 2 |
| Наибольшее усилие різання при поздовжньої/ поперечної подаче, кН | 2,22 | 6,80/ 3,7 | |||
| Цена деления лимба при продольном/ поперечном на диаметр перемещении, мм | 1/ 0,05 | 1/ 0,05 | 1/ 0,05 | 1/ 0,05 | 1/ 0,1 |
| Перемещение на оборот лимба при продольном/ поперечном перемещении, мм | 300/ 5 | 300/ 5 | 300/ 5 | 300/ 5 | 200/ 5 |
| Цена деления лимба при перемещении резцовых салазок, мм | 0,05 | 0,05 | 0,05 | 0,05 | 0,05 |
| Перемещение на оборот лимба при при перемещении резцовых салазок, мм | 5 | 5 | 5 | 5 | 5 |
| Задня бабка | |||||
| Наибольшее перемещение пиноли, мм | 240 | 240 | 240 | 240 | 220 |
| Поперечное перемещение пиноли, мм | ±10 | ±10 | ±10 | ±10 | ±10 |
| Электробладнання верстата | |||||
| Количество електродвигателей на станке | 3 | 3 | 3 | 3 | 3 |
| Електродвигун головного руху, кВт/ об/мин | 14/ 1450 | 13/ 1460 | 15/ 1460 | 18,5/ 1465 | 15/ 1465 |
| Електродвигун быстрых перемещений, кВт/ об/мин | 1,1/ 1400 | 1,1/ 1400 | 1,1/ 1400 | 1,1/ 1420 | |
| Електродвигун насоса СОЖ, кВт/ об/мин | 0,12 | 0,12/ 2800 | 0,12/ 2800 | 0,18/ 3000 | |
| Суммарная мощность електродвигателей, кВт | 19,72 | 16,22 | |||
| Габарити і масса верстата | |||||
| Габарити верстата (длина, ширина, высота), мм | 3550 х 1740 х 1275 |
3530 х 1680 х 1290 |
3810 х 1780 х 1490 |
5240 х 1780 х 1550 |
|
| Масса верстата, кг | 3800 | 4300 | 4750 | 5750 |
1М63 Паспорт токарно-гвинторізного верстата, (djvu) 2,0 Мб, Скачать
Замовити
Хто володіє інформацією – той володіє світом.
Натан Ротшильд