Виробник координатно-розточувального верстата 2Е440А Куйбишевський завод координатно-розточувальних верстатів , заснований у 1963 році.
Свою історію Куйбишевський завод координатно-розточувальних верстатів веде з 1963 року, коли було запроваджено першу чергу цього підприємства. Молодий колектив заводу за короткий термін освоїв виробництво верстатів високої точності і вже 1966 року випустив їх кілька сотень.
Завод припинив своє існування у 1991 році, і на його виробничих площах відкрилося кілька верстатобудівних підприємств, які продовжують випускати координатно-розточувальні верстати, займаються їх ремонтом та модернізацією. Завод координатно-розточувальних верстатів «Стан-Самара» ЗАТ, Самарське НВП координатно-розточувальних верстатів, ЗАТ, «Станкосервіс» ТОВ та ін.
Початок серійного виробництва координатно-розточувального верстата 2Е440А – 1977 рік. Він замінив у виробництві застарілий верстат 2В440А .
Координатно-розточувальний верстат 2Е440А особливо високої точності (А за ГОСТ 8-71) призначений для обробки отворів з точним розташуванням осей, розміри між якими задані у прямокутній системі координат.
Поряд із розточуванням на верстаті можуть виконуватися свердління, легке (чистове) фрезерування, розмітку та перевірку лінійних розмірів, зокрема і міжцентрових відстаней. Верстат забезпечений поворотними столами, що дає можливість проводити обробку отворів, заданих в системі полярної координат, похилих і взаємно перпендикулярних отворів і проточку торцевих площин.
Розточний верстат 2Е440А використовується для робіт в інструментальних цехах (обробка кондукторів та пристроїв) та у виробничих цехах для точної обробки деталей без спеціального оснащення.
Верстат 2Е440А - одноколонного типу, має прямокутний стіл із поздовжнім та поперечним переміщенням. Передбачено настановне переміщення шпиндельної бабки.
Робоче та прискорене переміщення столу здійснюються незалежно в поздовжньому та поперечному напрямках асинхронними електроприводами з широким діапазоном регулювання.
Подачі шпинделя регулюються безступінчасто за допомогою фрикційного варіатора. Є механізм автоматичного вимкнення подачі шпинделя на заданій глибині.
Точне встановлення столу на задану координату проводиться вручну, маховичком.
Застосовуючи поворотні столи, що поставляються зі верстатом, та інше приладдя, можна проводити обробку отворів, заданих у полярній системі координат, похилих і взаємно перпендикулярних отворів і проточку торцевих площин.
Клас точності верстата 2Е440А - А за ГОСТ 8-71.

Оптична система відліку координат верстата 2е440
Верстат 2Е440А обладнаний оптичними екранними відліковими пристроями, що дозволяють відраховувати цілу та дробову частинини координатного розміру. В умовах нормальної експлуатації верстат забезпечує точність встановлення міжцентрових відстаней у прямокутній системі координат – 0,004 мм.
Оптичні пристрої для відліку поздовжніх та поперечних переміщень складаються з наступних основних вузлів:
Відлік величини переміщень столу та санок провадиться за точними скляними шкалами з міліметровими поділками та нанесеними на шкали цифрами. Шкала 2 поздовжніх переміщень (рис. 1) пов'язана зі столом і разом з ним переміщається щодо об'єктива проектора 3 оптичного пристрою, який проектує зображення шкали на екран 4. Одночасно на екран проектується зображення сітки спірального мікрометра (вигляд А), по якій проводиться відлік десятих часток міліметра. Соті частки міліметра та мікрони відлічуються на тому ж екрані за круговою шкалою. Відлік величини поперечних переміщень здійснюється за шкалою 2 (рис. 2), що закріплена на станині. Об'єктив проектора 3 разом з санками переміщається вздовж шкали 2. Зображення шкали 2 проектується на екран 4.
Корекція досягається тим, що зображення штриха шкали зміщується на потрібну величину завдяки похитування плоскопаралельних пластин 5 (рис. 1 і 2), поміщених на виході променів з проекторів.
У кожній із систем відліку плоскопаралельна пластина в оправі з'єднана загальною віссю з важелем, що знаходиться в постійному контакті з лінійкою корекції. Залежно від припилювання останнього важеля, а разом з ним і оправлення з плоскопаралельною пластинкою повертаються навколо своєї осі в той чи інший бік. Поворот плоскопаралельної платівки викликає у зору екрана зміщення зображення штрихів масштабної лінійки на необхідну величину. Зсув зображення штриха на екрані на 0,001 мм відповідає підйом або опускання корекційного важеля на 0,2 мм. Для компенсації накопиченої помилки один із країв корекційних лінійок може підніматися або опускатися гвинтовими упорами.
Викручуванням гвинтів компенсують плюсову помилку, вкручуванням - мінусову.
Увага! при знятті та встановленні столу на верстат слід корекційний важіль відтягнути поворотом маховичка.
Екрани 4 втоплені в пульті та закриваються кришкою. Тут розташовується кнопка включення освітлення екранів.
Установку виробу, що обробляється, на задані координати можна (залежно від способу нанесення розмірів на кресленні) проводити двома способами: «ланцюжком» і «драбинкою».

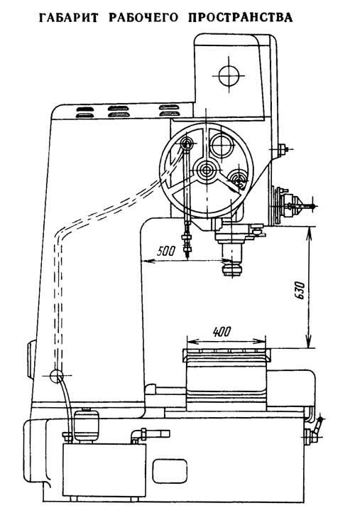
Габарит робочого простору верстата 2е440

Посадочні та приєднувальні бази верстата 2е440

Фото координатно-розточувального верстата 2е440

Фото координатно-розточувального верстата 2е440

Фото координатно-розточувального верстата 2е440

Шпиндельна бабка координатно-розточувального верстата 2е440

Фото координатно-розточувального верстата 2е440
Фото універсального затилочного верстата 1810. Дивитись у збільшеному масштабі

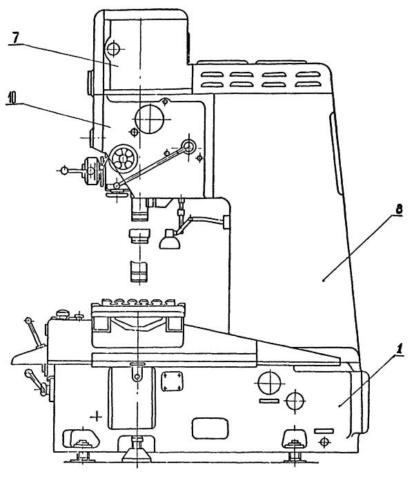
Розташування основних вузлів верстата 2е440

Розташування основних вузлів верстата 2440. Вид збоку

Розташування основних вузлів верстата 2440. Вид зверху

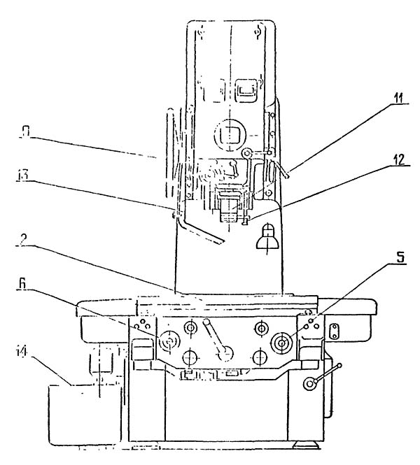
Розташування органів керування верстатом 2е440

Кінематична схема координатно-расточного верстата 2Е440А
Кінематична схема координатно-расточного верстата 2Е440А. Дивитись у збільшеному масштабі

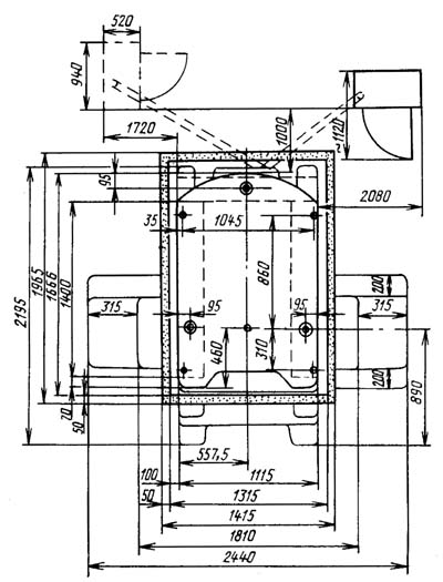
Настановне креслення верстата 2е440
| Наименование параметра | 2Е440А | 2В440А |
|---|---|---|
| Основні параметри верстата | ||
| Класс точності (Н,П,В,А,С) | А | А |
| Рабочая поверхность стола, мм | 710 х 400 | 800 х 400 |
| Наибольший диаметр сверления в стали 45, мм | 25 | 25 |
| Наибольший диаметр расточки в стали 45, мм | 250 | 250 |
| Наименьшее і наибольшее расстояние от торца шпинделя до стола, мм | 158..630 | 125..585 |
| Расстояние от оси шпинделя до стойки (вылет шпинделя), мм | 500 | 500 |
| Шпиндельная бабка | ||
| Частота обертання шпинделя (б/с регулювання), об/мин | 50...2000 | 50...2000 |
| Пределы рабочих подач гильзы шпинделя на один оборот шпинделя, мм/об | 0,03...0,16 9 ступеней |
0,03...0,16 9 ступеней |
| Наибольшее вертикальное перемещение шпинделя (ход) (ручное, механическое), мм | 210 | |
| Наибольшее вертикальное перемещение шпиндельной бабки (установочное от руки), мм | 250 | |
| Внутренний конус шпинделя (внутренний конус) спеціальний | № 40 7:24 | 5 |
| Наибольший конус закрепляемого инструмента | Морзе 4 | Морзе 4 |
| Закрепление шпиндельной коробки на направляючих | ручное | ручное |
| Рабочий стол | ||
| Наибольшее перемещение стола (продольное/ поперечное), мм | 630 х 400 | 710 х 400 |
| Число Т- образных пазов на столе | 5 | 5 |
| Величина ускоренного переміщення стола і салазок, мм/мин | 1600 | 800 |
| Пределы рабочих подач стола і салазок при фрезеровании, мм/мин | 20..315 | 16..800 |
| Наибольшая масса обрабатываемого вироби, кг | 320 | 320 |
| Точность верстата | ||
| Цена деления растровой сетки установки координат, мм | 0,001 | 0,001 |
| Точность установки координат, мм | 0,005 | 0,005 |
| Точність відстаней між осями отворів, що розточуються на верстаті, мм | 0,008 | 0,008 |
| Точність діаметра, що розточується (постійність діаметра), мм | 0,004 | 0,004 |
| Запобігання перевантаженню механізму подач | є | є |
| Привід | ||
| Кількість електродвигунів на верстаті | 5 | 5 |
| Електродвигун приводу головного руху, кВт | 4,5 | 2 |
| Електродвигун приводу переміщення столу, кВт | 0,245 | 0,245 |
| Електродвигун приводу переміщення санок, кВт | 0,245 | 0,245 |
| Електродвигун насоса системи змащення, кВт | ||
| Електронасос охолоджувальної рідини | ПА-22М, 0,125 кВт | ПА-22М, 0,125 кВт |
| Стендовий калібр | ||
| Габарити верстата, включаючи хід столу та санок, мм | 2440 х 2195 х 2385 | 2520 х 2195 х 2385 |
| Маса верстата, кг | 3400 | 3510 |
Загальновідомо, що людина може завжди дивитися на три речі: як горить вогонь, як тече вода і як працює інша людина.
Закон Мерфі