Виробник свердлувального вертикального верстата моделі 2С125МП - ПромБудМаш, ТОВ м. Москва
Вертикальний свердлильний верстат 2С125МП призначений для свердління отворів та нарізування різьблення в дрібних деталях з чавуну, сталі, кольорових сплавів та неметалічних матеріалів в умовах промислових підприємств, ремонтних майстерень та побутових майстерень.
Свердлильний верстат 2С125МП дозволяють виконувати такі операції:
Свердлильна бабка верстата 2С125МП нерухомо змонтована зверху колони. У вертикальному напрямку переміщається лише робочий поворотний стіл (670 мм).
Привід шпинделя виконаний від двошвидкісного асинхронного електродвигуна через механічну 6-ступінчасту коробку швидкостей. Таким чином шпиндель отримує 12 ступенів швидкості обертання: 75, 150, 180, 280, 360, 560, 600, 1000, 1200, 1600, 2000, 3200 об/хв.
Регулювання швидкості обертання шпинделя здійснюється двома ручками на передній панелі коробки швидкостей.
Свердлильний верстат 2С125МП має дві механічні подачі шпинделя: 0,06; 0,18
Відлік глибини свердління провадиться за плоскою шкалою на передній панелі свердлильної бабки. Ціна поділу лімба 1 мм.
Кінець шпинделя – внутрішній конус Морзе 4 за ГОСТ 2557-2006 Конуси інструментальні.
Глибина свердління або нарізування різьблення задається повзунковим покажчиком на плоскій шкалі. При досягненні заданої глибини обробки відбувається таке:

Габаритні розміри робочого простору свердлувального верстата 2С125МП

Фото вертикального свердлильного верстата 2С125МП

Фото вертикального свердлильного верстата 2С125МП

Фото вертикального свердлильного верстата 2С125МП

Фото вертикального свердлильного верстата 2С125МП

Фото вертикального свердлильного верстата 2С125МП

Фото вертикального свердлильного верстата 2С125МП

Фото вертикального свердлильного верстата 2С125МП

Фото вертикального свердлильного верстата 2С125МП

Фото вертикального свердлильного верстата 2С125МП

Фото вертикального свердлильного верстата 2С125МП

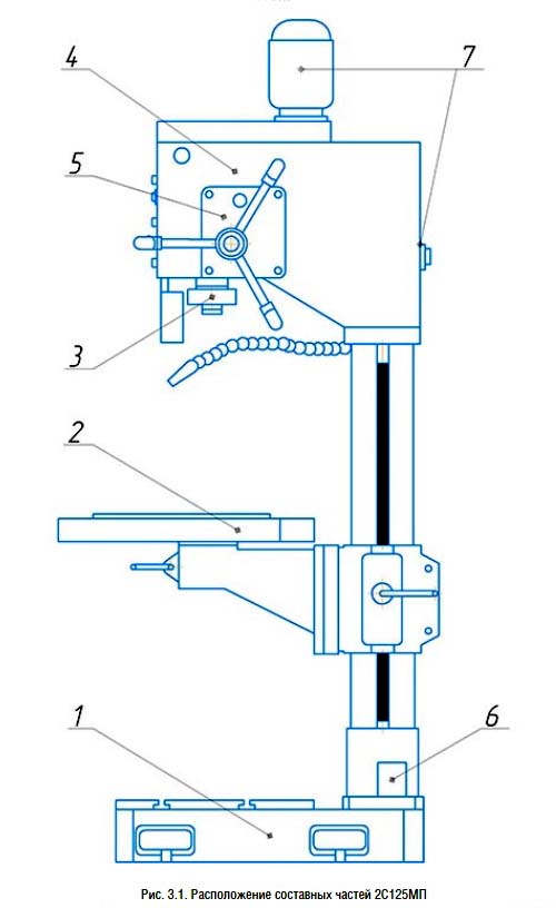
Основні вузли свердлильного верстата 2С125МП

Розташування органів керування верстатом 2С125МП
Розташування органів керування свердлильним верстатом 2С125МП. Завантажити у збільшеному масштабі
| Найменування параметру | 2S125 | 2S125MP | |
|---|---|---|---|
| Основні параметри верстата | |||
| Умовний діаметр свердління сталі 45 за ГОСТ 1050-88, мм | 25 | ||
| Найбільший діаметр свердління сталі 45 за ГОСТ 1050-88, мм | 31 | 25 | |
| Діаметр різьби, що нарізається, в сталі 45 за ГОСТ 1050-88, мм | М5...М22 | M12 | |
| Відстань від торця шпинделя до робочої поверхні столу/основи, мм | 730/1210 | 680/1200 | |
| Відстань від осі шпинделя до колони, що утворює (виліт), мм | 320 | 300 | |
| Найбільша висота заготовки на столі, мм | 500 | ||
| Найбільша висота заготовки на плиті, мм | 900 | ||
| Робочий стіл | |||
| Розміри робочої поверхні плити (основи), мм | 320 x 320 | 610 x 450 | |
| Розміри робочої поверхні підйомного столу (довжина x ширина), мм | 420 x 300 | 450 х 450 | |
| Найбільший хід підйомного столу (вісь Z), мм | 680 | 670 | |
| Найбільша маса заготовки на підйомному столі, кг | 100 | 100 | |
| Кількість Т-подібних пазів на столі | 2 14H12 | ||
| Шпиндель | |||
| Найбільше переміщення (настановне) шпиндельної головки, мм | |||
| Найбільше переміщення (хід) пінолі шпинделя, мм | 150 | 160 | |
| Частота обертання шпинделя, об/хв | 90..1400 | 75..3200 | |
| Кількість швидкостей шпинделя | 9 | 12 | |
| Найбільший допустимий момент, що крутить, Нм | |||
| Осьове зусилля на шпинделі (не більше), Н | |||
| Розмір внутрішнього конуса шпинделя за ГОСТ 25557-82 | Морзе 3 | Морзе 4 | |
| Механіка верстата | |||
| Число ступенів робочих подач | - | 2 | |
| Межі вертикальних робочих подач на один оборот шпинделя, мм | вручну | 0,06; 0,18 | |
| Найбільша допустима сила подачі (осьове зусилля на шпинделі)), Н | |||
| Привід | |||
| Електродвигун приводу головного руху, кВт (об/хв) | 1,5 | 1,1/ 1,5 (1410/ 2730) | |
| Габарити та маса верстата | |||
| Габарити верстата (довжина ширина висота), мм | 800 500 2050 | 750 х 550 х 2150 | |
| Маса верстата, кг | 430 | 400 |
Досвід – це те, що ми отримуємо замість того, що нам хотілося б!