metalinstryment.com
Довідник по металорізальних верстатів та пресовому обладнанні

6А73П Верстат фрезерный широкоуніверсальний
схеми, опис, характеристики

Загальний вигляд  фрезерного верстата 6А73П широкоуніверсального







Відомості про виробника фрезерного широкоуніверсального верстата 6А73П

Верстат моделі 6А73П выпускался предприятием Ереванский завод фрезерных верстатів, основанный в 1957 году.





Верстати, выпускаемые Ереванским заводом фрезерных верстатів, ЕрФрез


6А73П Верстат фрезерный широкоуніверсальний инструментальный. Назначение і область применения

Широкоуніверсальний фрезерный верстат 6А73П предназначен для фрезерування, сверления, расточки і других видов обробки деталей в различных плоскостях і под различными углами наклона в широком диапазоне режимов різання.

Горизонтальное фрезерование изделий производится цилиндрическими, дисковыми і фасонными фрезами, а вертикальное — торцовыми, кінцівыми, шпоночными і другими фрезами.

Наличие горизонтального і поворотного вертикального шпинделей, а также ряда прилагаемых к верстату приладдя делают верстат6А73П широкоуниверсальным, удобным для роботи в инструментальных, експериментальных, ремонтных і других цехах при изготовлении пристосувань, инструмента, деталей приборов, штампов, пресс-форм і других изделий.

Особенностью конструкції верстата 6А73П является наличие бесступінчастого регулювання частоти обертання шпинделей верстата з помощью варіатора. Применение окремих електродвигателей для головного приводу і приводу подач позволяет применять короткие кинематические ланцюги, которые дают возможность увеличить жесткость верстата, улучшить показатели надежности і долговечности верстатів, уменьшить шум при работе.

Класс точності верстата П. Шероховатость обработанной поверхности V 6.


Габаритные розміри робочого простору і присоединительные базы верстата 6А73П

Габаритные розміри робочого простору і присоединительные базы верстата 6А73П

Габаритные розміри робочого простору верстата 6а73п

Габаритные розміри робочого простору верстата 6а73п. Дивитись у збільшеному масштабі



Загальний вигляд широкоуніверсального фрезерного верстата 6А73П

Загальний вигляд  широкоуніверсального фрезерного верстата 6А73П

Фото широкоуніверсального фрезерного верстата 6а73п


Загальний вигляд  широкоуніверсального фрезерного верстата 6А73П

Фото широкоуніверсального фрезерного верстата 6а73п


Загальний вигляд  широкоуніверсального фрезерного верстата 6А73П

Фото широкоуніверсального фрезерного верстата 6а73п


Загальний вигляд  широкоуніверсального фрезерного верстата 6А73П

Фото широкоуніверсального фрезерного верстата 6а73п


Загальний вигляд  широкоуніверсального фрезерного верстата 6А73П

Фото широкоуніверсального фрезерного верстата 6а73п



Розташування органів керування фрезерным верстатом 6А73П

Розташування органів керування фрезерным верстатом 6А73П

Розташування органів керування фрезерным верстатом 6а73п

Розташування органів керування фрезерным верстатом 6А73П. Дивитись у збільшеному масштабі



Список органів керування фрезерным верстатом 6А73П

  1. Рукоятки для установки числа оборотів шпинделей
  2. Рукоятки для установки подач
  3. Рукоятка увімкнення і переключения направления руху стола і суппорта
  4. Маховичок ручной подачі стола в горизонтальной плоскости
  5. Маховичок ручной подачі стола в вертикальной плоскости
  6. Маховичок ручной подачі бабки горизонтального шпинделя
  7. Маховичок ручного обертання шестерен коробки швидкостей
  8. Квадрат для рукоятки подачі гильзы вертикального шпинделя
  9. Рукоятка зажиму бабки
  10. Рукоятка зажиму стола на горизонтальных направляючих суппорта
  11. Рукоятка зажиму суппорта на вертикальних направляючих станины
  12. Кнопочная станція для пуска і останова верстата
  13. Выключатель пакетный сети
  14. Выключатель пакетный насоса охлаждения

Список складових частин широкоуніверсального фрезерного верстата 6А73П





Схема кінематична універсального фрезерного верстата 6А73П

Схема кінематична універсального фрезерного верстата 6А73П

Кінематична схема фрезерного верстата 6а73п

Схема кінематична універсального фрезерного верстата 6А73П. Дивитись у збільшеному масштабі

Схема установки підшибників на универсальном фрезерном станке 6А73П. Дивитись у збільшеному масштабі




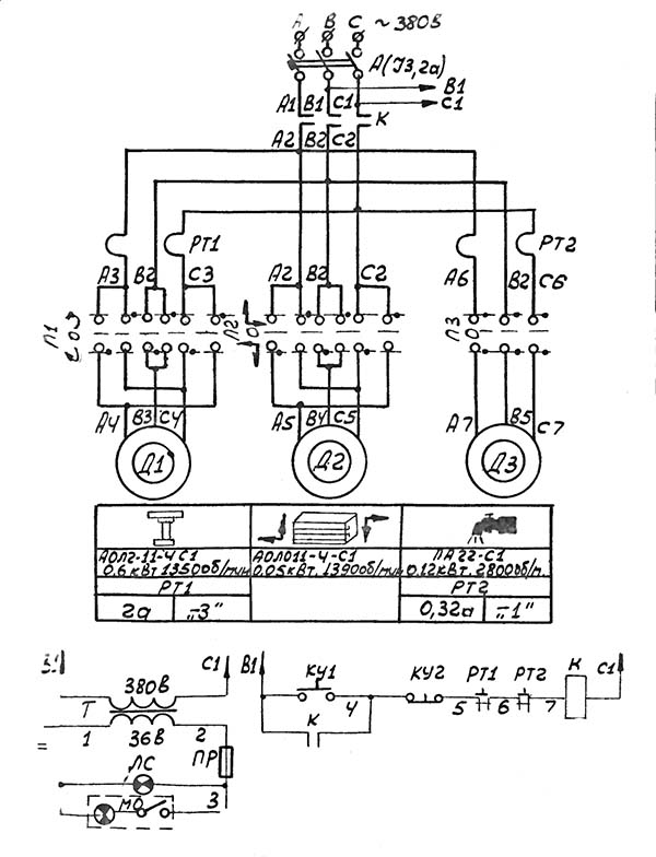
Схема електрична фрезерного верстата 6А73П

Схема електрична фрезерного верстата 6А73П

Електрична схема фрезерного верстата 6а73п

Електрична схема фрезерного верстата 6а73п. Дивитись у збільшеному масштабі






6А73П Верстат фрезерный широкоуніверсальний. Відеоролик.




Технічні характеристики фрезерного верстата 6А73П

Наименование параметра 6А73П 675П 6В75
Основні параметри верстата
Класс точності по ГОСТ 8-82 П П Н
Розміри горизонтального (углового) стола, мм 125 х 320 200 х 630 200 х 630
Розміри вертикального стола, мм 125 х 320 200 х 500 195 х 550
Наибольшие розміри обрабатываемой з одной установки детали (длина х ширина х высота), кг 125 х 200 х 200
Расстояние от оси горизонтального шпинделя до рабочей поверхности горизонтального стола, мм 55..290 80..380 70..360
Расстояние от торца вертикального шпинделя до рабочей поверхности горизонтального стола, мм 0..250 0..300 22..312
Наибольший вылет оси вертикального шпинделя, мм 130..330
Наибольший продольный ход стола (X), мм 200 320 250
Наибольший вертикальний ход стола (Z), мм 200 300 290
Наибольший поперечний ход шпиндельной бабки (Y), мм 125 200 150
Цена деления лимбов, мм 0,05 0,025
Горизонтальный і вертикальний шпиндели верстата
Частота обертання горизонтального шпинделя, об/мин 80..2500 50..1600
95..1650
Частота обертання вертикального шпинделя, об/мин 60..2500 63..2000
110..1860
Количество швидкостей шпинделей Б/С 16 6
Наибольший допустимый крутящий момент на горизонтальном шпинделе, Нм 214
Наибольший допустимый крутящий момент на вертикальном шпинделе, Нм 155
Наибольшее осевое перемещение вертикального шпинделя, мм 60 60
Наибольший угол поворота вертикальной головки в вертикальной плоскости, градус ±90° ±45°
Конус горизонтального і вертикального шпинделей Морзе 2 Морзе 4 Морзе 4
Стол
Пределы продольных і вертикальних подач стола (X, Z), мм/мин 8, 16, 32, 64, 128, 256 12,5..400 17,5..178
Ускоренный ход стола, мм/мин нет 935 нет
Количество подач стола 6 16 6
Наибольшее усилие подач стола, Н 5000
Шпиндельная бабка
Пределы поперечных подач шпиндельной бабки (Y), мм/мин 8, 16, 32, 64, 128, 256 12,5..400 нет
Количество подач шпиндельной бабки 6 16 -
Наибольшее усилие подач шпиндельной бабки, Н 5000
Ускоренный ход шпиндельной бабки, мм/мин
Електроустаткування і привід верстата
Количество електродвигателей на станке 2 2
Електродвигун головного привода, кВт (об/мин) 0,6 (1350) 1,5 1,7
Електродвигун приводу подач, кВт (об/мин) 0,05 (1390) нет
Електродвигун приводу насоса охлаждения, кВт 0,12 0,12 0,12
Суммарная мощность електродвигателей, кВт 0,77 1,62 1,82
Габарит і масса верстата
Габарити верстата (длина х ширина х высота), мм 690 х 820 х 1565 1110 х 1170 х 1650 1150 х 1100 х 1600
Масса верстата, кг 455 1100 855

    Список литературы:

  1. Верстат инструментальный широкоуніверсальний 6А73П. Инструкция по експлуатации, 1974.

  2. Аврутин С.В. Основы фрезерного дела, 1962
  3. Аврутин С.В. Фрезерне дело, 1963
  4. Ачеркан Н.С. Металлорежущие верстати, Том 1, 1965
  5. Барбашов Ф.А. Фрезерне дело 1973
  6. Барбашов Ф.А. Фрезерные роботи (Профтехобразование), 1986
  7. Блюмберг В.А. Справочник фрезеровщика, 1984
  8. Григорьев С.П. Практика координатно-расточных і фрезерных работ, 1980
  9. Копылов Р.Б. Работа на фрезерных верстатах,1971
  10. Косовский В.Л. Справочник молодого фрезеровщика, 1992
  11. Кувшинский В.В. Фрезерование,1977
  12. Ничков А.Г. Фрезерные верстати (Библиотека станочника), 1977
  13. Пикус М.Ю. Справочник слесаря по ремонту металлорежущих верстатів, 1987
  14. Плотицын В.Г. Расчёты настроек і наладок фрезерных верстатів, 1969
  15. Плотицын В.Г. Наладка фрезерных верстатів,1975
  16. Рябов С.А. Современные фрезерные верстати і их оснастка, 2006
  17. Схиртладзе А.Г., Новиков В.Ю. Технологическое обладнання машиностроительных производств, 1980
  18. Тепинкичиев В.К. Металлорежущие верстати, 1973
  19. Чернов Н.Н. Металлорежущие верстати, 1988
  20. Френкель С.Ш. Справочник молодого фрезеровщика (3-е изд.) (Профтехобразование), 1978









Заказать