metalinstryment.com
Довідник по металорізальних верстатів та пресовому обладнанні

Ф-4 Верстат фрезерный деревообрабатывающий
Схеми, опис, характеристики

Ф-4 Верстат фрезерный деревообрабатывающий







Відомості про виробника фрезерного деревообрабатывающего верстата Ф-4

Производителем фрезерного верстата Ф-4, ФА-4, ФШ-4, ФС-4, является Днепропетровский станкостроительный завод ДСПО в настоящее время ООО "Станкостроитель".

В СССР Днепропетровский станкостроительный завод специализировался на верстатах фрезерной группы на протяжении всего своего существования. Однако в мае 1999 года ето крупнейшее на Украине производство верстатів было реструктуризировано, і в результате появилось шесть самостоятельных предприятий, одно из которых - ООО "Станкостроитель".





Верстати, выпускаемые Днепропетровскм станкостроительным заводом ДСПО


Ф-4 Верстат фрезерный деревообрабатывающий універсальний. Назначение, область применения

Верстат фрезерный одношпиндельный Ф-4 предназначен для выполнения разнообразных фрезерных работ по дереву з ручной подачей (изготовление вагонки, половой доски, плинтуса, наличника, филенки і других погонажных изделий), зарезки простых шипов з помощью шипорезной каретки, криволинейного фрезерування по шаблону з ручной і механической подачей.

Фрезерный верстат Ф-4 (рис. 160) относится к группе верстатів з ручной подачей. Его применяют не только для обробки плоских деталей, но і для изготовления фигурных профилей как по шаблону, так і по линейке.

Універсальные одношпиндельные фрезерные верстати Ф-4 наибольшее распространение получили в мебельной промышленности.

Помещение, где устанавливается верстат Ф-4, должно соответствовать требованиям класса П-II по ПУЭ.

Верстат Ф-4 може експлуатироваться в диапазоне температур от +10 до +35°С, при средней относительной влажности воздуха не более 80%, в невзрывоопасной среде, при отсутствии прямого воздействия атмосферных осадков.

Вид климатического исполнения і категория розміщення верстата – УХЛ4.2, категория условий хранения – 2 по ГОСТ15150-69.

Требования к заготовкам, поступающим на верстат.

Заготовки должны отвечать требованиям ГОСТ8486-86 і ГОСТ2695-83:


Модифікації фрезерных верстатів верстатів Ф-4





Загальний вигляд фрезерного верстата Ф-4

Фото фрезерного верстата ФА-4 з автоподачей

Фото фрезерного верстата ФА-4 з автоподачей

Фото фрезерного верстата ФА-4 з автоподачей. Дивитись у збільшеному масштабі



Фото фрезерного верстата ФА-4 з автоподачей

Фото фрезерного верстата ФА-4 з автоподачей

Фото фрезерного верстата ФА-4 з автоподачей. Дивитись у збільшеному масштабі



Фото фрезерного верстата ФА-4 з автоподачей

Фото фрезерного верстата ФА-4 з автоподачей

Фото фрезерного верстата ФА-4 з автоподачей. Дивитись у збільшеному масштабі



Фото фрезерного верстата ФШ-4 з шипорезной кареткой

Фото фрезерного верстата ФШ-4 з шипорезной кареткой



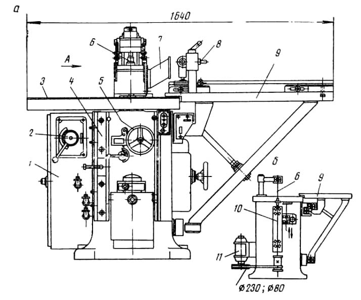
Ф-4 Розташування основних вузлів фрезерного верстата

Розташування основних вузлів фрезерного верстата Ф-4

Розташування складових частин фрезерного верстата Ф-4

Розташування основних вузлів фрезерного верстата Ф-4. Дивитись у збільшеному масштабі



Основними частинами фрезерного верстата Ф-4 є станина, рабочий стол, суппорт, шпиндель-вал, вставной шпиндель, режущий инструмент і механізм подачі з шаблоном. Суппорт расположен под рабочим столом і Представляет собой плиту или раму, которая по направляющим салазкам станины може перемещаться в вертикальном направлении. На суппорте находится шпиндель-вал, Верхний конец его выступает над поверхностью стола.

Шпиндель-вал при помощи суппорта можно поднимать, опускать і в нужном положении закреплять стопорным винтом. В верхний конец шпиндельного вала вставлен рабочий вставной шпиндель, па котором укрепляют режущий инструмент. Верхня часть вставного шпинделя входит в укрепленный на кронштейне шарикоподшипник. Такая конструкция шпинделя обеспечивает его вращение і работу режущего инструмента без вибрации. Число оборотів шпинделя в минуту 6000..8000, диаметр инструмента 80..150 мм, размер стола 1000 X 800 мм, его высота 900 мм. мощность електродвигуна шпинделя 4,5 кВт, вес верстата 635 кг. Приводится шпиндель-вал во вращение непосредственно от вала електродвигуна или через ременный привод.

При фрезеровании прямолинейных деталей на рабочем столе устанавливают направляющую линейку (рис. 161), Она состоит из двух частин, соединенных литой скобой, огибающей режущий инструмент, Части линейки можно раздвигать і устанавливать в нужном положении. Крепится она гвинтами, проходящими через прорези в рабочем столе. Для установки і крепления упоров в плите стола имеются два параллельных продольных паза з поперечным сечением в виде ласточкина хвоста. При фрезеровании деталей на всю длину применяют верхние і боковые прижимы. Верстати новейшей конструкції оборудованы автоматичною подачей.

Фрезерный верстат Ф-4 имеет тормозные і прижимные приспособления (рис. 162).


Фрезерный верстат ФШ-4 з шипорезной кареткой

Фрезерный верстат ФШ-4 з шипорезной кареткой является модификацией верстата Ф-4. Он предназначен для выполнения разнообразных фрезерных работ по плоскости і профилю і для простых шипорезных работ. Основні частини верстата: нерухомий стол, установленный на станине, шпиндельна бабка со шпинделем, перемещаемая по направляющим станины в вертикальном направлении, і шипорезная каретка. Шпиндель имеет правое вращение, которое применяется при шипорезных работах, і левое — при фрезерных работах.

Фрезерный верстат ФШ-4 з шипорезной кареткой

Фрезерный верстат ФШ-4 з шипорезной кареткой (Рис.91)

Фрезерный верстат ФШ-4 з шипорезной кареткой (см. рис. 91, а, б), предназначенный для фрезерных і шипорезных работ, отличается от верстата Ф-4 только наличием шипорезной каретки 9 і трехступінчастого приводу шпинделя, благодаря которому може работать со скоростью 3000 об/мин при зарезании шипов і скоростью 6000 і 8000 об/мин при фрезеровании.

Прямолинейные детали фрезеруют з помощью направляющей линейки. Обрабатываемая заготовка кладется на стол вплотную к линейке, которая може быть закреплена на каретке под нужным углом к направлению руху, а сверху закрепляется прижимом. Обработка криволинейных деталей производится по шаблону, прижимаемому к кольцу, установленному в столе.

Для зарезки шипов обрабатываемую деталь укладывают на столе шипорезной каретки, закрепляют прижимом і перемещают к режущему инструменту вместе з кареткой. При наличии трехступінчастого приводу шпинделя верстат може работать со скоростью 3000 об/мин, когда производится зарезка шипов, і со скоростью 6000—8000 об/мин, когда выполняется фрезерование.





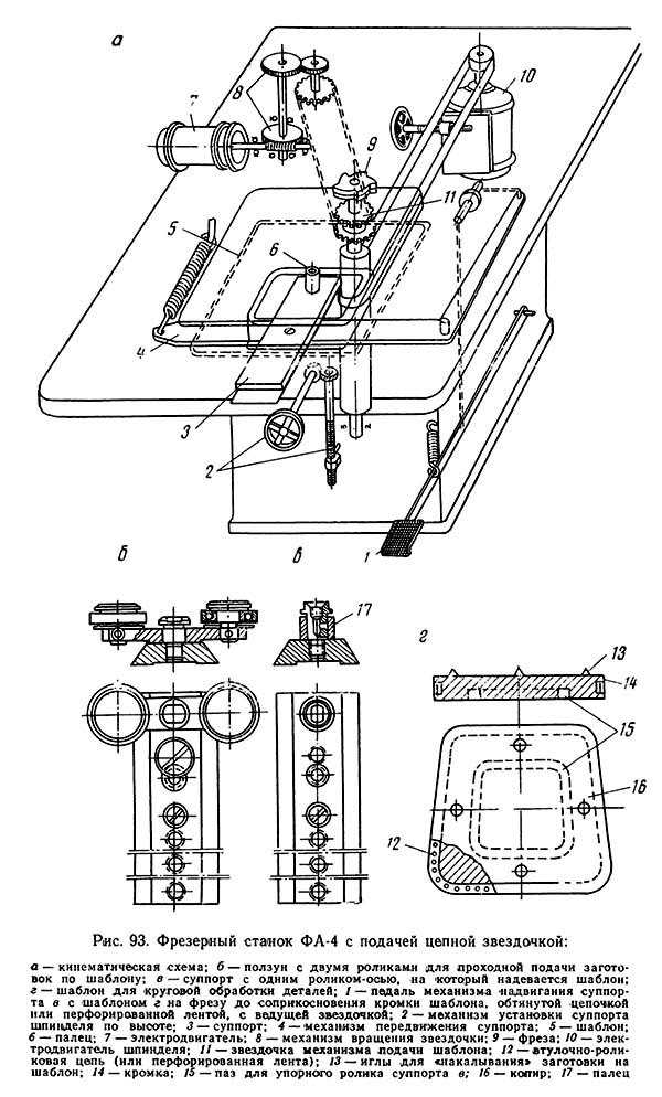
Фрезерный верстат ФА-4 з автоподачей

Фрезерный верстат ФА-4 з автоподачей является модификацией верстата Ф-4. Верстат ФА-4 входит в группу копировально-фрезерных верстатів.

В механізм подачі входит електродвигатель, редуктор і приводная звездочка, которая установена на шпиндельный вал.

Для использования автоподачі необходим копир (шаблон), обтянутый по кромке перфорированной металлической лентой (или роликовой ланцюгю). Звездочка і лента (или ланцюг) должны мати одинаковый шаг. Обрабатываемая деталь закрепляется на копире.

Копир устанавливается на суппорт, который з помощью пружины прижимает копир к фрезе і звездочке. Прижатие копира к фрезе і отведение от нее осуществляется вручную или з помощью педали.

При вкючения дигателя подачі, звездочка, сцепленная з копиром, начинает вращатся і перемещает копир з закрепленной на нем фрезеруемой деталью производя фрезерование по шаблону.

Фрезерный верстат ФА-4 з механической подачей

Фрезерный верстат ФА-4 з автоподачей

Фрезерный верстат ФА-4 з автоподачей. Дивитись у збільшеному масштабі



Універсальные фрезерные верстати можно оснащать приставным автоподатчиком, который крепится на столе (рис. 91, в).

Автоподатчики имеют електродвигатель, редуктор, роликовый или вальцовый механізм подачі. Автоподатчики крепятся на колонке вертикально, горизонтально или под углом. Они применяются только при обработке прямолинейных деталей.





Наладка фрезерных верстатів

Схема обробки детали на фрезерном станке

Схема обробки детали на фрезерном станке

Схема обробки детали на фрезерном станке. Дивитись у збільшеному масштабі



При монтаже і ремонтi універсальний фрезерный верстат тщательно выверяют согласно нормам точності. Выверенный фрезерный верстат должен обеспечить равномерность ширины шпунта і параллельность его базовой (основной) поверхности при условии, что шпунт выбирается за один проход фрезой или другим режущим инструментом. Верстат также должен обеспечивать одинаковую ширину проушины і параллельность її базовой поверхности. Допуски на длине 1000 мм по ширине 0,1 мм і на отклонение от параллельности базовой поверхности бруска — 0,1 мм. При фрезеровании под углом 90° установлен допуск 0,1 мм на длине 100 мм.

Наладка универсальных фрезерных верстатів производится в зависимости от вида намечаемой обробки:

При наладке фрезерного верстата:

Пуск електродвигуна можно производить только після проверки правильности установки фрез і ограждений і при отсутствии посторонних предметов около движущихся частин.

Наладку верстата з шипорезной кареткой в случае использования его как обычного фрезерного производят, как описано выше, а при зарезании шипов на шпиндель крепят проушечные диски з ограждением і устанавливают шпиндель, угольник і прижим на шипорезной каретке на высоту вироби. При шипорезных работах шпиндель вращается вправо, поетому для крепления диска берется гайка з резьбой М24 Х 1,5 левая.

Наладка фрезерного верстата з ручной подачей включает в себя наступні операции: подбор режущего инструмента і проверку качества его подготовки; установку і крепление режущего инструмента на шпинделе; выбор і установку требуемой частоти обертання шпинделя; установку направляючих линеек і ограничительных упоров противовыбросовых устройств; регулювання взаимного розположення режущего инструмента относительно стола і направляючих линеек; опробование верстата на холостом ходу,. обработку пробных деталей і при необходимости корректировку установки режущего инструмента, базирующих і направляючих устройств.

Перед установкой режущего инструмента на шпинделе необходимо проверить соответствие типа і профиля инструмента заданному профилю обрабатываемой детали, качество і правильность заточки і надежность крепления резцов или ножей, состояние его опорных і посадочных поверхностей (посадочных мест), соответствие робочого направления обертання фрезы направлению обертання шпинделя.

Диаметр фрез по требованиям гигиенических норм шума выбирают в зависимости от требуемой частоти обертання шпинделя в соответствии з рекомендациями: частота обертання-диаметр: 9000-до 70; 7000- (70-100); 4500- (100-180); 3500- (180-250).

Режущий инструмент крепят на шпинделе в зависимости от конструкції посадочных мест на шпинделе і на инструменте.

В современных конструкциях отечественных фрезерных верстатів наибольшее распространение получило крепление инструмента з помощью съемной шпиндельной инструментальной оправки, вставляемой в коническую расточку под конус Морзе верхнего кінця шпинделя. У легких фрезерных верстатів соединение шпинделя і оправки обеспечивается конусом Морзе № 3, у средних і тяжелых — № 4. Диаметр цилиндрической посадочной поверхности инструментальной оправки соответствует 22; 27 і 32 мм і выбирается в зависимости от диаметра посадочного отверстия применяемой фрезы.

Инструмент устанавливают в следующем порядке: