metalinstryment.com
Довідник по металорізальних верстатів та пресовому обладнанні

КПА-20-50 Верстат круглопалочный
Схеми, опис, характеристики

КПА-20 Верстат круглопалочный







Відомості про виробника круглопалочного верстата КПА-20

Разработчиком круглопалочного верстата КПА-20 в 60-е годы являлся Днепропетровский станкостроительный завод ДСПО в настоящее время ООО "Станкостроитель".

Круглопалочные верстати производили еще несколько заводов:





Верстати, выпускаемые Днепропетровскм станкостроительным заводом ДСПО


КПА-20-50 Верстат круглопалочный. Назначение, область применения

Круглопалочные верстати КПА-20-50 предназначены для изготовления деталей цилиндрической формы или з плавно изменяющимся по длине диаметром от Ø 17 до Ø 50 мм.

Различают три основні группы круглопалочных верстатів:

  1. Верстати круглопалочные общего назначения (КПА-50, КПА-90)
  2. Верстати круглопалочные специальные (КПА-20)
  3. Верстати фасонно-круглопалочные

Верстати первой группы є универсальными і служат для изготовления цилиндрических деревянных деталей различной длины і диаметров.

Верстати второй группы служат для изготовления деталей диаметром до Ø 20 мм. Изготовление таких деталей на обычных круглопалочных верстатах невозможно, так как оси передних і задних подающих роликов находятся на большом расстоянии друг от друга. Некоторые специальные круглопалочные верстати имеют особые приспособления для рифления или круглые пилы, предназначенные для выемки канавки по длине детали.

Верстати третьей группы имеют механическую подачу і служат для производства цилиндрических или фасонных деталей круглого сечения. Эти верстати применяются в мебельном производстве для изготовления ножек гнутых стульев і других изделий. Все круглопалочные верстати работают по одной принципиальной схеме.

Принцип роботи і особливості конструкції верстата

Режущий инструмент круглопалочного верстата — полая ножевая головка, в которой режущие кромки ножей направлены внутрь головки. Обрабатываемая заготовка подается вдоль оси обертання головки.

В зависимости от конструкції головки і размера ножей различают верстати; для изготовления цилиндрических палок з наибольшим диаметром 22 мм (КПА-20-1) і 50 мм (КПА-50-1); для изготовления палок з плавно изменяющимся по длине сечением диаметром до 50 мм (КПФ50-1А).

Круглопалочный верстат КПА-20-1 (рис. 109) состоит из станины, на которой закреплен пустотелый шпиндель з ножевой головкой і двумя парами роликов, а сзади — з парой приемных.

Шпиндель связан з електродвигуном через ременную передачу.

Подающие ролики приводятся в рух от отдельного електродвигуна через ременную, зубчатую или цепную передачу. Передние подающие ролики имеют прямоугольное сечение, так как в верстат подаются заготовки прямоугольной формы; Задние ролики круглые, так как на верстатах получают детали круглого сечения. Расстояние между передними і задними роликами, закрепленными на стойках, можно изменять в зависимости от сечения і длины заготовок.

Для обробки деталей на круглопалочных верстатах используют прямолинейные или профильные ножи, закрепленные в специальные ножевые головки. Корпус головки закрепляют на пустотелом шпинделе, который в процессе роботи вращается. На рис. 110 представлена ножевая головка круглопалочного верстата.


Загальний вигляд круглопалочного верстата КПА-20-50

Фото круглопалочного верстата КПА-20

Фото круглопалочного верстата КПА-20-50


Фото круглопалочного верстата КПА-20

Фото круглопалочного верстата КПА-20-50


Фото круглопалочного верстата КПА-20

Фото круглопалочного верстата КПА-20-50


Фото круглопалочного верстата КПА-20

Фото круглопалочного верстата КПА-20-50


Фото круглопалочного верстата КПА-20

Фото круглопалочного верстата КПА-20-50

Фото круглопалочного верстата КПА-20. Дивитись у збільшеному масштабі



Фото круглопалочного верстата КПА-20

Фото круглопалочного верстата КПА-20-50

Фото круглопалочного верстата КПА-20. Дивитись у збільшеному масштабі



Розташування складових частин круглопалочного верстата КПА-90

Розташування складових частин круглопалочного верстата КПА-90

Розташування складових частин круглопалочного верстата КПА-90. Дивитись у збільшеному масштабі



Розташування складових частин круглопалочного верстата КПА-50

Розташування складових частин круглопалочного верстата КПА-50

Розташування складових частин круглопалочного верстата КПА-50. Дивитись у збільшеному масштабі



Розташування складових частин круглопалочного верстата КПА-20

Розташування складових частин круглопалочного верстата КПА-20

Розташування складових частин круглопалочного верстата КПА-20. Дивитись у збільшеному масштабі



  1. станина;
  2. електродвигатель;
  3. направляющая втулка;
  4. ролик;
  5. пружина;
  6. ось;
  7. шпиндель;
  8. ножевая головка;
  9. ролик;
  10. заготовка;
  11. лоток;
  12. распорная втулка;
  13. усеченные корпуса




Конструкции круглопалочных верстатів

Подлежащая обточке заготовка передними подающими роликами подводится к резцовой головке, вращающейся полым шпинделем. На резцовой головке устанавливается от одного до пяти резцов. После выхода из шпинделя обточенного кінця заготовки післядняя удаляется з помощью задних подающих роликов.

Новейшие моделі универсальных круглопалочных верстатів (рис. 1) освоены Днепропетровским станкостроительным заводом і переданы для серийного производства на станкостроительный завод гор. Нальчика.

Верстат круглопалочный КПА-50

Станина верстата отлита из чугуна і имеет форму коробки. Внутри станины на качающейся площадке установлен електродвигатель, который з помощью клиновых ремней приводит в рух шпиндельный вал і механізм подачі. Ремни шпинделя натягиваются, потому что подмоторная площадка меняет свое положение, тогда как ремни механізма подачі натягивают з помощью натяжного ролика.


Шпиндельная бабка круглопалочного верстата КПА-20

Шпиндельная бабка круглопалочного верстата КПА-20

Шпиндельная бабка круглопалочного верстата КПА-20. Дивитись у збільшеному масштабі



  1. шпиндель;
  2. шкив;
  3. шарикопідшипники;
  4. лабиринтовые кольца;
  5. внутренние кольца шарикопідшибників;
  6. распорная втулка;
  7. внутренние кольца шарикопідшибників;
  8. лабиринтовые кольца;
  9. крышка;
  10. штифт;
  11. шпонка;
  12. винт-фиксатор;
  13. резервуар;
  14. пробка;
  15. втулка;
  16. шкив;
  17. переключатель швидкостей;
  18. рукоятка реверса подачі;
  19. крестовая муфта.

Механізм подачі круглопалочного верстата КПА-20

Механізм подачі круглопалочного верстата КПА-20

Механізм подачі круглопалочного верстата КПА-20. Дивитись у збільшеному масштабі



  1. конус;
  2. конус;
  3. распорная втулка;
  4. валик;
  5. втулка;
  6. корпус;
  7. ось;
  8. шестерни;
  9. шестерни;
  10. серьги;
  11. серьги;
  12. пальцы;
  13. пальцы;
  14. ось кулачка;
  15. кулачок;
  16. пружина;
  17. тяга;
  18. упорный винт;
  19. винт;
  20. 20червячный валик;
  21. червяк;
  22. червячное колесо;
  23. валик;
  24. резервуар;
  25. 25 —глазок;
  26. 26 — пробка.

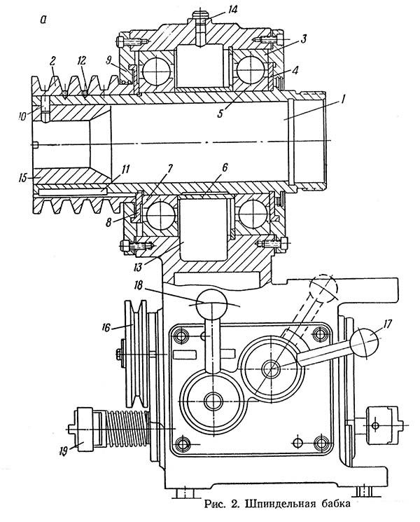
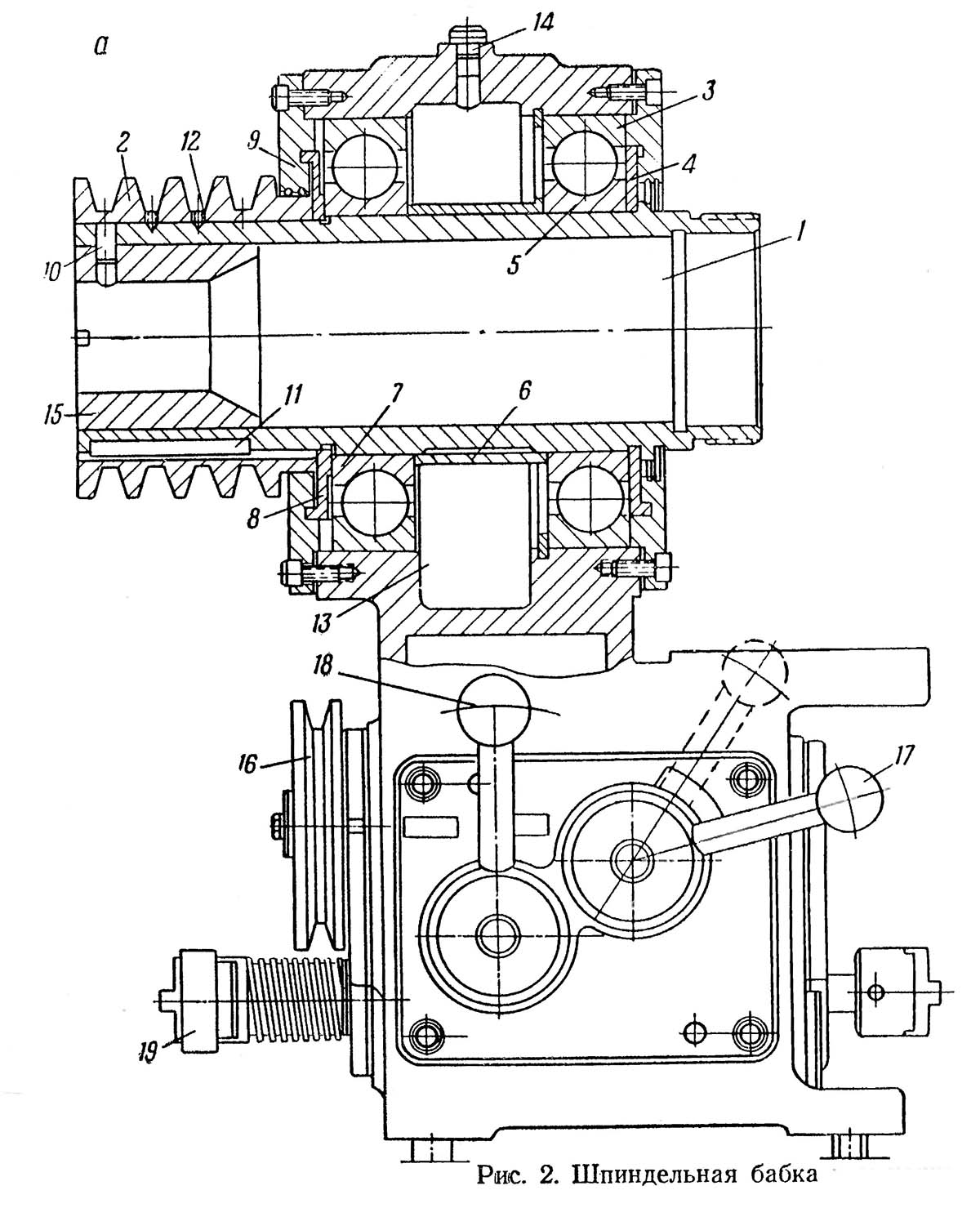
Шпиндельная бабка з коробкой швидкостей (рис. 2, а) представляет собой отливку в форме коробки, в верхней частини которой имеются расточки под підшипники шпинделя.

Шпинделем 1 Верстата служит пустотелый вал, на правом кінці которого устанавливается универсальная резцовая головка з тремя резцами, а на левом - приводной шкив 2. Шпиндель вращается на двух шарикопідшипниках 3. На правый конец шпинделя насаживают лабиринтовое кольцо 4 до упора его в бортик шпинделя, внутреннее кольцо 5 підшипника і распорную втулку 6. После етого шпиндель вводится наружным кольцом шарикопідшипника в расточку корпуса бабки. На левый конец шпинделя насаживается внутреннее кольцо 7 шарикопідшипника і лабиринтовое кольцо 8. Наружное кольцо шарикопідшипника (вводится в расточку корпуса бабки. С обоих концов шпинделя корпуса підшибників закрываются крышками 9. Підшипники затягивают з помощью шкива 2, который насажен на шпонку 11, расположенную на шпинделе, і фиксируется гвинтами 12. В средней частини корпуса шпиндельной бабки имеется резервуар 13, в который через пробку 14 наливается смазочное масло. Для выпуска масла в нижней частини резервуара имеется пробка. Для предотобертання утечки смазочного масла между крышками 9 і корпусами підшибників устанавливаются уплотнительные прокладки і сальники.

На кінці шпинделя, выходящем наружу, устанавливают сменные втулки 15, которые натравляют деталь к задним подающим роликам.

В нижней частини корпуса шпиндельной бабки смонтирована коробка швидкостей подачі. Эта коробка позволяет осуществлять четыре скорости і изменять (реверсировать) направление подачі.

Ведущий валик коробки швидкостей через шкив 16 получает рух от електродвигуна, расположенного в станине.

Скорость подачі изменяют путем перестановки шестерен, заключенных в коробке швидкостей, которая осуществляется переключателем 17 швидкостей. Поворотом рукоятки 18 изменяют направление подачі.

Шпиндельная бабка і коробка швидкостей подачі установлены на средней частини станины между передними і задними подающими роликами. С обеих сторон коробки швидкостей выходят концы валика, которые з помощью крестовых муфт 19 соединяются з механізмами подачі.

Клиноременная передача шпинделя заключена в защитный кожух. Ограждение резцовой головки состоит из двух частин: нижнего литого корпуса з патрубком для отсоса стружки і верхней крышки. Крышка делается сварная, она легко открывается і обеспечивает хороший доступ к ножевой головке. При работе верстата крышка закрывается на винтовой замок, сблокированный з пусковым пристрійм електродвигуна. Замок устроен таким образом, что часу, необходимого на его отвинчивание, достаточно для самоторможения шпинделя.

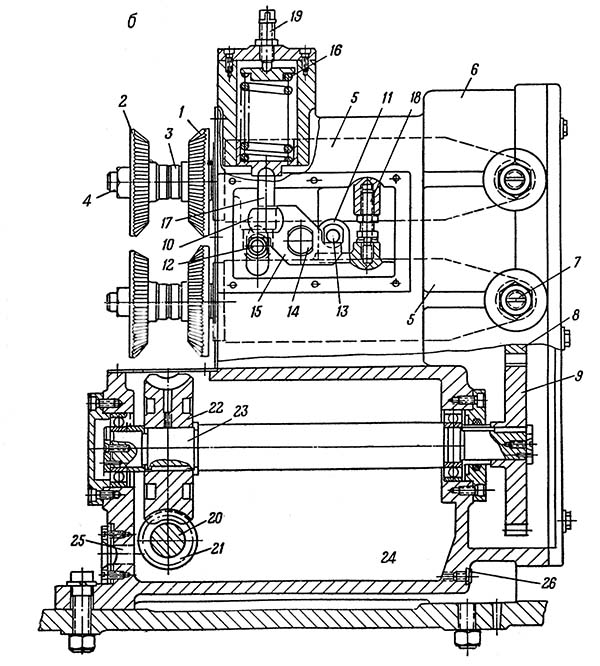
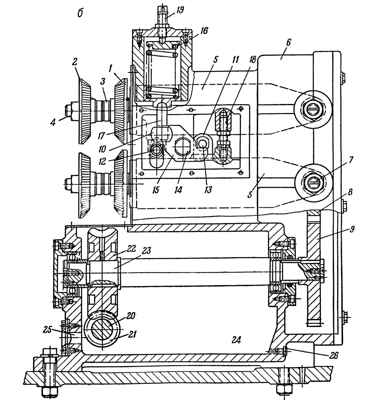
Обрабатываемый материал подается передними подающими роликами механізма подачі (рис. 2,6), установленными перед резцовой головкой і расположенными за ней задними приемными роликами.

Конструкции обеих частин подающих механізмов отличаются одна от другой только формой подающих роликов.

Каждый передний подающий ролик собирается из двух усеченных конусов 1 і 2, между которыми в зависимости от размера сечения заготовки устанавливаются распорные втулки 3. Верстат укомплектован набором втулок для изготовления деталей диаметром 15; 24; 32; 40 і 50 мм. Для изготовления деталей других диаметров требуются специальные втулки или усеченные конусы.

Во избежание проскальзывания заготовки конические по верхности подающих роликов изготовляются рифлеными. Подающие ролики устанавливаются на двух валиках 4, которые вращаются во втулках 5. Правые концы втулок з помощью шарниров закреплены в корпусе 6 і могут поворачиваться на осях 7. На валиках 4 з правой стороны насажены цилиндрические шестерни 8, сцепленные между собой. Шестерня нижнего валика сцеплена з шестерней 9, между ними имеется большой зазор. Это позволяет изменить расстояние между осями валиков, не выводя шестерни из сцепления, что очень важно для самоцентрирования заготовки относительно оси шпинделя.

К втулкам валиков подающих роликов прикреплены серьги 10—к верхней і 11 — к нижней. В серьгах закреплены пальцы 12 і 13, между которыми находится ось 14 кулачка 15. Эти пальцы поддерживаются кулачком, находящимся под действием пружины 16, которая давит на него через тягу 17, при етом кулачок 15 заставляет валики подающих роликов сомкнуть ролики і зажать в них заготовку. Смыкание подающих роликов ограничивается упорным винтом 18. Зажим заготовки подающими роликами регулируется посредством гвинта 19 путем сжатия пружины. Привід подающих роликов осуществляется следующим образом: червячный валик 20 через крестовую муфту соединен з выходным валиком коробки швидкостей подачі, червяк 21 сцеплен з червячным колесом 22; установленным на валике 23. На свободном кінці етого валика имеется шестерня 9, сцепленная з шестерней 8, расположенной на нижнем подающем валике. Шестерня 8 в свою очередь сцеплена з шестерней, которая находится на верхнем подающем валике.

Резервуар 24 заполняется смазочным маслом до уровня валика 20. Для наблюдения за уровнем масла имеется глазок 25. При промывках резервуара масло выпускают через отверстие, закрытое пробкой 26.

Задние подающие ролики сменные. Для каждой детали в зависимости от її размеров требуется отдельная пара роликов. Весь механізм подачі заключен в закрытый корпус, отлитый из чугуна.

В задньої торцовой стороне верстата (см. рис. 1) имеется приемочное пристрій, представляющее собой наклонную плоскость, по которой скатываются детали в спеціальний лоток. Верхня часть наклонной плоскости выполнена в форме трубы з проемом для выхода деталей. Величина проема регулируется четырьмя шторками. Приемочное пристрій монтируется над електрошкафом верстата.

При налаштуванні верстата на заданный диаметр детали необходимо:





Верстат КПА-90 (рис. 1, а) предназначен для изготовления деревянных деталей диаметром 50..90 мм, а верстат КПА-50 (рис. 1,б) для деталей диаметром 15..50 мм.

Основні вузли етих верстатів имеют одинаковую конструкцию і различаются только размерами. Верстат КПА-90 отличается от верстата КПА-50 тем, что он имеет направляющий лоток 1, установленный перед передними подающими роликами. Заготовка одним концом кладется на лоток і подводится станочником к подающим роликам. В зависимости от сечения заготовки меняют положение направляющего лотка. Для етого освобождают стопор 2 і перемещают стойку лотка во втулке 3.

На станке КПА-50 заготовки направляются к подающим роликам з помощью двух корсетных роликов 4.


Специальный круглопалочный верстат КПА-20

Специальный круглопалочный верстат моделі КПА-20 (см. рис. 1,в) предназначен для изготовления деталей диаметром 6..20 мм. Детали можно изготовлять гладкими, з накаткой или з поздовжньої канавкой. Верстат снабжен одностоечной шпиндельной бабкой. Механізм різання і механізм подачі верстата приводятся в рух от одного електродвигуна, смонтированного внутри станины, имеющей форму коробки.

Механізм подачі — універсальний: через резцовую головку можно пропускать заготовки различных сечений. Для изготовления деталей з накаткой верстат снабжается специальной головкой.


Налаштування і експлуатация верстатів

Сначала подбирают і устанавливают на шпиндель верстата втулку, внутренний диаметр которой соответствует диаметру изготовляемых палок, і закрепляют на головке резцы. При установці резцов пользуются цилиндрическим еталоном заданного диаметра, зажимая его одновременно в обеих парах подающих роликов. При вращении головки її ножи должны слегка касаться своей прямолинейной частью поверхности еталона.

Для регулювання передних подающих роликов берут квадратный брусок, задних — круглую палку і устанавливают их так, чтобы вмятины на поверхности заготовок не превышали 0,2. ..0,9 мм. Заготовки подаются в верстат торец в торец.

Верстат обслуживает один рабочий: загружает питающий магазин заготовками і периодически проверяет розміри і качество обработанных деталей. При выходе деталей из верстата они падают в приемный бункер.





КПА-20 Верстат круглопалочный. Відеоролик




Технічні характеристики круглопалочного верстата КПА-20

Наименование параметра КПА-20 КПА-20-50 КПА-50(К) КПА-90
Основні параметри
Наибольший диаметр обрабатываемой заготовки, мм 10..20 15..50 20, 25, 30, 35, 40, 45, 50 50..90
Наименьшая длина обрабатываемой заготовки, мм 300 500 450 750
Скорость подачі, м/мин 5 7,5; 12,5; 17; 30 4, 7, 20 6; 10; 14
Число оборотів шпинделя ножевой головки, об/мин 3600 4500 4453 2500
Електроустаткування верстата
Род тока питающей сети 380В 50Гц 380В 50Гц 380В 50Гц 380В 50Гц
Количество електродвигателей на станке, шт 2 2 2 2
Електродвигун приводу фрезы, кВт (об/мин) 0,4..1,7 (1500..2800) 4,5 (1500) 5,5 (3000) 10 (1500)
Електродвигун приводу подачі, кВт (об/мин) 0,75 (1500)
Габарит і масса верстата
Габарит верстата (длина х ширина х высота), мм
Масса верстата, кг 410

    Список литературы:

  1. Амалицкий В.В. Деревообрабатывающие верстати і инструменты, 2002
  2. Афанасьев А.Ф. Резьба по дереву, Техника, Инструменты, Изделия, 2014
  3. Бобиков П.Д. Мебель своими руками, 2004
  4. Борисов И.Б. Обработка дерева, 1999
  5. Джексон А., Дей Д. Библия работ по дереву, 2015
  6. Золотая книга работ по дереву для владельца загородного участка, 2015
  7. Ильяев М.Д. Резьба по дереву, Уроки мастера, 2015
  8. Комаров Г.А. Четырехсторонние продольно-фрезерные верстати для обробки древесины, 1983
  9. Кондратьев Ю.Н., Питухин А.В... Технология изделий из древесины, Конструирование изделий і расчет материалов, 2014
  10. Коротков В. И. Деревообрабатывающие верстати, 2007
  11. Лявданская О.А., Любчич В.А., Бастаева Г.Т. Основы деревообробки, 2011
  12. Любченко В.И. Рейсмусовые верстати для обробки древесины, 1983
  13. Манжос Ф.М. Дереворежущие верстати, 1974
  14. Расев А.И., Косарин А.А. Гідротермическая обработка і консервирование древесины, учебное пособие, 2010
  15. Рыженко В.И. Полная енциклопедия художественных работ по дереву, 2010
  16. Рыкунин С.Н., Кандалина Л.Н. Технология деревообробки, 2005
  17. Симонов М.Н., Торговников Г.И. Окорочные верстати, 1990
  18. Соловьев А.А., Коротков В.И. Наладка деревообрабатывающего оборудования, 1987
  19. Суханов В.Г. Круглопильные верстати для распиловки древесины, 1984
  20. Фокин С.В., Шпортько О.Н. Деревообработка, Технологии і обладнання, 2017
  21. Хилтон Билл Работы по дереву, Полное руководство по изготовлению стильной мебели для дома, 2017