metalinstryment.com
Довідник по металорізальних верстатів та пресовому обладнанні

СВП-2 Верстат сверлильно-пазовальный
Схеми, опис, характеристики

СВП-2 Верстат сверлильно-пазовальный







Відомості про виробника сверлильно-пазовального верстата СВП-2

Производителем сверлильно-пазовального верстата СВП-2 является Днепропетровский станкостроительный завод ДСПО в настоящее время ООО "Станкостроитель".

В СССР Днепропетровский станкостроительный завод специализировался на верстатах фрезерной группы на протяжении всего своего существования. Однако в мае 1999 года ето крупнейшее на Украине производство верстатів было реструктуризировано, і в результате появилось шесть самостоятельных предприятий, одно из которых - ООО "Станкостроитель".





Верстати, выпускаемые Днепропетровскм станкостроительным заводом ДСПО


СВП-2 Верстат сверлильно-пазовальный. Назначение, область применения

Вертикальные сверлильно-пазовальные верстати СВП-2 (с ручной подачей) і СВА-2 (с механической подачей) предназначены для сверления отверстий і выборки пазов в виробих из дерева.

Верстати СВП-2 є универсальными і могут быть использованы во всех цехах і мастерских по деревообработке.

Принцип роботи і особливості конструкції верстата

Сверлильно-пазовальный верстат СВП-2 внешне похож на універсальний сверлильный верстат 2Н125Л, но конструкция СВП-2 намного проще т.к. его шпиндельна головка не имеет коробки швидкостей і коробки подач; шпиндель вращается непосредственно от електродвигуна через ременную передачу.

Шпиндельная головка з приводом установлена на колонне верстата неподвижно. Шпиндель установен на підшипниках і заключен в направляющую гильзу, которая перемещается вверх или вниз от педали или рукоятки. Шпиндель имеет только две скорости обертання, которые переключаются обмотками електродвигуна.

Стол верстата СВП-2 расположен на горизонтальных направляючих кронштейна і имеет продольную подачу через зубчато-реечный механізм от маховичка. Кронштейн вместе со столом можно переставлять по высоте в соответствии з высотой заготовки маховичком і фиксировать в заданном положении съемной рукояткой.

Кроме того, стол можно повернуть под нужным углом или установить вертикально, если необходимо сверлить отверстие под углом к базовой поверхности детали или в її кромке. На столе смонтирован ексцентриковый прижим для закрепления заготовки.

Сверлильно-пазовальный вертикальний верстат з механической подачей СВА-2 в отличие от верстата СВП-2 оснащен пневматическим цилиндром для переміщення гильзы со шпинделем, а также пневмоприжимами.




СВП-2 Загальний вигляд сверлильно-пазовального верстата

Фото сверлильно-пазовального верстата СВП-2

Фото сверлильно-пазовального верстата СВП-2


Фото сверлильно-пазовального верстата СВП-2

Фото сверлильно-пазовального верстата СВП-2


Розташування складових частин сверлильно-пазовального верстата СВП-2

Розташування складових частин сверлильно-пазовального верстата СВП-2

Розташування складових частин сверлильно-пазовального верстата СВП-2

Розташування складових частин сверлильно-пазовального верстата СВП-2. Дивитись у збільшеному масштабі



Основні вузли верстатів СВП-2 і СВА-2

Верстат состоит из трех основних частин: основания, колонны со столом, шпинделей головки

Органы керування сверлильно-пазовальным верстатом СВП-2

  1. Рукоятка переміщення і торможения шпинделя
  2. Ограничитель ходу шпинделя
  3. Рукоятка зажиму ексцентрикового прижима заготовки
  4. Рукоятка зажиму сверлильной головки на колонне
  5. Рукоятка зажиму вироби на СВП-2 і отпуска вироби на СВА-2
  6. Рукоятка вертикального переміщення стола по колонне
  7. Рукоятка зажиму суппорта
  8. Рукоятка зажиму хобота сверлильной головки
  9. Рукоятка углового обертання стола
  10. Педаль переміщення шпинделя на СВП-2. Педаль увімкнення вузла механической подачі шпинделя СВА-2
  11. Переключатель швидкостей оборотів двигуна
  12. Регулятор скорости подачі шпинделя на станке моделі СВА-2
  13. Кнопка "Стоп верстата"
  14. Кнопка "Пуск верстата"
  15. Вводный выключатель
  16. Маховичок поздовжньої подачі стола
  17. Ограничительные упоры ходу стола

Розташування складових частин сверлильно-пазовального верстата СВП-2

Розташування складових частин сверлильно-пазовального верстата СВП-2

Розташування складових частин сверлильно-пазовального верстата СВП-2

  1. Колонна (стойка)
  2. Маховичок подъема стола
  3. Електродвигун
  4. Ограждение приводу верстата
  5. Рукоятка опускания шпинделя
  6. Шпиндель
  7. Сверлильный патрон
  8. Прижим заготовки
  9. Стол
  10. Маховичок поздовжньої подачі стола
  11. Кронштейн стола
  12. Рукоятка зажиму стола на колонне
  13. Педаль опускания шпинделя




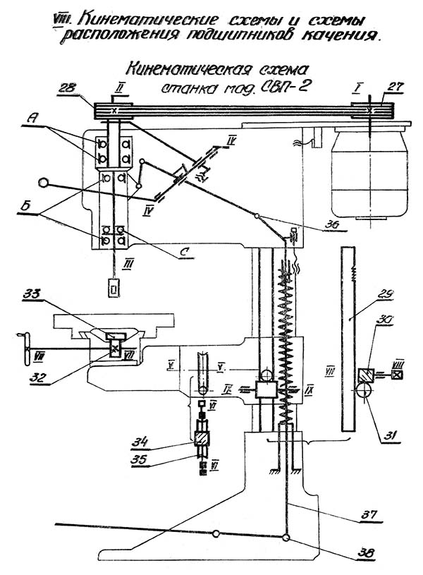
Схема кінематична сверлильно-пазовального верстата СВП-2

Схема кінематична сверлильно-пазовального верстата СВП-2

Кинематическая cхема сверлильно-пазовального верстата СВП-2

Схема кінематична сверлильно-пазовального верстата СВП-2. Дивитись у збільшеному масштабі



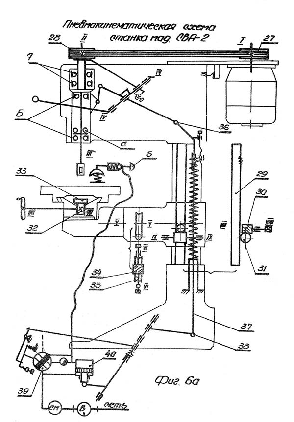
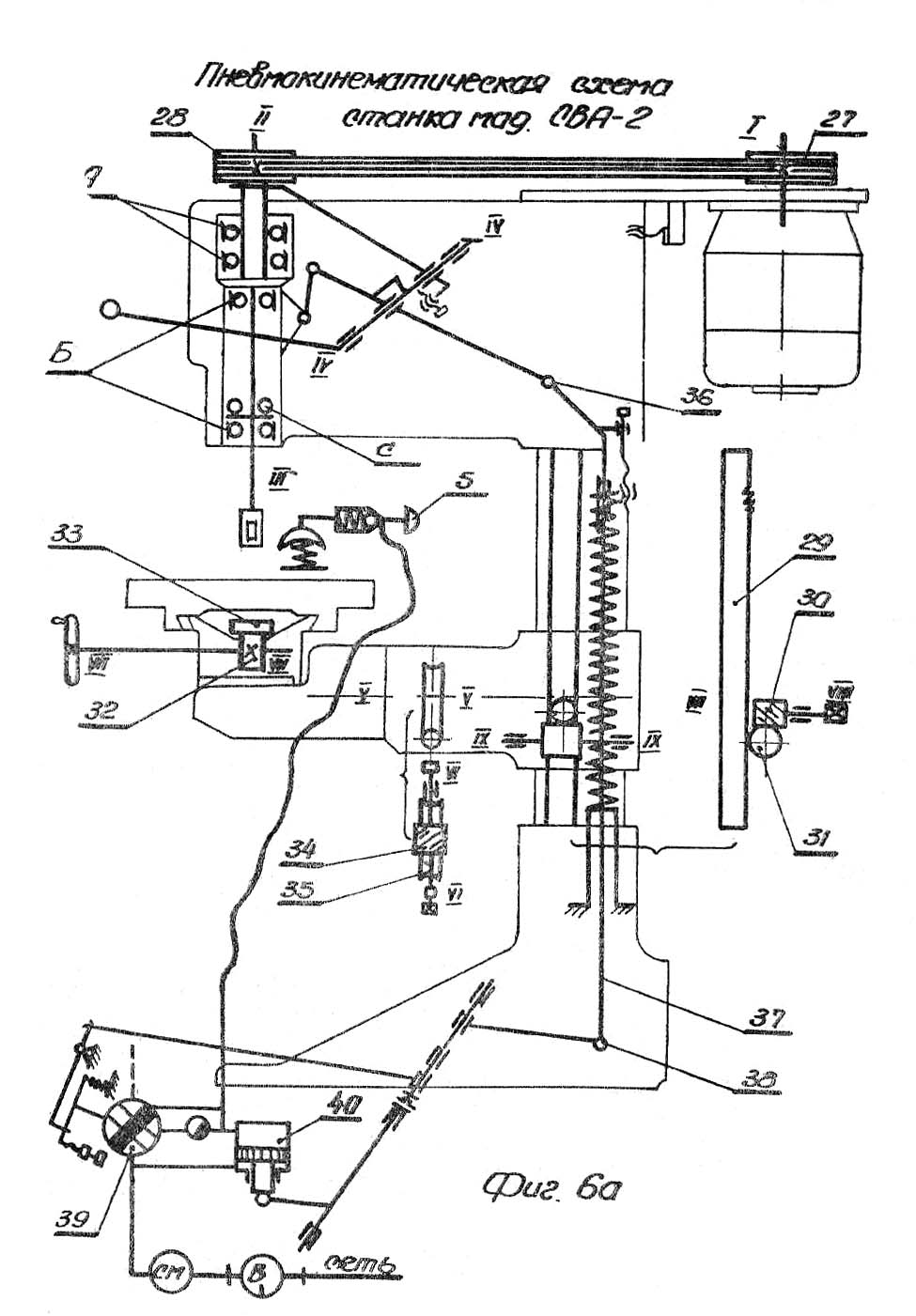
Схема кінематична сверлильно-пазовального верстата СВА-2

Кинематическая cхема сверлильно-пазовального верстата СВА-2

Схема кінематична сверлильно-пазовального верстата СВА-2. Дивитись у збільшеному масштабі



Кинематические ланцюги верстата осуществляют наступні руху:


Опис сверлильно-пазовального верстата СВП-2

Шпиндель сверлильно-пазовального верстата СВП-2

Шпиндель сверлильно-пазовального верстата СВП-2

Основание верстата

Основание - чугунная отливка, в которой смонтирована колонна. Внутри основания находится ось, на которой размещена педаль ножной подачі шпинделя.

В задньої частини основания, в нише, установлен вводный выключатель.




Колонна і стол

Внутри колонны размещена тяга, соединяющая рычаг педали з рычагом переміщення шпинделя в головке.

На тяге смонтирована пружина, предназначенная для возврата шпинделя в исходное положение.

По наружной частини колонны з помощью рукоятки, через передачу червяк — шестерня — рейка, перемещается суппорт. Суппорт може поворачиваться вокруг колонны на 360° і фиксироваться по высоте в требуемом для роботи положении.

В суппорте размещен кронштейн, на котором закреплены салазки, по направляющим которых з помощью маховичка і пары шестерня — рейка перемещается стол.

Кронштейн вместе з салазками і столом може поворачиваться в обе стороны на 90° вокруг горизонтальной оси з помощью рукоятки і червячной передачи і фиксироваться зажимным винтом.

На столе установлена, упорная линейка і прижим: для верстатів СВП-2 - ексцентриковый, а для верстатів СВА-2 пневматический.

Сверлильная головка

Головка — литой чугунный корпус, укрепленный на колонне. Внутри головки размещены: гильза со шпинделем (см. фиг. 7). верхняя опора шпинделя, рычаги керування шпинделем і ограничитель ходу шпинделя.

В средней частини головки расположена ниша, внутри которой смонтирована електроаппаратура. Ниша закрывается дверкой, на которой размещен пульт керування. С правой стороны головки находится рукоятка, связанная з осью рычагов керування, предназначенная для переміщення шпинделя от руки вниз і его торможения при повороте рукоятки вверх.

Рукоятка при опускании шпинделя ножной педалью фиксируется при помощи шарикового замка.

Над головкой размещен привід шпинделя, который состоит из плиты і електродвигуна, осуществляющего вращение шпинделя через клиноременную передачу.

Для осуществления необходимого натяжения ремни плита з електродвигуном перемещается по направляющим з помощью гвинта і гайки.

Клиноременная передача закрывается кожухом. Верстати СВП-2 і СВА-2 имеют защитное ограждение режущего инструмента.

Привід механической подачі (на станке СВА-2)

Узел приводу подачі служит для механической подачі шпинделя в процессе сверления. Он состоит из основания, смонтированного на нем пневмоцилиндра і пневмоапаратури.

Для возможности плавного переміщення поршня і регулировки скорости подачі осуществлена схема подключения пневмоцилиндра з постоянным противодавлением. Для етого нижняя (штоковая) полость цилиндра имеет постоянное соединение з пневмосетью, а верхняя полость цилиндра — з распределительным краном.

Распределительный кран направляет воздух в верхнюю полость цилиндра во время робочого ходу поршня і изменения скорости подачі шпинделя в зависимости от переменного сечения пропускного отверстия крана.

Установка определенного сечения пропускного отверстия осуществляется маховичком через винт-ограничитель.

Поворот распределительного крана для увімкнення подачі производится педалью через рычаг, а возврат крана в исходное положение — пружиной.





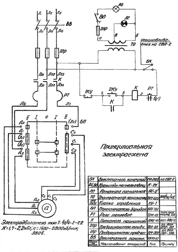
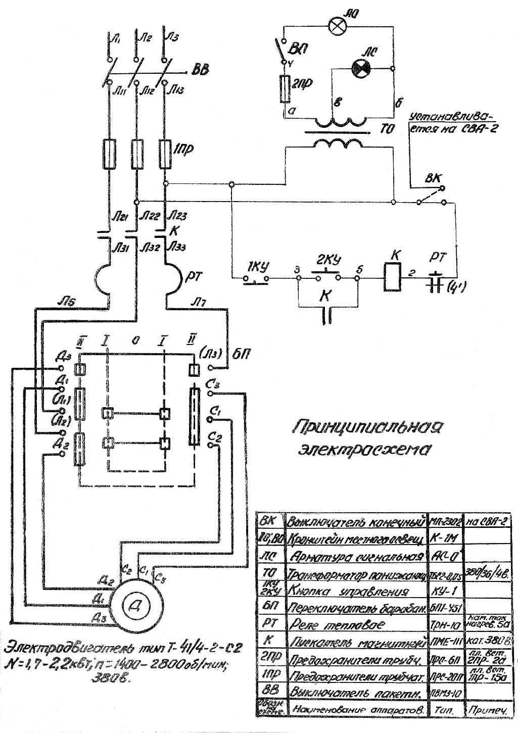
Електроустаткування верстатів

Електроустаткування состоит из:

  1. Электродвигуна приводу шпинделя Д
  2. Пусковой і защитной електроапаратури
  3. Местного освещения.

Опис дії електросхеми


Схема електрична принципова сверлильно-пазовального верстата СВП-2

Електрична схема сверлильно-пазовального верстата СВП-2

Схема електрична сверлильно-пазовального верстата СВП-2. Дивитись у збільшеному масштабі


  1. Поворотом вводного выключателя ВВ напряжение подается на рабочую ланцюг і ланцюг керування
  2. Нажатием на кнопку «Пуск» 2КУ производится увімкнення електродвигуна Д
  3. Остановка верстатів осуществляется нажатием на кнопку «Стоп» 1КУ
  4. Выбор скорости обертання електродвигуна осуществляется барабанным переключателем БП
  5. На СВА-2 в ланцюги керування стоят н. о. контакты конечного выключателя зашиты.

Захист

  1. Захист от токов короткого замыкания осуществляется предохранителями
  2. Захист от перегрузки — тепловыми реле
  3. Нулевая защита — катушкой пускателя




Первоначальный пуск верстатів

После подключении к сети верстатів необходимо проверить на холостом ходу следующее:

  1. Плавность переміщення гильзы шпинделя
  2. Вращение електродвигуна. (Вал должен вращаться по часовий стрелке).

После проверки на холостом ходу верстати настраиваются і налаживаются для роботи.


Наладка і налаштування верстатів

  1. Установить ограничитель ходу 2 гильзы шпинделя (см. фиг. 5 і 5а) на необходимую глубину сверления или пазования отверстий
  2. Установить стол по высоте. Для етого необходимо отпустить зажим 7 суппорта і з помощью рукоятки 6 переместить стол
  3. Для сверления отверстий под углом ±90° к горизонтальной плоскости необходимо отпустить зажим 8 хобота и, поворачивая его съемной рукояткой 9, выставить по угловой шкале
  4. При пазовании отверстий отпустить клин-планку, заклинивающую стол. Подача стола осуществляется маховиком 16. В соответствии з длиной паза устанавливаются два ограничительных упора 17
  5. Величина подачі на станке моделі СВА-2 устанавливается регулятором скорости 12.

При увеличении подачі вращать по часовий стрелке, при уменьшении — против.


Вказівки по експлуатации верстатів

Все роботи на станке необходимо производить в строгом соответствии з «Правилами техники безопасности і производственной санитарии в деревообрабатывающей промышленности».

Для удобства обслуживания верстата, в связи з высоким расположением педали, рекомендуется, в необходимых случаях, производить роботи з соответствующих надежных подставок.

В комплект верстата входит патрон П-2 d (3-15) ГОСТ 8522-57, который обеспечивает надежное крепление, инструмента з диаметром хвостовиков в диапазоне 3..15 мм.

Для выполнения дереворежущего инструмента з большим диаметром хвостовика необходимо применение специального патрона.






СВП-2 Верстат сверлильно-пазовальный. Відеоролик





Технічні характеристики сверлильно-пазовального верстата СВП-2

Наименование параметра СВПГ СВП-2 СВА-2
Основні параметри
Наибольшая толщина обрабатываемой заготовки, мм 125
Наибольший диаметр высверливаемого отверстия (фрезеруемого паза), мм 30 40 40
Наибольшая глубина высверливаемого отверстия (фрезеруемого паза), мм 90 100 100
Наибольшая длина фрезеруемого паза, мм 125 200 200
Наибольшее расстояние от оси шпинделя до стола, мм 10..120 400 400
Количество шпинделей, шт 2 1 1
Ход шпинделя, мм - 110 110
Подача шпинделя ручная - есть есть
Подача шпинделя от педали - есть есть
Подача шпинделя механическая, м/мин - нет 0..6
Торможение шпинделя ручн ручн
Поворот стола вокруг горизонтальной оси, град ±25° ±90° ±90°
Поворот стола вокруг вертикальной оси, град 360° 360°
Наибольшее вертикальное перемещение стола по колонне, мм - 400 400
Наибольшее горизонтальное перемещение стола по направляющим суппорта, мм 200 200
Наибольшая скорость подачі стола, м/мин 3 - -
Величина подачі стола, мм 30..110
Наибольшее число двойных ходов шпинделя в 1 минуту 140
Частота обертання шпинделя, об/мин 3000, 6000 3000, 6000 3000, 6000
Наименьший цикл обробки одного паза, с 8000; 12000
Наибольший расход сжатого воздуха, м³/час 1
Рабочее давление воздуха, МПа 0,4..0,6 - 3 атм
Електроустаткування верстата
Род тока питающей сети 380В 50Гц 380В 50Гц 380В 50Гц
Количество електродвигателей на станке, шт 1 1 1
Електродвигун приводу фрезы, кВт 1,5 / 2,0 1,7 / 2,2 1,7 / 2,2
Габарит і масса верстата
Габарит верстата (длина х ширина х высота), мм 1496 х 724 х 1115 650 х 1240 х 1775 955 х 1240 х 1775
Масса верстата, кг 525 450 520

    Список литературы:

  1. Вертикальный сверлильно-пазовальный верстат СВП-2. Вертикальный сверлильно-пазовальный верстат СВА-2. Руководство к верстатам, 1969

  2. Амалицкий В.В. Деревообрабатывающие верстати і инструменты, 2002
  3. Афанасьев А.Ф. Резьба по дереву, Техника, Инструменты, Изделия, 2014
  4. Бобиков П.Д. Мебель своими руками, 2004
  5. Борисов И.Б. Обработка дерева, 1999
  6. Джексон А., Дей Д. Библия работ по дереву, 2015
  7. Золотая книга работ по дереву для владельца загородного участка, 2015
  8. Ильяев М.Д. Резьба по дереву, Уроки мастера, 2015
  9. Комаров Г.А. Четырехсторонние продольно-фрезерные верстати для обробки древесины, 1983
  10. Кондратьев Ю.Н., Питухин А.В... Технология изделий из древесины, Конструирование изделий і расчет материалов, 2014
  11. Коротков В. И. Деревообрабатывающие верстати, 2007
  12. Лявданская О.А., Любчич В.А., Бастаева Г.Т. Основы деревообробки, 2011
  13. Любченко В.И. Рейсмусовые верстати для обробки древесины, 1983
  14. Манжос Ф.М. Дереворежущие верстати, 1974
  15. Расев А.И., Косарин А.А. Гідротермическая обработка і консервирование древесины, учебное пособие, 2010
  16. Рыженко В.И. Полная енциклопедия художественных работ по дереву, 2010
  17. Рыкунин С.Н., Кандалина Л.Н. Технология деревообробки, 2005
  18. Симонов М.Н., Торговников Г.И. Окорочные верстати, 1990
  19. Соловьев А.А., Коротков В.И. Наладка деревообрабатывающего оборудования, 1987
  20. Суханов В.Г. Круглопильные верстати для распиловки древесины, 1984
  21. Фокин С.В., Шпортько О.Н. Деревообработка, Технологии і обладнання, 2017
  22. Хилтон Билл Работы по дереву, Полное руководство по изготовлению стильной мебели для дома, 2017