Виробники настільного свердлувального верстата С-25:
Настільно-свердлильний верстат „С-25” є прецизійним верстатом, призначеним для свердління точних отворів у дрібних деталях деталях із чавуну, сталі, кольорових сплавів та неметалічних матеріалів в умовах промислових підприємств, ремонтних майстерень та побутових майстерень.
Верстати С-25 дозволяють виконувати такі операції:
Початок серійного виробництва – 1953 рік.
Шпиндель верстата С-25 отримує три швидкості обертання від триступеневих шківів приводу, що забезпечує вибір 3 швидкостей різання - 1600, 2500, 4000 об/хв при швидкості обертання двигуна 1400 об/хв . При швидкості обертання двигуна 2800 об/хв швидкість обертання шпинделя становить - 3200, 5000, 8000 об/хв.
Кінець шпинделя верстата С-25 – зовнішній укорочений конус В10 (конус Морзе КМ1) за ГОСТ 9953 (Конуси інструментальні укорочені) – конус укорочений: D = 10,094 мм.
Укороченому конусу В10 відповідає свердлильний трикулачковий патрон 4-го типорозміру за ГОСТ 8522 (Патрони трикулачкові свердлильні) з діапазоном затиску 0,5÷4 мм.
Приклад умовного позначення свердлильного 3-х кулачкового патрона 4-го типорозміру:
Патрон 4-В10 ГОСТ 8522-79
Конус інструментальний - Конус Морзе - одне з найбільш застосовуваних кріплень інструменту. Був запропонований Стівеном А. Морзе приблизно 1864 року.
Конус Морзе підрозділяється на вісім розмірів - від КМ0 до КМ7 (англійською: MT0-MT7, німецькою: MK0-MK7).
Стандарти на конус Морзе: ГОСТ 25557 (Конуси інструментальні. Основні розміри), ISO 296, DIN 228. Конуси, виготовлені за дюймовими та метричними стандартами, взаємозамінні у всьому, крім різьблення хвостовика.
Для багатьох застосувань довжина конуса Морзе виявилася надмірною . Тому було введено стандарт на дев'ять типорозмірів укорочених конусів Морзе (B7, B10, B12, B16, B18, B22, B24, B32, B45), ці розміри отримані видаленням більш товстої частинини конуса. Цифра позначення короткого конуса — діаметр товстої частинини конуса в мм.
Російський стандарт на укорочені конуси ГОСТ 9953 Конуси інструментів укорочені .
Російський стандарт на свердлильні патрони ГОСТ 8522 Патрони свердлильні трикулачні .
Де D – діаметр конуса в основній площині.
Настільний свердлильний верстат С-25 є прецизійним верстатом, призначеним для свердління точних отворів від 0,5 мм до 4 мм.
Обертання шпинделя , зібраного на шарикопідшипниках, проводиться від індивідуального електромотора короткозамкнутого типу з 3-х ступінчастиним шківом, завдяки чому шпиндель може обертатися з шістьма різними швидкостями в межах від 1600 до 8 000 об/хв при двошвидкісному електродвигуні 2.
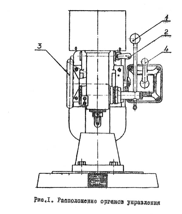
Пуск двигуна здійснюється за допомогою пакетного вимикача.
Шпинделю забезпечується плавна робота завдяки наявності легких, добре збалансованих, алюмінієвих шківів, нескінченним плоским ременем, захищеним литим кожухом з кришкою, що легко знімається.
Натяг ременя здійснюється шляхом переміщення двигуна спільно з кронштейном.
Верхній кінець шпинделя розвантажений від шківа, що обертається на індивідуальних шарикопідшипниках, що укріплені у втулці станини верстата. Нижній кінець забезпечений конусним отвором для вставлення цанги та різьбленням для затискної гайки.
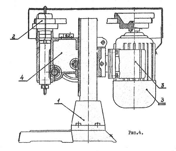
Свердлильна головка включає весь привід зі свердлильним шпинделем і механізмом подачі. Вона встановлюється на висоту відповідно до розміру виробу за допомогою ггвинта та гайки і за допомогою рукоятки затискається на колонці.
Установка кільця лімба відбувається таким чином, що при досягненні бажаної глибини кільце отримує упор і зупиняє обертання валика з шестернею.
Подача шпинделя - ручна, проводиться за допомогою чутливого важеля, шестерні та склянки шпинделя.
Свердлильний шпиндель разом із втулкою, врівноважений, розташованої у фланці, регульованої плоскою пружиною, яка знаходиться у зв'язку з шестернею та важелем. Для установки шпинделя на певну глибину свердління служить спеціальний хомутик, що сидить на валу шестерні, обмежувачем йому служить завзятий гвинт на станині.
Свердлильний стіл є прямокутною плитою з ребрами жорсткості і одночасно є підставою колони. Стіл забезпечений широкою канавкою для стоку рідини, що охолоджує, і двома Т-подібними пазами для кріплення пристосувань.
Колона верстата може бути пересунута вздовж Т-подібного паза, внаслідок чого зберігається велика опорна поверхня для свердління великих виробів з отворами, що лежать збоку.
Заміна нормального столу великим дає можливість встановити поруч кілька колон, причому відстань між окремими колонами можна регулювати як завгодно.

Загальний вигляд свердлильного верстата С-25

Фото свердлильного верстата С-25

Фото свердлильного верстата С-25

Фото свердлильного верстата С-25

Кінематична схема свердлильного верстата С-25

Розташування складових частинин свердлувального верстата С-25

Розташування органів керування свердлильним верстатом С-25

Вузол подачі шпинделя свердлильного верстата С-25.

Шпиндель у зборі свердлувального верстата С-25.

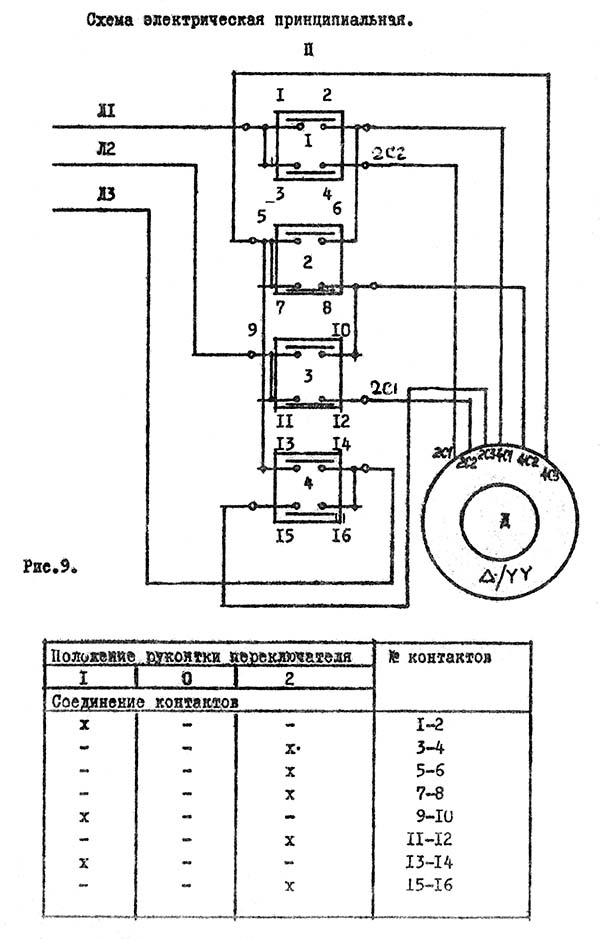
Електрична схема свердлильного верстата С-25
Верстат встановлюється на столі. Перед затягуванням болтами верстат необхідно точно вивірити, для чого на стіл вздовж і впоперек ставиться рівень. Після вивіряння болти необхідно щільно затягнути, спостерігаючи за рівнем.
Верстат перед пуском необхідно ґрунтовно очистити, промити гасом, витерти і змастити, звертаючи при цьому особливу увагу на поверхні, що труться, і мастильні отвори. Переконавшись у правильній установці та складання верстата, перевіривши в будь-якому напрямку обертання та рух вузлів та механізмів, верстат пускається на деякий час, на холостий хід, під час чого перевіряється робота окремих механізмів.
Після проведення перерахованих вище операцій, якщо ніщо не викликало сумніву, верстату дається навантаження.
Регулювання піддається затискання склянки шпинделя в станині, пересування мотора для натягу ременя, встановлення свердлильної головки по висоті оброблюваної деталі і при заданій глибині свердління.
Вмикання та вимикання верстата проводиться пуском та зупинкою двигуна, за допомогою пакетного вимикача.
Зміна швидкості проводиться переведенням ременя з одного ступеня шківів на іншу при вимкненому моторі та знятій кришці кожуха, керуючись при цьому таблицею швидкостей, поміщеною на кожусі верстата.
Найважливішими частининами, що підлягають змащенню, є шпиндель і склянка шпинделя, яке під час експлуатації верстата змащуються один раз на декаду шляхом заливки веретеної олії № 2 маслинки.
Зміна технічного вазеліну в шарикопідшипниках шпинделя та шпиндельного шківа проводиться один раз на 3 місяці.
| Найменування параметру | С-25 (1) | С-25 (2) |
|---|---|---|
| Основні параметри верстата | ||
| Найбільший умовний діаметр свердління, мм | 6 | 1..5 |
| Найменша та найбільша відстань від торця шпинделя до столу | 0..200 | 0..270 |
| Відстань від осі вертикального шпинделя до направляючих стійки (виліт), мм | 125 | 185 |
| Робочий стіл | ||
| Розміри робочої поверхні столу, мм | 220 х 300 | 180 х 500 |
| Число Т-подібних пазів Розміри Т-подібних пазів | - | - |
| Шпиндель | ||
| Найбільше переміщення шпиндельної головки по колоні, мм | 210 | |
| Хід гільзи шпинделя, мм | 70 | 75 |
| Частота обертання шпинделя, об/хв | 1600, 2500, 4000 3200, 5000, 8000 |
1600, 2500, 4000 3200, 5000, 8000 |
| Кількість швидкостей шпинделя | 6 | 6 |
| Конус шпинделя | B10 (1a) | B10 (1) |
| Привід | ||
| Електродвигун приводу, кВт (об/хв) | 0,6 (1400, 2800) | 0,4 (1400, 2800) |
| Тип електродвигуна | A031-4/2 | AOL 21-2 |
| Габарит та маса верстата | ||
| Габарити верстата (довжина ширина висота), мм | 590 х 400 х 560 | 590 х 450 х 560 |
| Маса верстата, кг | 80,5 | 128 |
Пов'язані посилання