metalinstryment.com
Довідник по металорізальних верстатів та пресовому обладнанні

СМЖ-172 Верстат для резки арматурной стали
Схеми, опис, характеристики

СМЖ-172 Верстат для резки арматурной стали







Производитель верстата для резки арматурной стали моделі СМЖ-172 предприятие - Строительные машины г. Санкт-Петербург.

На рынке строительного оборудования России присутствует несколько отечественных разработчиков і изготовителей верстатів для резки арматуры і множество иностранных фирм из Китая, Турции, Болгарии, Италии і т.д.

Наиболее известные российские производители верстатів для рубки і резки арматурной стали:





Верстати, выпускаемые Астраханским станкостроительным заводом, АСЗ


СМЖ-172 Верстат електромеханический для резки арматурной стали. Назначение, область применения

Верстат для резки арматурной стали СМЖ 172 предназначен для резки арматурной стали на предприятиях по производству железобетонных изделий, в арматурных цехах заводов сборного железобетона і на строительных площадках под навесом.

Верстат для резки арматуры СМЖ-172 предназначен он для резки арматурной стали класса А-1 диаметром до 40 мм. Верстат, также, може применяться для резки круглой, квадратной і полосовой стали з пределом прочности до 470 МПа. Климатическое виконання У2 по ГОСТ 15150.

Верстат СМЖ-172 содержит:

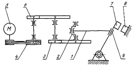
Вращение от електродвигуна передається через клиноременную передачу і редуктор ексцентриковому валу, который приводит в рух кулису і нож, закрепленный на ней.

Для получения перпендикулярного реза з правой стороны робочого паза размещен регулируемый упор з реечным зацеплением.


Загальний вигляд верстата для резки арматуры СМЖ-172

Загальний вигляд  верстата для резки арматуры СМЖ-172

Загальний вигляд верстата для резки арматуры СМЖ-172


Загальний вигляд  верстата для резки арматуры СМЖ-172

Загальний вигляд верстата для резки арматуры СМЖ-172


СМЖ-172 Розташування органів керування верстатом для резки арматуры

Розташування органів керування верстатом для резки арматуры СМЖ-172

Розташування органів керування верстатом СМЖ-172


Конструкція верстата передбачає наступні средства защиты, обеспечивающие нормативный (ГОСТ 12.2.009) уровень безопасности роботи (рис. 1 і рис. 2):

  1. Кожух ограждения ременной і зубчатой передач;
  2. Загрузочное пристрій обеспечивает загрузку арматурных прутков в зону різання сверху, одновременно защищает работающего от возможного выброса заготовки;
  3. Пристрій заземления, выполненные в виде резьбовых з'єднань. Для обеспечения надежного контакта шины заземления должны быть размещены между плоскими шайбами і надежно зажаты з применением пружинных шайб. Монтаж заземляющих зажимов без пружинных шайб і з применением крепежных деталей без покрытий, а также применение для заземления алюминиевых проводов не допускается. Над пристроями заземления размещены графічні символы «Заземление».
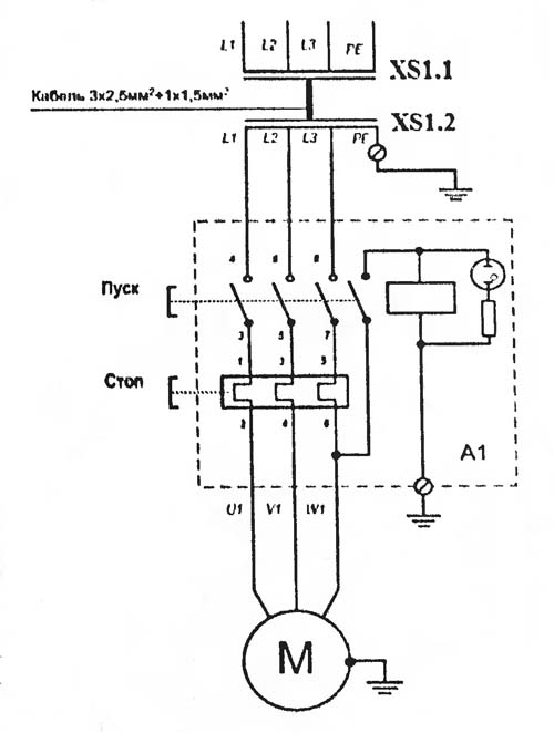
  4. Кнопка «стоп» красного цвета. Предназначена для отключения електродвигуна привода, используется также для аварийного отключения.
  5. Лампочка сигнальная
  6. Кнопка «пуск» черного цвета
  7. Магнитный пускатель

Електроустаткування имеет нулевую защиту, обеспечиваемую магнитным пускателем. Она исключает самопроизвольное увімкнення приводу при восстановлении внезапно исчезнувшего напряжения, независимо от положения органа керування вводным выключателем.

Противопожарная защита при коротких замыканиях осуществляется предохранителями.

Електродвигун приводу защищен от длительных перегрузок тепловым реле.





Кінематична схема верстата для резки арматуры СМЖ-172

СМЖ-172 кінематична схема верстата для резки арматуры

Кінематична схема верстата для резки арматуры СМЖ-172


  1. Вкладыш
  2. Вал ексцентриковый
  3. Зубчатое колесо редуктора
  4. Маховик
  5. Електродвигун
  6. Зубчатое колесо редуктора
  7. Нож подвижный
  8. Нож нерухомий
  9. Кулиса

Cхема сборки верстата для резки арматуры СМЖ-172А

СМЖ-172А Cхема сборки верстата для резки арматуры

Cхема сборки верстата для резки арматуры СМЖ-172А

Cхема сборки верстата для резки арматуры СМЖ-172А. Дивитись у збільшеному масштабі



Список деталей верстата для резки арматуры СМЖ-172А

  1. СМЖ-172А.01.010 - Станина
  2. СМЖ-172А.05.000 - Кулиса в сборе
  3. СМЖ-172А.01.030 - Крышка
  4. СМЖ-172А.03.000 - Вкладыш в сборе
  5. СМЖ-172А.07.000 - Кожух
  6. СМЖ-172А.09.000 - Болт откидной
  7. СМЖ-172А.06.000 - Плита мотора (подмоторная плита)
  8. СМЖ-172А.08.000 - Кожух
  9. СМЖ-172А.00.024 - Нож
  10. СМЖ-172А.00.003 - Палец
  11. СМЖ-172А.00.031 - Вал ексцентриковый
  12. СМЖ-172А.00.032 - Шестерня ( m=10, z=33)
  13. СМЖ-172А.00.006 - Корпус масленки
  14. СМЖ-172А.00.009 - Гайка
  15. Шайба 45.01.05. ГОСТ 11872-73
  16. СМЖ -172А .00.027 - Шайба
  17. СМЖ-172А.00.018 - Маховик
  18. СМЖ-172А.00.021 - Шестерня ( m=10, z=9)
  19. СМЖ-172А.00.017 - Крышка (4шт.)
  20. Подшипник 7511А ГОСТ 27365-87 (4шт.)
  21. СМЖ-172А.00.028 - Вал
  22. СМЖ-172А.00.016 - Вал приводной
  23. СМЖ-172А.00.019 - Шестерня (косозубая m=4, z= I3)
  24. СМЖ-172А.00.029 - Шестерня перебора (косозубая m=4, z= l 14)
  25. СМЖ-172А.01.001 - Втулка (капролон - 2шт.)
  26. СМЖ-172А.02.000 - Упор (Рольганг)
  27. СМЖ-172А.00.034 - Стойка

Верстат для резки арматуры СМЖ-172А. Кулиса в сборе (верстати выпуска до 31 декабря 2013г)

смж-172а Верстат для резки арматуры. Кулиса в сборе

Кулиса в сборе верстата для резки арматуры СМЖ-172


СМЖ-172А.05.000 - Кулиса в сборе

  1. СМЖ-172А.05.001 - Кулиса
  2. СМЖ-172А.05.002 - Щиток
  3. СМЖ-172А.05.003 - Втулка кулисы
  4. СМЖ-172А.05.004 - Нож

Верстат для резки арматуры СМЖ-172А. Вкладыш в сборе (верстати выпуска до 31 декабря 2013г)

смж-172а Верстат для резки арматуры. Вкладыш в сборе

Вкладыш в сборе верстата для резки арматуры СМЖ-172


СМЖ-172А.03.000 - Вкладыш в сборе

  1. СМЖ-172А.03.001 - Вкладыш
  2. СМЖ-172А.03.002 - Вкладыш
  3. СМЖ-172А.03.003 - полумуфта
  4. СМЖ-172А.03.004 - накладка




Схема процесса резки прутков арматуры на станке СМЖ-172

СМЖ-172 Схема процесса резки прутков арматуры на станке СМЖ-172

Схема резки прутков арматуры на станке СМЖ-172


Пристрій і робота верстата для резки арматуры СМЖ-172

Станина предназначена для монтажа верстата і его складових частин і включает в себя:

В верхней частини станины имеются:

Упор состоит из двух рифленых планок 3 і 5, одна из которых нерухомо крепиться к станине, а вторая може перемещаться относительно первой і прижиматься к ней болтом 4

Отверстия крепления подмоторной плиты електродвигуна і кронштейна пульта керування.

Отверстия для подъема і транспортировки верстата.

Между вертикальным листом станины і укрепленной на 3-х штифтах і 5-ти болтах крышкой, расположена кулиса в сборе, в полости которой размещается ползун. Ползун приводится в рух ексцентриковым валом. Между шейкой ексцентрикового вала і ползуном размещены ролики игольчатые. На обрезе кулисы укреплен подвижный нож 2, взаимозаменяемый з нерухомим ножом станины.

Конструкція ножей позволяет использовать в качестве рабочих четыре кромки.

Кулиса совершает качательное рух вокруг пальца, укрепленного в станине.

Рух кулисы осуществляется посредством передачи енергии от електродвигуна через клиноременную передачу з маховиком, две пары зубчатых колес, закрытых защитным кожухом, і ексцентриковый вал.

Електродвигун установлен на подмоторной плите, имеющей два болта для регулировки натяжения клиновых ремней.

Увімкнення і вимкнення електродвигуна производиться посредством кнопочных выключателей магнитного пускателя, установленного на верхнем торце станины.





Схема електрична верстата для резки арматуры СМЖ-172

СМЖ-172 Схема електрична верстата для резки арматуры

Схема електрична верстата для резки арматуры СМЖ-172


Ножи для верстата резки арматуры СМЖ-172

СМЖ-172 Ножи для верстата резки арматуры

Ножи для верстата резки арматуры СМЖ-172


СМЖ-172 Ножи для верстата резки арматуры

Ножи для верстата резки арматуры СМЖ-172


Розміри ножей для верстата резки арматуры СМЖ-172

Розміри ножей для верстата резки арматуры СМЖ-172А, СМЖ-172БМА


Технічні требования к ножам для резки сортового проката

Ножи для пресс ножниц изготавливаются по ГОСТ 25454-82 Ножи к ножницам для резки сортового проката. Технічні требования

Категории ГОСТ 25454-82 по ОКС:




СМЖ-172 Верстат для резки арматурной стали. Відеоролик.




Технічні характеристики верстата для резки арматуры СМЖ-172

Наименование параметра СМЖ-172БА СМЖ-172НА40М
Основні параметри верстата
Рабочее усилие на ножах (номинальное усилие реза), кН (кгс), не более 3500 (350) 3500 (350)
Наибольший диаметр отрезаемого круга в режиме непрерывного ходу. Класс А-I, мм 24 24
Наибольший диаметр отрезаемого круга в режиме непрерывного ходу. Класс А-II, мм 21 21
Наибольший диаметр отрезаемого круга в режиме непрерывного ходу. Класс А-III, мм 19 19
Наибольший диаметр отрезаемого круга в режиме одиночного ходу. Класс А-I, мм 40 40
Наибольший диаметр отрезаемого круга в режиме одиночного ходу. Класс А-II, мм 36 36
Наибольший диаметр отрезаемого круга в режиме одиночного ходу. Класс А-III, мм 32 32
Наибольшие розміри отрезаемого квадрата, мм 20 х 20 20 х 20
Наибольшие розміри отрезаемой полосы (толщина х ширина), мм 12 х 38 12 х 38
Частота непрерывных ходов кулисы, 1/мин 33 33
Частота одиночных ходов кулисы, 1/мин 9 9
Електродвигун, кВт 3,0 3,0
Габарит і масса пресс-ножниц
Габарит пресс-ножниц (длна х ширина х высота), мм 1150 х 430 х 850 1100 х 530 х 805
Масса пресс-ножниц, кг 530 550

Примечание:

Допускается разрезка нескольких прутков арматуры одновременно, при условии, что пучок не превышает по диаметру показателей, указанных в таблице 1.


    Список литературы:

  1. Верстат для резки арматурной стали СМЖ-172 БА. Руководство по експлуатации СМЖ-172 БА.00.000 РЭ, 2002
  2. Верстат для резки арматурной стали СМЖ-172 НА40М. Руководство по експлуатации СМЖ-172 БА.00.000 РЭ, 2007

  3. Банкетов А.Н., Бочаров Ю.А., Добринский Н.С. і др. Кузнечно-прессовое обладнання, 1970
  4. Бочаров Ю.А., Прокофьев В, Н. Гідропривід кузнечно-прессовых машин, 1969
  5. Белов А.Ф., Розанов Б. В., Линц В. П. Объемная штамповка на гідравлических прессах, 1971
  6. Живов Л.И. Кузнечно-штамповочное обладнання, 2006
  7. Кузьминцев В.Н. Ковка на молотах і прессах, 1979
  8. Розанов Б.В. Гідравлические прессы, 1959
  9. Титов Ю.А. Обладнання кузнечно-прессовых цехов, 2001
  10. Щеглов В.Ф. Кузнечно-прессовые машины, 1989
  11. Берлет Разработка чертежей поковок, 2001
  12. Рудман Л.И. Справочник по оборудованию для листовой штамповки, 1989
  13. Романовский В.П. Справочник по холодной штамповке, 1965
  14. Охрименко Я.М. Технология кузнечно-штамповочного производства, 1966
  15. Кузьминцев В.Н. Ковка на молотах і прессах, 1979
  16. Мещерин В.Т. Листовая штамповка. Атлас схем, 1975