Виробник токарного верстата моделі ТС-1 - Виробниче об'єднання Старт , Пензенська область, м. Зарічний (Колишнє найменування: Пензенський приладобудівний завод , ППЗ). Основна продукція об'єднання Старт – електронне обладнання для атомної промисловості та атомних електростанцій. Адреса сайту: http://startatom.ru
Токарний верстат ТС-1 - точна копія чешкого верстата MN-80 .
Крім верстата ТС-1 ВО "Старт" виробляв токарні настільні верстати: ТД-180 , ТН-150 , та малогабаритні фрезерні верстати: НФ-300 , УФ-280 , УФН-280 .
Верстати, що випускаються ПЗ "Старт", відрізнялися високою якістю виготовлення та йшли на експорт, у тому числі й до Німеччини.
Настільний токарно-гвинторізний верстат TOS MN-80a випускався в Чехословаччині підприємством TОС Челаковіце (TOS Celakovice, TOS ČELÁKOVICE) у 50-х роках минулого століття і наразі виробництво їх припинено.
У СРСР виробляли копії верстата mn-80 відразу на кількох заводах:
S1-85 - токарно-гвинторізний верстат випускався КНДР (Північна Корея) і поставлявся до СРСР
Верстат токарно-гвинторізний ТС-1 випускався в настільному варіанті та призначений для виготовлення деталей зі сталі, кольорових металів та пластмас у промисловості точної механіки, в оптичній та радіопромисловості.
Токарний верстат ТС-1 рекомендується використовувати у лабораторіях для виготовлення зразків, у майстернях, у навчальних класах, при індивідуальній трудовій діяльності.
Приладдя та пристрої, що входять до комплекту поставки верстата, дозволять розширити технологічні можливості його. З їх допомогою на стінці можна виконувати крім токарних робіт, свердлильні роботи, полірування, нарізування різних різьблень та інші роботи.
Порожнистий шпиндель верстата ТС-1 дозволяє як заготовку використовувати прутковий матеріал круглого, квадратного та шестигранного профілі.
Верстат дозволяє проводити такі види токарних робіт:

Фото настільного токарного верстата ТС-1
Загальний вигляд токарного верстата ТС-1. Дивитись у збільшеному масштабі

Фото настільного токарного верстата ТС-1
Загальний вигляд токарного верстата ТС-1. Дивитись у збільшеному масштабі

Фото настільного токарного верстата ТС-1
Загальний вигляд токарного верстата ТС-1. Дивитись у збільшеному масштабі

Фото настільного токарного верстата ТС-1

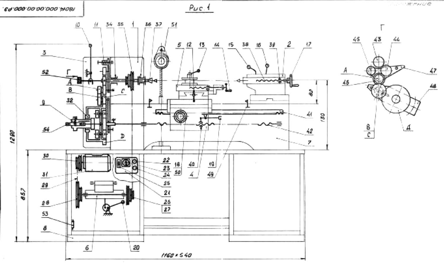
Кінематична схема токарного верстата ТС-1
Кінематична схема токарного верстата ТС-1. Дивитись у збільшеному масштабі
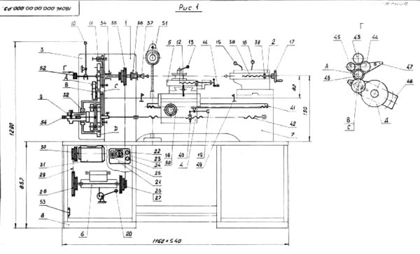
Верстат токарний моделі ТС-1 виконаний у настільному варіанті (див. рис. 1) і складається з наступних основних вузлів:
Органи керування верстатом:
Обертання шпинделя 37 (див. рис. 1 додатка) здійснюється від електродвигуна 31 зі шківом 30 через проміжний вал приводу 6 зі шківами 28 і 26 на шків 35, що жорстко сидить на шпинделі 37. , 630, 1000, 1600 об/хв.
Положення клинових ременів 27 і 29 відповідне вибраному числу оборотів шпинделя, визначається за табличкою, закріпленою на корпусі передньої бабки 1.
При налаштуванні верстата на необхідну кількість обертів слід перевіряти та за необхідності регулювати натяг ременів. Натяг ременя 29 здійснюється переміщенням електродвигуна за планками, на яких він кріпиться. Натяг ременя 27 здійснюється рукояткою 20 з ексцентриком. Ослаблення натягу ременів 27 і 29 при зміні числа обертів шпинделя здійснюється тією самою рукояткою.
Осьове зусилля при натягу приводних ременів має бути 6 ±0,5 кгс.
Механічне переміщення супорта ліворуч (або праворуч) здійснюється через ходовий гвинт 42 і роз'ємну гайку 40.
Обертання на ходовий гвинт передається безпосередньо зі шпинделя через систему зубчастих коліс.
Шестерня 43 виготовлена заодно зі шпинделем і передає обертання черев шестерню 44 (або 451 проміжному валику з шестернями 46 і А.).
Є два варіанти передачі обертання з цього валика ходовому гвинту.
Перший варіант використовується при звичайному точенні. При цьому обертання ходового ггвинта передається через змінні шестерні А, В і С і планетарний перебір D, що дозволяє зменшити в 20 разів подачу при нарізанні різьблення. Муфта 9 при цьому зсунута вправо і знаходиться в зачепленні з шестернями планетарного редуктора і через кулачкову муфту - з ходовим гвинтом.
Другий варіант використовується при нарізуванні метричним різьбленням з кроком 0,2...3 мм (20 значень кроку різьблення). При цьому обертання ходового ггвинта передається через змінні шестерні А», С і D (планетарний редуктор вимкнений) і далі через шестерню 32, жорстко пов'язану з шестернею D, муфті 9 і ходовому гвинту. Муфта 9 при цій знаходиться у крайньому лівому положенні.
Шляхом пересування муфти 9 праворуч або ліворуч досягається установка механічної поздовжньої подачі супорта для звичайного точення або нарізання метричних різьблень.
Середнє положення муфти відповідає відключеному стану ходового ггвинта.
Шестерня D виконана із числом зубів Z=100.
При нарізанні різьблення з іншим кроком слід замінити планетарний перебір шестерень з розрахунковим числом зубів.
Змінні шестерні А, В і С входять до комплекту верстата.
Налаштування верстата на відповідну подачу або крок різьблення, що нарізається, проводити за таблицею, укріпленою всередині корпусу гітари 3.
При перемиканні муфти 9 слід пам'ятати, що напрямки обертання ходового ггвинта при точенні і нарізанні різьблення протилежні. Установка необхідного напрямку обертання ходового ггвинта здійснюється зміною положення прихилу 47, тобто. введенням в зачеплення з шестернею 44 або 45. Положення визначається підпружиненим фіксатором 11, розташованим на прихилі 47. Середнє положення фіксатора 11 відповідає відключеному стану ходового ггвинта 42. Відключення механічної подачі здійснюється рукояткою.
При роботі з ручною подачею супорта слід відключити механічний привід подачі, використовуючи прихил 47 (середнє положення фіксатора 11), що виключає зайве зношування шестерень гітари.
Ручна подача супорта здійснюється через зубчасту рейку 41 і шестерню 50, жорстко пов'язану з маховичкам 18.

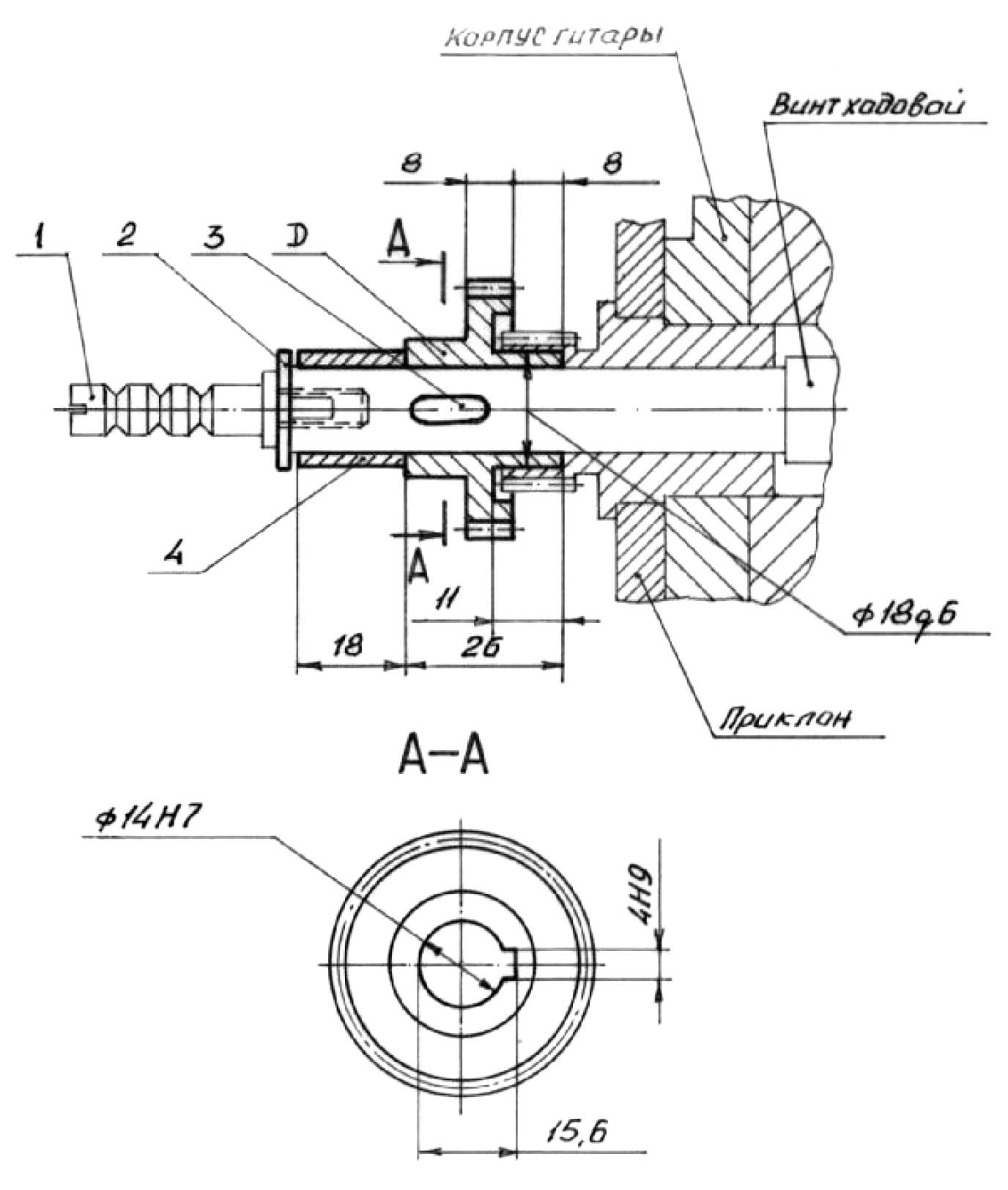
Передня бабка токарного верстата ТС-1
Передня бабка токарного верстата ТС-1. Дивитись у збільшеному масштабі
Робочий шпиндель 2 обертається в бронзових підшипниках ковзання: передньому 3 і задньому 4, розташованих у корпусі передньої бабки 1. Передній підшипник 2 для обмеження зазору стягнутий з двох сторін гайками 5 і б, задній - гайкою 7. Фіксація підшибників 1 і 19.
Зазор у поздовжньому (осьовому) напрямку обмежується кільцем 9 і гайкою 10, яка стопориться гвинтом 22. Для змащування робочих поверхонь шпинделя передбачені повстяні прокладки 23, що насмоктують масло з маслозбірників. Олію необхідно щодня поповнювати черев маслянки 21.
Передній підшипник 2 регулюється наступним чином: послаблюється гвинт 18, клин 17, що кріпить. Перевірка проводиться таким чином: У внутрішній отвір шпинделя вставити стрижень довжиною близько 500 ум і натисканням проти наконечника індикатора визначається зазор у підшипнику.
Якщо станок працює тривалий час з найвищою швидкістю, зазор слід відрегулювати в межах 0,02 ... 0,03 мм так як внаслідок нагрівання поверхонь, що труться, зазор зменшується, що веде до швидкого зносу підшипника.
После регулировки зазору в підшипника следует затянуть гайку 5 і винт 18.
Регулювання заднього підшипника роблять аналогічним способом, тобто. шляхом ослаблення ггвинта 18 і затягування гайки 7. Після регулювання гвинт 18 затягнути.
Осьовий тиск робочого шпинделя сприймається торцевими поверхнями шпинделя і підшипника 2, а також кільцем 9. При зносі цих поверхонь і появи небажаного осьового зазору, потрібно звільнити гвинт 22 і підтягуванням гайки 10 зазор обмежити так, щоб. Після чого слід затягнути гвинт 22,
При регулюванні зазору необхідно стежити за тим, щоб у простір між поверхнями, що труться, не потрапив бруд.
Регулювання зазорів слід довіряти досвідченому працівникові, який правильним налагодженням забезпечить точний та безаварійний хід верстата.
Обертання робочого шпинделя передається від проміжного валу приводу верстата через шків 16.
Конструкція робочого шпинделя дозволяє проводити обробку як у токарномуу патроні, так і в центрах іди з використанням цанг, що входять до комплекту верстата.

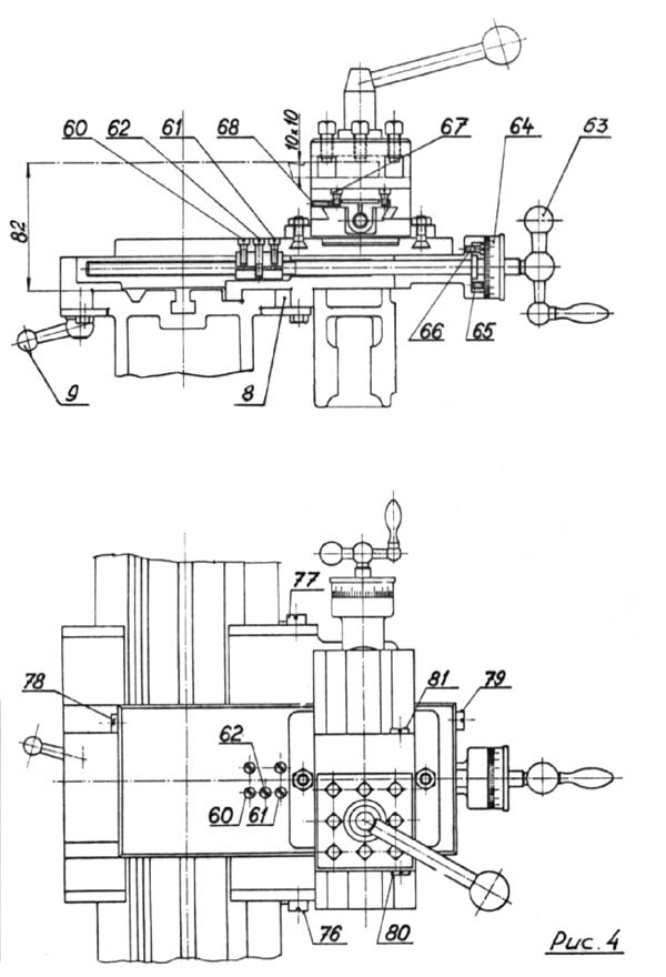
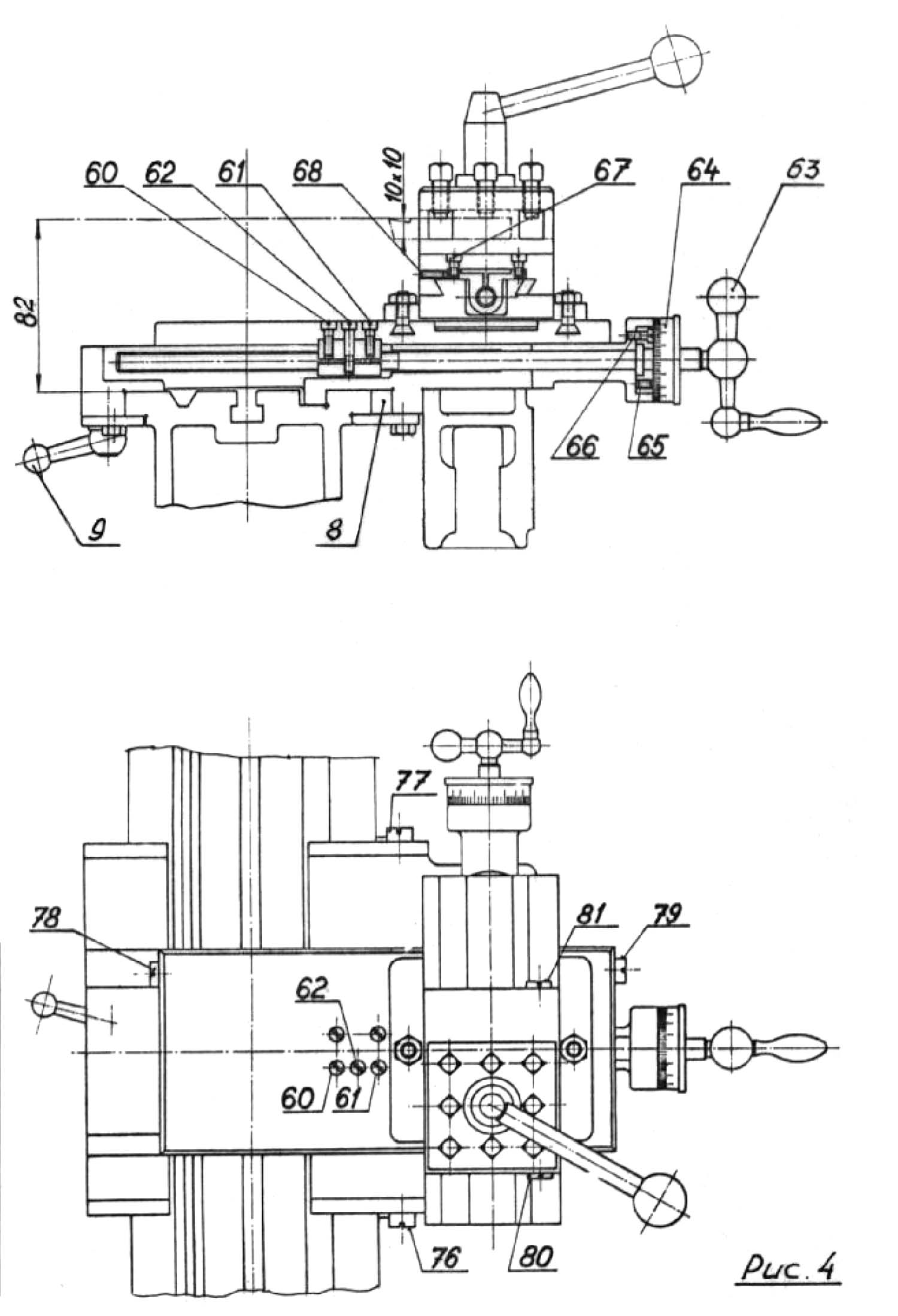
Супорт токарного верстата ТС-1
Супорт токарного верстата ТС-1. Дивитись у збільшеному масштабі

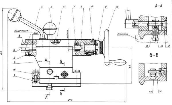
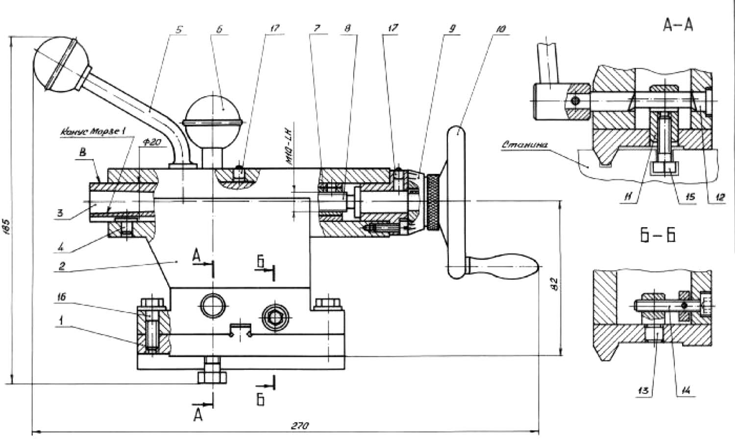
Задня бабка токарного верстата ТС-1
Задня бабка токарного верстата ТС-1. Дивитись у збільшеному масштабі

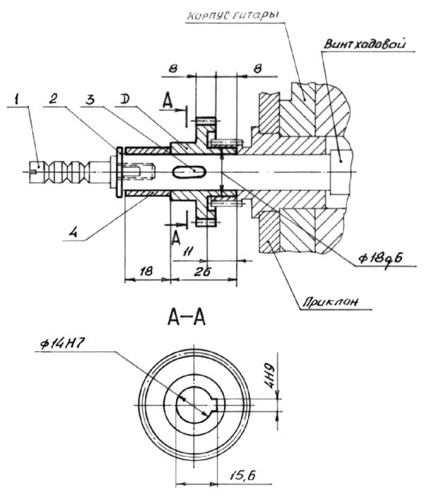
Гітара токарного верстата ТС-1
Задня бабка токарного верстата ТС-1. Дивитись у збільшеному масштабі

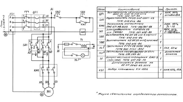
Електрична схема принципова токарного верстата ТС-1
Схема електрична принципова токарного верстата ТС-1. Дивитись у збільшеному масштабі

Таблиця різьблення та подач токарного верстата ТС-1
Таблиця різьблення та подач токарного верстата ТС-1. Дивитись у збільшеному масштабі
Відеообзор верстата з частотним приводом
| Найменування параметру | МН-80а | ТС-1 | ТВ-16 | S1-85 |
|---|---|---|---|---|
| Основні параметри верстата | ||||
| Класс точності | Н | Н | ТУ ТВ-16-0001 | |
| Найбільший діаметр заготовки над станиною, мм | 160 | 155 | 160 | 150 |
| Найбільший діаметр заготовки над супортом, мм | 90 | 80 | 90 | 100 |
| Висота центрів, мм | 80 | 82 | 85 | 85 |
| Найбільша довжина заготовки у центрах (РМЦ), мм | 300 | 260 | 250 | 250 |
| Найбільша висота тримача різця (ш х в), мм | 10 х 10 | 10 х 10 | 12 х 15 | 10 х 10 |
| Висота від опорної поверхні різця до лінії центрів, мм | 10 | |||
| Найбільша відстань від осі центрів до кромки різцетримача, мм | 90 | |||
| Ширина станини, мм | 120 | |||
| Шпиндель | ||||
| Різьбовий кінець шпинделя, мм | М39 х 4 | М39 х 4 | М39 х 4 | |
| Діаметр стандартного 3-х кулачкового патрона, мм | 100 | 100 | 100 | 85 |
| Діаметр стандартного 4-х кулачкового патрона, мм | 150 | |||
| Діаметр наскрізного отвору в шпинделі, мм | 18 | 18 | 18 | |
| Діаметр і довжина переднього підшипника ковзання в шпинделі, мм | 38 х 50 | 38 х 50 | ||
| Центрувальний діаметр переднього кінця шпинделя, мм | 40 х 5 | 40f4 | ||
| Найбільший діаметр прутка, мм | 17 | 17 | 17 | |
| Конус отвору шпинделя | 1:20 | Морзе №3 | Морзе №3 | |
| Число ступенів частот прямого обертання шпинделя | 9 | 6 | 6 | 6 |
| Частота обертання шпинделя, об/хв | 150..2000 | 160..1600 | 160..1600 | 240..1710 |
| Гальмування шпинделя | немає | немає | немає | |
| Блокування рукояток | немає | немає | немає | |
| Супорт. Подання | ||||
| Найбільше поздовжнє переміщення супорта, мм | 300 | 260 | 260 | |
| Переміщення супорта поздовжнє на один поділ лімба, мм | 0,5 | |||
| Ходовий гвинт (діаметр x крок) | 16 х 3 | 16 х 3 | 16 х 3 | |
| Найбільше поперечне переміщення супорта, мм | 100 | 100 | 100 | |
| Переміщення супорта поперечне на один поділ лімба, мм | 0,05 | |||
| Число ступенів поздовжніх подач супорта | 18 | 20 | ||
| Межі поздовжніх робочих подач супорту, мм/про | 0,01..0,15 | 0,01..0,15 | 0,01..0,15 | 0,01..0,15 |
| Межі робочих поперечних подач супорта, мм/про | немає | немає | немає | |
| Кількість нарізних різьблень метричних | 19 | 20 | 18 | |
| Межі кроків різьб метричних, що нарізаються, мм | 0,2..3 | 0,2..3 | 0,2..3 | 0,2..3 |
| Межі кроків різьблення дюймових | немає | немає | немає | |
| Різьбопокажчик | немає | немає | немає | |
| Запобігання перевантаженням | є | є | є | |
| Блокування | є | є | є | |
| Прискорене переміщення супорта | немає | немає | немає | |
| Вимикаючі упори | немає | немає | немає | |
| Різцеві санки (верхній супорт) | ||||
| Найбільше переміщення різцевих санчат, мм | 100 | 100 | 100 | |
| Крок різьблення ходового ггвинта різцевих санчат, мм | 1,5 | 1,5 | ||
| Діаметр різьблення ходового ггвинта різцевих санчат, мм | М10 ліва | |||
| Переміщення різцевих санок на один поділ лімба, мм | 0,05 | 0,05 | 0,05 | |
| Переміщення різцевих санчат на один оборот лімба, мм | 1,5 | 1,5 | 1,5 | |
| Кут повороту різцевих санчат, град | ±60° | |||
| Задня бабка | ||||
| Діаметр пінолі задньої бабки | 20 | 20 | 20 | |
| Конус отвору пінолі задньої бабки | Морзе №1 | Морзе №1 | Морзе №1 | Морзе №1 |
| Найбільше переміщення пінолі, мм | 80 | 70 | 65 | 80 |
| Ціна поділу лінійки переміщення пінолі, мм | 1 | |||
| Ціна поділу лімба переміщення пінолі, мм | 0,05 | 0,05 | 0,05 | |
| Поперечне переміщення задньої бабки, мм | ±5 | |||
| Електроустаткування | ||||
| Напруга мережі живлення, В | ~380 В/ ~220 В | ~380 В/ ~220 В | ~380 В/ ~220 В | ~380 В/ ~220 В |
| Електродвигун головного приводу, кВт | 0,37 | 0,25 | 0,4 | 0,6 |
| Габарити та маса верстата | ||||
| Габарити верстата (довжина ширина висота), мм | 1170 х 610 х 1310 | 1160 х 540 х 1200 | 1150 х 600 х 1200 | 600 х 100 х 1020 |
| Маса верстата, кг | 135 | 135 | 180 | 170 |