Виробник та розробник токарно-револьверного верстата моделі 1340 - Київський завод верстатів-автоматів , м. Київ.
Токарно-револьверний верстат 1340 вироблявся з 1956 року.
Токарно-револьверний верстат з вертикальною віссю револьверної головки 1340 є універсальним токарно-револьверним верстатом та призначений для високопродуктивного виконання свердлильних, токарних та різьбонарізних робіт в умовах серійного виробництва.
Токарно-револьверний верстат 1340 може бути прутковим або патронним і на ньому можна виконувати роботи, що вимагають послідовного застосування різного різального інструменту (чорнове та чистове точення, свердління, розточування, зенкерування, розгортання, нарізування різьблення тощо). Верстат 1340 відносять до револьверних верстатів з вертикальною віссю револьверної головки. Вісь обертання головки розташована нижче за осі шпинделя і паралельна їй. Револьверна головка має 6 гнізд, у яких за допомогою різних державок кріплять різальний інструмент. Цей верстат не має бокового (поперечного) супорта. Револьверна головка отримує поздовжню та поперечну подачі.
При оснащенні додатковими пристроями на верстатах проводиться обробка конусів та фасонних поверхонь.
Автоматичне перемикання частоти обертання шпинделя та подач супорта при зміні позицій револьверної головки відповідно до програми, заданої на штекерній панелі пульта керування значно підвищує продуктивність праці на верстатах та зручність їх обслуговування.
Для налагодження та обробки дрібних партій деталей передбачено ручне керування верстатами.
Застосування змінних револьверних головок забезпечує швидку переналагоджуваність верстатів.
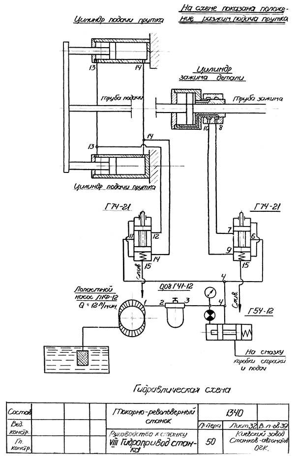
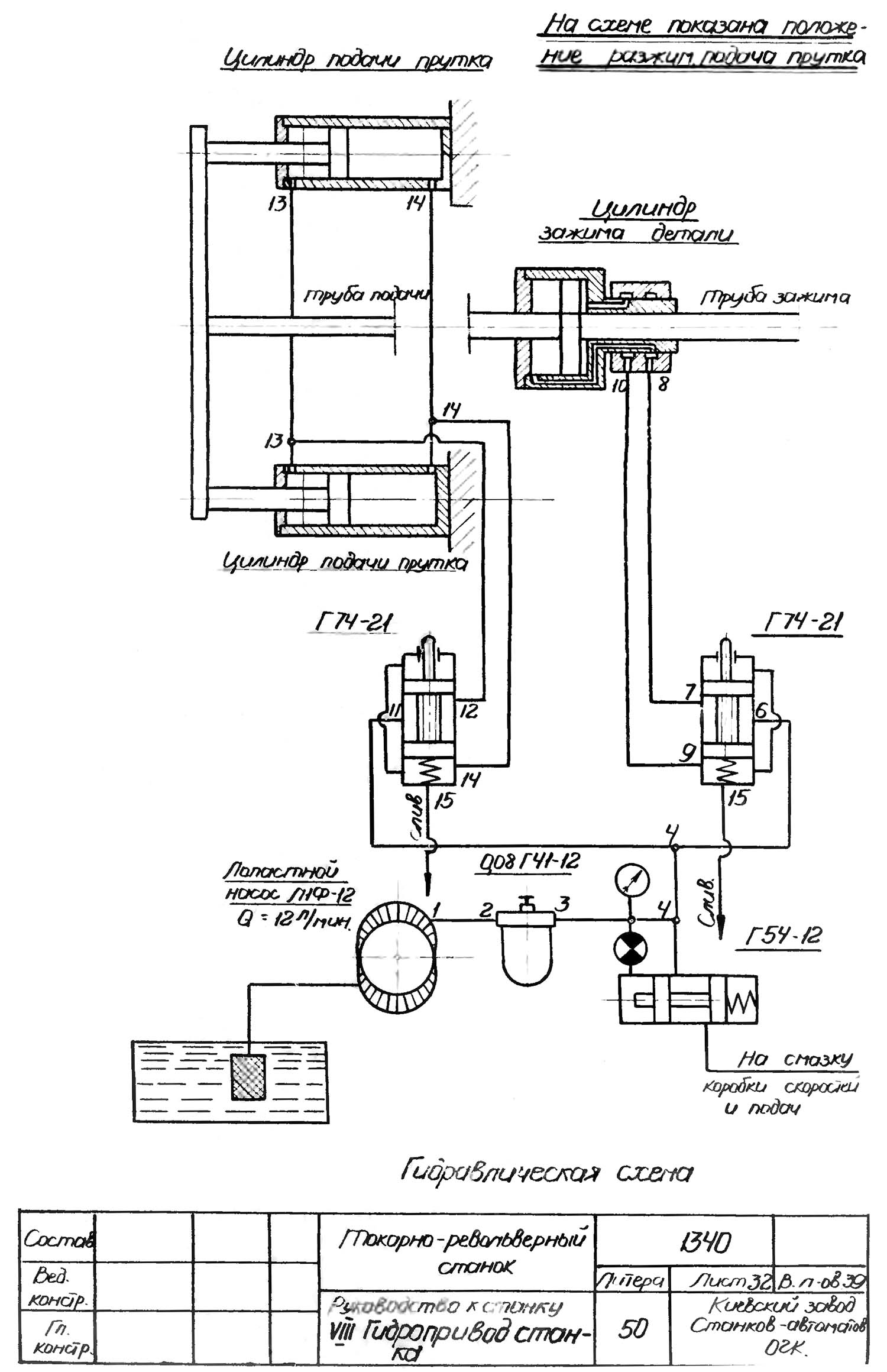
Затискач та подача прутків, а також затискач штучних заготовок здійснюються гідравлічним механізмом. Найбільше допустиме коливання перерізу прутка ± 1 мм, а діаметр штучних заготовок ± 3 мм.
Автоматичне перемикання частоти обертання шпинделя та подач супорта при зміні позицій револьверної головки відповідно до програми, заданої на штекерній панелі пульта керування, значно підвищує продуктивність роботи на верстаті та зручність його обслуговування. Для налагодження та обробки дрібних партій деталей передбачено ручне керування верстатом.

Посадочні та приєднувальні бази верстата 1340
Посадочні та приєднувальні бази верстата 1340. Дивитись у збільшеному масштабі

Розташування органів керування токарним верстатом 1340
Розташування органів керування токарним верстатом 1340. Дивитись у збільшеному масштабі

Кінематична схема токарно-револьверного верстата 1340
Схема кінематична токарно-револьверного верстата 1340. Дивитись у збільшеному масштабі

Схема установки підшипників схема на токарно-револьверному верстаті 1340

Шпиндель токарно-револьверного верстата 1340
Шпиндель токарно-револьверного верстата 1340. Дивитись у збільшеному масштабі

Гідравлічна схема токарно-револьверного верстата 1340
Гідравлічна схема токарно-револьверного верстата 1340. Дивитись у збільшеному масштабі
| Найменування параметру | 1340 | 1341 | 1K341 | 1G340p |
|---|---|---|---|---|
| Основні параметри верстата | ||||
| Клас точності верстата Н згідно з ГОСТ 8-71 | Н | Н | Н | П |
| Точність обробки по довжині, мм | 0,06..0,08 | |||
| Точність обробки діаметром, клас | 2а | |||
| Наибольший диаметр обрабатываемого вироби над станиной, мм | 400 | 400 | 400 | 400 |
| Наибольший диаметр обрабатываемого вироби над суппортом, мм | 200 | 380 | 380 | 380 |
| Наибольший диаметр обрабатываемого прутка, мм | 40 | 40 | 40 | 40 |
| Наибольшая сторона квадрата обрабатываемого прутка, мм | 27 | 27 | 27 | 27 |
| Наибольший размер "под ключ" обрабатываемого шестигранника, мм | 32 | 32 | 32 | 32 |
| Наибольший диаметр обрабатываемого вироби в патроне, мм | 200 | 200 | 200 | |
| Наибольшая длина подачі прутка, мм | 150 | 150 | 100 | 100 |
| Подача прутка | Годравл | |||
| Наибольшая длина прутка, мм | 3000 | 3000 | 3000 | 3000 |
| Наибольший диаметр обрабатываемого прутка в зажимной і подающей трубе круглого / шестигранного, мм | 40/ 32 | 40/ 32 | 40/ 32 | 40/ 32 |
| Высота центров, мм | 200 | 200 | 200 | 200 |
| Расстояние от торца шпинделя до револьверної головки, мм | 200..630 | 32..630 | 82..630 | 120..630 |
| Наибольшая длина нарезаемой різьби резьбонарезным пристрійм, мм | - | 50 | 50 | |
| Шпиндель | ||||
| Диаметр отверстия в шпинделе, мм | 62 | 62 | 62 | 62 |
| Количество рабочих швидкостей шпинделя в двух автоматических диапазонах) - прямое вращение / обратное вращение | 8/ 2 | 8/ 4 | 8/ 4 | 12/ 6 |
| Пределы чисел оборотів шпинделя пруткового исполнения: прямое вращение, об/мин | 60..2000 | 60..2000 | 60..2000 | 45..2000 |
| Частота обертання шпинделя в I диапазоне: прямое вращение, об/мин | 60,100,475,800 | 60,100,475,800 | 45,90,180,355 ,710,1400 |
|
| Частота обертання шпинделя во II диапазоне: прямое вращение, об/мин | 150,265,1180,2000 | 150,265,1180,2000 | 63,125,250,500 ,1000,2000 |
|
| Пределы чисел оборотів шпинделя пруткового исполнения: обратное вращение, об/мин | 100,265 | 60, 100, 150, 265 | 60, 100, 150, 265 | 45..250 |
| Пределы чисел оборотів шпинделя патронного исполнения: прямое вращение (скоростное виконання), об/мин | 36..1600 (56..2500) | |||
| Кінець шпинделя фланцевый по ГОСТ 12595-75 | 1-6Ц | |||
| Наибольший крутящий момент на шпинделе не менее, Нм (кг*м) | 234 (23,4) | |||
| Торможение | Есть | |||
| Суппорт револьверної головки | ||||
| Наибольшее перемещение револьверного суппорта: продольное (Z), мм/ Круговое, град |
215/- | 560/ 360° | 548/ 360° | 510/ 360° |
| Число упоров | 6 | 16 | 16 | |
| Количество продольных/ поперечных подач револьверного суппорта | 12/ 8 | 7/ 6 | 12/ 12 | |
| Диапазон швидкостей продольных подач револьверного суппорта, мм/об | 0,05..1,6 | 0,05..1,6 | 0,03..2,0 | 0,035..1,6 |
| Диапазон швидкостей поперечных подач револьверного суппорта, мм/об | - | 0,02..0,6 | 0,02..0,8 | |
| Быстрое продольное перемещение револьверного суппорта, мм/мин | нет | нет | нет | 6/ 3 |
| Револьверна головка | ||||
| Количество инструментов в револьверній головці | 6 | 16 | 16 | 16 |
| Диаметр отверстий в револьверній головці, мм | Ø 40А | Ø 30, 40 | Ø 30, 40 | Ø 30, 40 |
| Диаметр розположення отверстий в револьверній головці, мм | 220 | 200 | 200 | 200 |
| Продольное перемещение револьверної головки от руки, мм | 215 | |||
| Поперечное перемещение револьверної головки, мм | - | |||
| Перемещение продольное револьверної головки на одно деление лимба, мм | 0,5 | 0,5 | ||
| Перемещение поперечное револьверної головки на одно деление лимба, мм | 0,5 | 0,01; 0,5 | ||
| Поперечный суппорт | ||||
| Расстояние от торца шпинделя до кромки резцедержки, мм | 0..400 | |||
| Продольное перемещение поперечного суппорта от руки, мм | 400 | |||
| Поперечное перемещение поперечного суппорта до оси шпинделя/ за ось шпинделя, мм | 248/ 18 | |||
| Поперечное перемещение поперечного суппорта на одно деление лимба, мм | 0,05 | |||
| Поперечное перемещение поперечного суппорта на один оборот лимба, мм | 5 | |||
| Наибольшая ширина х длина державки резца поперечного суппорта, мм | 16 х 25 | |||
| Висота опорної поверхні різця поперечного супорта до лінії центрів, мм | 25 | |||
| Швидке поздовжнє переміщення поперечного супорта, мм/хв. | ні | |||
| Число упорів | 4 | |||
| Електроустаткування верстата | ||||
| Кількість електродвигунів на верстаті, кВт | 3 | 3 | 3 | 5 |
| Електродвигун головного приводу, кВт (об/хв) | 7 (1440) | 5,5 (1450) | 5,5 (1450) | 6,0/6,2 (960/ 1440) |
| Електродвигун прискорених поздовжніх переміщень револьверного супорта, кВт (об/хв) | - | - | - | 1,1/ 1,5 (1420/ 2880) |
| Електродвигун насоса гідроприводу (затискач та подача прутка), кВт (об/хв) | 1,7 (930) | 1,1 | 1,5 | 1,5 (1415) |
| Електродвигун насоса охолодження, кВт (об/хв) | 0,125 (2800) | 0,125 (2800) | 0,125 (2800) | 0,125 (2800) |
| Електродвигун насоса мастила, кВт (об/хв) | - | - | - | 0,37 (1365) |
| Сумарна потужність усіх електродвигунів, кВт | 9,09 | |||
| Габарити та маса верстата | ||||
| Габаритні розміри верстата (довжина, ширина, висота), мм | 3250 х 1160 х 1600 | 3000 х 1200 х 1600 | 2200 х 1200 х 1380 | 2800 х 1200 х 1400 |
| Маса верстата, кг | 2400 | 2200 | 2400 | 3000 |