Виробник токарного багаторізцевого копіювального верстата моделі 1А730 – Новосибірський верстатобудівний завод XVI партз'їзду , заснований у 1931 році.
Випуск верстатів завод розпочав у 1934 році. Перший верстат, випущений токарний верстат моделі Т-1.
Протягом тринадцяти років з 1972 по 1985 рік завод випускав токарні багаторізцеві напівавтомати 1Н713 і 1Н713ГС, спеціальні верстати на базі 1Н713 і 1Н713ГС, роботизовані комплекси, автоматичні лінії, верстати-автомати.
У 1984 році завод приступив до випуску досконалішого верстата 1Н713П.
Багаторізцевий копіювальний верстат 1А730 розроблено у 1954 році Спеціальним конструкторським бюро СКБ-3 м. Одеса.
Токарний багаторізцевий копіювальний напівавтомат 1А730 призначений для високопродуктивної напівчистової та чистової токарної обробки однорізцевим або багаторізцевим копіювальним способом валів, кілець, підшипників, фланців, шестерень та інших деталей у центрах, патроні або на оправці в умовах серійного та масового виробництва.
На верстаті 1А730 можна отримувати точні лінійні та діаметральні розміри, фаски, канавки, радіуси.
Для виключення утворення ризику на торцевих поверхнях можливе виведення різців із зони різання на робочій подачі з наступним швидким відведенням у вихідне положення.
Верстат 1А730 напівавтомат може вбудовуватись в автоматичні лінії.
Токарний багаторізцевий верстат 1А730 призначений для обробки одночасно всіма різцями, встановленими в передньому та задньому супортах; застосовується у серійному виробництві. На цих верстатах найдоцільніше обробляти багатоступінчасті вали.
Використовуючи спеціальну копірну лінійку, можна обробляти і фасонні поверхні. Найбільший діаметр заготівлі 300 мм, а довжина 500 мм. Верстат 1А730 має два супорти: на передньому встановлюються одночасно всі різці, що працюють на поздовжніх подачах, а на задньому - різці, що працюють на поперечних подачах. Зміна швидкості та подач на верстаті здійснюється змінними колесами. Налагодження та підналагодження виконується наладчиком, а робота на верстаті не вимагає високої кваліфікації.
Токарний багаторізцевий копіювальний напівавтомат 1А730 випускався в наступних модифікаціях:
На рис. 146 наведена схема роботи багаторізцевого напівавтомата. Обробка заготовки 2 ведеться декількома одночасно працюючими різцями, встановленими на поздовжньому 12 і 3 поперечному супортах. Одночасна робота великої кількості різців, кожен з яких обробляє свою ділянку заготівлі, дозволяє отримати деталь заданих форми та розмірів шляхом найпростіших і коротких циклів роботи супортів і, отже, значно скоротити час обробки. Зняття деталі, встановлення заготовки, її затискач у патроні або в центрах передньої 1 і задньої 4 бабок, а також пуск верстата виробляють вручну. Підведення супортів з різцями, обробка заготовки, повернення супортів у вихідне положення та зупинка верстата виконуються автоматично.
При обробці на багаторізцевому токарномуу напівавтоматі, коли одночасно працюють кілька різців, основний (машинний) час менше, ніж при обробці одним різцем на токарномуу гідрокопіювальному напівавтоматі. Ця відмінність особливо ефективно проявляється при багаторізцевому обточуванні методом розподілу довжини обробки, коли кожен ступінь валу обробляється за один прохід. У цьому випадку основний час визначається по довжині шляху різця, який обробляє найбільш довгий ступінь валу.

Поздовжній супорт 12 переміщається разом з планками 6 і 8 щодо нерухомої лінійки 10. При цьому ролик 7 супорта перекочується по робочій поверхні лінійки 10 і постійно притискається до неї пружинами 11. Цикл роботи поздовжнього супорта наступний:
Відскок супорта в кінці обробки (приблизно на 1 мм) і повернення його в початкове положення в кінці відходу назад (дільниці траєкторії г-д і к-а) здійснюються за допомогою планок 6 і 8. Обидві планки переміщуються разом із супортом, при цьому планка 6 може переміщатися щодо супорта в поздовжньому напрямку. На початку роботи супорта обидві планки встановлені щодо один одного так, що стикаються виступами (як показано на малюнку). В кінці обточування планка 6 підходить до упору 9 і зміщується ним щодо планки 8 вправо, в результаті чого її виступи встановлюються проти западин планки 8.
Супорт 12 разом з роликом 7, лінійкою 10 і планкою 8 під дією пружини 11 відскакує назад на глибину западини планки 8. В результаті цього різці при відході супорта вправо не стосуються обробленої поверхні деталі. Після повернення супорта у вихідне праве положення планка 6 стосується другого упору 5 і зміщується ним вліво в початкове положення, тобто її виступи встановлюються знову проти виступів планки 8. В результаті супорт з різцями, лінійка 10 і планка 8 встановлюються в початкове робоче положення (Точка а).

Габарит робочого простору та посадкові бази токарного верстата 1а730

Фото токарного багаторізцевого копіювального верстата 1а730

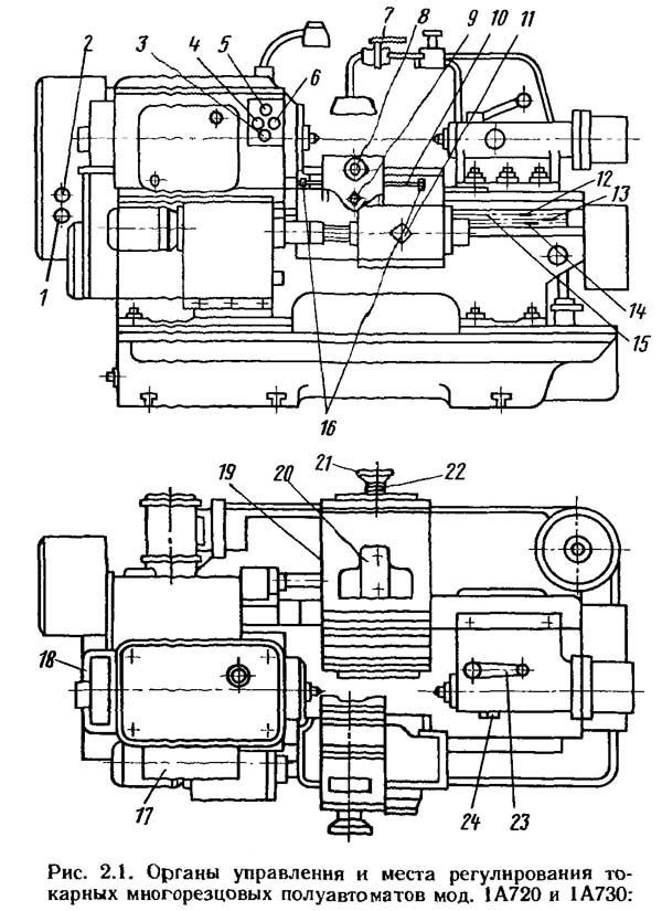
Розташування органів керування токарним верстатом 1а730

Кінематична схема токарного багаторізцевого верстата 1а730
1. 1А730 Кінематична схема токарного багаторізцевого верстата. Дивитись у збільшеному масштабі
2. 1А730 Кінематична схема токарного багаторізцевого верстата. Дивитись у збільшеному масштабі
Обертання шпинделя здійснюється від електродвигуна N = 10 кВт, межі чисел оборотів шпинделя 56—710 об/хв.
Поздовжні подачі переднього супорта здійснюються від шпинделя. Ручне переміщення проводиться маховиком ШЗ.
Швидке переміщення переднього супорта здійснюється від електродвигуна N = 1 кВт. Тут застосована обгінна муфта
Автоматичне керування станком проводиться через рейку 4Р, що приводить в рух іншу рейку 1,5р, до якої прикріплена лінійка керування. На лінійці розташовані переставні кулачки на три кінцеві перемикачі, які в певних положеннях переднього супорта послідовно включають рух верстата.
При обробці деталі на верстаті здійснюються послідовно наступні рухи:

Типові схеми обробки заготовки на токарному напівавтоматі 1а730
Стрілки вказані напрямки руху супортів, пунктирними лініями - ділянки руху на швидких ходух
Типові схеми обробки на багаторізцевих токарних напівавтоматах 1А730, 1А720, 1708е та 1Н713 наведені на рис. 2.8. На рис. 2.8 а показані різці в кінцевих положеннях, а на рис. 2.8, б - їх встановлення та зони врізання. Довжина робочого ходу дорівнює lз, тобто довжині найбільшої ділянки заготовки, оброблюваного одним різцем 3. Різець 1 встановлюють від різця 2 вздовж осі заготовки на такій відстані, щоб забезпечити проходження з деяким надлишком ділянки, що обробляється (l1+a). Це можна здійснити, оскільки проточування ведеться за один робочий хід без утворення загального поздовжнього розміру виробу з метою гарантування знімання металу і в тому випадку, коли припуск на торці ступеня більший за передбачуваний.
При двох послідовних операціях обробки тривінцевого шестеренного блоку на багаторізцевому токарному напівавтоматі (рис. 2.8, г) базою є шестишліцевий отвір. Характерною особливістю обробки є застосування стандартних фаскових різців замість фасонних і роздільна (у різних операціях) обробка канавок і фасок.

Схема налагодження токарного багаторізцевого верстата напівавтомату 1а730

Командоаппарат токарного багаторізцевого копіювального верстата 1а730
На багаторізцевих токарних напівавтоматах 1А730 є командоапарати (рис. 2.3), що керують роботою поздовжніх супортів. На лінійці 7 з трьома поздовжніми пазами, що має П-подібний профіль, зміцнюють кулачки 8, 9 і 10, що переставляються, керуючі циклом роботи. Лінійка 7 закріплена на торці супорта і переміщається разом із ним. За лінійкою (ближче до основи верстата) проти кожного її паза розміщені мікроперемикачі 11, 12 і 13, на які при переміщенні лінійки впливають кулачки 8, 9 і 10.
При включенні натисканням кнопки «Пуск» електродвигунів головного руху і прискорених переміщень супорти (подовжній і механічно пов'язаний з ним поперечний) підходять до заготівлі, що обробляється на прискореному ходу. Кулачок 8 натискає на шток мікроперемикача 11, а той, своєю чергою, розриває ланцюг живлення струмом електродвигуна прискорених переміщень - швидкий хід супорта припиняється. При цьому на верстаті мод. 1Н713 вимикається електромагнітна фрикційна муфта прискореного ходу і одночасно включається електромагнітна муфта робочої подачі - суппорт здійснює робочий хід. Робоча подача триває доти, поки кулачок 10 не натисне на шток мікроперемикача 13, що викличе відключення електромагнітної муфти робочої подачі і одночасне включення електромагнітної муфти швидкого ходу з реверсуванням електродвигуна прискорених переміщень. При цьому відбувається відведення супорта від заготовки, що обробляється, у вихідне положення на прискореному ходу. Він триває доти, доки кулачок 9 не натисне на шток мікроперемикача 12, що викличе відключення електродвигуна швидких переміщень. При відведенні поздовжнього супорта кулачок 8 виходить із контакту зі штоком мікроперемикача 11, а електродвигун головного руху відключається з одночасним відключенням електромагнітного гальма. У цьому автоматичний цикл закінчується.
Налаштування ланцюга головного руху полягає в налаштуванні частоти обертання шпинделя, підборі пари змінних зубчастих коліс та встановлення їх на кінцеві шийки валів у ніші шпиндельної бабки.
При налагодженні переднього (поздовжнього) супорта слід:
При налагодженні поперечного супорта слід:
При перевірці виконання циклу і точної настройки різців на розмір слід:
| Найменування параметру | 1A730 | 1H713 |
|---|---|---|
| Основні параметри верстата | ||
| Рік початку серійного випуску | 1954 рік | 1972 рік |
| Точність згідно з ГОСТ 8-82 | Н | Н |
| Найбільший діаметр виробу, що обробляється над станиною, мм | 410 | 400 |
| Найбільший діаметр виробу, що обробляється над супортом, мм. | 320 | 250 |
| Найбільша довжина виробу, що обробляється (РМЦ), мм | 200..500 | 500 |
| Найбільша довжина обробки двома різцями, мм | 460 | |
| Висота центрів, мм | 200 | |
| Найбільша вага виробу оброблюваного в центрах, кг | 180 | |
| Висота центрів над поздовжнім супортом, мм | 55 | |
| Висота центрів над поперечним супортом, мм | 60 | |
| Висота перерізу різців, що встановлюються, мм | 25..32 | |
| Шпиндель | ||
| Кількість робочих швидкостей шпинделя | 12 | 14 |
| Пределы чисел оборотів прямого обертання шпинделя, об/мин (Число ступеней) | 56..710 (12) | 50..1000 (14) |
| Найбільший момент, що крутить, на шпинделі не менше, кНм (кгс*м) | (310) | |
| Діаметр отвору в шпинделі, мм | 52 | 60 |
| Конус у шпинделі | Морзе 5 | |
| Кінець шпинделя за ГОСТ 12595-72 | M80 | |
| Поздовжній супорт | ||
| Кількість подач поздовжнього супорта | 13 | |
| Найбільше поперечне настановне переміщення супорта, мм | 90 | |
| Найбільше поперечне робоче переміщення супорта, мм | 30 | |
| Найбільше поздовжнє настановне переміщення супорта, мм | 325 | 385 |
| Найбільше поздовжнє робоче переміщення супорта, мм | 250 | 325 |
| Ціна поділу лімба, мм | 0,025 | |
| Діапазон швидкостей поздовжніх подач револьверного супорта, мм/хв. | 25..400 | |
| Допустиме тягове зусилля на ходовому гвинті, кгс | 1200 | |
| Швидкість швидких переміщень поздовжнього супорта, мм/хв. | 3500 | |
| Кількість проходів у циклі | ||
| Кількість змінних копірів | ||
| Поперечний супорт | ||
| Кількість подач поперечного супорта | 12 | |
| Найбільше поперечне настановне переміщення супорта, мм | 225 | 200 |
| Найбільше поперечне робоче переміщення супорта, мм | 135 | 200 |
| Ціна поділу лімба, мм | 0,05 | |
| Діапазон швидкостей поздовжніх подач револьверного супорта, мм/хв. | 25..315 | |
| Швидкість швидких переміщень поперечного супорта, мм/хв. | 2250 | |
| Допустиме тягове зусилля на ходовому гвинті, кгс | 1200 | |
| Задня бабка | ||
| Конус пінолі | Морзе 4 | Морзе 5 |
| Найбільше переміщення пінолі, мм | 160 | |
| Електроустаткування верстата | ||
| Кількість електродвигунів на верстаті, кВт | ||
| Електродвигун головного приводу, кВт (об/хв) | 14 (1460) | 17 |
| Електродвигун приводу швидких і робочих подач поздовжнього супорта, кВт (об/хв) | 1,0 (1410) | 1,5 |
| Електродвигун приводу швидких та робочих подач поперечного супорта, кВт | 1,5 | |
| Електродвигун приводу насоса циркуляційного змащення, кВт | ||
| Електродвигун гідростанції, кВт | ||
| Електродвигун насоса охолодження, кВт | 0,15 | |
| Електродвигун транспортера стружки, кВт | ||
| Сумарна потужність електродвигунів на верстаті, кВт | ||
| Габарити і масса верстата | ||
| Габаритні розміри верстата (довжина, ширина, висота), мм | 2335 х 1800 х 1300 | 2435 х 1250 х 1985 |
| Маса верстата, кг | 3740 | 4700 |