Виробником універсального токарно-гвинторізного верстата 1Д63А є Тбіліський верстатобудівний завод ім. Кірова
Універсальний токарно-гвинторізний верстат 1Д63А - один з перших верстатів серії ДІП-300 призначений для виконання найрізноманітніших робіт у центрах, цангових або кулачкових патронах по чорних та кольорових металах, включаючи точення конусів, а також для нарізування метричних, модульних, дюймових резьб.
Токарний верстат 1Д63А розроблений Московським верстатобудівним заводом Червоний Пролетар у 1950 році. Конструкт Москва документація на верстат згодом була передана на Рязанський верстатобудівний завод РСЗ , де почалося виробництво верстатів 163 серії і на Тбіліський верстатобудівний завод ім. Кірова , де з 1968 року стали вироблятися досконаліші верстати 1М63 .
Верстат 1Д63А здатний обробляти відносно великі заготовки діаметром до 615 мм і завдовжки 1500 або 3000 мм.
Передній кінець шпинделя різьбовий М120 х 6, внутрішній конус Морзе 5, отвір у шпинделі 70 мм, діаметр прутка, що обробляється 68 мм.
Шпиндель верстата 1Д63А встановлений на дворядні роликові підшипники спереду та в конічному роликовому підшипнику ззаду. Осьове навантаження на шпиндель сприймається кульковим упорним підшипником.
Шпиндель отримує 18 ступенів частот прямого та зворотного обертання від шестивалової коробки швидкостей у передній бабці верстата. Установка потрібної швидкості здійснюється трьома ручками на передній стінці передньої бабки.
Пуск, зупинка та включення прискореного зворотного ходу здійснюється фрикційною пластинчастою муфтою . Муфта керується рукоятками на станині у передньої бабки та на фартуху.
На вхідний вал коробки сміття рух надходить через ремінну передачу від асинхронного електродвигуна потужністю 10 кВт.
Коробка подач типу Нортон дає можливість нарізати (без ланки збільшення кроку) за допомогою ходового ггвинта 1/2":
без зміни шестерень на гітарі.
Коробка подач отримує рух від коробки швидкостей через гітару – змінні шестерні із нахилом. У передню бабку включені механізми, що дають можливість змінити напрямок руху супорта та прискорити цей рух (збільшити крок різьблення) у 4 та в 16 разів.
Для виготовлення різьблення підвищеної точності ходовий гвинт може бути підключений через змінні шестерні гітари, крім механізму коробки подач.
По ходовому валику супорт отримує подачі: поздовжні від 0,15 до 2,65 мм і поперечні від 0,05 до 0,90 мм за один оберт шпинделя.
Фартух супорта токарного верстата 1Д63А забезпечений механізмом падаючого черв'яка , який дає можливість автоматичного включення подачі від ходового ггвинта при нарізанні різьблення в обох напрямках і одночасно оберігає верстат від поломок у разі перевантаження. Вимкнення здійснюється з точністю 0,02 мм від упору на станині.

Габаритні розміри робочого простору верстата 1Д63А

Ескіз кінця шпинделя верстата 1Д63А

Фото токарно-гвинторізного верстата 1Д63А

Фото передньої бабки токарно-гвинторізного верстата 1Д63А

Фото передньої бабки токарно-гвинторізного верстата 1Д63А

Фото передньої бабки токарно-гвинторізного верстата 1Д63А

Розташування органів керування токарно-гвинторізним верстатом 1Д63А
Розташування органів керування токарно-гвинторізним верстатом 1Д63А. Дивитись у збільшеному масштабі
Живлення ланцюгів електроустаткування здійснюється наступними напругами:
Електроустаткування верстата призначене для підключення до трифазної мережі змінного струму з глухозаземленим або ізольованим нейтральним дротом.
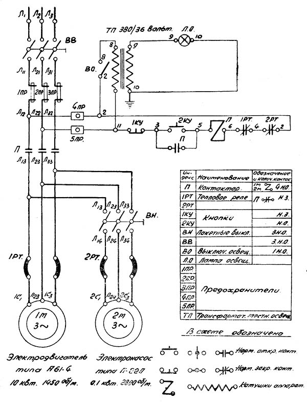
На станке установлены два трехфазных короткозамкнутых асинхронных електродвигуна:

Електрична схема токарно-гвинторізного верстата 1Д63А
Схема електрична токарно-гвинторізного верстата 1Д63А. Дивитись у збільшеному масштабі
На станке установлены 2-а асинхронных електродвигуна:
Для керування електроприводом токарно-гвинторізного верстата 1Д63А служит стандартный шкаф керування типа СУС-33, в котором сосредоточена вся пусковая і защитная аппаратура. Шкаф керування подвешивается к передньої бабке сзади верстата.
Магнитный пускатель типа МПК-1 приводится в действие от електромагнита на котором устанавливается катушка на напряжение 380В.
Для защиты електродвигуна і електронасоса от перегрузок в их ланцюги живлення предусмотрены тепловые реле.
Нагревательные елементы тепловых реле ставят на две фазы каждого двигуна. Значения тока тепловых реле:
Захист от падения напряжения осуществляется катушкой контактора, которая при снижении напряжения в сети до 50..60% от номинального автоматически отключает двигатели. Увімкнення електродвигателей возможно при напряжении не ниже 85% от номинального.
От коротких замыканий двигатели защищены плавкими предохранителями, установленными в шкафу керування.
| Наименование параметра | 1Д63А | |
|---|---|---|
| Основні параметри | ||
| Класс точності по ГОСТ 8-82 | Н | |
| Наибольший диаметр заготовки над станиной, мм | 615 | |
| Наибольший диаметр заготовки над суппортом, мм | 345 | |
| Высота центров, мм | 300 | |
| Наибольшая длина заготовки (РМЦ), мм | 1500, 3000 | |
| Наибольшая длина обточки, мм | 1310, 2810 | |
| Наибольшие розміри резца, мм | 30 х 30 | |
| Высота от опорной поверхности резца до линии центров, мм | 32,5 | |
| Наибольшее расстояние от линии центров до кромки резцедержателя, мм | 325 | |
| Шпидель | ||
| Диаметр сквозного отверстия в шпинделе, мм | 70 | |
| Наибольший диаметр прутка, мм | 68 | |
| Число ступеней частот прямого обертання шпинделя | 18 | |
| Частота прямого обертання шпинделя, об/мин | 14..750 | |
| Число ступеней частот обратного обертання шпинделя | 18 | |
| Частота обратного обертання шпинделя, об/мин | 22..945 | |
| Размер внутреннего конуса в шпинделе, М | Морзе 5 | |
| Кінець шпинделя | М120 х 6 | |
| Торможение шпинделя | есть | |
| Подачи | ||
| Наибольшая длина ходу каретки от руки, мм | 1510, 3010 | |
| Наибольшая длина ходу каретки по валику, мм | 1310, 2810 | |
| Наибольшая длина ходу каретки по винту, мм | 1310, 2810 | |
| Число ступеней продольных подач | 26 | |
| Пределы рабочих подач продольных, мм/об | 0,15..2,65 | |
| Число ступеней поперечных подач | 26 | |
| Пределы рабочих подач поперечных, мм/об | 0,05..0,9 | |
| Поперечное перемещение на одно деление лимба, мм | 0,05 | |
| Переміщення різцевих санок на один поділ лімба, мм | 0,05 | |
| Швидкість швидких переміщень супорта, поздовжніх, м/хв. | ні | |
| Швидкість швидких переміщень супорта, поперечних, м/хв. | ні | |
| Кількість нарізних різьблень метричних | ||
| Межі кроків різьб метричних, що нарізаються, мм | 1..224 | |
| Кількість нарізних різьблень дюймових | ||
| Межі кроків різьблення дюймових | 2..28 | |
| Кількість нарізних різьблень модульних | ||
| Межі кроків різьблення модульних | 0,25 стор.. 56 стор | |
| Кількість нарізних різьблення питних | ні | |
| Межі кроків різьблення питних | ні | |
| Задня бабка | ||
| Конус | Морзе 5 | |
| Найбільше переміщення пінолі, мм | 205 | |
| Поперечне зміщення, мм | ±15 | |
| Електроустаткування | ||
| Кількість електродвигунів на верстаті | 2 | |
| Потужність електродвигуна головного приводу, кВт | 10 | |
| Потужність електродвигуна насоса охолодження, кВт | 0,12 | |
| Насос охолодження (помпа) | ПА-22 | |
| Габарити та маса верстата | ||
| Габарити верстата (довжина ширина висота), мм | 3610 х 1690 х 1275 5110 х 1690 х 1275 |
|
| Маса верстата, кг | 3920 |