Виробник токарно-гвинторізного верстата високої точності 1Е61МТ Ульянівський машинобудівний завод ім. Володарського багатопрофільне підприємство, що випускало патрони до нарізної стрілецької зброї, автомобільні свічки запалювання, верстати токарно-гвинторізні, вантажопідйомне обладнання, автоматичні роторні лінії, безконтактні пускачі, ланцюги пиляльні, тягові, приводні, роликові, ЗІП до сель.
Завод випускав універсальні токарно-гвинторізні верстати моделей: ТВ-01, ТВ-01М, 1Е61, 1Е61М, 1Е61МТ, 1Е61ВМ, 1Е61ПМ, С1Е61ВМ, С1Е61ПМ, УТ16ВМ, УТ16ПМ.
Токарні верстати моделей 1Е61МТ створені на базі верстата 1Е61М і належать до класу легких токарних верстатів.
Верстат токарно-гвинторізний моделі 1Е61МТ є універсальним та призначений для виконання фінішних операцій при токарній обробці деталей високої точності та нарізування різних різьблень. Клас точності верстата - Ст.
Привід верстата 1Е61МТ здійснюється від індивідуального електродвигуна потужністю 4,5 кВт і числом обертів за хвилину 1335.
Клинопасової передачею рух передається на приймальний шків коробки швидкостей. Від коробки швидкостей шістьма клиновими ременями рух передається далі, на шків передньої бабки, та був з допомогою зубчастої муфти — на шпиндель.
Нарізання різьблення високої точності забезпечується можливістю з'єднання ходового ггвинта безпосередньо з відповідним комплектом змінних шестерень на гітарі, минаючи весь ланцюг коробки подач.
Верстат 1Е61МТ також дозволяє нарізати різьблення нормальної точності за допомогою коробки подач.
Ланцюг подачі верстата має ланку збільшення кроку , з якого досягається восьмиразове збільшення табличного значення подач і кроків різьблення.
Включаючи ланку збільшення кроку, можна робити нарізку різьблення, прорізати всілякі круті спіралі, нарізати багатозахідні черв'яки і виконувати ряд спеціальних робіт.
Фартух верстата має механізм «падаючого» черв'яка, що автоматично вимикає поздовжню та поперечну подачі при роботі з нерухомими упорами. Одночасно цей механізм захищає верстат від поломок під час перевантаження. Але під час роботи ходовим гвинтом користуватися поздовжнім упором неприпустимо.
У середній частинині шпиндельної бабки поміщений клиновий приводний шків, змонтований на двох шарикопідшипниках. Таким чином, шпиндель розвантажений від натягу клинових ременів.
Мастило передньої бабки автоматичне, від окремого масляного насоса. Увімкнення головного електродвигуна та включення масляного насоса зблоковано, чим виключена можливість роботи шпиндельної бабки без мастила.
Підведення мастильно-охолоджувальної рідини в зону різання проводиться електронасосом, включення якого здійснюється при необхідності від окремого вимикача.
Реверсування головного руху верстата – електричне. Гальмування обертання шпинделя проводиться протитечією в електродвигуні.
Електродвигун, що застосовується на верстаті, з підвищеним ковзанням забезпечує підвищення частоти реверсування при нарізанні різьблень.
Виробничі можливості верстата значно розширюються за допомогою ряду додаткових речей, що додаються до верстата за особливим замовленням за окрему плату.
Верстат 1Е61МТ забезпечує високу точність при дотриманні наступних пунктів:
Б/с головний привід - безступінчастиний привід шпинделя на двигуні постійного струму або частоті тиристорному перетворювачі.

Габарити робочого простору токарного верстата 1е61м.

Габарити робочого простору токарного верстата 1е61м.

Станина токарно-гвинторізного верстата 1е61мт
Станина токарно-гвинторізного верстата 1е61мт. Дивитись у збільшеному масштабі

Фото токарно-гвинторізного верстата 1е61мт

Фото токарно-гвинторізного верстата 1е61мт

Фото токарно-гвинторізного верстата 1е61мт

Фото токарно-гвинторізного верстата 1е61мт

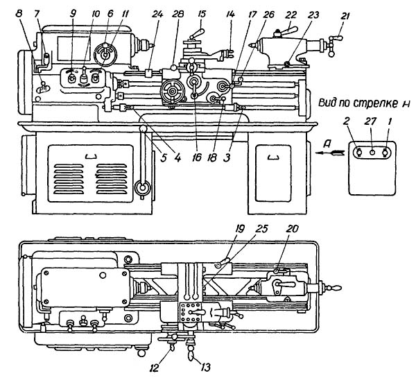
Розташування органів керування верстатом 1е61мт

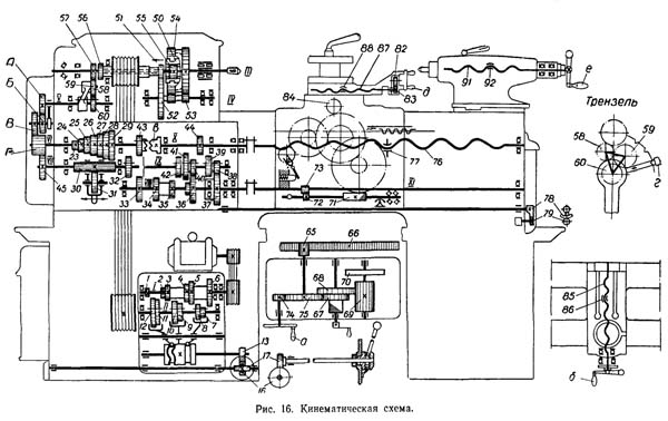
Кінематична схема токарно-гвинторізного верстата 1е61мт
Схема кінематична токарно-гвинторізного верстата 1Е61МТ. Дивитись у збільшеному масштабі

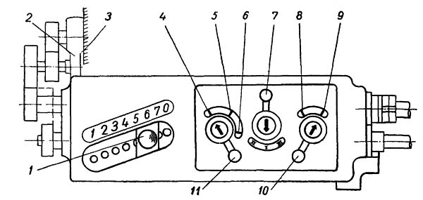
Розташування рукояток керування коробкой передач 1е61мт

Схема налаштування гітари токарного верстата 1е61мт

Передня бабка токарно-гвинторізного верстата 1е61мт
Передня бабка токарно-гвинторізного верстата 1е61мт. Дивитись у збільшеному масштабі
Шпиндель токарно-гвинторізного верстата 1е61мт смонтирован на 4-х підшипниках:
Шпиндель вращается в двух бронзовых підшипниках ковзання (рис. 28). Підшипники разрезные, а наружные их поверхности конические, благодаря чему имеется возможность производить регулировку радиального зазору шпинделя, который не должен превышать 0,008 мм.
Осевые зусилля шпинделя воспринимают на себя два упорных шарикопідшипника 11 і 12.
Для регулировки переднего підшипника 1 необходимо снять крышку 5 і фланец 4, ослабить гайку 17, а гайкой 3 путем завертывания на втулку 16 произвести подтяжку підшипника 1. Тем самым выбирается зазор между подшипником 1 і шейкой шпинделя 2. При етом шпиндель должен легко провертываться от руки при включенном переборе. После етого гайку 17 следует завернуть до упора.
Для регулировки заднего підшипника шпинделя необходимо: снять крышку 5 і планку 9, ослабить гайку 6, а гайкой 10 произвести подтяжку підшипника 7, шпиндель після етого должен плавно вращаться, а затем подтянуть гайку 6 до упора.
Для регулювання упорных шарикопідшибників 11 і 12 необходимо снять крышку 13, ослабить зажимной винт 14 і выбрать осевой зазор в шпинделе путем навинчивания гайки 15.
После етого гайку 15 застопорить винтом 14.

Передня бабка токарно-гвинторізного верстата 1е61мт
При разборке верстата в случае ремонта или по другой причине необходимо обратить внимание на следующее:
Прежде чем снять шпиндельную бабку со верстата необходимо:
Для снятия клиновых ремней передньої бабки необходимо вынуть шпиндель передньої бабки, а затем ступицу з сидящим на ней шкивом.
Чтобы вынуть шпиндель 1 из корпуса передньої бабки, необходимо снять верхнюю крышку 24, задние крышки 12, 13 і передний фланец 2. Вместе з задньої крышкой вынуть трензельный валик 8. С кінця шпинделя вывернуть гайку 10, предварительно ослабить винт 11. Затем ослабить гайку 3, а гайкой 23 путем навертывания на втулку 25 ослабить вкладыш 26, тем самым увеличится зазор между шпинделем і вкладышем. Таким же образом проделать з задним подшипником ковзання. После вывернуть стопорные винты шестерен трензеля 15 і перебора 4. Далее при помощи свинцового молотка выбивать слабыми ударами шпиндель.
Для снятия шкива со ступицей из корпуса передньої бабки необходимо снять задний фланец 14, ослабить стопорный винт 6 і отвернуть гайку 7, затем вынуть трензель 9. Дальше необходимо ослабить стопорный винт 20, отвернуть гайку 21, ослабить установочные винты 19 і 16. После етого ударами в торец переборной шестерни 22 выбить ступицу 18 вместе со шкивом 17.
Снять сливную резиновую трубку 5 і вынуть клиновые ремни. Сборка передньої бабки будет происходить в обратном порядке.
Разборка остальных вузлів верстата, ввиду ясности демонтажу, пояснения не требует.
| Наименование параметра | 1Е61МТ | 1Е61ПМ | УТ61ПМ |
|---|---|---|---|
| Основні параметри верстата | |||
| Класс точності по ГОСТ 8-82 | В | П | П |
| Наибольший диаметр заготовки обрабатываемой над станиной, мм | 320 | 320 | 320 |
| Наибольший диаметр заготовки обрабатываемой над суппортом, мм | 188 | 170 | 170 |
| Наибольшая длина устанавливаемой детали РМЦ, мм | 710 | 710 | 750 |
| Наибольшее расстояние от оси центров до кромки резцедержателя, мм | 185 | 175 | 175 |
| Расстояние от оси шпинделя до направляючих станины (высота центров), мм | 170 | 175 | 175 |
| Шпиндель | |||
| Диаметр отверстия в шпинделе, мм | 32,5 | 30 | 32 |
| Диаметр прутка проходящего через отверстие в шпинделе, мм | 32 | 25 | |
| Частота обертання шпинделя, об/мин | 35..1600 | 35,5..1800 | 40..2000 |
| Количество прямых/ обратных швидкостей шпинделя | 12 | 18 | 18 |
| Центр в шпинделе по ГОСТ 13214-67 | Морзе 5 | Морзе 5 | Морзе 5 |
| Кінець шпинделя по ГОСТ 12595-72 | 5К | 5К | |
| Торможение шпинделя | есть | есть | есть |
| Блокировка шпинделя | есть | есть | есть |
| Захист от перегрузок шпинделя | есть | есть | есть |
| Подачи | |||
| Наибольшая длина ходу суппорта (каретки) - продольное перемещение, мм | 640 | 710 | 710 |
| Наибольшее поперечное перемещение суппорта, мм | 200 | 230 | 230 |
| Продольное перемещение суппорта на одно деление лимба, мм | 0,2 | 0,1 | 0,1 |
| Поперечное перемещение суппорта на одно деление лимба, мм | 0,02 | 0,02 | 0,02 |
| Наибольшее перемещение верхнего суппорта (резцовых салазок), мм | 140 | 140 | 140 |
| Перемещение верхнего суппорта на одно деление лимба, мм | 0,02 | 0,02 | 0,02 |
| Количество подач продольных/ поперечных суппорта | 21 | 40 | |
| Пределы подач продольных, мм | 0,04..6 | 0,018..1,1 | 0,018..1,1 |
| Пределы подач поперечных, мм | 0,012..1,87 | 0,01..0,625 | 0,01..0,625 |
| Количество нарезаемых різьб метрических, мм | 22 | 35 | |
| Количество нарезаемых різьб модульных, мм | 19 | 31 | |
| Количество нарезаемых різьб дюймовых, мм | 15 | 26 | |
| Пределы шагов метрических резьб, мм | 0,35..12 | 0,1..56 | 0,1..56 |
| Межі кроків модульних різьблень, модуль | 0,3..6 | 0,1..28 | 0,1..28 |
| Межі кроків дюймових різьблень, ниток/дюйм | 20..3,0 | 30..3,0 | 60..3,0 |
| Швидкість швидких переміщень поздовжніх/поперечних, м/хв. | ні | ні | ні |
| Висота різця, що встановлюється в різцетримачі, мм | 20 | 20 | 20 |
| Задня бабка | |||
| Найбільше переміщення пінолі, мм | 100 | 100 | 100 |
| Ціна поділу лімба задньої бабки, мм | 1 | 0,05 | 0,05 |
| Центр у пінолі за ГОСТ 12595-72 | Морзе 3 | Морзе 3 | Морзе 3 |
| Поперечне зміщення задньої бабки, мм | ±5 | ±5 | ±5 |
| Діаметр свердла при свердлінні сталі, мм | 12 | ||
| Діаметр свердла при свердлінні чавуну, мм | 15 | ||
| Електроустаткування верстата | |||
| Кількість електродвигунів на верстаті | 3 | 3 | 4 |
| Потужність електродвигуна головного приводу, кВт | 4,5 | 2,7/ 4,4 | 3,2/ 5,3 |
| Потужність електродвигуна насоса охолодження, кВт | 0,125 | 0,12 | 0,12 |
| Потужність електродвигуна насоса мастила, кВт | 0,125 | 0,08 | 0,09 |
| Потужність електродвигуна вентилятора, кВт | ні | ні | 0,18 |
| Габарити та маса верстата | |||
| Габарити верстата (довжина ширина висота), мм | 2191 х 930 х 1500 | 2290 х 1150 х 1365 | 2110 х 1050 х 1395 |
| Маса верстата, кг | 1650 рік | 1670 рік | 1810 рік |
Каталог справочник токарно-винторезных верстатів
Паспорти та схеми до токарно-гвинторізних верстатів та обладнання
Купити каталог, довідник, базу даних: Прайс-лист інформаційних видань
Замовити
Хто володіє інформацією – той володіє світом.
Натан Ротшильд