Виробник токарно-гвинторізного верстата підвищеної точності 1Е61ПМ , 1Е61ВМ Ульянівський машинобудівний завод ім. Володарського багатопрофільне підприємство, що випускало патрони до нарізної стрілецької зброї, автомобільні свічки запалювання, верстати токарно-гвинторізні, вантажопідйомне обладнання, автоматичні роторні лінії, безконтактні пускачі, ланцюги пиляльні, тягові, приводні, роликові, ЗІП до сель.
Завод випускав універсальні токарно-гвинторізні верстати моделей: ТВ-01, ТВ-01М, 1Е61, 1Е61М, 1Е61МТ, 1Е61ВМ, 1Е61ПМ, С1Е61ВМ, С1Е61ПМ, УТ16ВМ, УТ16ПМ.
Токарні верстати моделей 1Е61ПМ , 1Е61ВМ створені на базі верстатів 1Е61М , 1Е61МТ і відносяться до класу легких токарних верстатів. Початок серійного випуску верстата 1Е61ПМ, 1Е61ВМ – 1975 рік.
Верстат токарно-гвинторізний моделі 1Е61ВМ є універсальним і призначений для виконання фінішних операцій при токарній обробці деталей високої точності та нарізування різних різьблень. Клас точності верстата - Ст.
Верстат токарно-гвинторізний моделі 1Е61ПМ є універсальним і призначений для виконання різних токарних та гвинторізних робіт. Клас точності верстата – П.
Токарно-гвинторізні верстати високої точності 1Е61ВМ та підвищеної точності 1Е61ПМ :
Привід верстата 1Е61ПМ здійснюється від індивідуального електродвигуна.
Від електродвигуна через клинопасову передачу рух передається редуктору . Від редуктора теж за допомогою клинопасової передачі обертання передається шпиндельній бабці , а потім через зубчасті передачі на шпиндель верстата . Межі частоти обертання шпинделя при положенні ручки 1:1 - 280...1800 об/хв, при положенні ручки 1:8 - 35,5...224 об/хв.
Різьблення нарізаються за допомогою коробки подач . Ланцюг подачі має ланку восьмиразового збільшення значення подач і кроків різьблення, розташоване на трензелі в шпиндельній бабці. Включно з ланкою збільшення кроку можна робити нарізку різьблення зі збільшеним кроком.
Крім того, є можливість нарізування різьблення шляхом з'єднання ходового ггвинта з гітарою і комплектом змінних зубчастиних коліс потрібної налаштування, минаючи ланцюг коробки подач. Тим самим створюється найкоротший гвинторізний ланцюг.
Фартух верстата 1Е61ПМ має механізм автоматичного відключення поздовжньої та поперечної подач при роботі з нерухомими упорами. Одночасно цей механізм захищає верстат від поломки під час навантаження.
Включення головного електродвигуна та вимкнення насоса мастила блоковані, що унеможливлює роботу шпиндельної бабки без мастила.
Підведення мастильно-охолоджувальної рідини в зону різання проводиться від електронасоса, включення якого здійснюється при необхідності рукояткою 10.
Реверсування головного руху – електричне, здійснюється рукояткою 22.
Гальмування обертання шпинделя здійснюється електромагнітною гальмівною муфтою, розташованої в редукторі.
Технологічні можливості верстата значно розширюються завдяки додатковим приладдям, що поставляються на особливе замовлення.
Б/с головний привід - безступінчастиний привід шпинделя на двигуні постійного струму або частоті тиристорному перетворювачі.

Габарити робочого простору токарного верстата 1е61пм

Фото токарно-гвинторізного верстата 1е61пм

Фото токарно-гвинторізного верстата 1е61пм

Фото токарно-гвинторізного верстата с1е61пм
Фото токарно-гвинторізного верстата с1е61пм. Дивитись у збільшеному масштабі

Фото токарно-гвинторізного верстата с1е61пм
Фото токарно-гвинторізного верстата с1е61пм. Дивитись у збільшеному масштабі

Фото токарно-гвинторізного верстата с1е61пм
Фото токарно-гвинторізного верстата с1е61пм. Дивитись у збільшеному масштабі

Розташування органів керування верстатом 1е61пм

Кінематична схема токарно-гвинторізного верстата 1е61пм
Схема кінематична токарно-гвинторізного верстата 1Е61ПМ, 1Е61ВМ. Дивитись у збільшеному масштабі
Привід руху різання состоит из двух клиноременных передач, шеcтиступінчастого редуктора і переборного пристроя.
Приводной вал I редуктора связан з двухскоростным електродвигуном мощностью 2,7/4,4 кВт клиноременной передачей через шкивы 2 і 3. Трехваловый редуктор имеет два двойных подвижных блока губчатых колес 5-4, 10-И і одно подвижное зубчатое колесо 6. Вал II получает вращение от вала I через зубчасті колеса 5-8, когда блок 5-4,(рис.5), сдвинут влево либо через губчатые колеса 4-7 при крайнем правом положении блока 5-4 или посредством зубчатых колес 6-9. В післяднем случае зубчатое колесо 6 вводится в зацепление з зубчатым колесом 9, а блок 5-4 устанавливается в среднее нейтральное положение: Двойной блок IO-II позволяет увеличить количество швидкостей на выходном валу III редуктора до 6.
Вращение от редуктора посредством клиноременной передачи через шкивы 12-13 і зубчасті колеса 14-15-16-17 сообщается шпинделю IV.
Нижний ряд чисел оборотів от 35,5 до 280 в минуту передається шпинделю через перебор.
Применяемый двухскоростной електродвигатель позволяет изменить нижний і верхний ряд чисел оборотів і получить 24 скорости обертання шпинделя. Вследствие совпадения шести швидкостей шпиндель имеет 18 различных швидкостей обертання (см. табл. 3).
Рух подачі суппорта передається от шпинделя. Вал VII получает вращение через зубчасті колеса 21-22-23-24. Подвижное зубчатое колесо 23, расположенное на валу VI, служит для изменения направления переміщення суппорта. При смещении зубчатого колеса влево вал VII получает вращение от блока 26-27, минуя промежуточное зубчатое колесо 24.
Для подачі суппорта сменные зубчасті колеса a, b, c, d устанавливаются так, как показано на кінематичної схеме, і вал IX приводится в рух от вала VII. Дальше рух передається через зубчасті колеса 28-33-37-39 на промежуточный вал XI. Выходной вал ХII і связанный з ним предохранительной муфтой ходовой валик XV получают вращение через зубчасті колеса 40-43 или 41-44.
Ходовой валик XV передает вращение посредcтвом червячной пары 49-50 валу XVI, на післяднем установлены зубчасті колеса 51-52-53-54 планетарного механізма. Через планетарный механізм вращение передається на вал XVII, затем, через зубчасті колеса 55-56-57-58 передається рух на рейку. Таким образом, супорт получает продольную подачу.
Поперечная подача осуществляется ходовым винтом XIX, который получает вращение от вала XVI через зубчасті передачи 51-52-53-54 і 55-60.
Для нарізання різьби з шагом до 7-ми движение, как і при подаче суппорта, заимствуется от шпинделя верстата. Резьбы з более крупным шагом нарезаются з использованием звена увеличения шага при включенном переборе. Для етого зубчатое колесо 22 вводят в зацепление з зубчатым колесом 20.
Для нарізання різьб минуя множительный механізм коробки подач, ходовой винт XIV соединяется посредством муфты 32 напрямую з гитарой.
Для нарізання метрической, дюймовой і модульной різьб сменные зубчасті колеса а, в, c, d гітари (см. табл. 6) устанавливаются так, как указано в табл. 15, 16.
Станина верстата коробчатой формы з диагональными ребрами имеет три призматические і одну плоскую направляющие.
Передня і задня направляющие служат для переміщення каретки, а средние для задньої бабки. Передня призматическая направляющая по сравнению з задньої увеличена, что позволяет повысить износостойкость і дольше сохранить точность верстата.
Монолитная тумба служит для установки станины. В левой частини тумбы расположены редуктор і бак для масла централизованной змазки шпиндельной бабки.
В средней частини тумбы установлен електродвигатель головного руху; в правой частини - бак з отстойником для емульсии і насос системы охлаждения.
В шпиндельной бабке расположены перебор і трензель. Перебор позволяет в восемь раз уменьшить число оборотів шпинделя, а трензель служит для реверсирования і при работе з перебором, восьмикратного увеличения подач і шагов резьб.
Шпиндель верстата установлен на двух опорах: передняя - подшипник двухрядный, роликовый; задня - радиально-упорный і упорный шарикопідшипники (см. рис. 20).
Осевые нагрузки воспринимаются радиально-упорным і упорным шарикопідшипниками.
Во избежание потери точності, выбивание оснастки из инструментального конуса недопустимо.
Приемный шкив расположен в корпусе бабки на двух шарикопідшипниках і таким образом шпиндель разгружен от натяжения клиновых ремней.
Крепление задньої бабки к станине осуществляется рукояткой 20 (см. рис. 2) через ексцентриковый зажим, тягу і прихват. Поперечное смещение корпуса задньої бабки по плите осуществляется гвинтами 26.

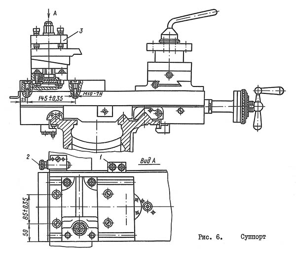
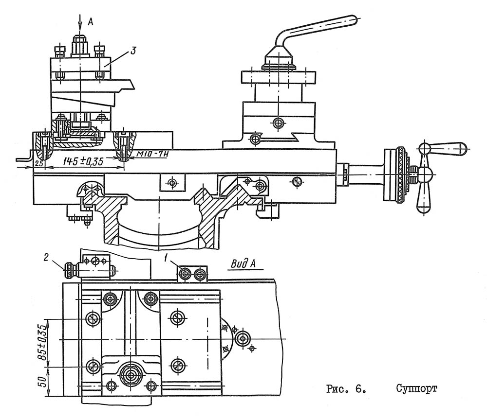
Суппорт токарно-гвинторізного верстата с1е61пм
Суппорт токарно-гвинторізного верстата с1е61пм. Дивитись у збільшеному масштабі
Верхня часть суппорта, несущая на себе восьмипозиционный резцедержатель з гнездами для четырех резцов, имеет независимое продольное перемещение і може поворачиваться на 360°.
На каретке установлены упоры 2 (рис. 6). Для осуществления точной налаштування, к верстатам 1В61ВМ, С1В61ВМ, прикладывается дополнительный сменный упор I, позволяющий производить установку индикатора.
Поставляемый по особому заказу резцедержатель 3 устанавливается на поперечных салазках.
Конструкція фартука передбачає возможность роботи по упорам. Для етого имеется предохранительный механізм, натяжение пружины которого производится в зависимости от сопротивления при резании (см. рис. 24). Когда каретка дойдет до упора, ролик предохранительного механізма выжимается из паза звездочки, тем самым отключается рабочий ход каретки или поперечных салазок. Понаступні увімкнення подач производятся поворотом рукоятки увімкнення подач.
В фартуке предусмотрено блокирующее пристрій, препятствующее одновременному включению подач от ходового гвинта і ходового валика. При нарезании різьб маховик 27 (см. рис. 2) може отключаться кнопкой, расположенной на его оси.
Коробка подач получает рух от шпинделя, механізма трензеля і сменных зубчатых колес гитар.
Налаштування верстата на различные шаги нарезаемых різьб може осуществляться через механізм коробки подач, а также напрямую, минуя его.
В таблицах, помещенных на передньої стенке шпиндельной бабки і на коробке подач, указаны все возможные величины продольных і поперечных подач, также шаги резьб, получаемые при помощи механізма коробки подач і соответствующих настроек гітари (см. табл. 15,16).
На кожухе, закрывающем гітару, помещена табл. 17 настроек на різьби, получаемые напрямую при соответствующих налаштуваннях гітари.
При нарезании різьб напрямую рукоятка 3, (рис. 2) расположенная на панелі коробки подач, ставится в положение У, рукоятка 2 - в положение П, а рукоятка 4 може мати произвольное положение.
Редуктор, имеющий шесть ступеней чисел оборотів, крепится на раме, закрепленной на задньої стенке тумбы.
Редуктор имеет возможность перемещаться в вертикальном направлении для осуществления натяжения клиновых ремней передающих рух от редуктора к шпинделю (см. рис. 18).
Вращение на входной вал редуктора передається через клиноременную передачу от двухскоростного електродвигуна.
Натяжение ремней осуществляется путем переміщення в горизонтальном направлении електродвигуна (см. рас. 19).
Переключення частот обертання шпинделя осуществляется рукояткой I (см. рис. 2). Переключатель 9 служит для изменения числа оборотів електродвигуна, а рукоятка 5 - для увімкнення перебора шпиндельной бабки.
При перемещении рукоятки I "на себя" і післядующем повороте її в вертикальной плоскости (три фиксированных положения) получим частоту обертання шпинделя, указанную в нижних строчках таблицы (см. рис.4), а при перемещении рукоятки I (рис.2) "от себя" і повороте її в вертикальной плоскости (три фиксированных положения) получим частоту обертання шпинделя, указанную в верхних строчках таблицы.
В верхних строчках горизонтальных колонок таблицы указана частота обертання шпинделя без перебора, а в нижних строчках - з перебором.
В средней горизонтальной колонке таблицы указана частота обертання електродвигуна.
Охлаждающая жидкость из емульсионного бака в зону різання подается електронасосом з подачей 22 л/мин. Электронасос включается по мере надобности рукояткой 10 (см. рис 2).
ВНИМАНИЕ! ТОЛЬКО ДЛЯ СТАНКОВ CIE6IBM И С1Е61ПМ
ПРИ НАРЕЗАНИИ "ЛЕВЫХ" РЕЗЬБ И ТОЧЕНИИ С ПОДАЧЕЙ ОТ ПЕРЕДНЕЙ БАБКИ НА АВТОМАТИЧЕСКОМ РЕЖИМЕ ТУМБЛЕР 24(СМ.РИС. 7) УСТАНОВИТЬ В ПОЛОЖЕНИЕ "А", А КОНЕЧНЫЕ ВЫКЛЮЧАТЕЛИ 16 И 20 НЕОБХОДИМО ПОМЕНЯТЬ МЕСТАМИ. ПРИ НАРЕЗАНИИ "ЛЕВЫХ" РЕЗЬБ И ТОЧЕНИИ С ПОДАЧЕЙ ОТ ПЕРЕДНЕЙ БАБКИ НА РУЧНОМ РЕЖИМЕ (ТУМБЛЕР 24 В ПОЛОЖЕНИИ ("Б") КОНЕЧНЫЕ. ВЫКЛЮЧАТЕЛИ 16 И 20 НЕ ЯВЛЯЮТСЯ БЛОКИРОВОЧНЫМИ, ЕСЛИ ОНИ НАХОДЯТСЯ В ПОЛОЖЕНИИ, УКАЗАННОМ НА РИС. 7.
ПРИ РАБОТЕ В РЕЖИМЕ ЭЛЕКТРИЧЕСКОЙ БЛОКИРОВКИ ТУМБЛЕР 24 УСТАНОВИТЕ В ПОЛОЖЕНИЕ "Б".
ПРИ ЭТОМ В ЦЕЛЯХ ПРЕДОХРАНЕНИЯ ФАРТУКА ОТ ПОЛОМОК КОНЕЧНЫЕ ВЫКЛЮЧАТЕЛИ 16 И 20 УСТАНОВИТЕ НА РАССТОЯНИЕ 30 ММ ОТ КОНТРОЛЬНЫХ ШТРИХОВ, НАНЕСЕННЫХ НА ШТАНГЕ 21.
При установці верстат должен быть надежно заземлен і подключен к общей системе заземления. Для етой цели на нижней частини заднего основания тумбы имеются болты заземления 18 (см. рис. 7).
В процессе експлуатации верстата возникает необходимость в регулировании окремих складових частин верстата з целью восстановления их нормальной роботи.
Регулювання натяжения ремней, передающих рух от редуктора шпинделю, производится следующим образом: открыть заднюю крышку, расположенную на левой частини тумбы, затем ослабить четыре гвинта I (рис. 18) після чего гайками 2 опустить редуктор на величину необходимого натяга. Обеспечив нормальное натяжение ремней, винты I завернуть до упора.
При ослаблении клиновых ремней, передающих рух от електродвигуна к редуктору, нужно открыть крышку, расположенную на задньої стенке тумбы, освободить винты 2 (рис. 19) крепления електродвигуна, повернуть винты I після чего закрепить електродвигатель гвинтами 2 і поставить крышку на место.

Регулювання підшибників шпинделя верстата с1е61пм
Регулювання переднего двухрядного роликового підшипника I (рис. 20) производится следующим образом:
Таким образом, внутреннее кольцо підшипника, надвигаясь на конусную шейку шпинделя, несколько раздается і тем самым устраняет радиальный зазор.
Задня шейка шпинделя вращается в шариковом радиально-упорном подшипнике 6 (рис. 20), работающем в паре з упорным шарикоподшипником 7. Для предварительного натяга радиально-упорного підшипника з целью устранения радиального і осьового зазору служит гайка 4 і стопорный винт 5. При етом шпиндель должен легко повертываться вручную при выключенном переборе.
Шпиндель токарно-гвинторізного верстата 1е61пм смонтирован на 3-х підшипниках:
Подшипник 3182114 - ето двухрядный роликовый радиальный подшипник, з короткими цилиндрическими роликами, з безбортовым наружным кольцом (вследствие чего комплект тел качения на сепараторе способен перемещаться і создавать «плавающую» опору), з коническим посадочным отверстием (1:12), канавкой і отверстиями для внесения смазочного материала. Основное место експлуатации таких підшибників — верстати различного применения, вузли где действуют высокие радиальные нагрузки і скорости. Этот типоразмер, как і большинство роликопідшибників етой серии производится в настоящее время только высокоточным.
Подшипник всегда выпускался на московском ГПЗ-1, сейчас же его производство переводят в Волжский, на филиал Завода Авиационных Подшипников при 15 ГПЗ (все заводы объединены под егидой Европейской Подшипниковой Корпорации). В настоящее время изготавливается модификация 4-3182114К. Раньше же их было значительно больше. Буква К означает наличие кольцевой проточки і трех отверстий для внесения змазки, Е — полиамидный сепаратор. Купить новые підшипники з гарантией качества можно только у официальных представителей ЕПК (ориентировочная цена — около 4800 рублей), зато в фирмах, занимающихся неликвидами можно купить дешевле, і те модификации, которые уже не выпускают, однако, так как підшипники ети по большей частини, высокоточные, нужно мати уверенность, что изделие просто долго хранилось на складе, а не было очищено ото ржавчины или было в експлуатации.
Импортные підшипники етого типоразмера имеют обозначение NN3014K (наличие буквы К в номере обязательно, так как она указывает на коническую посадку). В Россию поставляется продукция разной ценовой категории: наиболее дорогие і надежные — FAG, SKF, IBC, подешевле — NACHI. Еще более дешевый варіант — продукция восточно-европейских производителей — ZKL (Чехия) і FLT (Польша), которая чаще всего реализуется неликвидного качества, иногда даже уже бывшая в употреблении, производства 80-ых годов прошлого века. Ориентировочная цена наиболее качественных і дорогих импортных підшибників етого типа составляет около 300 — 305 евро (бюджетный варіант, например, NACHI — до 150 евро при покупке напрямую), они как есть на складах компаний, расположенных в Москве, Санкт-Петербурге і некоторых других крупных городах, так і поставляются под заказ.

Схема підшипника 3182114 (NN3014K) токарного верстата 1е61пм

Фото підшипника 3182114 (NN3014K)
Подшипник 8110 - ето упорный шариковый одинарный применяется в вузлах з осевой нагрузкой і невысокими оборотами. При монтаже следует учитывать, что одно из колец, которое надевается на вал, имеет диаметр на 1 миллиметр меньше, чем то, которое идет в корпус. Несоосность посадочных мест допускать нельзя!
В Российской Федерации производятся на СПЗ-4 (Самара) і ГПЗ-2 (Москва), еще один завод — Курский их уже не выпускает. Иная маркировка вероятнее всего означает что подшипник сделан в Китае і никакой гарантии качества нет.
Подшипник 8110 находит применение в различных центрифугах, редукторах, опорах, домкратах і прочих механізмах. Устанавливается в наступні вузли распространенной в нашей стране автотехники:
Підшипники импортного производства (а также китайские і ГПЗ-2) имеют обозначение 51110.

Схема підшипника 8110 (51110) токарного верстата 1е61пм

Фото підшипника 8110 (51110)
Подшипник 46209 - ето шариковый радиально-упорный однорядный подшипник основного конструктивного исполнения. Предназначен для восприятия обоих типов нагрузок, действующих в вузлах механізмов — і радиального, і осьового.
Данный тип очень редко выпускается на лидирующем заводе по производству радиально-упорных підшибників — 3 ГПЗ і только в виде модификации 6-46209Л. Підшипники высоких степеней точності можно купить только з хранения. Также данный тип (той же степени точності) може Вам встретиться производства 20 ГПЗ (Курск) і СПЗ-4 (Самара). Но качество продукции етих заводов не такое хорошее.
Помимо высокоточного оборудования і верстатів (большая часть которых, к сожалению, уже практически не используятся современной отечественной промышленностью), підшипники данного типа применяются в автотехнике, например данный тип установлен на задний мост грузового автомобиля ЗИЛ-133.
Импортные підшипники етого типа имеют маркировку 7209A. Сепаратор из латуни в номере отражается наличием буквы М, из полиамида — буквы D.

Схема підшипника 46209 (7209A) токарного верстата 1е61пм
Регулювання клина салазок обеспечивается подкатаем клина 3 путем ослабления ванта 1 ( рис.21 ) і поворота гвинта 2. Поворотом рукоятки поперечного гвинта проверить плавность ходу салазок. После чего винт 1 завернуть до упора.
Зазор в направляючих верхних салазок выбирается поворотом гвинта 1 (рис. 22), который своим буртиком входит в паз клина 2.
Мертвый ход гвинта поперечного переміщення суппорта, возникающий при износе гайки, може быть выбран посредством компенсатора 2 (рис. 23). Для етого следует отпустить левую гайку 1, а правой гайкой 1 выбрать осевой зазор в винтовой паре, обеспечив свободное вращение гвинта от руки, левую гайку 1 затянуть.
Регулювання величины выключающего зусилля при работе по жестким упорам производится з помощью рукоятки 16 (см. рис. 2), связанной з ексцентриковым пальцем.
Предварительная налаштування пружины (при сборке і ремонтах) осуществляется з помощью гаек (рис. 24).
В случае разборки верстата нужно мати в виду следующее:
чтобы вынуть шкив со ступицей, необходимо:
Разборка остальных сборочных единиц верстата ввиду ясности демонтажу пояснения не требует.
Схема розположення підшибників приведена на рис. 25, а их перечень в табл. 13.
Основні параметри согласно ГОСТ 440-71.
| Наименование параметра | 1Е61МТ | 1Е61ПМ | УТ61ПМ |
|---|---|---|---|
| Основні параметри верстата | |||
| Класс точності по ГОСТ 8-82 | В | П | П |
| Наибольший диаметр заготовки обрабатываемой над станиной, мм | 320 | 320 | 320 |
| Наибольший диаметр заготовки обрабатываемой над суппортом, мм | 188 | 170 | 170 |
| Наибольшая длина устанавливаемой детали РМЦ, мм | 710 | 710 | 750 |
| Наибольшее расстояние от оси центров до кромки резцедержателя, мм | 185 | 175 | 175 |
| Расстояние от оси шпинделя до направляючих станины (высота центров), мм | 170 | 175 | 175 |
| Шпиндель | |||
| Диаметр отверстия в шпинделе, мм | 32,5 | 30 | 32 |
| Диаметр прутка проходящего через отверстие в шпинделе, мм | 32 | 25 | |
| Частота обертання шпинделя, об/мин | 35..1600 | 35,5..1800 | 40..2000 |
| Количество прямых/ обратных швидкостей шпинделя | 12 | 18 | 18 |
| Центр в шпинделе по ГОСТ 13214-67 | Морзе 5 | Морзе 5 | Морзе 5 |
| Кінець шпинделя по ГОСТ 12595-72 | 5К | 5К | |
| Торможение шпинделя | есть | есть | есть |
| Блокировка шпинделя | есть | есть | есть |
| Захист от перегрузок шпинделя | есть | есть | есть |
| Подачи | |||
| Наибольшая длина ходу суппорта (каретки) - продольное перемещение, мм | 640 | 710 | 710 |
| Наибольшее поперечное перемещение суппорта, мм | 200 | 230 | 230 |
| Продольное перемещение суппорта на одно деление лимба, мм | 0,2 | 0,1 | 0,1 |
| Поперечное перемещение суппорта на одно деление лимба, мм | 0,02 | 0,02 | 0,02 |
| Наибольшее перемещение верхнего суппорта (резцовых салазок), мм | 140 | 140 | 140 |
| Перемещение верхнего суппорта на одно деление лимба, мм | 0,02 | 0,02 | 0,02 |
| Количество подач продольных/ поперечных суппорта | 21 | 40 | |
| Пределы подач продольных, мм | 0,04..6 | 0,018..1,1 | 0,018..1,1 |
| Пределы подач поперечных, мм | 0,012..1,87 | 0,01..0,625 | 0,01..0,625 |
| Количество нарезаемых різьб метрических, мм | 22 | 35 | |
| Количество нарезаемых різьб модульных, мм | 19 | 31 | |
| Количество нарезаемых різьб дюймовых, мм | 15 | 26 | |
| Пределы шагов метрических резьб, мм | 0,35..12 | 0,1..56 | 0,1..56 |
| Пределы шагов модульных резьб, модуль | 0,3..6 | 0,1..28 | 0,1..28 |
| Пределы шагов дюймовых резьб, ниток/дюйм | 20..3,0 | 30..3,0 | 60..3,0 |
| Скорость быстрых перемещений продольных/ поперечных, м/мин | нет | нет | нет |
| Высота резца, устанавливаемого в резцедержателе, мм | 20 | 20 | 20 |
| Задня бабка | |||
| Наибольшее перемещение пиноли, мм | 100 | 100 | 100 |
| Цена деления лимба задньої бабки, мм | 1 | 0,05 | 0,05 |
| Центр в пиноли по ГОСТ 12595-72 | Морзе 3 | Морзе 3 | Морзе 3 |
| Поперечное смещение задньої бабки, мм | ±5 | ±5 | ±5 |
| Диаметр сверла при сверлении стали, мм | 12 | ||
| Диаметр сверла при сверлении чугуна, мм | 15 | ||
| Електроустаткування верстата | |||
| Количество електродвигателей на станке | 3 | 3 | 4 |
| Мощность електродвигуна головного привода, кВт | 4,5 | 2,7/ 4,4 | 3,2/ 5,3 |
| Мощность електродвигуна насоса охлаждения, кВт | 0,125 | 0,12 | 0,12 |
| Мощность електродвигуна насоса змазки, кВт | 0,125 | 0,08 | 0,09 |
| Мощность електродвигуна вентилятора, кВт | нет | нет | 0,18 |
| Габарити і масса верстата | |||
| Габарити верстата (длина ширина высота), мм | 2191 х 930 х 1500 | 2290 х 1150 х 1365 | 2110 х 1050 х 1395 |
| Масса верстата, кг | 1650 | 1670 | 1810 |
Каталог справочник токарно-винторезных верстатів
Паспорти та схеми до токарно-гвинторізних верстатів та обладнання
Купити каталог, довідник, базу даних: Прайс-лист інформаційних видань
1Е61ПМ, 1Е61ВМ, С1В61ПМ, С1В61ВМ верстат токарно-гвинторізний: - паспорт, (pdf) 24,9 Мб, Скачать
Замовити
Хто володіє інформацією – той володіє світом.
Натан Ротшильд