Виробником токарного верстата поздовжнього точення 1М10ДА є Ленінградський завод верстатів-автоматів (ЛЗСА), заснований у 1927 році.
З 1984 року завод ЛЗСА входить до Об'єднання прецизійного верстатобудування з 1993 року входить до Санкт-Петербурзький Завод прецизійного верстатобудування.
Одношпиндельний прутковий автомат поздовжнього точення моделі 1М10ДА призначений для обробки деталей типу тіл обертання складної конфігурації діаметром до 10 мм і довжиною до 80 мм із холоднотягнутого каліброваного прутка.
Автомат 1М10ДА призначений для великосерійного та масового виробництва деталей годинникової, точної приладобудівної та радіоелектронної промисловості.
Використання додаткових пристроїв на автоматі 1М10ДА та застосування різних модифікацій автомата:
Вигляд кліматичного виконання для внутрішньосоюзних поставок - УХ Л 4.1 за ГОСТ 15150-69.
Клас точності автомата «А» та ГОСТ 8—82.
Точність обробки деталей залежить від точності прутка, що обробляється. Для отримання точності за діаметрами 0,005...0,008 мм і за довжинами до 0,015 мм необхідно застосовувати прутки але 1 класу точності ГОСТ 14955-77. Шорсткість оброблених діаметрів не більше Ra 0,8 мкм.
За узгодженням автомат може поставлятися налагодженим на деталь замовника.
До автомата 1М10ТА можуть постачатися такі пристрої:
Автомат 1М10ДА дозволяє проводити такі операції: свердління та розточування отворів, нарізування різьблення, розсвердлювання з боку відрізки, фрезерування шліців, поперечне свердління отворів, що координуються по кутку, та інші операції.
Поздовжнє переміщення шпиндельної бабки разом з прутком, що обробляється, і поперечне переміщення супортів, розташованих радіально, дозволяють здійснювати будь-яку комбінацію відносних рухів, необхідну для отримання тіл обертання при точенні простими різцями.
Розташування різального інструменту в безпосередній близькості до люнета, що спрямовує пруток, зводить до мінімуму можливі вібрації та віджимання оброблюваних деталей, що забезпечує високу точність обробки. Регулювання відстані від ріжучої кромки інструменту до осі виробу виробляється мікрометричними пристроями з точністю:
Автомат експлуатується із застосуванням автоматичного централізованого мастила періодичної дії.
При узгодженні в установленому порядку автомат може поставлятися налагодженим на деталь замовника.
Умови експлуатації автомата — УХЛ 4.1 згідно з ГОСТ 15150—69.
Точність обробки деталей у виробничих умовах: діаметрами 0,005—0,08 мм, довжиною — до 0,015 мм, при шорсткості оброблених діаметрів Ra 0,8.
Синоніми: автомати токарні поздовжнього точення швейцарського типу, automatic Swiss lathe.

Принцип роботи токарного автомата поздовжнього точення
Відмінною особливістю автоматів поздовжнього точення (рис. 74) є те, що пруток в них крім обертального руху має разом зі шпиндельною бабкою 6 поздовжнє поступальне переміщення Sпрод. Усі супорти автомата, яких може бути чотири або п'ять, розташовані віялоподібно навколо оброблюваного дроту (див. рис. 37). Вони мають лише поперечне переміщення Sпоп. При одночасному узгодженому переміщенні шпиндельної бабки з прутком та поперечних супортів на цих автоматах можна без застосування фасонних різців обробляти конічні та фасонні поверхні.
Вертикальні супорти 2, 3 та 5 розташовані на спеціальній стійці, мають прямолінійне переміщення та управляються від самостійних кулачків розподільчого валу. Два горизонтальні супорти 1 і 9 розташовані на балансирі 10, мають коливальний рух навколо осі 11 і управляються обидва від одного кулачка 12.
У стійці, на якій розташовані вертикальні супорти, встановлений нерухомий люнет 4, що є додатковою передньою опорою для прутка. Усі супорти з різцями розташовуються у безпосередній близькості від люнета, у результаті плече l, у якому діє сила різання PZ, виходить дуже маленьким. Сила різання тут сприймається в основному люнетом, а прогин прутка від неї через мало l виходить дуже незначним. Завдяки цьому на автоматах поздовжнього точення можна обробляти з дуже високою точністю досить довгі заготовки, що мають невеликий діаметр.
З правого кінця пруток постійно підтискається штовхачем 8 під дією вантажу 7 для утримання його у передньому положенні при відході шпиндельної бабки назад.
Шпиндель в автоматах поздовжнього точення завжди обертається в один бік і має ліве обертання за стрілкою А. Тому нарізання правого різьблення на них здійснюється методом обгону.

Схема обробки заготовки на токарномуу автоматі поздовжнього точення
Схема обробки заготовки на токарномуу автоматі поздовжнього . Дивитись у збільшеному масштабі
На рис. 75 показана обробка типовой заготівлі на автоматі поздовжнього точення. Обробка здійснюється шляхом послідовного чергування (позиції I-XIII) поздовжнього переміщення шпиндельної бабки з прутком та поперечних переміщень різців. Тільки на XIII позиції відрізка виготовленої деталі проводиться при одночасному переміщенні прутка з бабкою та відрізного різця.
Короткі заготовки обробляють без люнета поблизу передньої опори шпинделя. При обробці заготовок з квадратного і шестигранного прутків застосовують люнет, що обертається. Застосування на автоматах спеціальних пристроїв дозволяє розширити їх технологічні можливості та виконувати додаткові операції (нарізання різьблення, свердління отворів, фрезерування шліцьових пазів.
Недоліком розглянутого принципу роботи автоматів поздовжнього точення є підвищене зношування люнета і направляючих шпиндельної бабки. Внаслідок цього порушується їхня співвісність, а отже, знижується і точність обробки.
Приклад позначення одношпиндельних автоматів та напівавтоматів: 1Б140, 1Е140, 1П140, 1Г140П, 1І125П, 1І140П, 1І165П.

Габаритні розміри робочого простору верстата 1М10ДА

Посадочні та приєднувальні розміри шпинделя верстата верстата 1М10ДА

Установчі розміри кулачків верстата 1М10ДА
Установочні розміри кулачків токар0 . Дивитись у збільшеному масштабі

Фото токарного верстата поздовжнього точення 1М10ТА

Фото токарного верстата поздовжнього точення 1М10ТА

Фото токарного верстата поздовжнього точення 1М10ТА
Фото токарного верстата поздовжнього точення 1М10 Дивитись у збільшеному масштабі

Фото токарного верстата поздовжнього точення 1М10ТА

Розташування складових частинин токарного верстата 1М10ДА
Розташування органів керування токарним верстатом 1М10ДА
Розташування органів керування токарним верстатом1 . Дивитись у збільшеному масштабі

Кінематична схема верстата 1М10ТА
Кінематична схема верстата поздовжнього точення 1М10. Дивитись у збільшеному масштабі

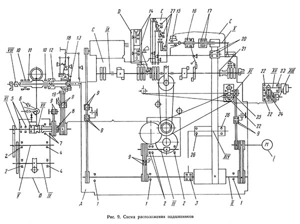
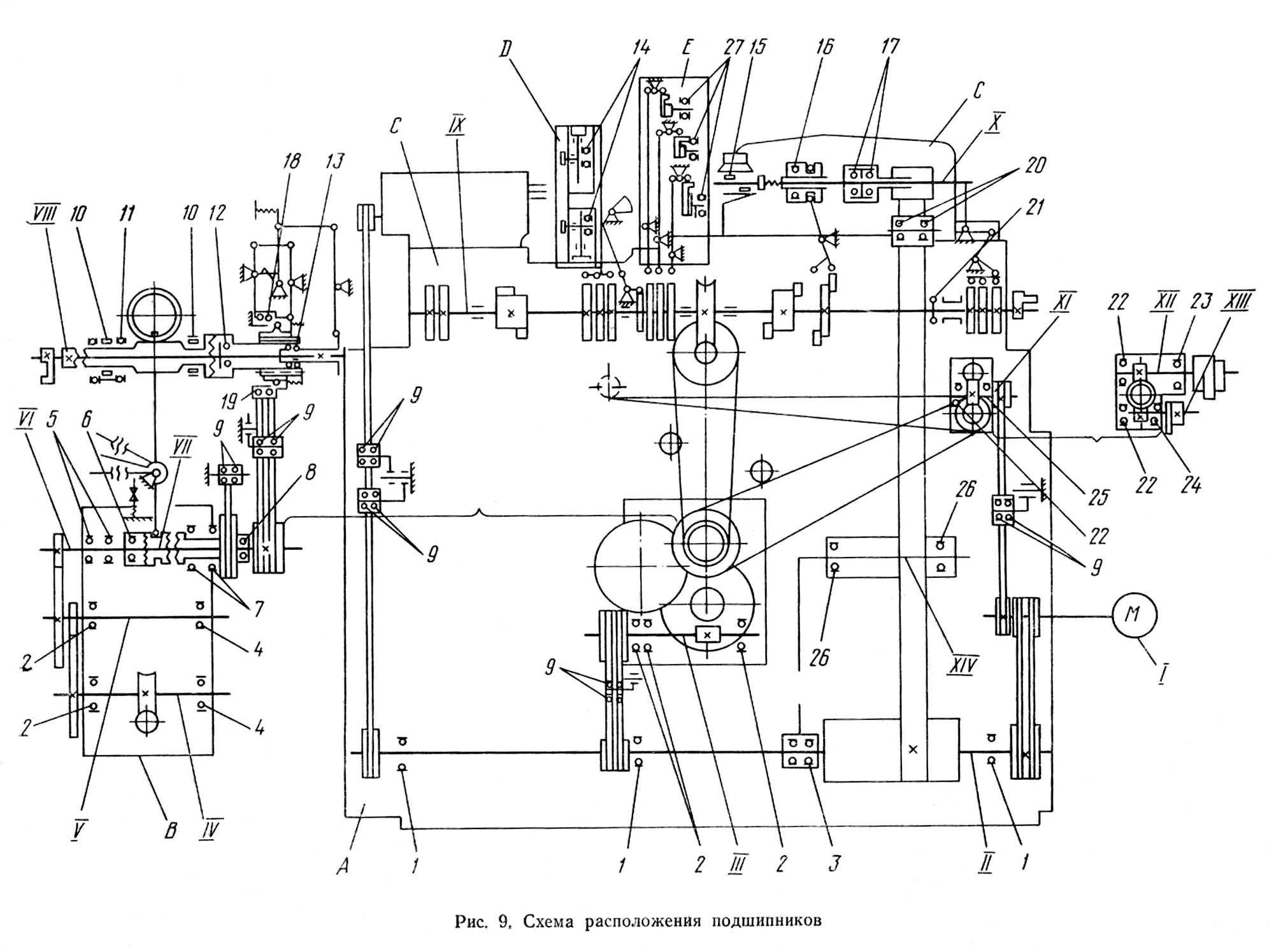
Схема розташування підшипників верстата 1М10ТА
Схема розташування підшипників верстата продоль. Дивитись у збільшеному масштабі
Поздовжнє переміщення шпиндельної бабки разом з прутком, що обробляється, і поперечне переміщення супортів, розташованих радіально, дозволяють здійснювати будь-яку комбінацію відносних рухів, необхідну для отримання тіл обертання при точенні простими різцями перетином 10х10.
Розташування різального інструменту в безпосередній близькості до люнета, що спрямовує пруток, зводить до мінімуму можливі вібрації та віджимання оброблюваних деталей, що забезпечує високу точність обробки. Регулювання відстані від ріжучої кромки інструменту до осі виробу виробляється проводиться мікрометричними пристроями. Автомат експлуатується із застосуванням автоматичного централізованого мастила періодичної дії.
Автомат (рис. 6) має традиційне компонування кулачкових автоматів подібного типу з розташуванням шпиндельної бабки праворуч. Електрошафа розташована в окремому відсіку основи.
Станція централізованої системи мастила є складовою автомата.
Розташування органів керування показано на рис. 7.
Кінематична схема автомата (рис. 8) складається з ланцюга приводу головного шпинделя, ланцюга приводу розподільного валу при робочому ході, ланцюга приводу розподільчого валу при швидкому ході, ланцюга приводу насоса та ланцюга приводу пристроїв.
Шпиндель рухається від електродвигуна М, встановленого на кронштейні з рухомою плитою, розташованому позаду основи верстата.
Від електродвигуна обертання передається на головний вал II через клинопасову передачу зі змінними шківами А і Б.
З головного валу плоскочасною передачею рух передається безпосередньо на шпиндель X автомата. Наявність змінних шківів дає можливість отримувати двадцять чотири частоти обертання шпинделя від 900 до 12 500 об/хв.
Розподільний вал рухається від того ж електродвигуна М.
Обертання з головного валу II через клинопасову передачу передається валу III коробки передач, а через черв'ячну передачу і змінні шестерні В, Г, Д, Е - на вал VI; при включенні муфти вала VI в ліве положення рух з валу через клинопасову передачу і черв'ячну пару передається на розподільний вал IX.
Шляхом заміни змінних шестерень на автоматі можна отримати до сорока частот обертання розподільчого валу на одну частоту обертання шпинделя (див. таблицю продуктивності).
Обертання з валу електродвигуна М через клинопасову передачу приводу насоса охолодження передається валу XIII редуктора швидкого ходу, і далі через клинопасову передачу отримує обертання вал VI. Муфта переходить у праве положення, і далі рух відбувається як при робочому ході.
Насос системи охолодження приводиться у обертання від електродвигуна М через клинопасову передачу та гвинтові пари валів XI, XII.
Привід пристроїв здійснюється ремінними передачами з валу II на відповідні шківи пристроїв.
Підставою (рис. 10) служить литої коробчастої форми корпус. На верхні платики основи встановлюється станина. Усередині основи на трьох опорах встановлений головний вал 8, на якому змонтовані шківи: приводу вала від електродвигуна 16, редуктора приводу подач 6, приводу шпинделя 2 і приводу пристосувань 11.
Натяг ременя приводу шпинделя і одночасний контроль ослаблення або обриву ременя здійснюються від натяжних роликів, встановлених на важелі 3. Важіль 3, повертаючись під дією пружини, через важіль 14 і систему тяг блокувань виробляє вимикання розподільного валу та електродвигуна. Всередині до задньої стінки основи кріпиться коробка подач 13. У лівій частинині основи розташований бак для рідини, що охолоджує. У верхній частинині основа має корито для збирання охолоджуючої рідини та стружки.
Зовні основи встановлено кронштейн, на якому на рухомій плиті змонтовано електродвигун. Угорі встановлений редуктор швидкого ходу, що одночасно виконує функцію приводу насоса. Привід редуктора здійснюється електродвигуном. Ланцюг приводу насоса 5 (рис. 11) - гвинтова пара коліс 1, 2; ланцюг приводу швидкого ходу - гвинтова пара 2, 3 і шків 4, що передає обертання коробці подач.
Станина та розподільчий вал верстата 1М10ДА
Станина та розподільчий вал верстата поздовжнього . Дивитись у збільшеному масштабі

Станина та розподільчий вал верстата 1М10ДА (вид збоку)
Станина та розподільний вал верстата поздовжнього . Дивитись у збільшеному масштабі
Станина встановлюється на базові площини основи та жорстко кріпиться болтами. На корпусі станини кріпляться всі основні та допоміжні вузли. У верхній частинині станина має напрямні для переміщення шпиндельної бабки.
На середньому платику станини встановлюється супортна стійка. На спеціальному майданчику встановлюються додаткові пристрої. З заднього боку розташований розподільний вал 17 (рис. 12).
На розподільчому валу встановлюються: дискові кулачки Р подачі шпиндельної бабки; барабан 11 з кулачками 10 і 12, керуючими розтисканням та затискачем цанги; барабан 15 з кулачками 14 і 16, керуючими включенням та вимкненням швидкого ходу розподільчого валу; кулачки вертикальних супортів Д, кулачок уловлювача Ж; кулачки балансира І та кулачки, що керують роботою пристроїв. Клинопасовий шків 27 (рис. 13), що приводиться в рух від коробки подач, передає обертання на запобіжні муфти 26, 25 і муфту 28 з торцевим зубом.
При розчепленні муфти 28 та зчеплення муфти 31 стає можливим ручне обертання розподільчого валу рукояткою 18.
В автоматі передбачено важільно-ножеву систему блокування для одночасного відключення автоматичного обертання розподільчого валу та електродвигуна при аварійних станах.
Пальці 39 (рис. 14) замикаються зусиллям, створюваним пружиною 33.
Увага! Запобіжна перевантажувальна муфта налаштована заводом на швидкості обертання розподільчого валу до 6 об/хв. При експлуатації автомата на великих швидкостях провести регулювання муфти гайкою 24 (див. мал. 13), при цьому важільно-ножева система блокування не повинна спрацьовувати.

Шпиндельна бабка верстата 1М10ТА
Шпиндельна бабка верстата поздовжнього точення 1М1 Дивитись у збільшеному масштабі
Шпиндельна бабка (рис. 16) призначена для затиску та повідомлення оброблюваного матеріалу обертального руху та поздовжньої подачі. Поздовжня подача бабки здійснюється дисковим кулачком через систему важелів, повернення у вихідне положення - пружиною 22.
Обертання шпинделя 23 передається від головного валу автомата через шків 21 плоскочасною передачею. Шпиндель змонтований на двох опорах: передня - спеціальний голковий підшипник кочення 11; задня — два радіально-упорні шарикопідшипники 20. Затискач і розтискання матеріалу проводиться цангою 7 за допомогою важелів 3, 5 і 14.
По поздовжньому пазу важеля 3 ковзає сухар 2, пов'язаний ексцентриковим пальцем 4 з важелем 5. Важель, гойдаючись, повідомляє конусною втулкою 15, що розсуває кулачки 14, рух уздовж осі шпинделя 10. .Втулка при осьовому русі вперед стискає цангу, затискаючи оброблюваний матеріал. Зворотне переміщення натискної втулки здійснюється пружиною 9.
Для важких режимів різання при роботі без люнета як передня опора шпинделя застосовується підшипник ковзання. Кількість обертів шпинделя не повинна перевищувати 3560 об/хв.

Супортна стійка верстата 1М10ТА
Супортна стійка верстата поздовжнього точення1. Дивитись у збільшеному масштабі
Супортна стійка (мал. 17) встановлюється перед шпиндельною бабкою на середньому майданчику станини.
Корпус стійки 12 являє собою фасонний виливок, на якому розміщені три супорти. Конструкція всіх супортів аналогічна. Вони складаються з корпусу повзуна 13, повзуна 17, різцетримача 18.
Подача супортів здійснюється системами важеля від кулачків, встановлених на розподільчому валу. Повернення у вихідне положення здійснюється пружинами 16.
Середній супорт може працювати на жорсткому упорі, для чого упор 7 стопориться гвинтом 8.
У центрі супортної стійки по осі головного шпинделя в конусному отворі встановлено люнет.
Конструкція супортної стійки передбачає також можливість роботи без люнету.
У нижній частинині супортної стійки на конічній осі 15 (рис. 18) встановлено балансир.
Корпус балансиру 7 є коромисло, на якому розташовані супорти. Каретки 3 і 9 супортів встановлені на призматичних направляючих і можуть переміщатися вздовж них. На каретках змонтовані різцетримачі 6 і 11, що мають можливість повертатися в коло своїх осей і переміщатися вздовж осі виробу.">
На корпусі балансира встановлений кронштейн 2 з копірними пальцями 4, які постійно притискаються до кулачків пружиною 1. Підведення різців до виробу здійснюється поворотом балансира навколо осі під дією кулачків.
При обточуванні мінімального діаметра виробу різець першого супорта може працювати на жорсткому упорі. При цьому палець 18 упирається в торець мікрометричного ггвинта 9 (див. рис. 17).
Під час встановлення на автомат шліцювального пристрій та пристрій для обробки з боку відрізки кронштейн 2 (див. рис. 18) замінюється на аналогічний кронштейн з двома копірними пальцями.
Завантажувальний пристрій (рис. 19, 20) розташовується з правої сторони автомата, служить для спрямування та утримання прутка на упорі (відрізному різці) в момент відходу шпиндельної бабки у вихідне положення. Пристрій складається з колонки, що підтримує труби, штовхача і кронштейна відкидного 11, що виконує роль передньої опори труби. Другий опорою є 20 хомут, змонтований на колонці. Переміщення дроту здійснюється штовхачем під дією вантажу. У момент закінчення прутка прапорець штовхача переміщує штангу 10 і упором 13 повертає важіль 14. Відбувається зрив пальців 15, що знаходилися у замиканні. При цьому важіль 4 з пальцем 17 повертається так, що палець встановлюється під пальцем важеля 16, що обертається разом із розподільним валом.
У момент закінчення робочого циклу автомата палець важеля розподільноговала підходить до пальця 17 і при подальшому повороті розподільного валу повертає важіль праворуч. Важель своїм хвостовиком і тягою 5 змусить спрацювати ножову систему 39 (див. рис. 14) і відключить розподільний вал. Одночасно важіль 3 (див. рис. 19) впливає кінцевий вимикач 1 відключення електродвигуна. Світиться лампа.
Система охолодження (мал. 21) призначена для подачі охолоджуючої рідини в зону різання та змащення кулачків подачі шпиндельної бабки.
Вона складається з насоса 1, сітчастого фільтра 2, відстійника 3, колектора подачі охолоджувальної рідини до кулачок шпиндельної бабки 7, сопел 4 і 5 подачі охолоджуючої рідини до ріжучого інструменту та системи трубопроводів.
У системі передбачено монтаж додаткового трубопроводу замість пробки 6 для подачі охолоджувальної рідини до ріжучого інструменту пристроїв.
Місткість ванни, розташованої в основі, 25 літрів. Рекомендований склад охолоджувальної рідини - олія І-20А з додаванням рослинних олій.
Не рекомендується застосовувати важкі рослинні олії, здатні викликати пригорання деталі.
Зміну олії проводити не рідше одного разу на 6 місяців. Промивання ванни, фільтра, очищення відстійника проводити щомісяця.
Ловитель (рис. 22) призначений для прийому та відокремлення готових деталей від стружки та направлення їх до збірки. У момент відрізки кулачок 4, встановлений на розподільчому валу, впливаючи через важіль 3 на шток 2, лоток 1 переміщує в робоче положення. Повернення здійснюється пружиною 5.
Коробка подач (рис. 23) встановлена всередині основи на задній стінці. Коробка подач має два кінематичні ланцюги. Робочий ланцюг складається з черв'ячної пари 1, 2 і змінних прямозубих коліс, що приводять у обертання шків 4, розташований на вихідному валу 5 при перемиканні муфти 7 вправо. Від шківа 4 обертання передається черв'ячному редуктору розподільчого валу.
Ланцюг прискореного ходу дозволяє здійснювати обертання шківа 4 безпосередньо від редуктора швидкого ходу через шків 3 і порожнистий валик 6, при цьому муфта 7 встановлюється в ліве положення.
Швидке обертання розподільчого валу дозволяє скоротити час циклу при неодружених ходух (наприклад, при відведенні шпиндельної бабки, розтиску та затиску цанги), а також при роботі на групових наладках. Рекомендується при продуктивності до 4 шт/хв. Частота обертання 10 об/хв.
На верстаті встановлено трифазний коротко-замкнутий електродвигун головного приводу Ml.
Під час поставки автомата з пристроями на ньому встановлюється електродвигун пристрій М2 або МЗ.
На верстаті застосовуються такі величини напруги:
Підключення верстата до мережі здійснюється включенням вступного вимикача, рукоятка якого виведена назовні.
Розташування електроустаткування на верстаті показано на рис. 24 а принципова електросхема на рис. 25.
Дія блокуючих та сигналізуючих пристроїв, перевірити чіткість спрацьовування магнітних пускачів та реле.
Пуск електродвигуна головного приводу здійснюється натисканням кнопки «Пуск» S5 на пульті керування верстата (див. мал. 25).
Включається пускач K1, який підключає до мережі електродвигуни головного приводу M1 та пристроїв М2, МОЗ.
Зупинка верстата здійснюється натисканням кнопки S3 або при спрацьовуванні кінцевого вимикача S2, який спрацьовує у разі закінчення матеріалу, при обриві ременя приводу шпинделя, при аварійному перевантаженні, що виникає на розподільчому валу через поломку різального інструменту різьбонарізного пристрою.
Сигнальна лампа H1 загоряється у всіх випадках зупинки автомата.
На автоматі встановлено кронштейн місцевого освітлення з вимикачем S7.
Загострити кінець дроту на конус під кут 40°. Вивести штовхач із шпиндельної бабки та рукояткою 12 (див. рис. 19) затиснути трос між дисками. Відпустити ручку 19 і відкинути кронштейн 11 до упору. Пруток заточеним кінцем уперти в штовхач і, відпустивши трос, завести пруток у трубу. Встановити кронштейн у робоче положення та затиснути рукоятку. Обережно при відкритій затискній цангі провести пруток через порожнину шпинделя та люнет. Перевірити надійність затиску цанги шпиндельної бабки та відрегулювати зазор у цангу люнета. Затиснути пруток у цангу. Включити обертання шпинделя і вручну супортом, що несе відрізний різець, відрізати зайву ділянку прутка. Включити обертання розподільного валу автомата до автоматичного циклу.
Вилучення залишку прутка. При роботі без люнета залишок дроту витягується при розтиснутій затискній цангі вперед, якщо не заважають встановлені пристрої. Якщо встановлені пристрої ускладнюють вилучення залишку вперед, то він витягується наступним чином: проводиться розжим цанги і залишок кілька висувають вперед, цангу знову затискають, вказівним пальцем лівої руки натискають на залишок, що виступає, а іншою рукою роблять різке відкривання цанг. Залишок випадає у бік завантажувального пристрою.
Під час експлуатації з люнетом шпиндельна бабка відводиться в крайнє положення. Цанга відкривається і залишок витягується з порожнини цанги люнета. Цанга закривається. Далі видалення залишку відбувається як описано вище.
Налаштування верстата рекомендується виконувати в наступній послідовності:
Параметри супортів та дані про кулачки автомата наведені відповідно в табл. 3 та 4.
У процесі налагодження та експлуатації виникає необхідність у регулюванні окремих частинин та елементів з метою відновлення їх нормальної роботи. Нижче наведено рекомендації щодо регулювання основних складальних одиниць та елементів.
Регулювання бічного зазору в черв'ячній парі приводу розподільчого валу та компенсація зносу здійснюється осьовим переміщенням гайки 29 (див. рис. 13) з вмонтованим у ній черв'яком 21, що має змінний переріз витків. Після встановлення необхідного зазору в черв'ячному зачепленні гайка затискається гвинтом.
Осьовий люфт черв'яка вибирається гайкою 32.
Зменшення осьового люфта розподільчого валу здійснюється гайкою 9 (див. рис. 12).
Регулювання зазору між направляючими станини та шпиндельної бабки здійснюється переміщенням планки 30 (див. рис. 13) ггвинтами 43 (див. рис. 15).
Вимкнення автоматичного циклу підлаштовується за рахунок підтяжки гайок 20 (див. рис. 13).
Регулювання зазорів між роликами важелів 37 (див. рис. 14) і торцевою поверхнею запобіжних напівмуфт 23, 25 (див. рис. 13) здійснюється зміною довжин тяг 38 (див. рис. 14). Зазор повинен бути не більше 0,5 мм.
Регулювання зусилля розчеплення запобіжної напівмуфти 25 здійснюється гайкою 24 (див. рис. 13).
Співвідношення плечей важеля може змінюватися від 1,2:1 до 1:3 переміщенням упору 40 (див. рис. 15) за пазу важеля 42 гвинтом 41 (див. рис. 16).
Якщо подача шпиндельної бабки здійснюється двома або трьома кулачками, то пальці 35 (див. рис. 14) можуть бути виставлені на дискових кулачках ггвинтами 34, після чого пальці кріпляться стопорними ггвинтами.
Регулювання зазору в передньому підшипнику шпиндельної бабки проводиться повільним затягуванням гайки 12 (див. рис. 16) та перевіряється індикатором.
Для перевірки необхідно зняти зі шпинделя ковпачок 6, встановити індикатор так, щоб його вимірювальний стрижень торкався циліндричної поверхні шпинделя. Похитування шпинделя визначається зазор, при цьому зусилля, що додається до шпинделя, не повинно перевищувати 2 кгс, в іншому випадку до показання зазору може додатися похибка, викликана деформацією шпинделя.
При швидкостях шпинделя до 6000 об/хв і при роботі автомата з люнетом проміжок повинен бути в межах 0,008... 0,010 мм. При високих швидкостях зазор збільшується. При роботі без люнета проміжок зменшується, при цьому надмірна температура підшипника не повинна перевищувати 25°С.
Один розподіл на гайці відповідає деформаціїії підшипника приблизно на 0,0015 мм.
Для збільшення зазору необхідно:
Після того, як зазор відрегульований, положення гайок 9 і 12 фіксується фіксаторами.
Регулювання осьового зазору в задній опорі шпиндельної бабки здійснюється на прогрітому автоматі таким чином:
Регулювання зусилля затискача цанги здійснюється гайкою 17. *
Регулювання пружини повернення шпиндельної бабки у вихідне положення здійснюється гайкою 8 (див. рис. 19).
Крапельні масляни на шпиндельній бабці повинні бути відрегульовані таким чином, щоб надходження масла було не більше однієї-двох крапель за хвилину.
Всі різці супортної стійки можуть бути відрегульовані незалежно один від одного за допомогою мікрометричних гвинтів і мають наступні регулювання:
Ставлення плечей важеля для різців № 3, 4, 5 може бути точно встановлено переміщенням сережки 1, за пазами важелів 2, 4 і 5.
Регулювання зазору між прутком та люнетною втулкою здійснюється за допомогою регулювальної гайки 24 (див. мал. 16) люнета.
Зазор між корпусом балансира 7 (див. мал. 18) та дзеркалом супортної стійки регулюється гайкою 16.
Регулювання різців супортів балансу № 1 і № 2 здійснюється:
Регулювання натягу пружини балансиру здійснюється переміщенням гачка гайкою.
Зазор направляючих кареток 3 і 9 регулюється притиском планок ггвинтами 12.
Копірні пальці 4 на балансирі встановлюються на профілі кулачків за допомогою гвинтів 5.
Регулювання моменту вимкнення розподільчого валу і двигуна при закінченні прутка (розтискання цанги) проводиться установкою вимикаючого важеля 8 (див. рис. 12) розподільчого валу.
Виставка труби співвісно зі шпинделем здійснюється переміщенням труби щодо шарніра 18 (див. рис. 19) та поворотом кронштейна 11 за допомогою ггвинта.
Крайнє заднє положення шпиндельної бабки регулюється наполегливим гвинтом 7.
Фіксація положень відкидного кронштейна здійснюється рукояткою 19.
Затискач тросика виконується дисками за допомогою рукоятки 12.
Налаштування роботи уловлювача деталей здійснюється поворотом кулачка 4 (див. рис. 22) щодо осі розподільчого валу.
Усунення довільного розтискання затискної цанги в процесі роботи здійснюється регулюванням ексцентриком 4 (див. рис. 16). *


Електрообладнання верстата. Загальні відомості
На верстаті встановлено трифазний коротко-замкнутий електродвигун головного приводу Ml. При постачанні автомата з пристроєм на ньому встановлюється електродвигун пристрій М2 або М3.
На верстаті застосовуються такі величини напруги:
Вибір робочої напруги робить замовник.
Підключення верстата до мережі здійснюється включенням вступного вимикача, рукоятка якого виведена назовні.
При початковому пуску верстата необхідно передусім перевірити надійність заземлення та якість монтажу електроустаткування зовнішнім оглядом. Увімкнути вимикач S1 (див. рис 25). Перевірити дію блокиі сигналізуючих пристроїв, чіткість спрацьовування магнітних пускачів і реле.

| Найменування параметра | 11Т16А | 1М10ТА |
|---|---|---|
| Основні параметри | ||
| Клас точності за ГОСТ 8-82 | А | А |
| Найбільший діаметр прутка, що встановлюється, мм | 16 | 10 |
| Найбільша довжина подачі прутка з дисковим кулачком, мм | 80 | 80 |
| Найбільша довжина подачі прутка з дзвоновим кулачком, мм | 140 | |
| Відстань від торця шпинделя до опорної площини різців, мм | 1..220 | 1..156 |
| Відстань від основи автомата до осі шпинделя, мм | 1120 | 1120 |
| Найменший залишок прутка під час роботи з люнетом, мм | 105 | 90 |
| Найменший залишок прутка при роботі без люнету, мм | 25 | 20 |
| Найбільші розміри оброблюваного прутка, мм | 16 х 2000 | 10 х 2000 |
| Найбільший переріз різця, мм | 12 х 12 | 10 х 10 |
| Межі часу виготовлення деталі, з | 1,87..1200 | 0,99..652 |
| Шпідель | ||
| Кількість ступенів частот прямого обертання шпинделя | 24 | 24 |
| Частота прямого обертання шпинделя, об/хв | 450..6300 | 900..12500 |
| Розмір внутрішнього конуса цанги, мм | 28h11 | |
| Кут конуса цанги, град | 30 | |
| Найбільший момент, що крутить, на шпинделі, Н·м | 27,5 | 2,5 |
| Супорт. Подання | ||
| Межі частот розподільного валу, об/хв | 0,05..32 | |
| Кількість частот обертання розподільного валу на одну частоту обертання шпинделя | 29..38 | |
| Частота обертання розподільчого валу на швидкому ході, об/хв | 0,05..32 | |
| Електрообладнання | ||
| Кількість електродвигунів на верстаті | 1 | |
| Потужність електродвигуна головного приводу, кВт | 3,0 | |
| Потужність електродвигуна насоса охолодження, кВт | 0,125 | |
| Габарити та маса верстата | ||
| Габарити верстата (довжина ширина висота, мм | 1945 х 945 х 1520 | 1460 х 870 х 1450 |
| Маса верстата, кг | 1200 | 880 |