Розробник та виробник токарно-гвинторізного верстата 1М95 - Алма-Атинський верстатобудівний завод , заснований у 1932 році як чавуноливарний завод №1 обласного відділу легкої промисловості.
З квітня 1942 після об'єднання з ливарно-механічним заводом "20 років Жовтня", евакуйованим з Луганська, став називатися Алма-Атинським механічним заводом N21 ім. 20-річчя Жовтня Наркомату середнього машинобудування СРСР.
У 1945 році перейменований на Алма-Атинський верстатобудівний завод ім. 20-річчя Жовтня.
Завод выпускал верстати токарно-винторезные: 16Д20, 16Д20П, 16Д20ПФ1, ТВ16, 16Д25, 1Д95, 1Е95, 1М95.
Універсальний комбінований токарно-гвинторізний верстат 1М95 призначений для токарної обробки зовнішніх і внутрішніх поверхонь деталей типу тіл обертання різноманітного осьового профілю, у тому числі для нарізування метричної, модульної, дюймової та різьб на заготовках, що встановлюються в центрах або патроні.
Комбінований верстат моделі 1М95 призначений для роботи в пересувних та стаціонарних майстернях.
Токарний верстат моделі 1м95 вироблявся з 1966 року, знятий з виробництва 1977 року і замінений досконалішою моделлю 1Д95 .
Верстат складається з 2-х основних агрегатів:
кожен із самостійним приводом.
Завдяки змінній висоті центрів та наявності ряду спеціальних пристосувань: довбажного, вертикально та горизонтально фрезерних, заточного досягається універсальність верстата. На ньому можна виконувати токарні, фрезерні, свердлильні, розточувальні, довбані роботи та нарізання різьблення: метричної, дюймової, модульної та харчової; а також виконувати найпростіші заточувальні роботи. Заточний пристрій рекомендується встановлювати окремо від верстата.
Верстат сертифікований на відповідність вимогам безпеки.
Виконання та категорія розміщення верстатів у частинині умов експлуатації — УХЛ4 за ГОСТ 15150-69 (Для експлуатації у всіх кліматичних районах країн ближнього зарубіжжя у закритих опалювальних (охолоджуваних) та вентильованих виробничих приміщеннях).
Клас точності верстатів - Н за ГОСТ 8-82Е.

Габарити робочого простору токарного верстата 1м95

Посадочні та приєднувальні бази токарного верстата 1м95

Фото токарно-гвинторізного верстата 1м95

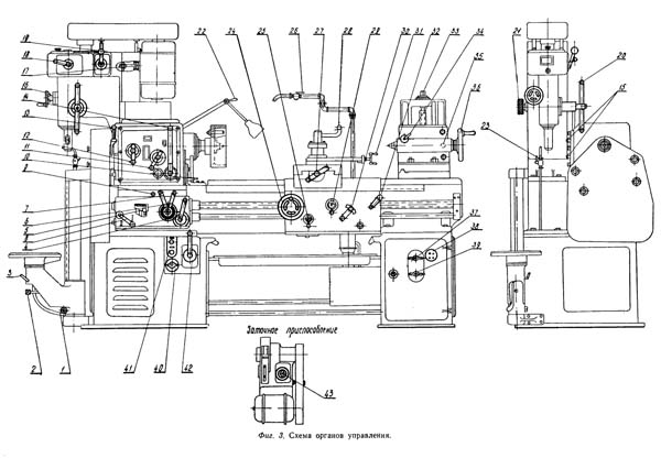
Розташування органів керування токарно-гвинторізним верстатом 1м95
Розташування органів керування токарно-гвинторізним верстатом 1М95. Дивитись у збільшеному масштабі

Кінематична схема токарно-гвинторізного верстата 1м95
Схема кінематична токарно-гвинторізного верстата 1М95. Дивитись у збільшеному масштабі
Комбинированный верстат з переменной высотой центров от 235 до 355 мм выполняется з расстоянием между центрами 1000 мм.
Станина верстата коробчатой формы з поперечными ребрами имеет две призматические направляющие. Передня направляющая служит для переруху каретки, задня — переміщення задньої бабки.
Станина устанавливается на две пустотелые тумбы. В левой тумбе смонтирован електродвигатель головного руху.
Коробка швидкостей крепится і може передвигаться по вертикальным направляющим стойки, прикрепленной к левой головной частини станины. Рух коробки швидкостей передається от индивидуального електромотора, помещенного в левой тумбе верстата, через клиноременную передачу.
Внутри коробки рух идет через валик фрікциону і шестеренный механізм к шпинделю і ланцюги подач. Переключенням соответствующих рукояток коробки швидкостей предоставляется возможность получить 6 различных швидкостей обертання шпинделя при прямом вращении електродвигуна і 6 швидкостей при обратном вращении.
Все шестерни выполнены из углеродистой стали з соответствующей термообработкой. Во избежание поломки зубцов шестерен не следует производить изменение скорости шпинделя на ходу. Пуск, останов і увімкнення обратного ходу производится рукояткой 14 (см. схему керування), управляющей фрикционной пластической муфтой.
Коробка подачі получает рух от коробки швидкостей через сменные шестерни приклона. Механізм коробки подач дает возможность получить необходимые подачі і наступні виды резьб:
Получение необходимых подач і різьб достигается переключением соответствующих рукояток коробки подач согласно таблицы, укрепленной на щитке коробки подач. Фартук снабжен 2-мя фрикционными муфтами, позволяющими осуществлять ход суппорта в продольном і поперечном направлениях. Фрикционные муфты дают возможность автоматически отключать подачу при перегрузках. Керування переміщенням каретки і нижней частини суппорта осуществляется рукоятками 25—29 (см. схему керування фиг. 3).
Механизма швидкого автоматичного переміщення суппорта фартук не имеет. Фартук имеет блокирующий механізм, препятствующий одновременному включению ходового гвинта і ходового валика. Верхнее положение рукоятки 32 соответствует выключенному положению гайки ходового гвинта і дает возможность рукоятке 30 включать продольные і поперечные подачі. Нижнее положение рукоятки 32 соответствует включенному положению гайки ходового гвинта.
На оси XXIX смонтирован лимб поздовжньої подачі з ценой деления 1 мм.
Суппорт, благодаря крестовой конструкції, имеет возможность перемещаться в продольном направлении по направляющим станины і в поперечном по направляющим каретки. Оба ети переміщення могут быть осуществлены как от механического приводу з реверсом, так і от руки. Кроме того верхняя часть суппорта, несущая на себе 4-х гранную резцовую головку имеет независимое ручное продольное перемещение по направляющим средней поворотной частини суппорта, которая може поворачиваться на 45° в ту і другую сторону. Задня бабка крепится к задньої стойке, по которой она може перемещаться в вертикальной плоскости. Вертикальное перемещение осуществляется винтом 33 (см. фиг. 3).
При точении конуса корпус задньої бабки перемещается в поперечном направлении.
Сверлильный агрегат установлен на стойке передньої бабки, имеет отдельный привід і може работать независимо от токарно-фрезерного агрегата.
Для получения необходимого числа оборотів сверла нужно установить клиновой ремень на соответствующую ступень шкива, согласно таблицы і рукоятку 18 (фиг. 3) переместить в нужное положение.
Подача охлаждающей жидкости из емульсионного бака, расположенного под коритом к месту різання осуществляется електронасосом, производительностью 22 л в минуту.
Верстат снабжен 3-х кулачковым самоцентрирующим патроном диаметром 250 мм; 4-х кулачковым патроном і поводковой планшайбой. Патроны, посредством фланцев, і поводковая планшайба навертываются на резьбу шпинделя до упора.
К верстату прилагаются два люнета: подвижный і нерухомий.
Места змазки или заливки мест маслом, нормы і периоды змазки, наименование смазочных масел указаны в схемах мест змазки (фиг. 6 і 7).
Смазка механізма передньої бабки осуществляется за счет масляной ванны. Разбрызгиванием масло попадает в лоток, откуда происходит смазка переднего підшипника. Кроме того, задний подшипник шпинделя получает дополнительную смазку, заливкой через специальную пробку. Смазка механізма коробки подач осуществляется за счет масляной ванны. Смазка механізма фартука, направляючих каретки і суппорта осуществляется централизованным путем от плунжерного насоса, установленного в фартуке.
Все остальные места, нуждающиеся в смазке, имеют ручную смазку от окремих масленок согласно схеме змазки.
Перед пуском верстата наполняются резервуары передньої бабки, сверлильного агрегата, коробки подач, фартука до рисок «Уровень масла» і масленки маслом «Индустриальное 20».
В период експлуатации верстата необходимо следить за работой масляного насоса і за наличием смазочного материала в резервуарах через маслоуказатель.

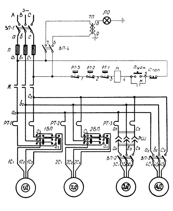
Електрична схема токарно-гвинторізного верстата 1м95
Перед началом роботи на станке необходимо его електрическую часть подключить к електросети посредством пакетного выключателя «ВП-1», который производит общее увімкнення верстата.
Нажатием на кнопку «ПУСК» замыкается ланцюг катушки магнитного пускателя, силовые контакты которого подают напряжение на пусковую аппаратуру електродвигателей, а блок-контакт блокирует пусковую кнопку, что исключает дальнейшее нажатие кнопки «ПУСК».
Снятие напряжения от всех електродвигателей производится нажатием на кнопку «СТОП».
Выбор направления обертання електродвигуна «1Д» производится при помощи барабанного переключателя «1БП», а увімкнення і відключення — кнопками «ПУСК» і «СТОП».
Увімкнення, відключення і выбор направления обертання електродвигуна «2Д» осуществляется барабанным переключателем «2БП».
Електродвигун «ЗД» включается і отключается пакетным выключателем «ВП-2». Напряжение к пакетному выключателю «ВП-2» подается при помощи гибкого шланга через 3-х полюсную розетку «РШ».
Електродвигун «4Д» включается пакетным выключателем «ВП-3».
Увімкнення местного освещения осуществляется пакетным выключателем «ВП-4».
Общее відключення верстата от сети осуществляется переводом рукоятки пакетного выключателя «ВП-1» в положение «ОТКЛЮЧЕНО».
На станке 1М95 установлены четыре трехфазных короткозамкнутых асинхронных електродвигуна:

Натяжение ремня сверлильного агрегата верстата 1м95

Налаштування на сверление сверлильного агрегата верстата 1м95
Подача сверла производится замедленно или ускоренно, вручную. Замедленная подача осуществляется через червячную пару маховичком 1, при включенной кулачковой муфте 2 (фиг. 17), а ускоренная подача осуществляется рычагами 3 при выключенной муфте 2.

Налаштування на горизонтальное фрезерование верстата 1м95
Налаштування на горизонтальное фрезерование производится по фиг. 16.
Для етого устанавливается кронштейн 1.
В конусное отверстие пиноли задньої бабки вставляется центр 3, а в конусное отверстие шпинделя вставляется оправка 4, з переходной втулкой 5 і одетой фрезой 6. Оправка крепится шомполом 7 і гайкой 2.
Для предотобертання биения оправки 4 необходимо обеспечить точное совпадение оси отверстия в подвеске 8 з осью шпинделя еще до закрепления подвески 8 на своей направляющей, путем выверки центров контрольной оправкой з индикатором,
Рекомендуется подпирать оправку з фрезой центром задньої бабки. При налаштуванні передняя і задня бабки закрепляются зажимами 10, 15, 35 (фиг. 3), а подвеска 8-гвинтами 9 на направляющей (фиг. 16).
Нужная глубина фрезерування достигается путем опускания передньої і задньої бабок.

Налаштування на вертикальное фрезерование верстата 1м95
Налаштування на вертикальное фрезерование заключается в том, что над закрепленной на суппорт-столе деталью устанавливается к торцу коробки швидкостей вертикально-фрезерна головка з фрезой, укрепленной на шпинделе шомполом, (фиг. 15).
В зависимости от высоты фрезеруемой детали коробка швидкостей з задньої бабкой і вертикально-фрезерной головкой з фрезой поднимаются над столом на нужную высоту і закрепляются на передньої і задньої стойках з помощью зажимов 15, 35 і отдельным зажимом 10 (фиг. 3).
Установка на необходимую глубину фрезерування производится каждый раз ослаблением зажимов 10, 15, 35 з отводом пиноли задньої бабки от вертикально-фрезерной головки, з опусканием на глубину врізання, передньої і задньої бабок. После чего, подвести пи-ноль задньої бабки к вертикально-фрезерной головке, закрепив переднюю і заднюю бабки зажимами 10, 15, 35.
Следует напомнить, что при фрезеровании гітара должна свободно скользить между корпусом і шайбой (см. фиг. 14 литер «С»).

Налаштування верстата 1м95 на долбление
Настройку на долбление следует производить согласно фигуры 18. При установці долбежного приспособления необходимо следить, чтобы ползун в крайнем положении не ударял о деталь, или резцом о стол верстата. Перед долблением закрепить коробку швидкостей зажимами 10, 15, 35 (фиг. 3). Пользуясь лимбом продольных перемещений суппорта, подачу осуществляют вручную, на глубину 0,07-— 0,1 мм.
| Наименование параметра | 1М95 | 1Д95 | 1Е95 |
|---|---|---|---|
| Основні параметри | |||
| Класс точності по ГОСТ 8-82 | Н | Н | Н |
| Наибольший диаметр заготовки над станиной, мм | 500 | 400 | 400 |
| Наибольший диаметр заготовки над выемкой станины (по заказу), мм | - | 550 | 570 |
| Наибольший диаметр заготовки над суппортом, мм | 420 | 210 | 210 |
| Высота центров над направляющими станины, мм | 235..355 | 210 | 210 |
| Высота оси шпинделя над суппорт-столом, мм | 125..245 | ||
| Наибольшая длина заготовки (РМЦ), мм | 1000 | 1000 | 1000 |
| Наибольшая длина обтачивания, мм | 820 | 950 | 950 |
| Наибольшая масса заготовки в патроне, кг | |||
| Наибольшая масса заготовки в центрах, кг | 100 | ||
| Передня бабка | |||
| Наибольшее вертикальное перемещение передньої бабки, мм | 120 | нет | нет |
| Шпиндель | |||
| Диаметр сквозного отверстия в шпинделе, мм | 35 | 52 | 52 |
| Наибольший диаметр прутка, мм | 32 | 50 | 50 |
| Число ступеней частот прямого обертання шпинделя | 12 | 16 | 16 |
| Частота прямого обертання шпинделя, об/мин | 28..1250 | 16..1250 | 20..1600 |
| Число ступеней частот обратного обертання шпинделя | 12 | 16 | 16 |
| Частота обратного обертання шпинделя, об/мин | 28..1250 | 16..1250 | 20..1600 |
| Размер внутреннего конуса в шпинделе | №5 | Морзе 6 | Морзе 6 |
| Кінець шпинделя по ГОСТ 12593-72 | 6К | 6К | |
| Торможение шпинделя | нет | Электрическое | Электрическое |
| Суппорт-стол. Подачи | |||
| Розміри рабочей поверхности стола, мм | 280 х 700 | ||
| Наибольшее продольное перемещение каретки суппорта, мм | 820 | 950 | 950 |
| Наибольшее поперечное перемещение суппорта, мм | 320 | 300 | 275 |
| Наибольшее поперечное перемещение верхнего суппорта (резцовые салазки), мм | 110 | 100 | 130 |
| Число ступеней продольных/ поперечных подач | 24/ 24 | 16/ 16 | 48/ 48 |
| Пределы скорости продольных подач, мм/об | 0,13..1,87 | 0,0028..0,078 | 0,03..4,21 |
| Пределы скорости поперечных подач, мм/об | 0,072..1,016 | 0,0014..0,039 | 0,015..2,1 |
| Скорость быстрых перемещений суппорта, продольных/ поперечных, м/мин | нет | 4/ 2 | 4/ 2 |
| Продольное перемещение на одно деление лимба, мм | 1,0 | ||
| Продольное перемещение на одно деление нониуса, мм | |||
| Поперечное перемещение суппорта на одно деление лимба, мм | 0,05 | ||
| Перемещение резцовых салазок на одно деление лимба, мм | 0,05 | 0,05 | 0,05 |
| Количество нарезаемых різьб метрических | 23 | 18 | 26 |
| Пределы шагов нарезаемых різьб метрических, мм | 1..12 | 0,5..14 | 0,5..56 |
| Количество нарезаемых різьб дюймовых | 24 | 35 | 39 |
| Пределы шагов нарезаемых різьб дюймовых | 3..28 | 60..3,5 | 56..0,5 |
| Количество нарезаемых різьб модульных | 13 | 18 | 22 |
| Пределы шагов нарезаемых різьб модульных | 0,25..35 | 0,5..7 | 0,5..28 |
| Количество нарезаемых різьб питчевых | 24 | 35 | 32 |
| Пределы шагов нарезаемых різьб питчевых | 8..112 | 56..2,0 | |
| Предохранитель от перегрузки | есть | ||
| Блокировка продольных і поперечных подач | есть | ||
| Выключающие продольные упоры | нет | ||
| Шероховатость поверхности заготовки из конструкционной стали при чистовом обтачивании, мкм, не более | Ra 2.0 | ||
| Задня бабка | |||
| Наибольшая длина переміщення задньої бабки вдоль станины, мм | 820 | ||
| Наибольшая длина вертикального переміщення задньої бабки, мм | 120 | нет | нет |
| Наибольшая длина переміщення пиноли задньої бабки, мм | 165 | 120 | 120 |
| Наибольшее перемещение задньої бабки, мм | ±20 | ||
| Размер внутреннего конуса | №4 | Морзе 4 | Морзе 5 |
| Сверлильный агрегат | |||
| Наибольший диаметр сверления, мм | 25 | 25 | |
| Наибольший ход шпинделя, мм | 80 | 80 | |
| Вылет оси сверлильного шпинделя, мм | 210 | 210 | |
| Диаметр сверлильного стола, мм | 320 | 280 х 280 | |
| Вертикальное перемещение сверлильного стола, мм | 465 | ||
| Размер внутреннего конуса сверлильного шпинделя | №3 | Морзе 3 | |
| Расстояние от кінця шпинделя до сверлильного стола, мм | 40..540 | 400 | |
| Количество швидкостей шпинделя | 6 | ||
| Частота прямого обертання шпинделя, об/мин | 11..78 | ||
| Вертикально-фрезерна головка | |||
| Вылет оси шпинделя фрезерной головки, мм | 380 | ||
| Расстояние от кінця шпинделя до суппорт-стола, мм | 120..240 | ||
| Наибольшее продольное перемещение суппорт-стола, мм | 320 | ||
| Розмір внутрішнього конуса фрезерної головки | №3 | ||
| Шліфувальний пристрій | |||
| Діаметр шліфованої заготовки при зовнішньому шліфуванні, мм | 25..210 | 20..210 | |
| Діаметр шліфованої заготовки при внутрішньому шліфуванні, мм | 30..300 | 30..300 | |
| Частота обертання шпинделя при зовнішньому шліфуванні, мм | 4400 | 4400 | |
| Частота обертання шпинделя при внутрішньому шліфуванні, мм | 11000 | 11000 | |
| Довге пристрій | |||
| Довжина ходу довбаня, мм | 100 | ||
| Виліт супорта довбака, мм | 310 | ||
| Найбільша висота довбання, мм | 80 | ||
| Найбільша довжина довбання, мм | 280 | ||
| Найбільша ширина ходу довбання, мм | 320 | ||
| Електроустаткування | |||
| Кількість електродвигунів на верстаті | 4 | 6 | |
| Електродвигун головного приводу, кВт | 4 | 4 | 5,5 |
| Електродвигун приводу прискорених переміщень, кВт | - | 0,4 | 0,55 |
| Електродвигун приводу свердлувального агрегату, кВт | 1,1 | 1,1 | 1,1 |
| Електродвигун заточувального пристрій, кВт | 0,8 | 0,75 | 0,75 |
| Електродвигун шліфувального пристрій, кВт | - | 0,27 | 0,27 |
| Електродвигун насоса охолодження, кВт | 0,12 | 0,125 | 0,125 |
| Сумарна потужність, кВт | |||
| Габарити та маса верстата | |||
| Габарити верстата (довжина ширина висота) (РМЦ 1000), мм | 2750 х 1255 х 1670 | 3000 х 1200 х 1610 | 3000 х 1200 х 1640 |
| Маса верстата (РМЦ 1000), кг | 2170 | 2030 рік | 2475 |
Замовити
Хто володіє інформацією – той володіє світом.
Натан Ротшильд