Точильно-шліфувальний верстат моделі 3Б634 випускався Мукачівським верстатобудівним заводом ім. Кірова в даний час Мукачівський верстатозавод, ВАТ .
Модель точильно-шліфувального верстата 3Б634 більше не випускається і була замінена білішим за досконалий верстат моделі 3К634.
Точильно-шліфувальний верстат із двома колами моделі 3Б634 призначений для виконання наступних операцій:
Використовувати верстат для обдирання литих та зварних деталей не рекомендується.
Основною частининою точильно-шліфувального верстата 3Б634 є шліфувальна головка (рис. 5). У головку вмонтовано двошвидкісний електродвигун, вал якого є шпинделем верстата. Статор, ротор та крильчатка вентилятора розташовані в корпусі з двома кришками, в яких розміщені шарикопідшипникові опори шпинделя (рис. 6).

Шліфувальна головка точильно-шліфувального верстата 3Б634
Шліфувальна головка точильно-шліфувального верстата 3Б634. Завантажити у збільшеному масштабі
Шарикопідшипникові опори є здвоєними радіально-упорними шарикопідшипниками високої точності № В36209Л з обраними осьовими люфтами. З зовнішніх сторін виконані осьові лабіринтні ущільнення, з внутрішніх жирові канавки.
Охолодження електродвигуна здійснюється за рахунок циркуляції повітря, для чого опорні кришки головки мають вікна, що зв'язують внутрішні порожнини станини та головки. Для кріплення захисних кожухів та деяких пристроїв (для полірувальних робіт, стрічкового шліфування та ін.) на кришках головки є дві цапфи. Кріплення головки до станини здійснено за допомогою шпильок.
Станіна є чавунним виливком з розміщеним у ній електрошафою. Усередині станини укріплена панель з електроустаткуванням. Доступ до електроустаткування можливий внаслідок наявності отвору в передній стінці, що герметично закривається дверцятами.
На верстат встановлюють шліфувальні круги типів ПП 400 х 50 х 203 (плоский прямого профілю) та ПВ 400 х 60 х 203 (плоский з виточкою). Кола насаджують на перехідні фланці, закріплені на конусній частинині шпинделя. Перехідні фланці із зовнішнього боку мають три сухарики, за допомогою яких здійснюється балансування шліфувальних кругів.
Шліфувальні круги захищені захисними кожухами, виготовленими з листової сталі.
На лицьовій стінці кожуха є зів для доступу до шліфувального круга. У верхній частинині зіва розташований козирок, за допомогою якого підтримується зазор не більше 6 мм між козирком і шліфувальним кругом, у нижній частинині зіва - висувна заслінка для відсмоктування пилу. При установці пристрій для заточування свердел заслінку повністю засувають у кожух. Бічна стінка кожуха шарнірно з'єднана з кожухом і може швидко відкидатися для заміни та огляду шліфувального кола.
Внизу кожуха розташований пилозбірник , в якому збирається до 40% пилу, що відсмоктується із зони роботи верстата. Не менше одного разу на зміну пилозбірник необхідно очищати від пилу, що накопичився.
Кожух оснащений патрубком для приєднання до витяжної системи. Зверху до кожуха приварено втулку кріплення захисного екрану.
Захисний екран (рис. 9) виконаний разом зі світильниками. Для зручності експлуатації екран можна повернути відносно горизонтальної осі на 15°. У світильники вмонтовані дві лампи 41,6 Вт, що забезпечують хорошу освітленість.
Для заточування різців та зачистки деталей на верстаті обладнано поворотний столик (рис. 10) та підручник (рис. 11). Поворотний столик є сталевою плитою, прикріпленою ггвинтами до чавунного кронштейна, який може переміщатися по криволінійній напрямній. Таким чином, столик може займати похилий стан щодо торця шліфувального кола. Напрямна столика кріпиться до кронштейна, який, у свою чергу, прикріплений до станини. В результаті двох переміщень столика в горизонтальній площині компенсується знос кола по торцю та бічній поверхні.
Підручник являє собою сталеву деталь із двома робочими поверхнями: плоскою та криволінійною. Плоскою робочою поверхнею рекомендується користуватися при шліфуванні деталей, що мають опорну площину. Якщо потрібно відшліфувати криву поверхню деталі за відсутності хорошої опорної площини або при необхідності частого переналаштування кута установки підручника, потрібно користуватися криволінійною робочою поверхнею підручника. Кріплення підручника до кронштейна виконано таким чином, що він може переміщатися на коло по вертикалі і обертатися навколо осі. Необхідно стежити, щоб зазор між колом та підручником був не більше 3 мм.

Фото точильно-шліфувального верстата 3Б634.

Фото точильно-шліфувального верстата 3Б634 з витяжним пристроєм

Розташування складових частинин точильно-шліфувального верстата 3Б634

Розташування органів керування точильно-шліфувальним верстатом 3Б634
У разі демонтажу ротора електродвигуна зі шпинделя або статора з корпусу та подальшого їх складання слід звернути увагу на їхнє взаємне розташування.
Відносне осьове зміщення статора та ротора не допускається. Не допускається також нерівномірність зазору між статором та ротором понад 0.05 мм і величина цього зазору понад 0,4 мм.
Шліфувальні кола піддаються дворазовому статичному балансуванню після складання з фланцями і після виправлення їх у робочому положенні. Залишковий дисбаланс для нового кола, що допускається, — 4 г*см. Від якості балансування багато в чому залежить точність верстата та довговічність підшипників шпинделя.
Балансировка производится на балансировочном станке, основная часть которого — два горизонтальных, параллельно расположенных стальных цилиндрических валика одинакового диаметра з гладкой поверхностью, твердостью, не ниже HRC 58-60. Высота микронеровностей — не более Ra 0.32 им. Шлифовальный круг з переходными фланцами монтируется на стальную балансировочную оправку. Круг з оправкой устанавливается на балансировочный верстат так. чтобы ось балансировочной оправки была перпендикулярна к валикам верстата, а круг располагался между ними симметрично. Легким толчком кругу придают медленное вращение. После остановки круга отмечают верхнюю точку его і перемещают в нее грузик по пазу. Снова легким толчком придают кругу медленное вращение, отмечают верхнюю точку і перемещают в нее грузик. Эту операцию повторяют до тех пор. пока круг не будет в безразличном равновесии, то есть після легких толчков круг будет останавливаться в разных положениях.

Схема дуплексации підшибників точильно-шлифовального верстата 3Б634
Схема дуплексации підшибників точильно-шлифовального верстата 3Б634. Скачать в увеличенном масштабе
Во время роботи верстата підшипники шпинделя изнашиваются, в результате чего появляется осевой зазор.
Если шлифовальный шпиндель имеет осевой зазор или поверхность обработанной детали недостаточно чиста, необходимо отрегулировать підшибниківые вузли верстата путем создания соответствующего предварительного натяга. Это осуществляется подшлифовкой компенсационных колец в сдвоенных підшипниках (метод проверки дан на рис. 21).
Кольцо распорное окончательно шлифуется в размере
Н = (а — Δ1) — 0,01 мм, где:

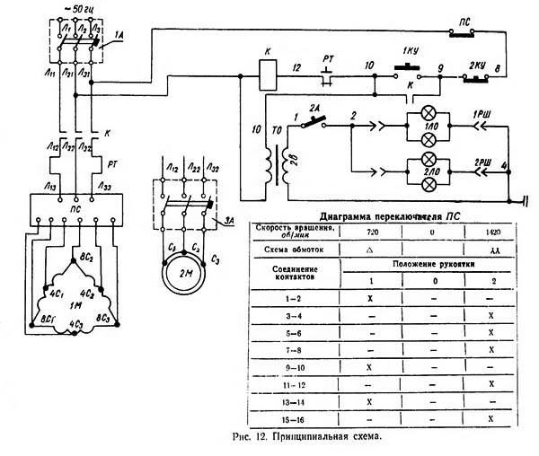
Електрична схема точильного шлифовального верстата 3Б634
Електроустаткування точильно-шлифовального верстата 3Б634 (рис. 12 і 13) выполнено для подключения к сети трехфазного переменного тока. Ланцюг освещения выполнена на напряжение 12 В і питается от понижающего трансформатора ТО. В качестве приводу електродвигуна применен встроенный двухскоростной електродвигатель 1М.
Керування верстатом — кнопкове і производится з пульта керування, расположенного у робочого места (на передньої стенке станины).
На пульті смонтированы кнопки «Пуск» і «Стоп», включатели освещения, переключатель скорости двигуна. Остальная електроаппаратура размещена в нише станины.
Выбор скорости обертання двигуна производится переключателем ПС перед включением верстата нажатием і поворотом его рукоятки в требуемое положение.
Освещение верстата сблокировано з работой електродвигуна і включается при нажатии кнопки 1КУ «Пуск».
Відключення двигуна происходит при нажатии кнопки 2КУ «Стоп». Отключать двигатель сетевым автоматом 1А не рекомендуется.
Електричнаблокировка пускателя К отключает его катушку при помощи размыкающего блокконтакта при переключении рукоятки переключателя ПС.
Двигатель 2М і автомат ЗА поставляются з вентиляционным агрегатом по спецзаказу.

Настановне креслення точильно-шлифовального верстата 3Б634
| Наименование параметра | 3Б634 | 3К634 | ТШ-3 |
|---|---|---|---|
| Шлифовальный круг | |||
| Количество шлифовальных кругов | 2 | 2 | 2 |
| Тип шлифовальных кругов | ПП 400х50х203 ПВ 400х50х203 | ПП 400х50х203 | ГОСТ 2424-83 |
| Наружный диаметр круга, мм | 400 | 400 | 400 |
| Высота круга, мм | 50 | 50 | 50 |
| Посадочный диаметр круга, мм | 203 | 203 | 127 |
| Диаметр изношенного круга, мм | 240 | ||
| Класс неуравновешенности | 1, 2 | ||
| Высота центров от основания, мм | 900 | 900 | 950 |
| Рекомендуемая высота затачиваемых резцов, мм | 6-100 | 6-100 | |
| Диаметр затачиваемых сверл, мм | 6-60 | 6-60 | |
| Угол при вершине сверла, град | 70-140 | 70-140 | |
| Задний угол, град | до 20 | до 20 | |
| Угол поворота, град | +20..-1 | +20..-1 | |
| Диаметр контактного ролика, мм | 400 | 400 | |
| Ширина шлифовальной ленты, мм | 80 | 80 | |
| Длина шлифовальной ленты, мм | 3000 | 3000 | |
| Усилие натяжения шлифовальной ленты, Н | до 1000 | до 1000 | |
| Наибольший диаметр полировального круга, мм | 400 | 400 | |
| Наибольшая высота полировального круга, мм | 55 | 55 | |
| Диаметр отверстия полировального круга, мм | 50 | 50 | |
| Шпидель | |||
| Частота обертання, 1/мин | 720/ 1440 | 1440 | 950 |
| Максимальная скорость різання, м/с | 15/ 30 | 30 | 20 |
| Кінець шлифовального шпинделя (диаметр/длина), мм | 40/ 40 | 40/ 40 | |
| Електроустаткування | |||
| Електродвигун привода, кВт | 3,2/ 5,3 | 4 | 3,0 |
| Габарити і масса верстата | |||
| Габарити верстата (длина ширина высота), мм | 1000 х 665 х 1230 | 1000 х 680 х 1230 | 660 х 600 х 1670 |
| Масса верстата, кг | 425 | 358 | 220 |