metalinstryment.com
Довідник по металорізальних верстатів та пресовому обладнанні

4К722АФ1 Верстат електроерозионный копировально-прошивочный
опис, характеристики, схеми

Фото копировально-прошивочного верстата 4к722аф1







Відомості про виробника координатно-расточного верстата 4к722аф1

Производитель електроерозионного копировально-прошивочного верстата 4к722аф1 Каунасский станкостроительный завод им. Дзержинского, Koordinate.





Верстати производства Каунасского станкостроительного завода им. Дзержинского


4К722АФ1 Верстат електроерозионный копировально-прошивочный координатный особо високою точності з УЦИ. Назначение і область применения

Верстат електроерозионный копировально-прошивочный 4К722АФ1 предназначен для обробки сквозных і глухих отверстий произвольной конфигурации в любых токопроводящих материалах, для обробки пресс-форм, кокилей, штампов (в том числе для обробки отверстий в закаленных деталях і деталях из твердых сплавов), а также для прорізання проходных щелей і разрезки заготовок проволочным електродом-инструментом.

Верстат 4К722АФ1 укомплектован електронным пристрійм цифровой индикации з измерительным преобразователем линейных перемещений стола і пиноли і оснащен системой программного і адаптивного керування по трем каналам.

Общая компоновка і особливості верстата 4К722АФ1

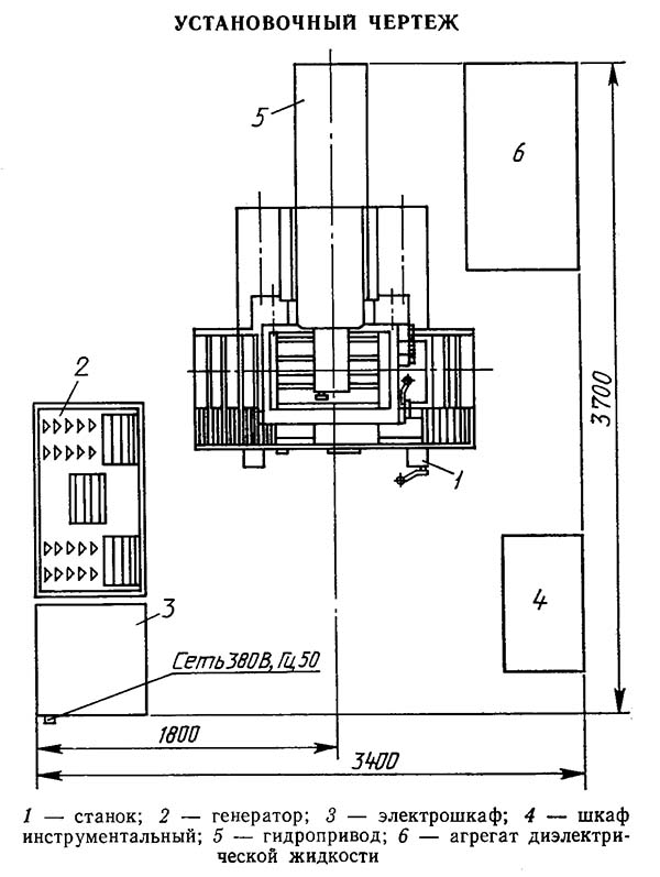
Верстат 4К722АФ1 состоит из следующих вузлів: пинольной головки, пинольного вузла, редуктора і гвинта механического переміщення пинольной головки, колонны, станины, стола і салазок з их редукторами, настольной ванны, отсчетного пристроя переміщення стола і пиноли. Кроме того в комплект верстата входит: установка насосная, агрегат диелектрической жидкости, генератор, шкаф инструментальный і електрошкаф.

На жесткой станине закреплена колонна верстата 4К722АФ1, по двум призматическим направляющим которой перемещается пинольная головка. В пинольной головке находится пинольный узел і механізм зажиму пинольной головки. Пинольная головка уравновешивается специальным грузовым противовесом, встроенным в колонну. На колонне также установлен винт механического переміщення пинольной головки. Салазки расположены на двух направляючих станины (одна плоская і одна призматическая).

По направляющим салазок перемещается стол. На салазках установлен механізм зажиму стола, а на столе установлена настольная ванна.


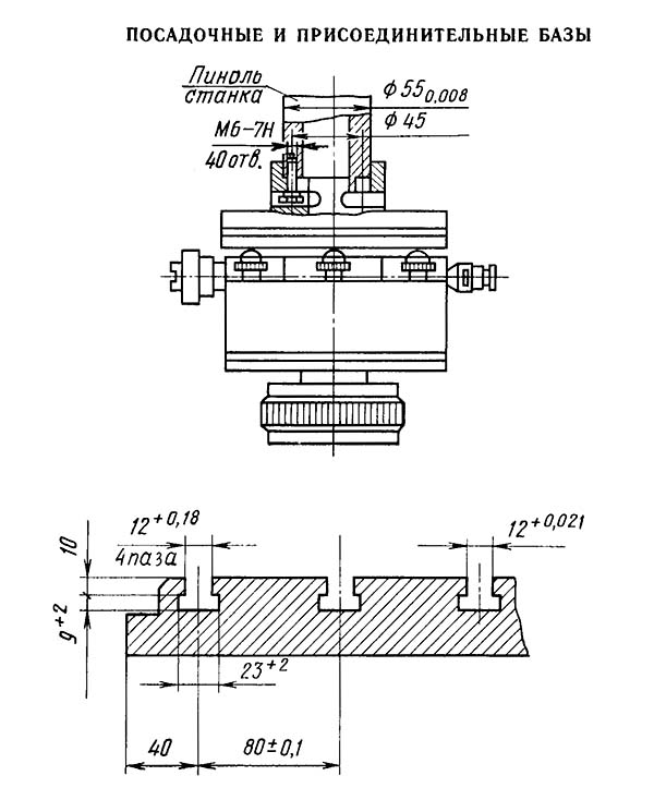
Посадочные і присоединительные базы копировально-прошивочного верстата 4к722аф1

Габарит робочого простору копировально-прошивочного верстата 4к722аф1

Посадочные і присоединительные базы верстата 4к722аф1


Загальний вигляд копировально-прошивочного верстата 4к722аф1

Фото копировально-прошивочного верстата 4к722аф1

Фото копировально-прошивочного верстата 4к722аф1


Фото копировально-прошивочного верстата 4к722аф1

Фото копировально-прошивочного верстата 4к722аф1


Фото копировально-прошивочного верстата 4к722аф1

Фото генератора копировально-прошивочного верстата 4к722аф1


Фото копировально-прошивочного верстата 4к722аф1

Фото копировально-прошивочного верстата 4к722аф1


Фото копировально-прошивочного верстата 4к722аф1

Фото копировально-прошивочного верстата 4к722аф1





Розташування складових частин копировально-прошивочного верстата 4к722аф1

Розташування складових частин копировально-прошивочного верстата 4к722аф1

Розташування складових частин копировально-прошивочного верстата 4к722аф1

Розташування складових частин копировально-прошивочного верстата 4к722аф1. Дивитись у збільшеному масштабі



Специфікація складових частин копировально-прошивочного верстата 4к722аф1

  1. Головка пинольная - 0.78.01.00.000.0.0
  2. Пинольный узел - 0.18.04.00.000.4.0
  3. Ванна - 0.38.72.00.000.1.0
  4. Пульт - 0.30.19.00.000.0.0
  5. Редуктор - 0.30.29.00.000.0.0
  6. Агрегат диелектрической жидкости - НА-300
  7. Шкаф инструментальный - 0.78.34.00.000.0.0
  8. Станина - 0.30.10.00.000.1.0
  9. Установка насосная - 0.18.71.00.000.0.0
  10. Стол і салазки - 0.30.13.00.000.1.0
  11. Генератор - ШГИ-63-440M
  12. Шкаф - 0.78.82.00.000.4.0
  13. Колонна - 0.78.07.00.000.0.0
  14. Розташування електроустаткування - 0.78.80.00.000.4.0
  15. Кронштейн - 0.78.32.00.000.4.0




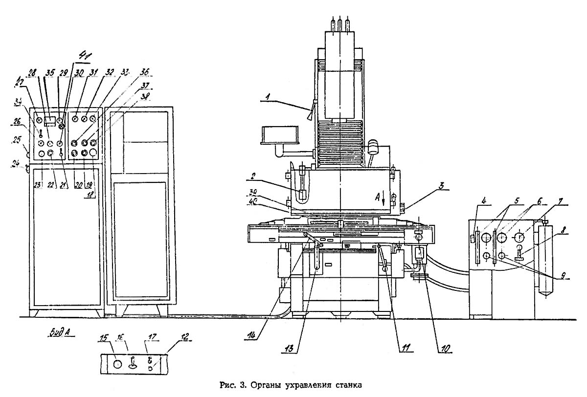
Розташування органів керування копировально-прошивочным верстатом 4к722аф1

Розташування органів керування копировально-прошивочным верстатом 4к722аф1

Розташування органів керування копировально-прошивочным верстатом 4к722аф1

Розташування органів керування копировально-прошивочным верстатом 4к722аф1. Дивитись у збільшеному масштабі



Список органів керування копировально-прошивочного верстата 4к722аф1

  1. Ручка зажиму пинольной головки
  2. Датчик уровня диелектрической жидкости
  3. Ручка крана швидкого слива диелектрической жидкости из ванны
  4. Регулятор температуры диелектрической жидкости
  5. Ротаметры для измерения скорости жидкости в системе прокачка-отсос
  6. Манометры для измерения давления жидкости в в системе прокачка-отсос;
  7. Диференціальный манометр для измерения давления жидкости до і після фильтров (степень загрязнения фильтров)
  8. Кран заполнения ванны
  9. Регулятор расхода рабочей жидкости в межелектродном зазоре
  10. Маховик ручного переміщення стола
  11. Рукоятка зажиму салазок
  12. Регулятор ручного керування переміщення пиноли вниз і вверх
  13. Маховик ручного переміщення салазок
  14. Рукоятка зажиму стола
  15. Кнопка «Загальний стоп»
  16. Переключатель направления і скорости руху координатного стола
  17. Переключатель переміщення пинольной головки вниз і вверх
  18. Кнопка «Загальний стоп»
  19. Кнопка вимкнення гідростанції
  20. Кнопка вимкнення наполнения ванны
  21. Переключатель выбора режима роботи
  22. Кнопка проворота орбитальной головки
  23. Регулятор скорости руху пиноли
  24. Вводный выключатель
  25. Сигнальная лампа «Верстат под напряжением»
  26. Лампа сигнальная «Работа з орбитальной головкой или вращающимся шпинделем»
  27. Лампа сигнальная «Работа з пристрійм для резки проволокой»
  28. Лампа сигнальная «Пиноль» расторможена»
  29. Лампа сигнальная «Охлаждение рабочей жидкости»
  30. Лампа сигнальная «Рабочий режим» (Включен генератор)
  31. Лампа сигнальная «Наполнение ванны включено"
  32. Лампа сигнальная «Гідростанція включена»
  33. Лампа сигнальная «Верстат включен»
  34. Переключатель керування приспособлениями
  35. Милиамперметр
  36. Кнопка увімкнення наполнения ванны
  37. Кнопка увімкнення гідростанції
  38. Кнопка увімкнення верстата
  39. Указатель линейки грубого отсчета продольных координат
  40. Линейка грубого отсчета продольных координат
  41. Лампа сигнальная «Засорение гідросистемы»




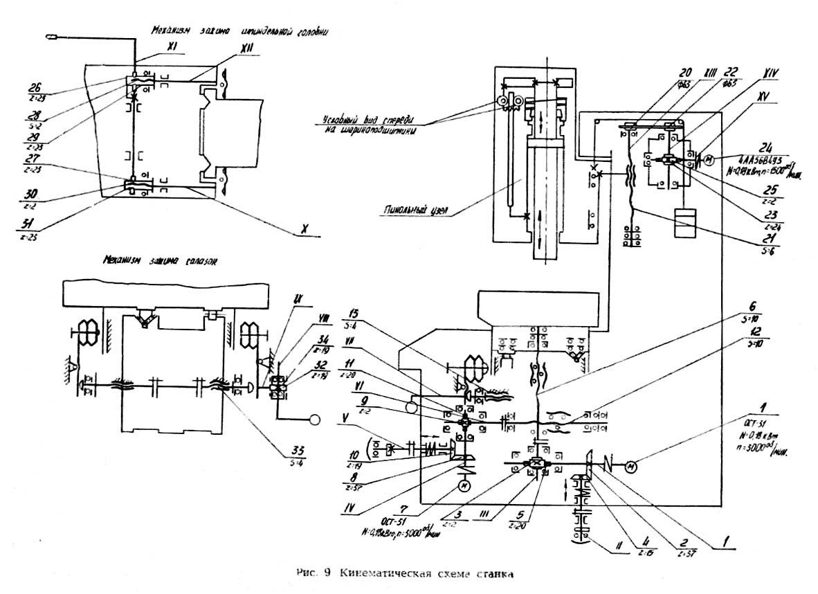
Кінематична схема копировально-прошивочного верстата 4к722аф1

Кінематична схема копировально-прошивочного верстата 4к722аф1

Кінематична схема копировально-прошивочного верстата 4к722аф1

Кінематична схема копировально-прошивочного верстата 4к722аф1. Дивитись у збільшеному масштабі



Опис конструкції електроерозионного копировально-прошивочного верстата 4к722аф1

Пинольный узел

Пиноль 1 (рис. 1) перемещается в гідростатических опорах 2. Подача осуществляется посредством гідроцилиндра 3 і поршня 4, который жестко закреплен на пиноли. При отсутствии давления в гідроцилиндре пиноль зажимается цангой 5.

Отсчет координаты «Z» производится на блоке цифровой индикации, в который сигналы поступают от датчика линейных перемещений TGM-0111, состоящего из линейки 7 ползуна 6. Линейка установлена на планке 11, жестко прикрепленной к корпусу пинольного вузла. Ползун 6 связан з пинолью і перемещается вместе з ней.

Пиноль перемещается в гідростатических опорах, ПОЭТОМУ износ подвижных деталей незначителен. Може понадобится только замена резиновых манжет 8 (рис. 4). Для етого снимаем кольцо 9 і вынимаем стакан 10.

Пинольная головка

Пинольная головка перемещается по двум призматическим направляющим колонны.

Механізм зажиму пинольной головки состоит из рукоятки 1 (рис. 5), вала 2, двух пар косозубых шестерен 3 і 4, тяг з резьбой 5, рычагов 6 і пружинных пластинок 7. При зажиме пинольной головки усилие передається рычагами 6, которые через пружинные пластинки 7 прижимают пинольную головку к колонне.

В отжатом положении зазор между рычагами і пружинными пластинками должен быть в пределах 0,1...0,15 мм. Регулювання зазору производится при помощи гаек 8 і контргаек 9.

Колонна

Колонна представляет собой коробчатую отливку з призматическими направляющими ковзання, внутри которой размещен противовес 1 (рис. 6) для уравновешивания пинольной головки. Противовес подвешен на цепях і направляется стержнями 6. В транспортное положении противовес крепится болтом 3 через компенсатор 5 к планке 4. Призматические направляющие закрыты мехами. Под защитным кожухом на верху колонны установлен редуктор з електродвигуном, который через клиноременную передачу осуществляет механическое перемещение пинольной головки. Натяжение клинового ремня производится переміщенням редуктора по пазовым отверстиям.

На правой стенке колонны установлены жесткие упоры максимальных перемещений пинольной головки, а также конечные микропереключатели, выключающие механическое перемещение пинольной головки.

Станина

Основанием верстата служит литая станина коробчатой формы з внутренними ребрами жесткости. На станине крепится колонна. По двум направляющим станины, одной плоской і одной призматической, на роликах, заключенных в сепараторы, перемещаются салазки. Направляющие качения залиты маслом, защищены стальными лентами.

Для переміщення салазок на станине установлена винтовая пара качения 1 (рис. 7) з редуктором 2 і двигателем постоянного тока 3. Для ручного переміщення салазок имеется маховичок 4.

В крайних положениях салазок происходит автоматическое відключення двигателей з помощью конечных выключателей.

Механізм зажиму салазок состоит кг. рычага 5 валика 6, зубчатой пары 7, двух рычагов 8, вала 11 і пружин С, которыми регулируется сила зажима.

Зажим салазок имеет микропереключатель, который блокирует механическое перемещение салазок при зажатом положении.

Станина ставится на три виброизоляционные опори 12 для установки верстата по уровню і для предохранения верстата от посторонних вибраций.

На станине также размещена линейка 16 грубого отсчета поперечного переміщення стола.

Стол і салазки

Стол передвигается на одной плоской і одном призматической направляючих на роликах, заключенных в сепараторы. Направляющие залиты маслом і защищены от загрязнения телескопической защитой. Во избежание опрокидывания стола установлены подпружиненные ролики, которые, опираясь на специальные упоры, прижимают стол к салазкам.

Редуктор механического переміщення стола червячный одноступенчатый. Для ручного переміщення стола на правой передньої его частини имеется маховик. В крайних положениях стола происходит автоматическое відключення двигуна з помошью конечных выключателей.

Механізм зажиму стола состоит из рукоятки 4 (см. рис. 8), вала-гвинта 5, рычага 6, пружины 7 і гаек 8.

Зажим стола имеет микропереключатель 10, который блокирует механическое перемещение стола в зажатом положении.

На столе размещена линейка грубого отсчета продольного переміщення стола, индекс отсчета находится на пульті керування.





Відомості о приспособлениях

Приспособление для резки проволокой

Приспособление для резки проволокой (рис. 19) состоит из корпуса 2, регулируемых тяг 1, катушки з проволокой 3, катушки для намотки отработанной проволоки 5 і маховика 6, передающего трением рух от електродвигуна, находящегося на той же оси к проволоке. Рядом з маховиком насажен на той же оси шкив, который через ремень 7 передает рух катушке 5.

Фланец 4 служит для крепления приспособления к пиноли верстата. Для резки проволокой под углом тяги 1 переставляются вверх или вниз или поворачиваются под нужным углом. Рабочее рух подачі пристрій получает от пиноли в следящем режиме.

Электрододержатель для некруглых електродов

Электрододержатель для некруглых електродов (рис. 20) ставится в любые приспособления, предусмотренные технологической оснасткой, имеющее внутренний конус 25 ГОСТ, 15945-82. В приспособлении електрододержатель фиксируется специальной гайкой.

Электрододержатель состоит из корпуса 1, угольника 2, трех пальцев 3, трех винтов 4 і штифта 5 для фиксации приспособления.

Патрон вставляется своим конусом 25 в одно из пристосувань согласно схеме (см. рис. 15).

Набор цанг

Набор цанг для електродов среднего диаметра. Цанги ставятся в любое пристрій, предусмотренное технологической оснасткой, имеющее внутренний конус 25 ГОСТ 15945-82. Перед тем как вставить цангу в пристрій, снимается специальная гайка приспособления, затем ставится цанга. После етого специальную гайку снова завинчивают.

В случаях когда електроды применяются з прокачкой диелектрической жидкости, конструкция их должна обеспечить плотное прилегание отверстия для прокачки (в електроде) к мембране приспособления.

Мембраны предусмотрены в головке ориентации і вращающемся шпинделе.

Розміри хвостовиков електродов, вставляемых в цангу при применении прокачки диелектрической жидкости через електрод, приведены на (рис. 22) і в таблице к рисунку.


Технологическая оснастка копировально-прошивочного верстата 4к722аф1

Технологическая оснастка копировально-прошивочного верстата 4к722аф1

Технологическая оснастка копировально-прошивочного верстата 4к722аф1

Технологическая оснастка копировально-прошивочного верстата 4к722аф1. Дивитись у збільшеному масштабі







Гідросхема копировально-прошивочного верстата 4к722аф1

Гідросхема копировально-прошивочного верстата 4к722аф1

Гідросхема копировально-прошивочного верстата 4к722аф1

Гідросхема копировально-прошивочного верстата 4к722аф1. Дивитись у збільшеному масштабі



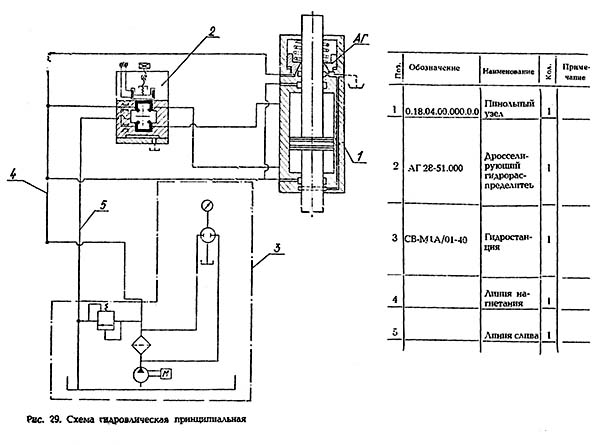
Система гідроживлення пинольного вузла (рис. 29)

Во избежание загрязнения гідросистемы на время транспортирования верстата трубопроводы і шланги в местах разъемов закрыты пробками.

Для живлення гідростатических опор пинольного вузла і следящей системы переміщення пи-ноли применяется стандартная гідроустановка СВ-М1А/01-40 з воздушным охолодженням, работающая на чистых минеральных маслах ВНИИНП-403 по ГОСТ 16728-78. Гідроустановка рассчитана на номинальное давление 2 МПа (20 кгс/см2). Масло под етим давлением поступает в распределительную плиту пинольного вузла, где разделяется на два потока. Один из них поступает для живлення гідростатических опор пиноли, а другой на автоматический гідротормоз АГ пиноли (1) і гідрораспределитель (2). Таким образом исключается возможность переміщення заторможенной пиноли.

Система диелектрической жидкости (рис. 30)

Агрегат диелектрической жидкости служит; для заполнения настольной ванны верстата диелектрической жидкостью, подачі или отсоса диелектрической жидкости в рабочую зону, а также для её очистки і охлаждения.

В качестве диелектрической жидкости служит «Сырье углеводородное» ТУ38.101845-80, рабочая жидкость РЖ-3 ТУ38.101964-83, или заменитель-смесь, состоящая из 50% керосина осветительного ГОСТ 4753-68 і 50% «Масла индустриального общего назначения И-12А» ГОСТ 20799-75.

Агрегат заполняется 400 л. Жидкость из ванны в систему подается насосом 11 через теплообменник 14 воздушного охлаждения і фильтр 16. Далее поток жидкости разделяется. Одна часть жидкости через гідросопротивление 17 поступает в настольную ванну верстата 23. Кран 22 служит для швидкого заполнения настольной ванны.

Другая часть жидкости поступает в регулятор расхода диелектрической жидкости 10, из которого через шестеренчатый насос 13 поступает в межелектродный зазор. Електродвигун 24 управляется генератором ШГИ-63-440М, что в совокупности образует третий канал адаптивного керування.

ВНИМАНИЕ Регулятором 10 установить рабочее давление 0,01...0,02 МПа.

Через насос БГ11-11А 12 диелектрична жидкость поступает в регулятор расхода 9, а из него по двум направлениям в зависимости от переключения регулятора расхода диелектрической жидкости: на «Прокачки» или «Отсос».

При положении «Прокачка» жидкость через ротаметр 18, поступает в рабочую зону. Для измерения давления і вакуума (при отсасывании) предусмотрен вакуумметр 20.

При переключении регулятора диелектрической жидкости 9 на работу «Отсос» жидкость идет на слив. При етом рабочая жидкость из рабочей зоны поступает в регулятор расхода диелектрической жидкости і далее идет на слив. Манометры 15 служат для определения степени загрязнения фильтров.

В Н И М А Н И Е! Предохранительный клапан 7 установить на давление Р ≤ 0,5 МПа.


Настановне креслення копировально-прошивочного верстата 4к722аф1

Настановне креслення копировально-прошивочного верстата 4к722аф1

Настановне креслення копировально-прошивочного верстата 4к722аф1





4к722аф1 Верстат електроерозионный. Відеоролик.




Технічні характеристики сверлильного верстата 4к722аф1

Наименование параметра 4к722аф1
Основні параметри верстата
Класс точності верстата А
Розміри рабочей поверхности стола, мм 400 х 630
Количество Т-образных пазов ГОСТ 6569—75 5
Ширина зажимных Т-образных пазов по ГОСТ 1574—75, мм 12Н12
Ширина среднего Т-образного паза, мм 12Н8
Расстояние между Т-образными пазами по ГОСТ 6569—75, мм 801S4
Наибольший ход стола (поперечний / продольный), мм 250 / 400
Наибольшее расстояние от торца пиноли до рабочей поверхности стола, мм 690
Расстояние от оси пиноли до колонны, мм 400
Вместимость ванны стола, л 110
Скорость поворота рукава, м/мин
Наибольший уровень диелектрической жидкости над рабочей поверхностью стола, мм 300
Наибольший ход пиноли, мм 200
Наибольший ход пинольной головки, мм 280
Точность отсчета координат, мм 0,001
Точность установки по осям X і У, мм ±0,005
Точность установки по оси Z, мм 0,002
Наибольшая допустимая масса електрода-инструмента з електродержателем, кг 30
Наибольшая производительность по закаленной стали 45 ГОСТ 1050—74, мм3/мин 500—15%
Наилучшая шероховатость обработанной поверхности по закаленной стали ГОСТ 1050—74, мкм Ra 1,25
Корректированный уровень звуковой мощности, LpA, дБА 95
Електроустаткування. Привод
Питающая електросеть, В 380±38
Тип цифровой индикации перемещений по координатам X, Y, Z ЛЮМО-61
Источник импульсов тока широкодиапазонный генератор импульсов ШГИ-63-440М
Номинальная сила тока генератора, А 63
Максимальная потребляемая мощность, кВт 6
Ланцюг керування, В ~110
Ланцюг местного освещения, В ~24
Количество електродвигателей на станке
Електродвигун приводу салазок, кВт (об/мин) =0,37 ДПМ-2,5 (1500)
Електродвигун приводу стола, кВт (об/мин) =0,37 ДПМ-2,5 (1500)
Електродвигун приводу пинольной головки, кВт 0,18 (1500)
Електродвигун обертання шпинделя, кВт =0,055 (3600..4600)
Електродвигун насоса гідравлики, кВт 1,1 (1500)
Електродвигун насоса диелектрической жидкости, кВт 2,2
Електродвигун прокачки диелектрической жидкости через межелектродный зазор, кВт =0,055 (4600)
Електродвигун отсоса диелектрической жидкости через межелектродный зазор, кВт 0,27 (1400)
Електродвигун обертання орбитальной головки, кВт =0,055 (3600..4600)
Електродвигун приспособления резки проволокой, кВт 0,01
Суммарная мощность установленных електродвигателей і источника импульсов тока, кВт 10,965
Габарити і масса верстата
Габарити верстата (длина ширина высота), мм 1565 х 1590 х 2410
Масса верстата (с приставным обладнанням), кг 2800 (4400)