metalinstryment.com
Довідник по металорізальних верстатів та пресовому обладнанні

5А308П Верстат зубофрезерный вертикальний для цилиндрических колес
схеми, опис, характеристики

5А308П Верстат зубофрезерный вертикальний для цилиндрических колес







Відомості про виробника вертикального зубофрезерного верстата 5А308П

Производитель вертикального зубофрезерного верстата 5А308П Вильнюсский станкостроительный завод им. 40-летия Октября.

Завод специализировался на выпуске зубообрабатывающего оборудования для обробки зубьев цилиндрических зубчатых колес і шлицев в условиях как единичного, так і массового производства. Завод выпускал, также, серию малогабаритных прецизионных токарных верстатів з ЧПУ 1700ВФ30, 1700СФ30, 17М00ВФ30.





Продукция вильнюсского станкостроительного завода им. 40-летия Октября


5А308П Верстат вертикальний зубофрезерный для цилиндрических колес універсальний. Назначение і область применения

Полуавтомат зубофрезерный 5А308П предназначен для фрезерування цилиндрических колес из чугуна, стали, легированных сталей, легких сплавов і пластмасс методом обкатки в условиях мелкосерийного, серийного і крупносерийного производства.

Принцип роботи і особливості конструкції верстата

При чистовых режимах напівавтомат обеспечивает 6 степень точності обработанных шестерен по ГОСТ 9178—59 при условии нарізання червячными фрезами класса ААА.

Полуавтомат работает по способу обкатки червячной фрезы і обрабатываемого колеса.

Полуавтомат имеет горизонтальную компоновку з фрезерной кареткой, перемещающейся по направляющим параллельно оси заготовки.

Шпиндель инструмента, установленный на вертикальном суппорте каретки, получает вращение через телескопический універсальний шарнир.

Налаштування числа оборотів фрезы производится переключением коробки швидкостей, а налаштування величины подачі і числа обрабатываемых зубьев — гітарами сменных колес.

Делительный червяк выполнен з прогрессивным шагом для регулировки зазору в делительной червячной паре.

Увімкнення верстата по напівавтоматическому циклу производится рукояткой подъема фрезы на межцентровое расстояние обробки.


Габарити робочого простору зубофрезерного верстата 5А308П

5А308П Верстат зубофрезерный. Габарити робочого простору

Габарити робочого простору зубофрезерного верстата 5А308П

Габарити робочого простору зубофрезерного верстата 5А308П. Дивитись у збільшеному масштабі


Посадочные і присоединительные базы инструмента зубофрезерного верстата 5А308П

Посадочные і присоединительные базы инструмента зубофрезерного верстата 5А308П

Ескіз шпинделя вироби верстата 5А308П


Загальний вигляд і общее пристрій зубофрезерного верстата 5А308П

5А308П зубофрезерный. Загальний вигляд

Фото зубофрезерного верстата 5А308П


5А308П зубофрезерный. Загальний вигляд

Фото зубофрезерного верстата 5А308П


5А308П зубофрезерный. Загальний вигляд

Фото зубофрезерного верстата 5А308П


5А308П зубофрезерный. Загальний вигляд

Фото зубофрезерного верстата 5А308П


5А308П зубофрезерный. Загальний вигляд

Фото зубофрезерного верстата 5А308П


5А308П зубофрезерный. Загальний вигляд

Фото зубофрезерного верстата 5А308П


5А308П зубофрезерный. Загальний вигляд

Фото зубофрезерного верстата 5А308П


5А308П зубофрезерный. Загальний вигляд

Фото зубофрезерного верстата 5А308П



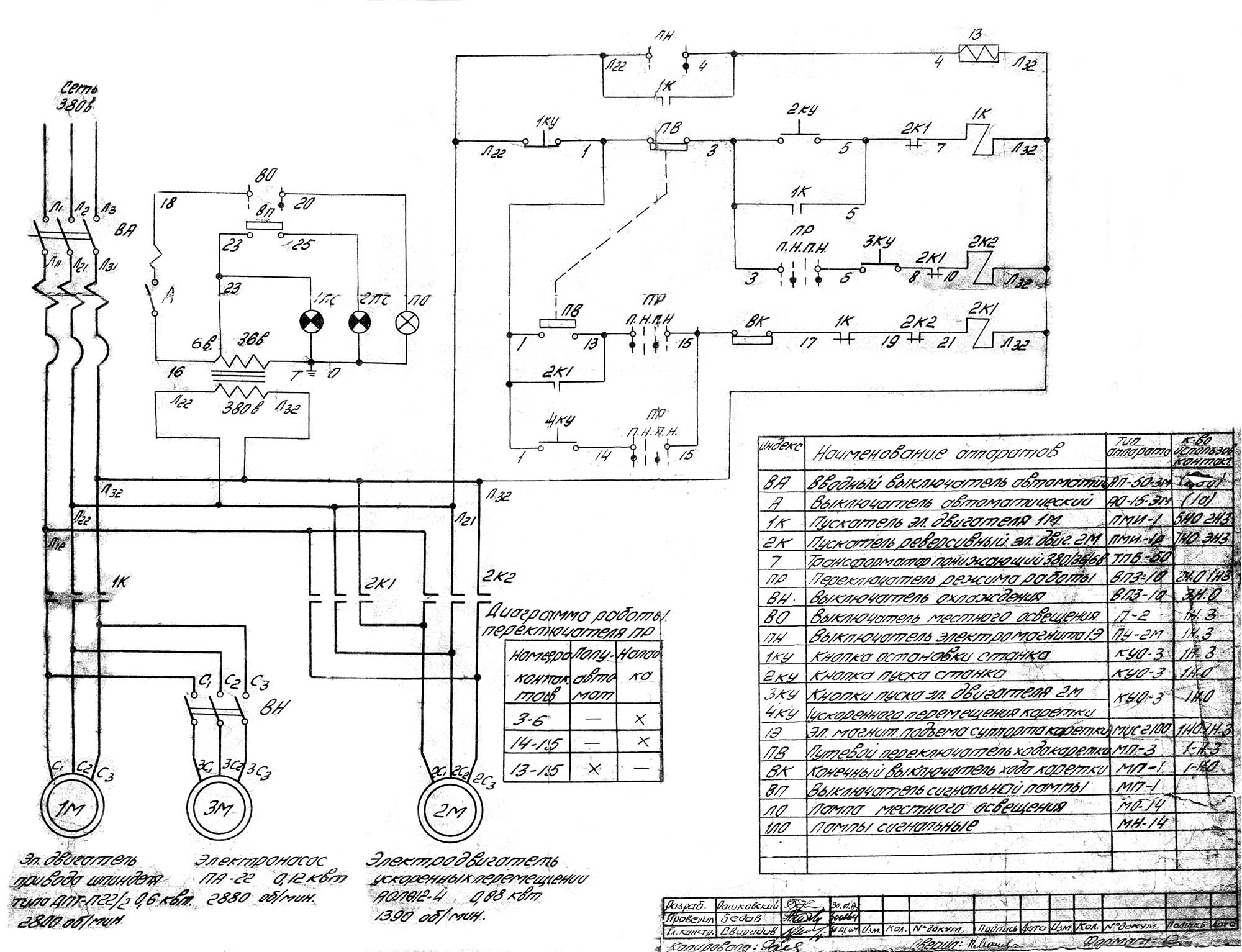
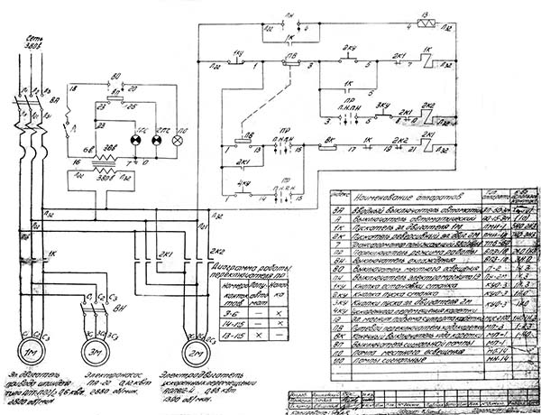
5А308П Розташування органів керування зубофрезерным 5А308П

Розташування органів керування зубофрезерным верстатом 5А308П


Список органів керування зубофрезерным 5А308П

  1. Переключатель режима роботи
  2. Кнопка швидкого відведення каретки
  3. Рукоятки зажиму задньої бабки
  4. Рукоятка зажиму детали
  5. Лимб установки межосьового расстояния
  6. Кнопка швидкого подвода каретки
  7. Сигнальная лампа верхнего положения суппорта каретки
  8. Кнопка „Пуск"
  9. Кнопка „Стоп"
  10. Главный выключатель
  11. Сигнальная лампа „Верстат под напряжением"
  12. Переключатель подъема суппорта каретки
  13. Выключатель освещения
  14. Выключатель охлаждения
  15. Рукоятки переключения коробки швидкостей
  16. Кулачки для установки длины ходу каретки
  17. Гітара деления
  18. Гітара подач
  19. Сменные шестерни




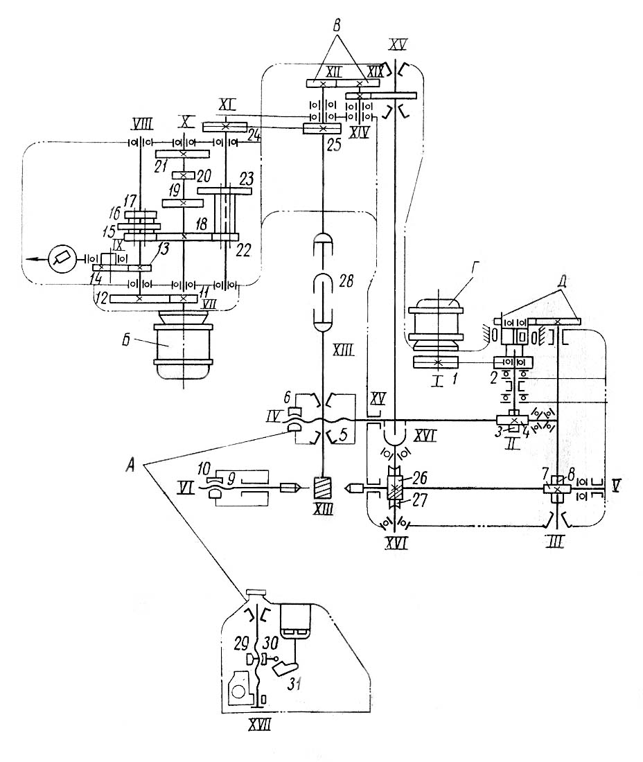
Схема кінематична зубофрезерного верстата 5А308П

Кінематична схема зубофрезерного верстата 5А308П

Кінематична схема зубофрезерного верстата 5А308П

1. Кінематична схема зубофрезерного верстата 5А308П. Дивитись у збільшеному масштабі

2. Кінематична схема зубофрезерного верстата 5А308П. Дивитись у збільшеному масштабі



Рис 8. Кінематична схема:

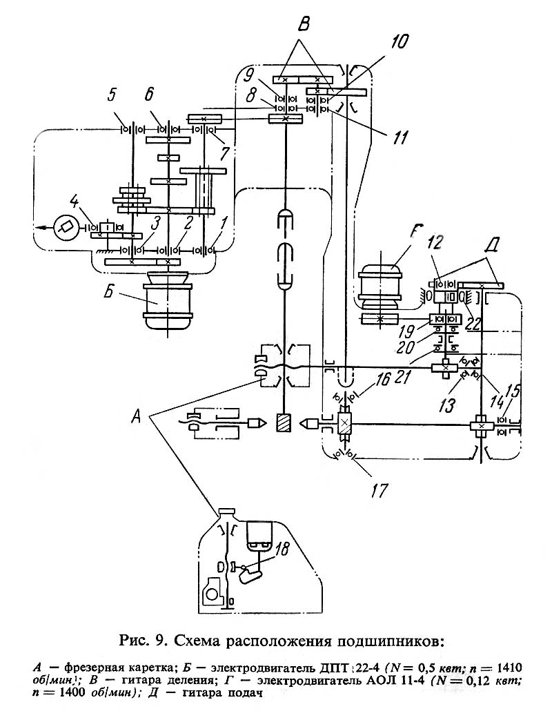
Розташування підшибників в станке 5А308П

Розташування підшибників зубофрезерного верстата 5А308П



Установка числа оборотів шпинделя в станке 5А308П

Установка числа оборотів шпинделя зубофрезерного верстата 5А308П



Опис кінематичної схеми зубофрезерного верстата 5А308П

Кинематическая ланцюг верстата може быть разделена на четыре частини: ланцюг головного руху, ланцюг деления, ланцюг подач і ланцюг ускоренного переміщення фрезерной каретки.

Ланцюг головного руху получает вращение от електродвигуна ДПТ 22-4 (N = 0,5 кВт; n = 1410 об/мин). Вращение з вала VII через шестерни 11, 12, передається на вал VIII коробки швидкостей. Далее через блок шестерен 15, 16 і 17, сидящий на валу VIII, шестерни 18, 19, 20 і 21, сидящие на валу X, і блок шестерен 22 і 23 рух передається на вал XI. За счет переключения блоков шестерен получается шесть швидкостей обертання шпинделя фрезы. С вала XI через шкивы 24 і 25 рух передається на приводной вал XII і через шарнирно-телескопическое соединение на шпиндель XIII фрезы.

Ланцюг деления получает вращение от приводного вала XII. Через гітару деления і делительную пару 26, 27 рух передається на шпиндель вироби. Ділильна шестерня имеет 50 зубьев, червяк однозаходный з переменной толщиной витка, что позволяет регулировать боковой зазор в делительной паре перемещая червяк.

Ланцюг подач получает рух от шпинделя вироби. Через винтовую пару 8 і 7 рух передається на вал III і через сменные шестерни гітари подач, реверсивную обгонную муфту на вал II. С вала II через винтовую пару 4 і 3, вал IV, винт 5 і гайку 6 рух подачі передається фрезерной каретке.

Ускоренное перемещение фрезерной каретки осуществляется от електродвигуна АОЛ 11-4 (N = 0,12 кВт; n = 1390 об/мин) через шкивы 1 і 2, реверсивную обгонную муфту, вал II, винтовую пару 3 і 4, винт 5 і гайку 6.


Цикл роботи верстата

При нажатии кнопки головного выключателя загорается синяя сигнальная лампочка „Верстат под напряжением", а при нажатии кнопки „Пуск" включается електродвигатель ДПТ 22-4, от которого получает рух ланцюг головного руху і ланцюг подач. При етом включается електромагнит, поднимающий супорт в рабочее положение. Рычаг, соединенный з кулачком подъема суппорта, включает зеленую лампочку, которая сигнализирует о подъеме фрезы в верхнее рабочее положение.

По окончании робочого ходу фрезерна каретка регулируемым упором выключает електродвигатель ДПТ 22-4 і електромагнит включает електродвигатель АОЛ 11-4, который приводит в рух ланцюг ускоренного обратного ходу. При отходе фрезерной каретки в исходное положение упор выключает двигатель ускоренного ходу. Фрезерная каретка останавливается. Для повторения цикла необходимо вновь нажать кнопку „Пуск".





Основні группы верстата. Особливості окремих групп верстата станина

Зубофрезерный верстат 5А308П підвищеної точності состоит из следующих групп:


Станина

Станина (рис. 10) представляет собой коробчатую отливку, в которой размещены основні вузли і механізмы верстата: шпиндель вироби, задня бабка, делительный механізм, механізм подачі і механізм ускоренного переміщення фрезерной каретки.

Шпиндель вироби

Шпиндель вироби 2 (рис. 11) вращается в двух бронзовых підшипниках ковзання 4 і 13, установленных в конусных отверстиях станины 1. Регулювання підшибників производится при помощи гаек 3, 5, 12 і 14.

На шпинделе з помощью гвинта 8 і контргайки закреплена делительная червячная шестерня 7, которая находится в зацеплении з делительным червяком. Закрепленная на шпинделе винтовая шестерня 10 находится в зацеплении з винтовой шестерней ведущего вала гітари подач. Осевое усилие фрезерування воспринимается упорным шариковым подшипником 11. Для предотобертання переміщення шпинделя в осевом направлении і установки червячной делительной шестерни 7 служат регулировочная гайка 9 і компенсационное кольцо 6.

Задня бабка

Задня бабка (рис. 12) 1 предназначена для закрепления оправки з изделием. Зажим вироби производится поворотом рукоятки 3. При етом гайка 4 своим скосом скользит по винтовому пазу стакана 5 і перемещает пиноль 2 влево. Усилие зажиму регулируется вращением пиноли. После зажиму вироби пиноль фиксируется тангенциальным зажимом.

Делительный механізм

Делительный механізм согласовывает вращение шпинделя вироби з фрезой при помощи гітари деления. Налаштування гітари деления производится по таблице.

Делительный механізм состоит из гітари деления і делительной червячной пары.

Гітара деления (рис. 13) расположена в корпусе 5, который закреплен на станине 1. Ведущий вал 7 установлен в гітарі 6 на двух радиальных підшипниках. На валу 7 сидит шкив приводу 4. Передний конец вала соединен з телескопическим шарниром шпинделя фрезы, на другом кінці вала посажена шестерня гітари деления. Гітара може быть повернута в корпусе 5 на определенный угол і закреплена в етом, положении при помощи гайки 13 і зажиму 75. На свободном кінці гітари установлен корпус 8 з пальцем 9 для промежуточных шестерен. Корпус може быть передвинут по шпоночному пазу гітари і закреплен в нужном положении гайкой 14.

Ведомый вал 10 гітари деления вращается в бронзовых підшипниках ковзання 3 і 12, установленных в стакане 11. Компенсационное кольцо 2 ограничивает осевое перемещение вала.

Червячная делительная пара

Червячная делительная пара (рис. 14) состоит из червяка 2 з двойным шагом і переменной толщиной витка і червячного колеса 1. Червяк 2 выполнен заодно целое з валом і установлен в гильзе 3 на двух радиально — упорных шариковых підшипниках. Вал червяка получает вращение от ведомого вала 7 гітари через втулку 5. Втулка на валу червяка закреплена неподвижно, а на ведомый вал гітари посажена по скользящей посадке і соединена з ним регулируемой шпонкой 6. На наружной поверхности передньої частини гильзы 3 нарезаны зубья, которые находятся в зацеплении з червяком 4. Червяк 4 може перемещать гильзу 3 вместе з червяком 2, чем обеспечивается регулировка бокового зазору в зацеплении червячной пары. При регулировке зазору червяк 4 необходимо повернуть только на некоторую часть оборота і затем проверить плотность зацепления. После чего необходимо закрепить гильзу тангенциальным зажимом.

Механізм подачі

Механізм подачі (рис. 15) смонтирован в верхней частини станины 9 под крышкой 4. Подача настраивается з помощью двух сменных шестерен. Вал 10 приводится во вращение через реверсивную обгонную муфту (детали 1—3).

С вала 10 через винтовую шестерню 11 вращение передається на винтовую шестерню 3 (см. рис. 10). Далее через винт 1 і гайку 2 рух сообщается фрезерной каретке. Компенсационное кольцо 4 ограничивает осевое перемещение шестерни 3.

Механізм ускоренного переміщення фрезерной каретки

При ускоренном перемещении фрезерной каретки електродвигатель АОЛ 11-4 через клиноременную передачу передает вращение на шкив 8 (см. рис. 15). Шкив своими выступами расклинивает обойму 3 і через ролики 1 і ступицу 2 передает рух на вал 10.


Стойка

Стойка 5 (рис. 16) имеет прямоугольную форму. Внутренние перегородки обеспечивают достаточную жесткость стойки. Ввиду отсутствия наружных боковых стенок стойка имеет небольшой вес.

Внутри стойки размещены: коробка швидкостей 2, система охлаждения 1, панель з електроаппаратурой 6, ящик для сменных шестерен 3. Пульт керування верстата 4 вынесен на переднюю стенку. Верхня часть стойки служит маслоотстойником. На верхней плоскости стойки устанавливается станина.

Коробка швидкостей

Коробка швидкостей (рис. 17) смонтирована в корпусе 10. Три основних вала (I, II, III) установлены на шариковых підшипниках. Вал I приводится от фланцевого електродвигуна ДПТ 22-4 через шестерни 1 і 2. Через блок шестерен 5, 6 і 7, шестерни на валу II і блок шестерен 8 і 9 вращение передається на вал III. За счет переключения блоков шестерен получается 6 швидкостей обертання фрезы. В коробке швидкостей также имеется ось IV, на которой вращается шестерня 3. Через шестерню 3 и, сидящий на ней ексцентрично шарикоподшипник 4, осуществляется привід насоса змазки.

Переключення блоков шестерен осуществляется поворотом рычага 1 (рис. 18) і ступицы 2.


Фрезерная каретка

Фрезерная каретка (рис. 19) смонтирована на станине і перемещается но її направляющим, имеющим форму „ласточкина хвоста".

Фрезерная каретка состоит из следующих вузлів: фрезерной слойки, микрометрической головки і суппорта со шпинделем фрезы.

Фрезерная стойка

Внутри фрезерной стойки 3 смонтирован електромагнит МИС 2100, якорь которого шарнирно соединен з рычагом 4 подъема і опускания фрезерного суппорта і шпинделя фрезы. Перепад по кулачку равен 2,5 мм, что позволяет вывести фрезу из зоны різання при нарезании шестерен з максимальным модулем.

Для установки фрезы на угол подъема корпус вместе з суппортом поворачивается относительно нижней плиты 1. Поворот производится вращением гвинта 2, крепление корпуса — гвинтами 5.

Микрометрическая головка

Микрометрическая головка служит для установки фрезы на глубину фрезерування. Она состоит из втулки 11, лимба 13, микрогвинта 7, гайки 6 і диференціальной гайки 15. Микровинт через рычаг 17 соединен з суппортом 16. Втулка 11 от осевых смещений ограничивается компенсационным кольцом 12. Пружина 9 через фиксатор 8 постоянно прижимает супорт к рычагу 4 і возвращает супорт в нижнее положение по окончании обробки вироби. Усилие пружины 9 регулируется винтом 10. Для предварительного отсчета установленного межосьового расстояния служит линейка 18 і нониус 19, укрепленные соответственно на фрезерной стойке і суппорте. Окончательный отсчет установленного межосьового расстояния производится совмещением соответствующего деления на лимбе 13 з риской на кольце 14. Проверка межосьового расстояния производится установкой точных мерных плиток между шпинделем фрезы і оправкой, установленной в центрах, і совмещением риски нониуса з линейкой і нулевой риски з риской на полукольце.

Суппорт і узел шпинделя фрезы

По вертикальным направляющим фрезерной стойки, имеющим форму „ласточкина хвоста", перемещается фрезерный супорт з установленной на нем обоймой 2 (рис. 20) со шпинделем фрезы 1. Обойма може быть выдвинута вдоль оси обертання червяка 3 і закреплена тангенциальным зажимом.

Шпиндель фрезы в передньої частини имеет консольную посадочную шейку для червячной фрезы. Опорами шпинделя спереди является двойной конус і сзади конусная втулка 4, которая соединена со шпинделем штифтом б. Зазор в опорах устраняется гайкой 5, которая стопорится гвинтами.

Регулювання зазору в направляючих фрезерной стойки і станины, а также в направляючих суппорта і фрезерной стойки производится клином.

Шарнирно-телескопический вал (рис. 21) служит для передачи обертання к шпинделю фрезы. Он состоит из двух кінцівых вилок 1 і двух промежуточных вилок 2, соединенных между собой крестовинами 3. В процессе роботи шарнирно-телескопический вал необходимо периодически смазывать.


Система змазки

Система змазки (рис. 25) в основном принудительная і осуществляется от плунжерного насоса, смонтированного в коробке швидкостей. Насос нагнетает масло из резервуара через фильтр в распределитель. Из распределителя масло поступает на обгонную муфту, на підшипники шпинделя вироби, подшипник ведомого вала гітари деления, сменные шестерни, подшипник ведущего вала гітари деления, на червячную делительную пару, підшипники ходового гвинта, направляющие, на ходовой винт, шпиндель фрезы і на маслоуказатель. Подачу масла в любую точку можно отрегулировать з помощью винтов маслораспределителя.

Отработанное масло стекает по стенкам в отстойник, откуда по трубке попадает в резервуар коробки швидкостей.

Смазка шестерен і підшибників коробки швидкостей происходит разбрызгиванием.

В качестве смазочной жидкости следует применять масло „Индустриальное 20" (ГОСТ 1707-51).

При замене масла нужно отвернуть пробки 1 і 11, слить масло из отстойника і коробки швидкостей і очистить фильтр. Перед началом роботи необходимо проверить наличие змазки в резервуаре коробки швидкостей і убедиться в исправности системы. Очень важно исключить течь масла через присоединительные места. Особое внимание следует обращать на подачу змазки на шпиндель і направляющие суппорта.

Места і периодичность ручной змазки указаны в таблице.




Схема електрична зубофрезерного верстата 5А308П

Схема електрична зубофрезерного верстата 5А308П

Електрична схема зубофрезерного верстата 5А308П

Схема електрична зубофрезерного верстата 5А308П. Дивитись у збільшеному масштабі



5А308П Настановне креслення зубофрезерного напівавтомату

Настановне креслення зубофрезерного напівавтомату 5А308П

Настановне креслення зубофрезерного напівавтомату 5А308П

Технічні характеристики зубофрезерного верстата 5А308П

Технічні характеристики зубофрезерного верстата 5А308П

Технічні характеристики зубофрезерного верстата 5А308П

Технічні характеристики зубофрезерного верстата 5А308П. Дивитись у збільшеному масштабі



    Список литературы

  1. Зубофрезерный верстат підвищеної точності 5А308П, Руководство, 1964

  2. Колев Н.С. Металлорежущие верстати.
  3. Гальперин Е.И. Наладка зуборезных верстатів, 1960.
  4. Козлов Д.Н. Зуборезные роботи, 1971.
  5. Лоскутов В.В., Ничков А.Г. Зубообрабатывающие верстати, 1978.
  6. Малахов Я.А. Зубообрабатывающие і резьбофрезерные верстати і их наладка, 1972.
  7. Мильштейн М.З. Нарезание зубчатых колес, 1972.
  8. Овумян Г.Г., Адам А.И. Справочник зубореза, 1983.
  9. Писманик К. М., Шейко Л. И., Денисов В. М. Верстати для обробки конических зубчатых колес, 1993
  10. Птицин Г.А., Кокичев В.Н. Зуборезные верстати, 1957.
  11. Сильвестров Б.Н., Захаров И.Д. Конструкція і наладка зуборезных і резьбофрезерных верстатів, 1979.
  12. Шавлюга Н.И. Расчет і примеры наладок зубофрезерных і зубодолбежных верстатів, 1978.
  13. Список литературы для налаштування верстата

  14. Верстат для нарізання спиральнозубых конических колес моделі 528с. Руководство к верстату, ЭНИМС, МЗКРС 1956 год.
  15. Инструкция по расчету наладочных установок зуборезных верстатів моделі 525 і 528 для нарізання конических колес со спиральными зубьями, ЭНИМС, МЗКРС.
  16. Руковдство по расчету геометрических размеров гипоидных зубчатых колес і наладок для их нарізання на верстатах моделей 528с, 528с, 5а27с1, Саратовский завод тяжелых зуборезных верстатів, 1967 год.
  17. Руковдство по расчету наладок верстатів 528с, 525 і 5а27с4п для нарізання конических колес методом обкатки, Саратовский завод тяжелых зуборезных верстатів, 1969 год.








Заказать

Кто владеет информацией - тот владеет миром.

Натан Ротшильд