metalinstryment.com
Довідник по металорізальних верстатів та пресовому обладнанні

6904ВФ2 Верстат горизонтально-фрезерный з ЧПУ
Схеми, опис, характеристики

Верстат горизонтально-фрезерный 6904ВФ2 з ЧПУ







Відомості про виробника горизонтально-фрезерного верстата моделі 6904ВФ2

Изготовитель горизонтально-фрезерного верстата моделі 6904ВФ2 - Одесский завод прецезионных верстатів им. XXV съезда КПСС, основанный в 1968 году. В настоящее время ОАО "Микрон".

Проектная организация — Специальное конструкторское бюро прецизионных верстатів (СКБ ПС) при Одесском заводе прецизионных верстатів им. XXV съезда КПСС.





Верстати, выпускаемые Одесским заводом прецезионных верстатів


6904ВФ2 Верстат фрезерный горизонтальный з поворотным столом з ЧПУ. Назначение, область применения

фрезерный верстат 6904ВФ2 з поворотным столом горизонтальный з числовым программным керуванням (ЧПУ) предназначен для комплексной обробки корпусных деталей средних размеров (300 х 300 х 300 мм) со всех сторон, кроме базовых, без переустановок на столе.

На фрезерном станке 6904ВФ2 можно производить получистовое і чистовое фрезерование деталей из чугуна, стали, цветных металлов і пластмасс, а также растачивание, сверление, зенкерование, развертывание отверстий і нарезание різьби метчиками по заданной программе.

Принцип роботи і особливості конструкції верстата

Верстат 6904ВФ2 является типичным представителем верстатів 9-ой подгруппы, в которую чаще входят верстати горизонтальной компоновки, предназначенные для комплексной обробки корпусных деталей средних размеров з одного установа.

фрезерный верстат 6904ВФ2 имеет горизонтальную компоновку. Станина представляет собой основание, на котором установлена колонна. По вертикальным направляющим колонны перемещается шпиндельна головка (рух подачі по координате У) головним движением является вращение горизонтально расположенного в шпинделе головке шпиндельного вузла.

По горизонтальным направляющим основания перемещается крестовый поворотный стол, который обеспечивает продольную подачу X, поперечную Z і круговую, поворот вокруг вертикальной оси β. На лицевой стороне колонны размещен механізм смены инструмента, состоящий из магазина і автооператора. Структурна формула верстата для модификации, не имеющей пристроя автоматичною смены инструмента имеет вигляд β X Y Z О Y Cv.

Керування верстатом 6904ВФ2 автоматическое от позиционной системы числового программного керування, снабженной цифровой индикацией задания.

На станке программируются координатные переміщення стола, шпиндельной головки, скорости етих перемещений, режими обробки і циклы обробки.

В станке применена електроиндуктивная система отсчета координат, использованы замкнутые з предварительным натягом направляющие качения і шариковые винтовые пары. В сочетании з високою жесткостью верстата ето обеспечивает большую производительность і точность обробки.

Класс точності верстата В. Чистота обробки V6 — V7.


Гамма фрезерных верстатів з крестовым столом і различной степенью автоматизации

Специальное конструкторское бюро прецизионных верстатів (СКБ ПС) при Одесском заводе прецизионных верстатів им. XXV съезда КПСС разработало гамму фрезерных верстатів различной степени автоматизации.

Верстати производились на Одесском заводе прецизионных верстатів им. XXV съезда КПСС, на Витебском станкостроительном заводе им. Кирова "Вистан" (2206ВМФ4) і Вильнюсском станкостроительном заводе "Жальгирис" (2202ВМ1Ф4).





6904ВФ2 Габаритные розміри робочого простору горизонтально-фрезерного верстата

Габаритные розміри робочого простору горизонтально-фрезерного верстата 6904ВФ2

Габаритные розміри робочого простору горизонтально-фрезерного верстата 6904ВФ2

Габаритные розміри робочого простору горизонтально-фрезерного верстата 6904ВФ2. Дивитись у збільшеному масштабі



6904ВФ2 Посадочные і присоединительные базы горизонтально-фрезерного верстата

Посадочные і присоединительные базы горизонтально-фрезерного верстата 6904ВФ2

Посадочные і присоединительные базы горизонтально-фрезерного верстата 6904ВФ2

Посадочные і присоединительные базы горизонтально-фрезерного верстата 6904ВФ2. Дивитись у збільшеному масштабі



6904ВФ2 Загальний вигляд горизонтально-фрезерного верстата

Фото горизонтально-фрезерного верстата 6904ВФ2

Фото горизонтально-фрезерного верстата 6904ВФ2



Фото горизонтально-фрезерного верстата 6904ВМФ2

Фото горизонтально-фрезерного верстата 6904ВмФ2 з ЧПУ і АСИ



Фото горизонтально-фрезерного верстата 6904ВМФ2

Фото горизонтально-фрезерного верстата 6904ВмФ2




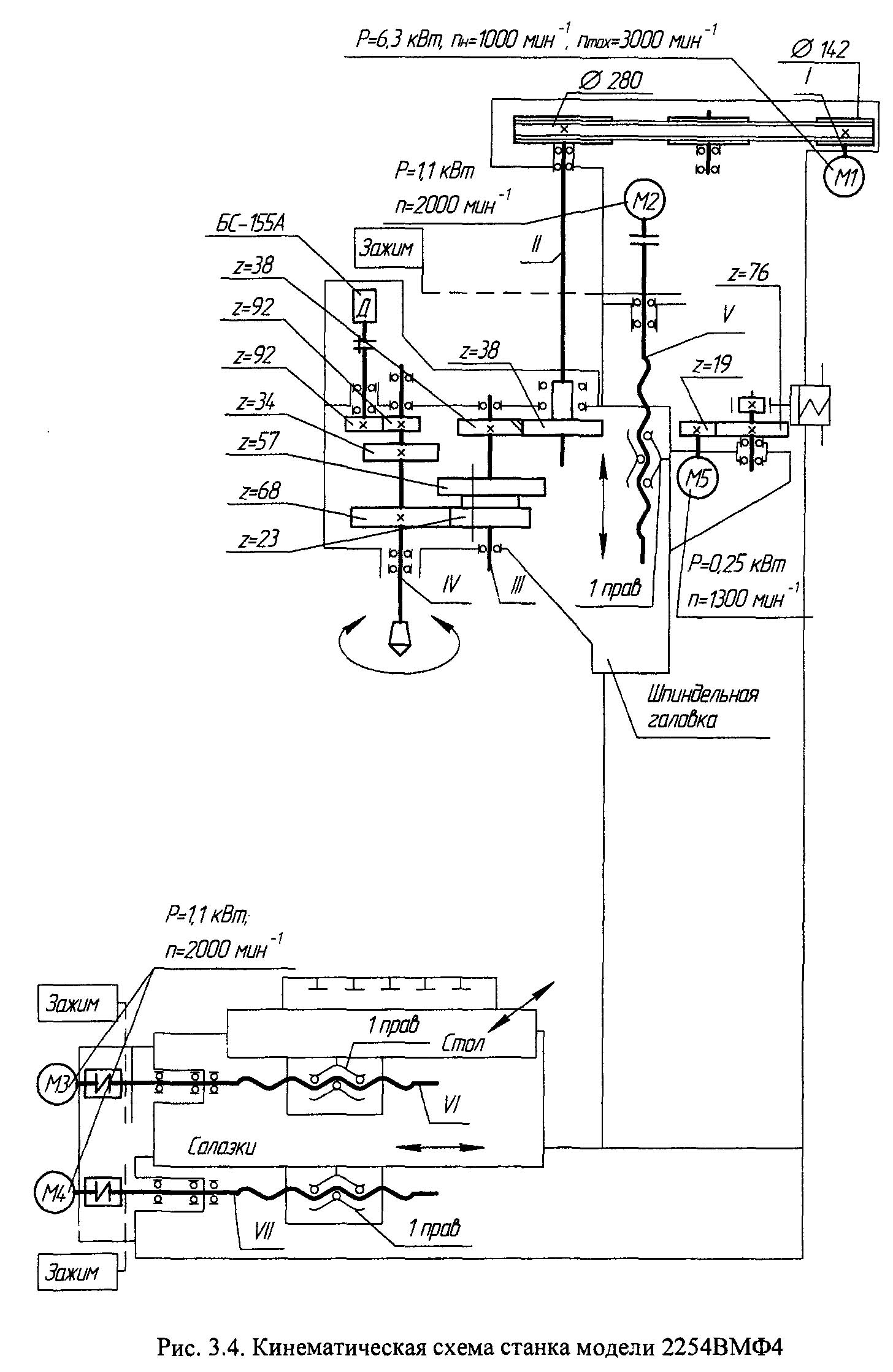
2254ВМФ4 Кінематична схема горизонтального фрезерного верстата

Кінематична схема 2254ВМФ4 вертикального сверлильно-фрезерно-расточного верстата

Кінематична схема горизонтального фрезерного верстата 2254вмф4

Схема кінематична вертикального сверлильно-фрезерно-расточного верстата 2254ВМФ4. Дивитись у збільшеному масштабі



Главное движение

Шпиндель верстата получает вращение от електродвигуна постоянного тока M1 (рис. 3.3) через зубчатоременную передачу 18 - 45, коническую пару зубчатых колес 35 - 35 і подвижной блок Б1, обеспечивающий переключение двух диапазонов частот обертання. Переключення блока Б1 осуществляется отдельным двигателем М2 со встроенным редуктором через пару конических колес Z = 18 - 50 і систему рычагов.

Контроль положения блока Б1 осуществляется микропереключателем. Частота обертання шпинделя определяется выражением:


nшп = 18/45 · 35/35 · 57/33 · (23/68)


Механізми подачі

Механізми подачі, включающие продольное і поперечное перемещение стола, его поворот, а также вертикальное перемещение шпиндельной головки, конструктивно выполнены одинаково.

От двигателей постоянного тока М3, М4 і М5 з тиристорным керуванням рух передається через двухступенчатые (координаты Z і У) і трехступенчатые (координата X) редукторы винтовым передачам качения з шагом 10 мм. Круговая подача осуществляется от електродвигуна М6 через трехступенчатый редуктор і червячную передачу.

Уравнения кинематического баланса, описывающие руху подач, имеют вид:


Sверт = 22/55 · 50/50 · 36/72 · 10 мм/мин



Sпрод = 22/32 · 32/37 · 20/72 · 10 мм/мин



Sпоп = 25/42 · 20/72 · 10 мм/мин



Sкруг = 25/49 · 25/34 · 23/40 · 1/100 · 360


Отсчетно-измерительная система верстата

Отсчетно-измерительная система верстата - замкнутая з индуктивными і фотоелектрическими датчиками. Отсчет продольного переміщення производится фотоимпульсным датчиком, а углового переміщення круговым електроиндуктивным датчиком (все датчики обозначены буквой Д).

Отсчет поперечных і вертикальних перемещений осуществляется з помощью индуктивных датчиков, якори которых соединены з дополнительными ходовыми гвинтами, соответственно, XIX і XXXIII, в свою очередь связанными з соответствующими ходовыми гвинтами подачі через диференціальные механізмы. Сигнал рассогласования измеренный датчиками поступает в блок керування приводов и, через систему слежения, посредством електродвигателей М7 і М8 производит доворот отсчетных винтов в сторону уменьшения сигнала рассогласования.

6904ВФ2 Настановне креслення горизонтально-фрезерного верстата

Настановне креслення горизонтально-фрезерного верстата 6904ВФ2

Настановне креслення горизонтально-фрезерного верстата 6904ВФ2

Настановне креслення горизонтально-фрезерного верстата 6904ВФ2. Дивитись у збільшеному масштабі



Основні технические данные і характеристики верстата 6904ВФ2

Технічні данные і характеристики верстата 6904ВФ2

Технічні данные і характеристики верстата 6904ВФ2

Технічні данные і характеристики верстата 6904ВФ2. Дивитись у збільшеному масштабі







Верстат горизонтально-фрезерный з ЧПУ. Відеоролик.




    Список литературы:

  1. Аврутин С.В. Основы фрезерного дела, 1962
  2. Аврутин С.В. Фрезерне дело, 1963
  3. Ачеркан Н.С. Металлорежущие верстати, Том 1, 1965
  4. Барбашов Ф.А. Фрезерне дело 1973, с.141
  5. Барбашов Ф.А. Фрезерные роботи (Профтехобразование), 1986
  6. Блюмберг В.А. Справочник фрезеровщика, 1984
  7. Григорьев С.П. Практика координатно-расточных і фрезерных работ, 1980
  8. Копылов Р.Б. Работа на фрезерных верстатах,1971
  9. Косовский В.Л. Справочник молодого фрезеровщика, 1992, с.180
  10. Кувшинский В.В. Фрезерование,1977
  11. Ничков А.Г. Фрезерные верстати (Библиотека станочника), 1977
  12. Пикус М.Ю. Справочник слесаря по ремонту металлорежущих верстатів, 1987
  13. Плотицын В.Г. Расчёты настроек і наладок фрезерных верстатів, 1969
  14. Плотицын В.Г. Наладка фрезерных верстатів,1975
  15. Рябов С.А. Современные фрезерные верстати і их оснастка, 2006
  16. Схиртладзе А.Г., Новиков В.Ю. Технологическое обладнання машиностроительных производств, 1980
  17. Тепинкичиев В.К. Металлорежущие верстати, 1973
  18. Чернов Н.Н. Металлорежущие верстати, 1988
  19. Френкель С.Ш. Справочник молодого фрезеровщика (3-е изд.) (Профтехобразование), 1978