metalinstryment.com
Довідник по металорізальних верстатів та пресовому обладнанні

6Е80Ш Верстат фрезерный консольный широкоуніверсальний
схеми, опис, характеристики

6Е80Ш Верстат широкоуніверсальний фрезерный консольный







Відомості про виробника широкоуниверсальных верстатів 6Е80Ш

Широкоуніверсальний фрезерный верстат 6Е80Ш выпускался предприятием Вильнюсский станкостроительный завод "Жальгирис".

В 1947 году станкостроительный завод «Жальгирис» выпустил первую продукцию - 13 настольно-сверлильных верстатів.

В 1949 году было начато освоение более сложной продукции – поперечно–строгальных верстатів, за которыми післядовало производство горизонтальных, вертикальних і универсальных консольно–фрезерных верстатів.





Верстати, выпускаемые Вильнюсским станкостроительным заводом "Жальгирис"


6Е80Ш Верстат фрезерный консольный широкоуніверсальний. Назначение і область применения

Консольно-фрезерный широкоуніверсальний верстат 6Е80Ш выпускался з 1990 года прошлого века. Верстат заменил в производстве модель 6Т80ш. Многи детали і вузли были позаимствованы, также, у более ранней моделі горизонтально-фрезерного верстата 6р80ш.

Фрезерный верстат 6Е80Ш относится к нулевому типоразмеру консольно-фрезерных верстатів (размер робочого стола нулевого типоразмера - 200 х 800 мм) і входит в серию фрезерных верстатів: 6Е10, 6Е80, 6Е80г, 6Е80ш.

Верстат 6Е80Ш предназначен для обробки небольших деталей из стали, чугуна, цветных металлов і пластмасс.

Широкоуніверсальний консольный верстат з вертикальным поворотным шпинделем моделі 6Е80Ш, предназначен для выполнения разнообразных фрезерных работ в условиях индивидуального і серийного производства.

На верстатах удобно фрезеровать плоскости, торцы, скосы, пазы на небольших деталях разнообразной конфигурации.

Принцип роботи і особливості конструкції верстата

При поставке верстата моделі 6Е80Ш на експорт требования по частоте, напряжению питающей сети і степени автоматизации должны быть учтены в конструкторской документации і оговорены в заказе-наряде.

Вид климатического исполнения верстата 6Е80Ш УХЛ4 і Т по ГОСТ 15150—69, а верстата мод. 6Е80ШФ2 — УХЛ4.

Технічні характеристики верстатів позволяют полностью использовать возможности инструмента из быстрорежущей стали, а также инструмента, оснащенного пластинками из твердого сплава.

Поворотная фрезерна головка з выдвижной пинолью позволяет производить фрезерование наклонных поверхностей деталей.

Использование делительной головки, поворотного стола, тисков, приспособления для линейного деления фрезерной і долбежной головок, поставляемых по требованию заказчика за отдельную плату, расширяет технологические возможности верстата мод. 6Е80Ш.

Широкоуніверсальний консольный фрезерный верстат з ЧПУ мод. 6Е80ШФ2 позволяет выполнять обработку деталей в автоматическом режиме по программе.

Верстати 6Е80Ш работают по принципу фрезерування вращающейся фрезой, закрепленной в горизонтальном или вертикальном шпинделе. Перемещения стола (координата X), салазок (координаты У), консоли (координата Z) используются в качестве рабочих или установочных перемещений.

Тип компоновки верстатів соответствует компоновкам консольных фрезерных верстатів отечественного і зарубежного производства.


Особливості конструкції

Стойка является базовым узлом, на который монтируются все остальные вузли і механізмы. Стойка жестко соединена з плитой (основанием), являющейся резервуаром охлаждающей жидкости.

На хоботе верстата смонтирована вертикальная шпиндельна головка, а на направляючих хобота крепятся подвески для роботи з длинными оправками. Подвески имеют опору качения і опору ковзання. Подвески на верстатах невзаимозаменяемые.

Коробка швидкостей горизонтального шпинделя смонтирована в стойке. Соединение з електродвигуном осуществляется через поликлиновую ременную передачу.

Привід вертикального шпинделя осуществляется от електродвигуна, вынесенного на верх головки, через поликлиновую ременную передачу, роликовую муфту оцепления і коробку швидкостей.

Шпиндель смонтирован в выдвижной гильзе.

Фрезерная головка верстата крепится к хоботу гайками і имеет возможность поворота в поперечном і продольном направлениях стола. В шпинделях размещены шомпола для закрепления режущего инструмента. Закрепление осуществляется механически от механізма зажима.

Привід подач размещен в консоли. 18-и ступенчатая коробка подач имеет ланцюг ускоренного ходу і предохранительную муфту, исключающую возможность поломки приводу подач при перегрузках.

Задня стенка консоли выполнена в виде направляючих «ласточкин хвост».

Верхня часть консоли имеет прямоугольные направляющие, по которым перемещаются салазки.

Салазки перемещаются в поперечном направлении на консоли і имеют направляющие для стола.

Со столом связан винт поздовжньої подачі.

При работе методом попутного фрезерування предусмотрена выборка зазоров между резьбой ходового гвинта і гаек, посредством поворота червяка.

При работе методом встречного фрезерування сильно изнашивается ходовой винт. Поетому, когда на станке длительное время выполняется одна работа, следует менять участок роботи гвинта.

Класс точності верстата П по ГОСТ 8—77.





Посадочные і присоединительные базы фрезерного верстата 6Е80Ш

6Е80Ш присоединительные базы універсального горизонтального консольно-фрезерного верстата

Посадочные і присоединительные базы фрезерного верстата 6е80ш

Посадочные і присоединительные базы фрезерного верстата 6Е80Ш. Скачать в увеличенном масштабе



Загальний вигляд універсального фрезерного верстата 6Е80Ш

Загальний вигляд  6Е80Ш cтанок широкоуніверсальний консольно-фрезерный

Фото фрезерного верстата 6е80ш


Загальний вигляд  6Е80Ш cтанок широкоуніверсальний консольно-фрезерный

Фото консольного стола фрезерного верстата 6е80ш


Розташування складових частин на широкоуниверсальном консольно-фрезерном станке 6Е80Ш

Розташування складових частин на широкоуниверсальном консольно-фрезерном станке 6Е80Ш

Розташування основних вузлів на фрезерном станке 6е80ш

Розташування основних вузлів на фрезерном станке 6Е80Ш. Скачать в увеличенном масштабе



Список основних вузлів фрезерного верстата 6Е80Ш

  1. Механізм переключения вертикального переміщення стола 6Е80Ш.32
  2. Салазки - 6Е80Ш.50
  3. Стол - 6Е80Ш.51
  4. Система охлаждения - 6Е80Шф2.70
  5. Электрошкаф - 6Е80Ш.80
  6. Станина (стойка) - 6Е80Шф2.10
  7. Коробка подач - 6Е80Ш.30
  8. Защитное пристрій (Кожух) - 6Е80Ш.00.10
  9. Механізм зажиму инструмента - 6Е80Ш.23
  10. Механізм зажиму инструмента - 6Е80Ш.74
  11. Механізм переключения частоти обертання горизонтального шпинделя - 6Е80Шф2.22
  12. Главный привід - 6Е80Шф2.20
  13. Головка фрезерна - 6Е80Шф2.75
  14. Защитное пристрій - 6P80г.17
  15. Механізм переключения подач - 6Е80Шф2.73
  16. Защитное пристрій - 6P10.23
  17. Подвеска - 6P80г.16-03
  18. Подвеска - 6P80г.13-03
  19. Консоль - 6Е80Ш.40
  20. Агрегат смазочный - 6Е80Шф2.41
  21. Шкаф керування - 6Е80Шф2.60

Розташування органів керування широкоуниверсальным консольно-фрезерным верстатом 6Е80Ш

Органы керування 6Е80Ш cтанком широкоуниверсальным консольно-фрезерным

Розташування органів керування верстатом 6е80ш

Розташування органів керування широкоуниверсальным консольно-фрезерным верстатом 6Е80Ш. Скачать в увеличенном масштабе



Список органів керування фрезерным верстатом 6Е80Ш

  1. Зажим стола
  2. Маховик ручного переміщення стола
  3. Червяк выборки люфта на продольном винте механізма винт-гайка стола
  4. Переключатель "Освещение"
  5. Рукоятка зажиму гильзы шпинделя
  6. Рукоятка зажиму салазок
  7. Рукоятка увімкнення поздовжньої или вертикальной подачі з кнопкой ускоренного переміщення
  8. Рукоятка увімкнення поздовжньої или поперечної подачі з кнопкой ускоренного переміщення
  9. Кнопка "Пуск" шпинделя
  10. Кнопка "Стоп" шпинделя
  11. Кнопка "Стоп" аварийная
  12. Рукоятка зажиму консоли
  13. Червяк выборки люфта на продольном винте механізма винт-гайка салазок
  14. Переключатель направления обертання вертикального шпинделя
  15. Переключатель направления обертання горизонтального шпинделя
  16. Выключатель електродвигуна подачі
  17. Выключатель електронасоса охлаждения
  18. Выключатель зажима-отжима инструмента вертикального шпинделя
  19. Выключатель зажима-отжима инструмента горизонтального шпинделя
  20. Кнопка "Толчок" горизонтального шпинделя
  21. Рукоятка увімкнення електросети
  22. Рукоятка переключения перебора горизонтального шпинделя
  23. Рукоятка переключения швидкостей горизонтального шпинделя
  24. Ручное перемещение хобота
  25. Зажим хобота на станине
  26. Кран системы охлаждения
  27. Зажим головки фрезерной к хоботу
  28. Червяк поворота головки фрезерной в поздовжньої плоскости стола
  29. Червяк поворота головки фрезерной в поперечної плоскости стола
  30. Рукоятка перебора вертикального шпинделя
  31. Ручка переключения перебора шкивов вертикального шпинделя
  32. Рукоятка переключения швидкостей вертикального шпинделя
  33. Рукоятка переміщення гильзы вертикального шпинделя
  34. Зажим шпиндельной частини фрезерной головки
  35. Рукоятка перебора коробки подач
  36. Рукоятка переключения подач
  37. Кнопка "Пуск гідравлики і живлення електрошафи"
  38. Кнопка дистанционной подачі команды "Пуск"
  39. Переключатель диапазонов швидкостей подачі
  40. Переключатель зажима-отжима стола
  41. Переключатель зажима-отжима салазок
  42. Переключатель зажима-отжима консоли
  43. Регуляторы скорости подачі
  44. Переключатель наладочного і напівавтоматичного режима роботи




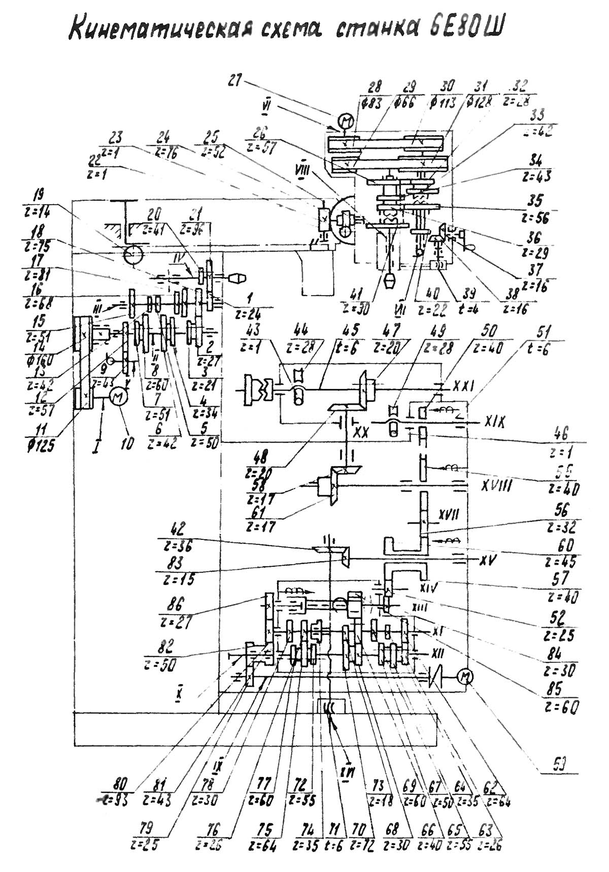
Кінематична схема фрезерного верстата 6Е80Ш

Кінематична схема 6Е80Ш cтанок широкоуніверсальний консольно-фрезерный

Кінематична схема фрезерного верстата 6е80ш

Схема кінематична консольно-фрезерного верстата 6Е80Ш. Скачать в увеличенном масштабе



Опис складових частин фрезерного верстата 6Е80Ш

Станина верстата

Станина является базовой частью верстата, на которой монтируется все остальные составные частини і механізмы. Стойка станины жестко соединена з плитой (основанием), являвшейся резервуаром охлаждающей жидкости.

Хобот верстата

На хоботе верстата 6Е80Ш смонтирована вертикальная шпиндельна головка, а на направляючих хобота крепятся подвески для роботи з длинными оправками. Подвески имеют опору качения і опору ковзання. Подвески на верстатах не взаимозаменяемые, Для установки подвесок головку развернуть вверх.

Коробка швидкостей

Коробка швидкостей консольно-фрезерного верстата 6Е80Ш

Коробка швидкостей консольно-фрезерного верстата 6е80ш

Коробка швидкостей консольно-фрезерного верстата 6Е80Ш. Скачать в увеличенном масштабе



Коробка швидкостей горизонтального шпинделя верстатів 6Е80Ш смонтирована в станине. Соединение з електродвигуном осуществляется через клиноременную передачу. Осмотр і доступ к коробке швидкостей - через окно вузла переключения швидкостей з левой стороны станины.


Електроустаткування верстата 6Е80Ш




Технічні характеристики верстата 6Е80Ш

Технічні характеристики верстата 6Е80Ш

Технічні характеристики верстата 6е80ш

Технічні характеристики верстата 6Е80Ш. Скачать в увеличенном масштабе



Технічні характеристики верстата 6Е80Ш

Технічні характеристики верстата 6е80ш

Технічні характеристики верстата 6Е80Ш. Скачать в увеличенном масштабе




6Е80Ш Верстат фрезерный консольный широкоуніверсальний. Відеоролик.


Наименование параметра 6е80ш 6т80ш 6р80ш
Основні параметри верстата
Класс точності по ГОСТ 8-82 П П П
Розміри рабочей поверхности стола (длина х ширина), мм 200 х 800 200 х 800 200 х 800
Наименьшее і наибольшее расстояние от торца вертикального шпинделя до стола, мм 45..445 15..400 50..350
Расстояние от оси горизонтального шпинделя до стола, мм 30..430 0..400 50..350
Расстояние от оси шпинделя фрезерной головки до направляючих станины (вылет), мм 140..650
Расстояние от края стола до направляючих станины, мм 80..240
Наибольшие розміри заготовки, устанавливаемой на столе (длина_ширина_высота), мм 800 х 260 х 420
Предельные розміри поверхности заготовки, устанавливаемой на столе (длина_ширина_высота), мм 620 х 230 х 380
Максимальная нагрузка на стол (по центру), кг 220
Наибольший диаметр фрезы, устанавливаемой на станке, мм 100 100 100
Рабочий стол
Наибольшее продольное перемещение стола (ось X), мм 630 560 500
Наибольшее поперечное перемещение салазок стола (ось Y), мм 250 220 160
Наибольшее вертикальное перемещение консоли стола (ось Z) мм 400
Перемещение стола на одно деление лимба продольное/ поперечное/ вертикальное, мм 0,05/ 0,05/ 0,05 0,05/ 0,05/ 0,02 0,05/ 0,05/ 0,02
Перемещение стола за один оборот лимба продольное/ поперечное/ вертикальное, мм 6/ 6/ 2
Быстрый ход стола продольный/ поперечний/ вертикальний, м/мин 4/ 4/ 1,7 3,35/ 3,35/ 1,7 2,3/ 2,3/ 1,120
Число ступеней рабочих подач стола 18 18 18
Пределы рабочих подач. Продольных і поперечных, мм/мин (число ступеней) 25..1250 (18) 20..1000 (18) 25..1120 (18)
Пределы рабочих подач. Вертикальных, мм/мин (число ступеней) 10,6..530 (18) 10..500 (18) 12,5..560 (18)
Усилие різання поздовжньої і поперечної/ вертикальной подач, Н 6864/ 3432 6864/ 3432 7000/ 3500
Шпиндель
Частота обертання вертикального шпинделя фрезерной головки, об/мин (Число ступеней) 90..4000 (12) 56..2500 56..2500
Количество швидкостей вертикального шпинделя 12 12 12
Частота обертання горизонтального шпинделя, об/мин (Число ступеней) 71..3150 (12) 50..2240 (12) 50..2240 (12)
Количество швидкостей горизонтального шпинделя 12 12 12
Перемещение пиноли (гильзы) вертикального шпинделя, мм 70 70 60
Перемещение пиноли шпинделя на одно деление лимба, мм 0,05 0,05 0,05
Поворот головки шпинделя к станине/ от станины, град 30°/ 45° 30°/ 45° 30°/ 45°
Поворот головки шпинделя в поздовжньої плоскости, град ±45° ±45° ±90°
Наибольший крутящий момент на горизонтальном шпинделе, Н.м 165
Наибольший крутящий момент на вертикальном шпинделе, Н.м 66
Ескіз кінця горизонтального шпинделя по ГОСТ 836-72, ГОСТ 24644-81 40 40 40
Ескіз кінця вертикального шпинделя фрезерной головки по ГОСТ 836-72, ГОСТ 24644-81 40 4
Торможение шпинделя Есть Есть Есть
Привід і електрообладнання
Количество електродвигателей на станке 4 4 4
Електродвигун приводу горизонтального шпинделя, кВт (об/мин) 3,0 (1420) 3,0 (1420) 3,0 (1420)
Електродвигун приводу вертикального шпинделя, кВт (об/мин) 1,5 (1400) 1,1 (1400) 1,1 (1400)
Електродвигун приводу подач, кВт (об/мин) 0,75 (1370) 0,75 (1370) 0,75 (1370)
Электронасос охлаждающей жидкости М4, кВт (об/мин) 0,12 (2800) 0,12 (2800) 0,12 (2800)
Суммарная мощность електродвигателей, кВт 6,0
Габарити і масса верстата
Габарити верстата (длина х ширина х высота), мм 1755 х 1495 х 2105 1600 х 1875 х 2080 1820 х 1875 х 1765
Масса верстата, кг 1500 1430 1340

    Список литературы:

  1. Верстати фрезерные консольные широкоуниверсальные 6Е80Ш, 6Е80ШФ2. Руководство по експлуатации 6Е80Ш.00.00.000 РЭ, 1984

  2. Аврутин С.В. Основы фрезерного дела, 1962
  3. Аврутин С.В. Фрезерне дело, 1963
  4. Ачеркан Н.С. Металлорежущие верстати, Том 1, 1965
  5. Барбашов Ф.А. Фрезерне дело 1973, с.141
  6. Барбашов Ф.А. Фрезерные роботи (Профтехобразование), 1986
  7. Блюмберг В.А. Справочник фрезеровщика, 1984
  8. Григорьев С.П. Практика координатно-расточных і фрезерных работ, 1980
  9. Копылов Р.Б. Работа на фрезерных верстатах,1971
  10. Косовский В.Л. Справочник молодого фрезеровщика, 1992, с.180
  11. Кувшинский В.В. Фрезерование,1977
  12. Ничков А.Г. Фрезерные верстати (Библиотека станочника), 1977
  13. Пикус М.Ю. Справочник слесаря по ремонту металлорежущих верстатів, 1987
  14. Плотицын В.Г. Расчёты настроек і наладок фрезерных верстатів, 1969
  15. Плотицын В.Г. Наладка фрезерных верстатів,1975
  16. Рябов С.А. Современные фрезерные верстати і их оснастка, 2006
  17. Схиртладзе А.Г., Новиков В.Ю. Технологическое обладнання машиностроительных производств, 1980
  18. Тепинкичиев В.К. Металлорежущие верстати, 1973
  19. Чернов Н.Н. Металлорежущие верстати, 1988
  20. Френкель С.Ш. Справочник молодого фрезеровщика (3-е изд.) (Профтехобразование), 1978