metalinstryment.com
Довідник по металорізальних верстатів та пресовому обладнанні

7Б35 Верстат поперечно-строгальный
опис, характеристики, схеми

Фото поперечно-строгального двухстоечного верстата 7Б35







Відомості про виробника поперечно-строгального верстата 7Б35

Разработчиком і изготовителем поперечно-строгального верстата 7Б35 является Оренбургский станкостроительный завод, ОСЗ, основанный в 1941 году.

В 1943 году на заводе освоен выпуск первых поперечно-строгальных верстатів моделі 736, а в 1945 году завод выпустил первые восемь долбежных верстатів моделі 7417.

в 1956 году Оренбургский станкостроительный завод освоил серийное производство нового поперечно-строгального верстата моделі 7Б35, долбежного верстата моделі 7А450. К 1960 году выпуск станочной продукции достиг 2000 штук в год.





Верстати, выпускаемые Оренбургским станкостроительным заводом, ОСЗ


7Б35 Верстат поперечно-строгальный з механическим приводом. Назначение і область применения

Поперечно-строгальный верстат 7Б35 предназначен для обробки резцом плоских і фасонных поверхностей (горизонтальных, вертикальних, наклонных), а также для прорізання всевозможных пазов і канавок в деталях з длиной обробки до 500 мм. Он применяется на заводах индивидуального і мелкосерийного производства.

Ползун резцовой головкой (с суппортом) перемещается при помощи кулисного механізма. Суппорт имеет ручную і автоматическую подачі. При автоматичною подаче, супорт перемещается только вниз.

Перемещение стола в горизонтальном направлении осуществляется как автоматически, так і вручную, а в вертикальном направлении только вручную. Автоматическое горизонтальное перемещение стола осуществляется прерывисто (рабочая подача). Величина подачі устанавливается крановым механізмом. Механізми, размещенные в станине верстата, имеют принудительную централизованную смазку. Привід верстата — от отдельного електродвигуна, включаемого з кнопочной станції.

Верстат 7Б35 в основном виконанні изготавливается з прямоугольным неповоротным столом, а по особому заказу, за отдельную плату, — з универсальным поворотным столом.


Габарит робочого простору. Посадочные і присоединительные базы поперечно-строгального верстата 7Б35

Габарит робочого простору. Посадочные і присоединительные базы поперечно-строгального верстата 7Б35

Габарит робочого простору верстата 7Б35


Загальний вигляд поперечно-строгального верстата 7Б35

фото поперечно-строгального верстата 7Б35

Фото поперечно-строгального верстата 7Б35

Фото поперечно-строгального верстата 7Б35. Дивитись у збільшеному масштабі



фото поперечно-строгального верстата 7Б35

Фото поперечно-строгального верстата 7Б35


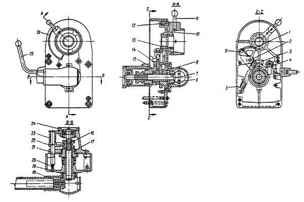
7Б35 Розташування складових частин поперечно-строгального верстата 7Б35

16Б05А Розташування складових частин поперечно-строгального верстата

Розташування складових частин на поперечно-строгальном станке 7Б35

Список складових частин поперечно-строгального верстата 7Б35

  1. Станина - 351001
  2. Коробка швидкостей - 352001
  3. Електроустаткування - 358001
  4. Механізм подачі стола - 355001
  5. Стол - 356001
  6. Кулисный механізм - 354001
  7. Суппорт - 353101
  8. Механізм вертикальной подачі суппорта - 353301
  9. Ползун - 353001
  10. Принадлежности - 359001
  11. Централизованная смазка - 357001
  12. Поворотный стол - 356101

Розташування органів керування строгальным верстатом 7Б35

Розташування органів керування строгальным верстатом 7Б35

Розташування органів керування строгальным верстатом 7Б35

Специфікація органів керування поперечно-строгального верстата 7Б35

  1. Рукоятка увімкнення фрікциону
  2. Рукоятка зажиму ползуна
  3. Рукоятка установки величины подач
  4. Рукоятка ускоренного переміщення
  5. Квадрат для установки длины ходу ползуна
  6. Рукоятка переключения перебора
  7. Рукоятка переключения швидкостей
  8. Точный упор стола
  9. Рукоятка ручного переміщення стола
  10. Рукоятка вертикального переміщення стола
  11. Рукоятка реверсирования подач
  12. Болт зажиму вертикальних салазок
  13. Гайка зажиму поворотной доски
  14. Рукоятка зажиму суппорта салазок
  15. Рукоятка вертикального переміщення суппорта
  16. Рукоятка зажиму суппорта
  17. Рукоятка установки величины автоматичною подачі суппорта
  18. Рукоятка переміщення ползуна
  19. Упор автоматичною подачі суппорта




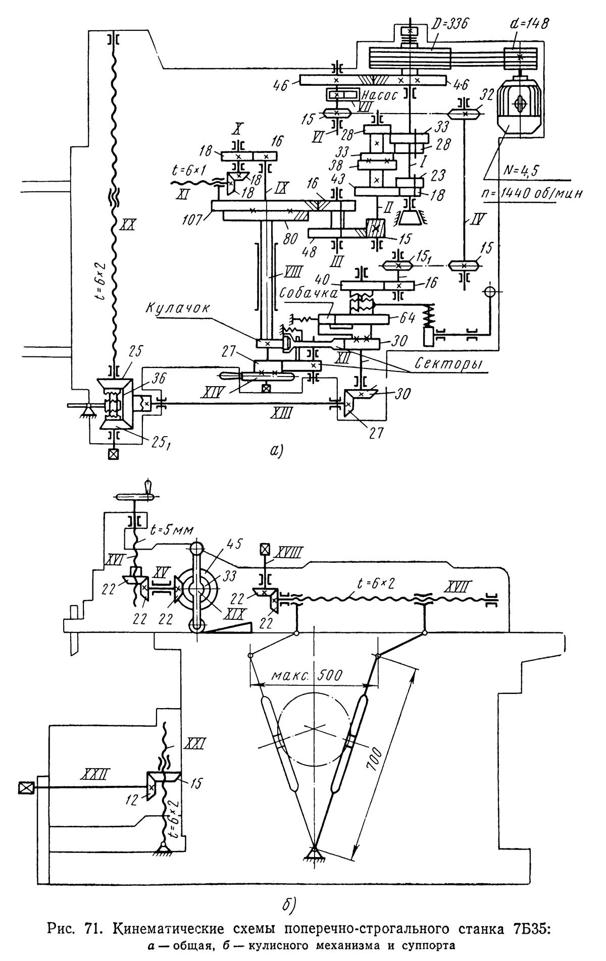
Кінематична схема поперечно-строгального верстата 7Б35

7Б35 Схема кінематична строгального верстата

Кінематична схема поперечно-строгального верстата 7Б35

1. Схема кінематична строгального верстата 7Б35. Дивитись у збільшеному масштабі

2. Схема кінематична строгального верстата 7Б35. Дивитись у збільшеному масштабі



Опис кинематических ланцюгів верстата 7Б35

Ланцюг головного руху

Рух от електродвигуна передається через клиноременную передачу на приводной шкив верстата.

Число оборотів приводного шкива:

N пр = 1450 • 0,985 • 148/336 = 625 об/мин

При включении дисковий фрикционной муфты вращение от приводного шкива передається на второй вал коробки швидкостей з двумя блоками зубчатых колес 1-2 і 3-4, переключением которых передаются четыре ступени швидкостей третьему валу коробки. Зубчатое колесо 9 з удлиненным зубом, заклиненное на третьем валу коробки швидкостей, находится в постоянном зацеплении з колесом 10 передвижного блока зубчатых колес 10-11, зацепляющихся з одним из пары кулисных колес 21-22. Переключенням блока зубчатых колес 10-11 удваивается полученное ранее количество швидкостей.

Кулисный механізм преобразует вращательное движение, получаемое от коробки швидкостей, в прямолинейное возвратно-поступательное рух ползуна. При етом качающаяся кулиса сообщает ползуну неравномерную скорость ходу. Наибольшая скорость робочого ходу ползуна достигается при среднем положении кулисы, наименьшая - при крайних її положениях.

Скорость холостого ходу ползуна значительно выше, чем робочого, что обеспечивает економию часу, затрачиваемого на непроизводительные холостые ходы верстата.

Ланцюг подач стола

Укрепленный на валу кулисного механізма кулачок поворачивает зубчатый сектор 30, сцепляющийся з зубчатым колесом 31; післяднее через поводок і сидящую на нем собачку поворачивает храповое колесо 32, соединенное кулачковой муфтой з валом конического колеса 33. Коническое колесо 33 сцепляется з колесом 34, от которого рух передається через вал коническому колесу 37. Увімкненням кулачковой муфты з одним из конических колес 38 или 39 сообщается вращение ходовому винту 40 і реверсирование руху стола.

Величина подачі стола зависит от угла поворота храпового колеса, т.е. от количества захватываемых собачкой зубьев.

Ланцюг подач суппорта

При обратном (холостом) ходе ползуна рычаг механізма подач, попадая на спеціальний кулачок, установленный на верхней плоскости станины, поворачивает храповое колесо 45, соединенное при помощи штифта і собачки з коническим колесом 46. Дальше рух передається на конические колеса 47, 48, 49.

Коническое колесо 49 служит гайкой 55 для гвинта подачі суппорта.

Механізм установки вылета ползуна

Вращением кривошипной рукоятки, надеваемой на квадратный конец валика зубчатого колеса 51, а также через коническое колесо 52, винт і гайку, перемещают ползун относительно обрабатываемого вироби. Этим самым устанавливают вылет ползуна.

Механізм вертикального переміщення стола

Вертикальное перемещение стола осуществляется вращением от руки при помощи кривошипной рукоятки валика з коническим колесом 42, валик передает рух коническому колесу 43, которое служит гайкой для нерухомого гвинта.

Механізм установки длины ходу ползуна

Длину ходу ползуна регулируют в пределах 20±500 мм і изменяют смещением пальца камня кулисы относительно центра обертання вала кулисного механізма. Для етого поворачивают кривошипной рукояткой валик з зубчатым колесом 23 і зубчасті колеса 24,25,26, действуя на винт 27 і гайку.

Механізм швидкого (ускоренного) переміщення стола

Приводной шкив верстата, соединенный з косозубым колесом 12, находящимся в зацеплении з колесом 13, передает рух губчатым колесам 14-15 маслонасоса. На валу зубчатого колеса 13 установлена звездочка 16, соединенная ланцюгю со звездочкой 17, сидящей на одном валу со звездочкой 18, соединенной ланцюгю со звездочкой 19 следующего валика. На валике звездочки 19 установлено зубчатое колесо 20, сцепляющееся з колесом 29; післяднее при включении кулачковой муфты сообщает быстрое рух столу через конические колеса 33,34,37,38 (или 39) і винтовую пару 40 і 41.

Ланцюг ускоренного переміщення стола включает звенья: 12, 13, 16, 17, 18, 19, 20, 29, 33, 84, 37, 38 (или 39), винт 40 і гайку 41.





Общая компоновка і особливості конструкції верстата 7Б35

Поперечно-строгальный верстат моделі 7Б35 состоит из основних вузлів, указанных на рис. 7. На правой стороне верстата смонтирована чугунная коробка подач, в которой находится механізм горизонтальной подачі стола.

К передньої частини верстата крепится узел стола, состоящий из поперечини, салазок і собственно стола.

На задньої частини верстата на чугунном кронштейне установлен електродвигатель.

На верхних направляючих станины собран узел ползуна, в котором з правой стороны вмонтирован механізм вертикальной механической подачі суппорта, а в передньої его частини укреплен суппорт.

Кулисный механізм, коробка швидкостей і узел змазки смонтированы внутри станины.

Кинематика ставка передбачає:

Рух вертикальной подачі суппорта резца

При налаштуванні на станке перемещаются вручную:


Специфические особливості окремих вузлів верстата 7Б35

Станина верстата

Станина верстата I (рис.10) представляет собой литой корпус коробчатой формы, укрепленный на фундаментной плите 2, которая крепится болтами к фундаменту.

Прочность і жесткость станины обеспечиваются наличием внутренних ребер.

К верхней частини станины прикрепляются направляющие планки формы ласточкина хвоста, по которым перемещается ползун.

Одна из планок регулируется гвинтами (на боковой стенке станины), что обеспечивает плотность посадки ползуна в направляючих.

На передньої стенке станины расположены направляющие (плоские) для вертикального переміщення стола.

В стенках станины расточены отверстия для установки валов коробки швидкостей і кулисного механізма, основні детали которых размещаются внутри станины.

На задньої стенке станины установлен кронштейн 4 для крепления електродвигуна.

В боковой і задньої стенках станины расположены закрытые крышками люки 7 і 8, служащие для монтажа і осмотра механізмов, размещенных в станине.

С левой стороны в передньої стенке станины имеется отверстие 6 диаметром 70 мм, предназначенное для пропуска длинных валов при их обработке на станке (например, при строгании шпоночных пазов і т.п.).

Для відведення масла, стекающего з направляючих ползуна, на задньої стенке станины установлен лоток 5.

На фундаментной плите 2 находится резьбовая пробка 3 для контроля уровня масла в станке.




Коробка швидкостей


Коробка швидкостей строгального верстата 7Б35

Коробка швидкостей поперечно-строгального верстата 7Б35

Коробка швидкостей строгального верстата 7Б35. Дивитись у збільшеному масштабі



Коробка швидкостей (рис.11) передает рух от електродвигуна к ползуну, сообщай післяднему восемь различных швидкостей при постоянной скорости обертання електродвигуна. Механізм коробки швидкостей смонтирован внутри пустотелого корпуса і состоит из трех параллельно расположенных валов, два из которых вращаются в підшипниках качения, а третий установлен нерухомо і служит осью. На валах насажены зубчасті колеса, з помощью которых осуществляются передача руху і получение восьми швидкостей ползуна.

Вращение от електродвигуна АО2-42-4 к приводному валу 8 коробки швидкостей передається через клиноременную передачу, состоящую из ведущего шкива 16, закрепленного на валу електродвигуна, трех клиновых ремней і приводного шкива 15, свободно вращающегося в конических роликопідшипниках. Последние установлены на консольной втулке 9, наглухо закрепленной в станине, что разгружает приводной вал 8 от дії изгибающих усилий, вызываемых клиноременной передачей.

Регулювання обертання приводного шкива достигается затягиванием круглой гайкой 7 со стопорным винтом.

Приводной шкив должен вращаться по направлению, показанному стрелкой на кожухе передачи.

Передача обертання і крутящего момента от приводного шкива на валы коробки швидкостей, а также увімкнення і відключення механізма коробки швидкостей осуществляются дисковий фрикционной муфтой, установленной на первом валу коробки швидкостей.

Фрикционная муфта состоит из стального диска 2, прикрепленного гвинтами к торцу приводного шкива. С двух сторон диска прикреплены пластины феррадо. На шлицах вала 8 установлен чугунный корпус муфты 6 з шайбой 5 і регулировочным кольцом II.

Муфта управляется рукояткой 1 (рис.12), выведенной наружу, на ось которой насажена вилка 6.

При повороте рукоятки вилка 6 перемещает по валу 8 (рис.11) муфту 35, соединенную штырем 36 з тягой 34, проходящей внутри полого вала 8. На кінці етой тяги имеется гайка 10 з шарнирными рычажками 4 і 3.

Для увімкнення фрікциону необходимо рукоятку керування повернуть на себя. При етом тяга 34 в полом валике переместится влево, і рычажки 4 і 3 прижмут торцами муфту 6 і шайбу 5 к диску 2 на приводном валу.

При повороте рукоятки от себя тяга переместится вправо, рычажки отойдут от шайбы, а шайба под действием пружины 13 отойдет от диска. Корпус муфты отодвинется по шлицевому валу от диска; в етот момент приводной шкив будет вращаться вхолостую.

При включении фрикционной муфты тяга 34, соединенная з конусной муфтой 35, заводит її в конусную втулку 38, і таким образом осуществляет торможение механізма коробки швидкостей.

Регулювання степени сцепления дисков фрикционной муфты осуществляется затягиванием регулировочного кольца 11, Штифт 12 кольца заходит в отверстие на муфте 6 і фиксирует требуемое положение.

Вал 8 коробки установлен на двух шариковых радиальных підшипниках. У левого підшипника помещена круглая гайка 37, посредством которой осуществляется регулювання підшибників.

Правый конец вала имеет дополнительную опору в виде втулки 14, являющуюся подшипником ковзання.

На средней шлицевой частини вала установлены два блока зубчатых колес (в каждом блоке два колеса). Эти два блока управляются одной рукояткой переключения швидкостей 3 (рис.12), установленной снаружи верстата.

Поворотом рукоятки, находящейся в своем верхнем положении, под действием пружины 33, посредством укрепленного на рукоятке пальца 32, заходящего в паз валика переключения 25, передвигают валик, а вместе з ним вилку 24, охватывающую блок зубчатых колес 31 і 30

Три верхние положения рукоятки переключения швидкостей соответствуют включению первой і втором ступени блока і его нейтральному (выключенному) положению і фиксируются валиком 25.

Нажав сверху на рукоятку переключения швидкостей і преодолевая сопротивление пружины 33, переводят рукоятку в нижнее положение. Поворачивая її в етом положении, перемещают блок 20 і 21 при помощи пальца 32 і вилки 22, закрепленной на валике-переводке 23, при етом палец уже находится в пазу валика переключения. Здесь также имеется париковая фиксация трех положений блока зубчатых колес, соответствующих двум ступеням увімкнення і нейтральному положению.

Второй вал коробки швидкостей получает четыре ступени чисел оборотів.

Вал вращается з одной стороны на конических роликовых підшипниках, а з другой стороны - на радиальном шарикоподшипнике.

Два блока зубчатых колес заклинены на валу нерухомо і нацепляются з зубчатыми колесами передвижных блоков первого вала. За одно целое со вторым валом выполнено удлиненное косозубое колесо; оно передает вращение колесу 43, укрепленному на передвижной вращающейся втулке зубчатого колеса 42, установленного на оси 41, которая нерухомо укреплена в боковых отверстиях станины. Втулка имеет вставные вкладыши 40 - опори ковзання на оси 41. На ободе втулки нарезаны спиральные зубья.

При передвижении блока зубчатых колес 43 і 42 по оси 41 зубчатое колесо 43 находится в постоянном зацеплении з колесом 39, блок зацепляется з соответствующим зубчатым венцом кулисного механізма. Таким образом, при помощи данного перебора удваиваются полученные ранее четыре ступени чисел оборотів.

Перерух блока 43 і 42 производится рукояткой переключения перебора 2 (рис.12). Переключення осуществляется поворотом вниз рукоятки перебора; при етом включается фиксирующий штифт рукоятки. Затем производят поворот рукоятки в одно из крайних положений. Под действием пружины рукоятка поднимается і фиксируется штифтом 4. На оси рукоятки насажено зубчатое колесо 5, которое зацепляется зубьями валика-рейки 45 (рис.11) і перемещает післядний в осевом направлении. На валике 45 укреплена вилка 44, передвигающая блок зубчатых колес 43 і 42.

Приводной шкив 15 з укрепленным на нем зубчатым колесом 17 приводит в действие через колесо I шестеренчатый насос, вращая его зубчасті колеса 47 і 48.

На валу насоса для масла закреплена звездочка 46, соединенная цепной передачей со звездочкой 18 на промежуточном валике 19. От валика 19 рух передається через звездочку 28 і вторую цепную передачу на валик 26 со звездочкой 27 і зубчатым колесом 29; післяднее через механізм коробки подач сообщает ускоренное рух столу.




Ползун і суппорт


супорт і ползун строгального верстата 7Б35

Ползун і супорт строгального верстата 7Б35. Рис. 13.


супорт і ползун строгального верстата 7Б35

Ползун і супорт строгального верстата 7Б35. Рис. 13.


Ползун (рис.13) представляет собой пустотелую чугунную отливку, снабженную внутри ребрами жесткости.

Снизу ползун имеет наклонные направляющие, которыми он скользит по направляющим (в форме ласточкина хвоста), образованным станиной і клиньями.

Подвижной клин должен быть отрегулирован так, чтобы ползун совершал свое возвратно-поступательное рух легко і без всякой качки.

Прямолинейное возвратно-поступательное рух ползуна осуществляется кулисой, соединенной з ползуном посредством серьги 3, пальца 2, гайки 1, гвинта 23 і шпильки 21.

К передньої частини ползуна крепится супорт (резцовая головка).

Крепление головки осуществляется хомутом, обжимающим конусное кольцо; хомут затягивается валиком 24 з резьбой при помощи кривошипной рукоятки, надеваемой на выступающий квадратный конец валика.

В боковом гнезде ползуна монтируется механізм автоматичною вертикальной подачі суппорта.

При работе, помимо установки ползуна на нужную длину ходу і на число двойных ходов в минуту, требуется также установить вылет ползуна, обеспечивающий обработку в требуемом месте. Для етого следует поставить ползун в крайнее переднее положение и, если вылет окажется недостаточным, отвернуть рукоятку 22, надеть кривошипную рукоятку на квадрат валика 4 і вращать валик до установки необходимого вылета.

При вращении валика 4 приводятся в рух конические зубчасті колеса 5 і 20; післядние приводят во вращение винт 23, который, перемещаясь при помощи гайки I, устанавливает ползун в нужное положение относительно обрабатываемого вироби.

Сверху ползуна имеется продолговатый паз, через который проходит шпилька 21, связывающая ползун з кулисным механізмом.

После установки нужного вылета гайку 1 закрепляют рукояткой 22.

Суппорт (резцовая головка) своим поворотным кругом центрируется по ползуну і прикрепляется к нему посредством хомута 17, обжимающего конусное кольцо 18. При работе з поворотом суппорта (резцовой головки) на угол ±60° супорт должен оставаться вне корпуса станины в течение всего робочого цикла ползуна.

Внимание!

Остерегайтесь поломки суппорта, которая може произойти при обратном ходе ползуна.

На поворотном круге нанесены градусные деления от 90° до 30° з рабочей стороны. Спереди поворотный круг имеет направляющие в форме ласточкина хвоста, по которым перемещаются салазки суппорта. Суппорт имеет ручную і автоматическую подачі.

Ручная подача осуществляется рукояткой 16 при помощи гвинта 15 і гайки, нерухомо связанной з поворотным кругом.


Механізм вертикальной подачі суппорта строгального верстата 7Б35

Механізм вертикальной подачі суппорта строгального верстата 7Б35. Рис. 14.


Для роботи з подачей от руки необходимо выключить рукояткой 1 (см.рис.14) механізм автоматичною подачі. При вращении конического зубчатого колеса 19 (рис.13), валика 7. конических колес 13 і 8 будет перемещаться винт 15 суппорта, а шесте з ним і суппорт.

При автоматичною подаче супорт осуществляет движении только в одном направлении - вниз.

Для отсчета величины переміщення суппорта винт его снабжен лимбом з ценой деления -0,05 мм. Полный оборот пинта соответствует перемещению суппорта на 5 мм.

При работе без подачі следует зажимать супорт при помощи установленного сбоку гвинта з рукояткой 25; етим устраняется произвольный отжим суппорта в результате выбора имеющихся в механізме незначительных зазоров.

Боковий клин 6 суппорта должен быть отрегулирован гвинтами, установленными на его торцах так, чтобы супорт перемещался по направляющим легко і без всякой качки.

К салазкам суппорта прикреплена поворотная доска 9, допускающая поворот на угол до ±15°.

К поворотной доске шарнирно крепится откидная доска 12 з резцедержателем 11, служащая для свободного ковзання резца по обрабатываемой заготовке при обратном ходе ползуна. При строгании горизонтальных плоскостей поворотный круг устанавливается на 90°, поворотная доска 9 находится в среднем положении.

При строгании вертикальних плоскостей поворотный круг остается на 0°, а поворотная доска поворачивается верхним концом в сторону от обрабатываемой поверхности для того, чтобы при холостом ходе різець мог скользить по обрабатываемой детали.

Для поворота доски 9 ослабить гайку 14. Для строгания наклонных плоскостей поворотный круг следует установить на угол, соответствующий углу наклона обрабатываемой поверхности к горизонтали.

Поворотная доска при етом поворачивается верхним концом по дугообразному пазу до отказа в сторону от обрабатываемой поверхности.

В нижней частини поворотной доски укреплена плоская пружина 10, препятствующая чрезмерному отбрасыванию откидной доски 12 при больших числах двойных ходов ползуна. Пружина 10 служит также опорой, поддерживающей откидную доску при выводе резца из соприкосновения з обрабатываемой поверхностью во время роботи верстата.

Механізм вертикальной подачі суппорта (рис.14) расположен на боковой стороне ползуна. Рух автоматичною подачі осуществляется при обратном (холостом) ходе ползуна, когда рычаг 9 своим роликом 10 находит на кулачок 11, который привертывается винтом 12 к боковой стороне клиновой планки станины и, в зависимости от величины ходу і вылета ползуна, може переставляться вдоль клиновой планки.

При набегании ролика 10 на кулачок 11, рычаг 9, заклиненный на валике 7, поворачивает етот валик (по часовий стрелке), а вместе з ним і рычаг 14, заклиненный з валиком 7. Собачка 18 і планка 17 связаны между собой двумя крайними штифтами неподвижно, а третьим средним штифтом связаны з двух сторон рычагом 14 на подвижной посадке.

Таким образом, 3-й штифт служит осью обертання для тесно связанных между собой собачки 18 і планки 17.

Собачка 18 сцепляется з храповым колесом 1, которое заклинено на ступице коническое шестерни 15. Планка 17 опирается на кольцо 2. Сцепление собачки 18 з храповым колесом 1 обеспечивается опорой 20 і пружиной 19, сидящей в гнезде рычага 14, і постоянно действует на собачку 18 і планку 17. Кольцо 2 сидит на трубе 8 нерухомо і поворачивается тогда, когда рукояткой 3 поворачивается труба. На наружной поверхности кольца 2 имеется фрезерованный скос.

Зацепление собачки 18 з храповым колесом 1 происходит в момент, когда планка 17 своим опорным зубом сходит з поверхности кольца 2 і попадает на срезанный его участок. Полученное рух передається таким образом суппорту, т.е. происходит автоматическая его подача. При рабочем ходе ползуна под действием спиральной пружины 13 происходит поворачивание рычага 14 і валика 7 в обратном направлении (против часовий стрелки). Рычажок 9 возвращается в свое исходное положение. Вместе з рычагом 14 собачка 18 проскальзывает по зубьям храповика, і планка 17 своим опорным зубом заходит на наружную поверхность кольца 2, вследствие чего автоматичною подачі суппорта не происходит. Изменение величины подачі осуществляется соответствующим поворотом сектора б, а вместе з ним і кольца 2, тем самым изменяется число зубцов, захватываемых собачкой за один двойной ход ползуна.

фиксация положения выбранной подачі производится защелкой 5, заходящей под действием пружины в торцовые канавки сектора 6.

Выключение механізма автоматичною подачі суппорта производится путем поворота сектора б в положение "Подача выключена". При етом кольцо 2 поворачивается в положение, при котором зуб планки 17 не заскакивает в заниженной частини поверхности кольца 2 і собачка 18 не зацепляется з храповым колесом 1. Механическая подача прекращается, что позволяет осуществлять подачу суппорта от руки.

Для предохранения механізма от поломки (на случай, когда рычаг 9 перескочит кулачок 11) при обратном ходе ползуна в корпусе 4 установлен фиксатор 16, который заскакивает в отверстие рычага 14 і фиксирует его в таком положении, что исключает возможность задевания рычага 9 о кулачок 11 при рабочем ходе.

Механізм вертикальной подачі суппорта работает только в том случае, когда ход ползуна более 150 мм.

Механізм вертикальной автоматичною подачі суппорта работает при двойных ходух, ограниченных таблицей.




Кулисный механізм


Кулисный механізм строгального верстата 7Б35

Кулисный механізм строгального верстата 7Б35. Рис. 15


Кулисный механізм (рис.15) преобразует вращательное рух кулисных зубчатых колес в возвратно-поступательное прямолинейное рух ползуна.

Кулисный механізм монтируется внутри станины верстата і получает рух от коробки швидкостей при зацеплении зубчатого венца 1 или 3 з соответствующими зубчатыми колесами коробки швидкостей. Косозубые венцы 1 і 3 привернуты к корпусу 2 кулисного барабана і передают ему вращательное рух з восемью ступенями чисел оборотів в минуту.

На торце корпуса кулисного барабана в призматических направляючих установлен палец 8 кулисы, на котором насажен камень 9 кулисы, входящей также в направляющие прорези, расположенные вдоль кулисы 14.

При вращении корпуса 2, а вместе з ним кулисного пальца 8, післядний описывает окружность, увлекая за собой камень 9, который перемещается в направляючих кулисы і заставляет її качаться вокруг нижней оси 7.

Верхний конец кулисы шарнирно связан при помощи серьги, надетой на палец 15, з ползуном. Кулиса, совершающая качательное движение, сообщает ползуну прямолинейное возвратно-поступательное движение. Длина ходу ползуна регулируется переміщенням пальца 8 кулисы относительно центра корпуса.

Длину ходу ползуна изменяют поворотом кривошипной рукоятки, надеваемой на выступающий квадрат вала 4. На кінці вала 4 нарезаны "зубья, которые зацепляются з зубчатым колесом 11, заклиненным на конической шестерне валика 10, і вращение передається конической шестерне 12, заклиненной на валу 13, который входит своим резьбовым концом в гайку кулисного пальца. Вращая винт, перемещают палец кулисы относительно центра корпуса.

Длина ходу ползуна отмечается лимбом 6, на котором против нулевой риски устанавливается деление з цифровым обозначением получаемой длины ходу.

Механізм подачі стола


Механізм подачі стола строгального верстата 7Б35

Механізм подачі стола строгального верстата 7Б35. Рис. 16


Механізм подачі стола (рис.16) осуществляет горизонтальную подачу стола, а также его ускоренное перемещение.

Механізм подачі стола смонтирован в отдельном чугунном корпусе, установленном на боковой стенке станины со стороны выступающего кінця кулисного вала.

Рух механізма подачі передається от ексцентрика 5 (рис.15), насаженного на выступающий конец кулисного вала і вращающегося вместе з ним.

Вращаясь, ексцентрик своей периферией соприкасается з роликом 9 (рис.16) рычага-сектора 3 * поворачивает его вокруг оси 2, закрепленной в корпусе коробки подачі.

Зубчатый сектор 3 поворачивает свободно сидящее на валике 7 зубчатое колесо 8, связанное з поводком 14. Поводок имеет ось 15, на которой установлена собачка 4, упирающаяся в зубья храпового колеса 17. На торце етого колеса имеются кулачки, входящие в зацепления з кулачками муфты 16, сидящей на шлицах валика 7, на котором заклинено коническое зубчатое колесо 6, находящееся в зацеплении з зубчатым колесом 18, установленным на валу подачі, передающим рух столу.

Обратный отвод рычага-сектора производится пружиной 5, при етом собачка 4 проскальзывает по скошенным зубьям храпового колеса 17, і рух подачі не производится.

Подача стола происходит только при холостом (обратном) движении ползуна.

Установка величины подачі производится поворотом корпуса 10 при помощи рукоятки 11.

Положение выбранной подачі фиксируется защелкой 12, заходящей под действием пружины в торцовые канавки на корпусе 10.

Величина выбранной подачі указывается на шкале 26, укрепленной на корпусе 10.

Изменение величины подачі осуществляется путем давления или приближения плеча з роликом рычага-сектора 3 к диску ексцентрика, в результате чего меняется угол поворота рычага; при етом собачка 4 захватывает большее или меньшее число зубьев храпового колеса 17

Величина подачі зависит от количества зубьев, через которые перескакивает собачка по храповому колесу.

Для відведення рычага-сектора от диска ексцентрика следует повернуть рукоятку 11 корпуса 10, от колеса 10 скрепленного з зубчатым колесом 13. Последнее зацепляется з зубчатым сектором, сидящим на оси 2, который упирается при повороте в выступающую ось ролика 9 на рычаге-секторе 3. Преодолевал сопротивление пружины 5, сектор 1 отводит рычаг-сектор от диска ексцентрика, вследствие чего величина подачі уменьшается; при полном же отводе рычага-сектора подача прекращается.

В механізме подач стола имеется пристрій для автоматичного швидкого переміщення стола.

Рух для швидкого переміщення стола сообщается зубчатым колесом 29 (см.рис.11), закрепленным на валу у коробки швидкостей. Это зубчатое колесо находится в зацеплении з зубчатым колесом 24 (см.рис.16), свободно сидящим на валике 7 механізма подачі. Увімкнення механізма швидкого переміщення стола производится путем поворота "на себя" рукоятки 25, при етом палец 20 рукоятки, поворачиваясь, толкает (в торец) валик 21 з укрепленной на нем вилкой переключения 22.

Вилка переключения перемещает кулачковую муфту 16, сидящую на шлицах валика 7, расцепляет її з храповым колесом 17 механізма подачі і сцепляет з зубчатым колесом 24. Вращение зубчатого колеса передається валику 7 і через пару конических зубчатых колес 6 і 18 на вал подачі стола.

Для виключення механізма швидкого переміщення стола следует отпустить рукоятку 25, которая под действием пружины 23 повернется в свое исходное положение, а кулачковая муфта 16 отключит зубчатое колесо 24 і включит храповое колесо 17 механізма подачі.

Если рукоятка 25 будет мати излишний люфт, то следует его выбрать соответствующим подвинчиванием регулировочного гвинта 19 в корпусе механізма подач.

Стол


Стол строгального верстата 7Б35

Стол поперечно-строгального верстата 7Б35. Рис. 17


Стол (рис.17) служит для установки і закрепления обрабатываемых изделий.

Изделия крепятся к столу болтами з квадратной головкой, входящими в Т-образные пазы, Мелкие вироби закрепляются в тисках, устанавливаемых на столе.

Узел стола состоит в основном из стола 1 коробчатой формы, горизонтальных салазок (коротки) 2 і вертикальних салазок (поперечини) 3.

Стол имеет горизонтальное і вертикальное переміщення.

Горизонтальное перемещение стола осуществляется автоматически і вручную.

Для переміщення стола вручную необходимо отключить механізм автоматичною подачі, повернув рукоятку 8 в среднее (нейтральное) положение, і ввести кривошипную рукоятку в соединение со шлицевым пазом на торце ходового гвинта 14 подачі. Поворачивая кривошипной рукояткой винт подачі, входящий в гайку 20, закрепленную на горизонтальных салазках 2 з установленным на них столом 1, перемещают салочки в горизонтальном направлении.

Если кривошипную рукоятку отпустить, то под действием пружины і толкателя она выйдет из шлицевого соединения і будет свободно сидеть в отверстиях ходового гвинта. Это гарантирует безопасность при включении автоматичною подачі без снятия з гвинта кривошипной рукоятки.

Для отсчета величины переміщення стола на выступающем кінці ходового гвинта установлен лимб 7 з ценой деления 0,1 мм.

Полный оборот лимба соответствует перемещению стола на 12 мм.

Горизонтальные салазки должны перемещаться по направляющим поперечини легко, но з плотным к ним прилеганием, что регулируется подтягиванием клина 22. Стол имеет два автоматических руху - рабочую подачу (прерывистое) і подвод стола (непрерывно-ускоренное).

Передача руху от механізма подачі происходит через валик 12 і коническое зубчатое колесо 9, сцепляющееся з коническими зубчатыми колесами 4 і 6, свободно сидящими на кінці.


Схема електрична принципова строгального верстата 7Б35

Схема електрична поперечно-строгального верстата 7Б35

Електрична схема поперечно-строгального верстата 7Б35


Настановне креслення поперечно-строгального верстата 7Б35

7Б35 Настановне креслення поперечно-строгального верстата

Настановне креслення поперечно-строгального верстата 7Б35




7Б35 Верстат поперечно-строгальный. Відеоролик.




Технічні характеристики поперечно-строгального верстата 7Б35

Наименование параметра 7Б35 7305 7307Г
Основні параметри верстата
Класс точності верстата Н Н Н
Длина ходу ползуна, мм 20..500 20..510 20..720
Наибольшее сечение резца, мм 20 х 32 20 х 32 40 х 25
Наибольшее расстояние от опорной поверхности резца до станины (вылет), мм 640 510 720
Высота ползуна над рабочей поверхностью стола, мм 90..400 90..400 90..480
Стол
Розміри рабочей поверхности стола - верхней, мм 360 х 500 360 х 500 450 х 710
Розміри рабочей поверхности стола - правой, мм 375 х 380
Розміри рабочей поверхности стола - левой, мм 375 х 380
Наибольшее перемещение стола от руки - горизонтальное, мм 500 580 710
Наибольшее перемещение стола от руки - вертикальное, мм 310 310 380
Наибольшее перемещение стола механическое - горизонтальное, мм 500
Наибольшее перемещение стола механическое - вертикальное, мм - - -
Число горизонтальных подач стола 16 25 25
Быстрое, горизонтальное перемещение стола, м/мин 2,2 4,0 4,0
Горизонтальные подачі стола, мм/дв.ход 0,3..4,8 0,2..5,0 0,2..5,0
Цена деления лимба, мм 0,1 0,1 0,1
Суппорт
Наибольшее вертикальное перемещение головки резца от руки, мм 170 170 170
Цена деления лимба, мм 0,05 0,05 0,05
Наибольший угол поворота резцовой головки до входа в станину, град ±60 ±60 ±60
Наибольший угол поворота доски резцедержателя, град ±15 ±15 ±15
Наибольшая перестановка ползуна, мм 310 310 410
Наибольшее допустимое усилие різання, Н 18000 17650 19600
Число ступеней швидкостей головного приводу (переміщення ползуна) 8 8 8
Числа двойных ходов ползуна в минуту 12,5; 17,7; 25; 34,5; 49; 71; 100; 138 13,2..150 10,6..118
Число подач суппорта 6 6 6
Подачи суппорта, мм/дв.ход 0,16..1 0,166..1 0,166..1
Електроустаткування. Привод
Количество електродвигателей на станке 1 1 1
Електродвигун приводу стола, кВт 5,5 5,5 5,5
Габарити і масса верстата
Габарити верстата (длина ширина высота), мм 2335 х 1355 х 1540 2310 х 1055 х 1550 2790 х 1235 х 1665
Масса верстата, кг 1800 1930 2700

    Список литературы:

  1. Поперечно-строгальный верстат 7Б35. Руководство к верстату

  2. Аврутин Р.Д. Справочник по гідроприводам металлорежущих верстатів,1965
  3. Гинсбург Е.Г. Производство зубчатых колес, 1978
  4. Калашников А.С. Технология изготовления зубчатых колес, 2004
  5. Копылов Р.Б. Работа на строгальных і долбежных верстатах, 1975
  6. Мильштейн М.З. Нарезание зубчатых колес, 1972.
  7. Овумян Г.Г., Адам А.И. Справочник зубореза, 1983.
  8. Сильвестров Б.Н., Захаров И.Д. Конструкція і наладка зуборезных і резьбофрезерных верстатів, 1979.
  9. Шавлюга Н.И. Расчет і примеры наладок зубофрезерных і зубодолбежных верстатів, 1978.
  10. Яковцев А.Д. Работа на строгальных і долбёжных верстатах, 1966