metalinstryment.com
Довідник по металорізальних верстатів та пресовому обладнанні

ЦА-2А Верстат круглопильный диленно-реечный для поздовжньої распиловки досок
Схеми, опис, характеристики

ЦА-2А Верстат круглопильный диленно-реечный для поздовжньої распиловки







Відомості про виробника круглопильного диленно-реечного верстата ЦА-2А

Производителем круглопильного диленно-реечного верстата ЦА-2А является Тюменский станкостроительный завод, основанный в 1899 году.

Завод производил, также, верстати ЦА-2А-1 і ЦА-2А-2, отличающимися более мощным електродвигуном приводу пильного вала і большей скоростью подачі.





Верстати, выпускаемые Тюменским станкостроительным заводом


ЦА-2А Верстат круглопильный диленно-реечный з ролико-дисковий подачей для поздовжньої распиловки досок. Назначение, область применения

Верстат ЦА-2А проверен временем. Его предшественник, верстат моделі ЦА2, был запущен в производство в 1973 году. С тех пор он неоднократно подвергался модернизации з расширением технологических возможностей і повышением мощности. Мощность електродвигуна приводу пил была увеличена за ето время з 11 кВт до 22 кВт, наибольшее расстояние между крайними пилами изменилось з 50 до 210 мм, вместо шести фиксированных швидкостей подачі стало восемь і т.д.

По отзывам производственников верстати серии ЦА-2А – одни из самых надежных отечественных круглопильных верстатів.

Верстат диленно-реечный круглопильный ЦА-2А предназначен для высокопроизводительной поздовжньої распиловки обрезных і необрезных досок і брусков толщиной от 10 до 80 мм на бруски требуемой ширины.

Верстати ЦА-2А наиболее широко применяют на лесозаводах, строительных площадках і деревообрабатывающих цехах, где нужна высокая производительность і не предъявляются повышенные требования к точності і качеству получаемой продукции. По своему техническому назначению ети верстати называют диленно-реечными (делительно-реечными), а по типу механізма подачі — вальцово-дисковыми или ролико-дисковыми.

На круглопильном станке ЦА-2А можно распиливать і горбыли з перепадом их толщины (в пределах одного горбыля) до 30 мм. При етом горбыли подаются в верстат плоской поверхностью вниз.

По назначению верстат ЦА-2А является круглопильным специализированным одноцелевым верстатом для обробки необрезных досок. Специализация верстата снижает универсальность, но упрощает конструкцию, повышает степень кінцінтрации обробки і уровень технологии.

По характеру руху рабочих органів і заготовок верстат относится к верстатам проходного типа. То есть деталь не останавливается для обробки, а обрабатывается в процессе непрерывного руху.

По степени механизации верстат относится к полумеханизированным верстатам, так как человек выполняет часть операций енергетического потока. Механизировано только главное движение.

По конструктивным признакам:

Принцип роботи і особливості конструкції верстата ЦА-2А

Перед круглопильным верстатом устанавливается стол, на котором доски ориентируются относительно пилы верстата.

На пильный вал данного верстата ЦА-2А можно установить одну или две или три круглых пилы з наибольшим расстоянием межлу крайними пилами 150 мм.

Подача материала осуществляется з помощью вальцов. При пилении несколькими пилами между ними, расклинивающими ножами і подающими дисками устанавливаются разные втулки (в зависимости от ширины выпиливаемых заготовок) і прорезаются пазы во вкладыше. Материал подается верхними і нижними подающими вальцами.

Розташування пильного вала относительно обрабатываемых заготовок - нижнее. Подача заготовок производится четырьмя вальцами: двумя нижними і двумя верхними. Нижние вальцы базируют заготовки, верхние - осуществляют их прижим к нижним вальцам. Все вальцы – приводные, что обеспечивает стабильную подачу заготовок.

Высокая производительность верстата ЦА-2А обеспечивается мощным електродвигуном приводу пильного вала (15 кВт) і большими скоростями подачі (до 102 м/мин). В отличие от других верстатів подобного назначения ЦА-2А-1 може производить раскрой горбылей.

С целью исключения вибраций пильного вала в шпиндельном узле применен сдвоенный радиально - упорный подшипник підвищеної точності; передача обертання на вал осуществляется одним широким поликлиновым ремнем. Верхний валец і прижимные диски качаются вокруг нерухомою оси. Они прижимают заготовку собственным весом, что делает возможным распил заготовок, разных по толщине, і горбылей. Все подающие вальцы і диски - рифленые, что обеспечивает подачу даже мерзлой древесины.

Пилы устанавливаются на консольный участок вала через шпонку, что исключает их проворот. Между пилами размещают проставные втулки, толщина которых выбирается в зависимости от ширины выпиливаемых брусков. С внешней стороны крайних пил постава устанавливаются фланцы. Собранный пакет пил зажимается специальной гайкой-шестерней, которая имеет направление різьби, противоположное направлению обертання пильного вала. После зажиму пакета пил гайка-шестерня стопорится специальным винтом. Все ето обеспечивает надежное крепление пил. Специальный ключ для етой гайки входит в комплект поставки верстата. Он значительно облегчает і ускоряет процесс закрепления пил.

Нижние вальцы выполнены стальными для повышения их износостойкости. Их длина составляет 350 мм. Для улучшения сцепления вальцов з древесиной заготовок на их наружной поверхности выполнены продольные канавки. В местах пересечения поверхностей канавок з наружной поверхностью вальцов образуются острые грани (рифления), что і обеспечивает стабильную подачу заготовок.

Верхние вальцы также выполнены стальными і рифлеными – з той же целью. Они расположены консольно на валах. Последние установлены в підшипниках в кронштейнах, имеющих возможность качания вокруг нерухомою оси. Эти вальцы прижимают заготовку к нижним вальцам как под действием собственного веса, так і пружинами. Налаштування верхних вальцов по высоте (на толщину распиливаемых заготовок) производится вращением соответствующего маховика. Отсчет высоты подъема вальцов осуществляется по специальной шкале.

Все вальцы, как нижние, так і верхние, получают вращение от електродвигуна. Это обеспечивает стабильную подачу заготовок, даже в зимних условиях.

Изменение скорости подачі производится переключением частоти обертання двухскоростного електродвигуна і путем переустановки шестерен на одном из валов механізма подачі. С етой целью в комплект поставки верстата входят четыре сменные шестерни. Они в станке расположены на консольном участке вала і их смена занимает всего несколько минут. Многообразие фиксированных швидкостей подач позволяет вести обработку на оптимальной скорости.

За каждой из пил устанавливается по одному направляющему ножу, которые также входят в комплект поставки верстата. При движении заготовки ножи входят в пропилы і дополнительно обеспечивают её прямолинейное движение.

Верстат имеет в своем составе направляющую линейку. Она служит для базирования распиливаемых обрезных досок. Линейка може переустанавливаться в станке в зависимости от ширины бруска, выпиливаемого крайней пилкою постава (между пилкою і линейкой). Отсчет ширины ведется по шкале. Для налаштування базовой поверхности линейки параллельно плоскости пилы служат регулировочные винты.

Опции

1. Верхнее ограждение для обробки широких заготовок

Данная опция расширяет технологические возможности верстата. Просвет верстата (ширина входного окна верхнего ограждения) увеличен з 500 до 580 мм і в следствии етого наибольшая ширина обрабатываемых заготовок возросла з 400 до 450 мм. Это достигнуто за счет изменения конструкції верхнего ограждения.

2. Привід механізма подъема прижимных вальцов

В базовом виконанні верстата настроечное перемещение прижимных вальцов по высоте производится вращением маховика. В данной опции ета операция механизирована і осуществляется мотор - редуктором, управляемым оператором верстата.

3. Цифровая индикация высоты подъема прижимных вальцов

В базовом виконанні верстата положение прижимных вальцов після их настроечного переміщення считывается на специальной шкале.

В станке з етой опцией предусмотрено применение для етой цели механического индикатора позиции или магнитной системы для угловых перемещений.

Вариант 1. Механический индикатор позиции

Индикатор представляет собой малогабаритный механический прибор, в корпусе которого смонтированы полый вал, механический редуктор, счетчик з высотой цифр 6-7 мм. Индикатор размещен на верхнем ограждении таким образом, что вал механізма подъема вальцов проходит через полый валик индикатора і передаёт на него вращение. Вращение валика за счет етого передається на полый вал индикатора. Параметри передачи винт-гайка механізма переміщення валов з пилами верстата і параметри индикатора подобраны таким образом, что счетчик показывает истинное расстояние между пилами в любой момент размерной налаштування. Применен импортный механический индикатор позиции. Высокая точность, хорошая читаемость показаний счетчика, длительный срок службы индикатора значительно облегчают процесс размерной налаштування верстата.

Вариант 2. Магнитная система для угловых перемещений

Применена импортная магнитная система. В её состав входят: магнитный диск, магнитный датчик і измерительный дисплей.

При применении магнитной системы магнитный диск закреплен на кінці вала механізма подъема прижимных вальцов, магнитный датчик – на верхнем ограждении верстата. Измерительный дисплей расположен на пульті керування.

Данная магнитная система сокращает время на размерную налаштування верстата і повышает её точность. По сравнению з механическим индикатором позиции она более удобна в обращении, но стоит дороже.

При применении магнитной системы магнитный диск закреплен на кінці вала механізма подъема прижимных вальцов, магнитный датчик – на верхнем ограждении верстата. Измерительный дисплей расположен на пульті керування.

Диленно-реечный верстат ЦА-2А обслуживает один рабочий.

Виконання верстата передбачає работу в закрытом отапливаемом помещении.


Диленно-реечные і прирезные верстати

Диленно-реечные верстати з ролико-дисковий подачей (модель ЦА-2А) предназначены для продольного раскроя пиломатериалов з целью получения черновых заготовок нужной ширины. Конструктивно ето обладнання близко обрезным верстатам, которые используются в лесопильном производстве для получения обрезных пиломатериалов из необрезных путем опиливания кромок досок.

Круглопильный верстат ЦА-2А обычно устанавливается в лесопильном цехе в потоке з любым бревнопильным обладнанням, раскраивающим бревно на необрезные доски. Данные верстати обладают довольно високою производительностью, поетому они хорошо справляются з поступающим на них сырьем от лесопильных рам і бревнопильных круглопильных і ленточных верстатів. Верстат, как правило, устанавливается на втором етаже лесопильного цеха.

Диленно-реечные верстати верстати ЦА-2А известны уже более полувека. Они отличаются надежностью і простотой конструкції і високою производительностью уступая прирезным верстатам в качестве пропила.

Иногда для лучшего использования древесины тонкие необрезные доски направляют без обрезки в сушильные камеры, а поперечний і продольный раскрой сухих досок на заготовки переносят в деревообрабатывающий цех. В етом случае продольному раскрою подлежат уже более короткие заготовки (чем при обрезке досок естественной влажности), і объем отходов на рейки уменьшается.

Для чистового распиливания обрезных досок, брусков і щитов в размер по ширине, применяют прирезные верстати з гусеничной подачей (например ЦДК-4, ЦДК-5).

Прирезные верстати благодаря гусеничной подаче пиломатериалов обеспечивают более высокое качество пропила, чем верстати серии ЦА. На базе ЦДК-4 Тюменский станкозавод выпускает многопильные верстати серии ЦДК-5.


Условное обозначение круглопильных деревообрабатывающих верстатів

Деревообрабатывающие верстати і обладнання имеют условное обозначение (индексацию) буквами і цифрами. Буквенная индексация состоит из начальных букв наименования типа или вида верстата. Первая буква означает тип, вторая і третья— основной признак верстата.

Буква А обозначает наличие елементів автоматизации.

Цифра, стоящая після дефиса, обозначает номер моделі верстата, например:





Загальний вигляд круглопильного верстата ЦА-2А

Загальний вигляд  верстата ЦА-2А

Фото круглопильного верстата ЦА-2А

Фото круглопильного верстата ЦА-2А Дивитись у збільшеному масштабі



Фото круглопильного верстата ЦА-2А

Фото круглопильного верстата ЦА-2А


Загальний вигляд  верстата ЦА-2А

Фото круглопильного верстата ЦА-2А


Загальний вигляд  верстата ЦА-2А

Фото круглопильного верстата ЦА-2А


ЦА-2А Розташування складових частин круглопильного верстата

Розташування складових частин верстата ЦА-2А

Розташування складових частин круглопильного верстата ЦА-2А


Список складових частин верстата ЦА-2А:

  1. Електроустаткування - ЦА-2А-90.000
  2. Отсос опил - ЦА-2А-11Б
  3. Валец задний подающий - ЦА-2А-45
  4. Механізм верхний подающий - ЦА-2А-30А
  5. Вал пильный - ЦА-2А-20
  6. Ограждение верхнего подающего механізма з предохранительной завесой - ЦА-2А-35.000.00А
  7. Валец передний подающий - ЦА-2А-40
  8. Станина - ЦА-2А-10.000
  9. Механізм прижимной - ЦА-2А-80
  10. Линейка направляющая - ЦА-2А-60
  11. Ограждение - ЦА-2А-52
  12. Редуктор механізма подачі - ЦА-2А-55
  13. Привід пильного вала - ЦА-2А-50

ЦА-2А Розташування складових частин круглопильным верстатом

Розташування складових частин круглопильным верстатом ЦА-2А

Розташування складових частин круглопильным верстатом ЦА-2А


Список органів керування верстата ЦА-2А:

  1. Винты подъема верхнего подающего
  2. Рукоятка закрепления прижимного механізма
  3. Кнопка увімкнення і виключення приводу пильного вала
  4. Кнопка увімкнення і виключення приводу подачі
  5. Рукоятка подъема когтевой завесы
  6. Главный выключатель
  7. Рукоятка закрепления направляющей линейки
  8. Рукоятка переключения швидкостей подачі




Схема рабочих органів круглопильного верстата ЦА-2А

ЦА-2А Схема рабочих органів верстата

Схема рабочих органів круглопильного верстата ЦА-2А


Схема кінематична верстата ЦА-2А

Кінематична схема круглопильного верстата ЦА-2А

Кінематична схема круглопильного верстата ЦА-2А

Кінематична схема круглопильного верстата ЦА-2А. Дивитись у збільшеному масштабі



Кінематична схема круглопильного верстата ЦА-2А

Кінематична схема круглопильного верстата ЦА-2А

Кінематична схема круглопильного верстата ЦА-2А. Дивитись у збільшеному масштабі



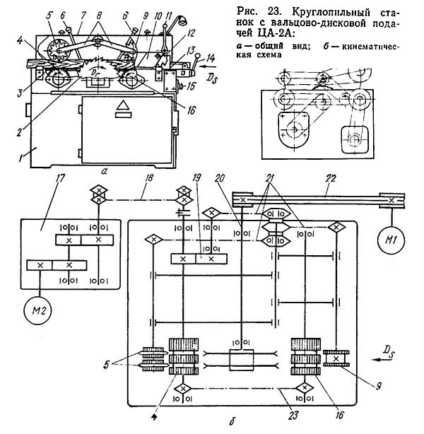
Круглопильный верстат з вальцово-дисковий подачей ЦА-2А (рис. 23, а, б ). Распиливаемый материал подается по столу 3 на пилу 1, подача материала осуществляется нижними рифлеными вальцами 2 і верхним подающим механізмом, состоящим из зубчатого диска 5 і узкого подающего вальца 4 з направляющим диском. Для предохранения работающего от вылета распиливаемого материала і его срезанных частин верстат имеет две когтевые защиты — верхнюю 6, установленную в ограждении верхнего подающего механізма, і нижнюю 7, установленную в столе верстата. Сбоку заготовка базируется по направляющей линейке 14 і поджимается к ней прижимным механізмом 13.

Конструктивно верстат (см. рис. 23, а, б) включает в себя станину 1, шпиндель з пилкою 2, механізм подачі, направляющие 13 і прижимное пристрій.

Механізм головного руху состоит из пильного вала 20, установленного на двух опорах в жестком корпусе і прикрепленного з внутренней стороны стола 3. На одном кінці вала 20 насажен шкив, на другом крепятся пилы.

Конструкція верстата позволяет устанавливать вторую пилу на расстоянии 10—50 мм от основной (с градацией 5 мм). Расстояние между пилами устанавливают з применением набора сменных шайб. Для предотобертання поворота пильного вала при закреплении пил предусмотрена возможность удержания его ключом, для етого на кінці пильного вала сделаны лыски.

Привід пильного вала включает в себя електродвигатель Ml і клиноременную передачу 22. Натяжение ремней осуществляется опусканием електродвигуна по продольным пазам.

Механізм подачі состоит из нижнего вальца 16, установленного перед пилами і нижнего заднего вальца 4. Вальцы размещены под столом 3 і незначительно выступают над его рабочей поверхностью. Передний валец вращается в шарикопідшибниківых опорах, получая вращение от заднего вальца через цепную передачу 23, задний вращается от електродвигуна М2 через редуктор 17 і цепную передачу 18 со срезным штифтом. При чрезмерных перегрузках штифт срезается і механізм подачі верстата останавливается.

Для возобновления функционирования механізма подачі необходимо установить новый штифт. Сверху на станине смонтированы два качающихся рычага 8, на концах которых установлены передний зубчатый диск 9 і задний узкий рифленый валец 5 з направляющим диском увеличенного диаметра. Направляющий диск входит в образовавшийся пропил і обеспечивает сохранение направленного руху заготовки, предварительно прижатой специальным прижимным пристрійм к боковой направляющей линейке 13. Кроме того, етот диск преотвращает защемление холостой частини пилы в пропиле. Прижим распиливаемого материала к нижним вальцам осуществляется массой рычагов! і верхних подающих елементів і регулируется гвинтами 6.

При установці на станке второй пилы в її плоскости устанавливают второй подающий диск і второй направляющий диск.

Расстояние между подающими дисками устанавливают набором сменных шайб, а расстояние между направляющими дисками — набором сменных зубчатых венцов. Привід верхних подающих елементів осуществляется от заднего нижнего подающего вальца через зубчатую передачу 19 і цепные передачи 21.

Направляющая линейка 13 служит для налаштування верстата на ширину выпиливаемых деталей й направления распиливания обрезного материала. Линейку устанавливают по шкале і закрепляют в нужном положении рукояткой 14.

Прижимной механізм 13 (см. рис. 22, а) располагается в том же направляющем пазу, что і направляющая линейка 14, по левой стороне от нее. Этот механізм служит для создания постоянного прижима к направляющей линейке обрезного материала при распиловке.

Элементами безопасности (см. рис. 23, а, б) на станке являются:

Верхний подающий механізм закрыт общим ограждением 7 сварной конструкції.

Сверху ограждение имеет крышку. Сбоку ограждения находится секционный качающийся щиток 10, предохраняющий работающих от вылета мелких обрезков, і сучков. Внутри ограждения перед пилами находится когтевая защита 12. Концы когтей имеют форму трехзубого сектора, что обеспечивает падежное заклинивание в случае обратного выброса материала различной толщины. В случае необходимости упоры передньої когтевой защиты могут быть подняты рукояткой 11. Вторая (нижняя) когтевая защита размещена ближе к пиле в специальном проеме стола перед передним подающим вальцом. Ограждения верстата сблокированы з пусковым пристрійм. При открытых дверцах ограждений пуск верстата невозможен.

Станина верстата состоит из двух стоек, соединенных между собой стяжкой і накрытых столом 3 коробчатой формы. Внутри станины установлены електродвигатель привюда пильного вала, електродвигатель приводу подачі з редуктором, пильный вал, передний і задний нижние подающие вальцы і стружкоприемник з отводом для присоединения к ексгаустерной системе. В левой стойке станины находится ниша для електроапаратури. Кнопкове керування пуском електродвигателей 15 находится в нише станины.

На кінематичної схеме верстата видно, что пильный вал 20 вращается от електродвигуна Ml. Вальцы і подающие диски механізма подачі приводятся во вращение от многоскоростного електродвигуна М2 з частотой обертання 700, 900 і 1350 об/мин.

Скорость подачі материала 34, 44 і 65 м/мин. При перестановке ланцюги 18 з одной пары звездочек на другую можно получить еще три скорости подачі — 42, 55 і 82 м/мин.





Регулювання круглопильного верстата ЦА-2А

Крепление пил в круглопильном станке ЦА-2А

Крепление пил в круглопильном станке ЦА-2А


Регулювання круглопильного верстата ЦА-2А

Регулювання круглопильного верстата ЦА-2А

Регулювання круглопильного верстата ЦА-2А. Дивитись у збільшеному масштабі



Наладка верстатів з роликодисковий подачей

Круглопильные верстати з роликодисковий подачей используют для предварительного продольного раскроя пиломатериалов в заготовительных цехах. В связи з етим верстати оснащают круглыми плоскими пилами з разведенными зубьями.

Ниже приводится величина развода на одну сторону зубьев пил, которая должна быть, мм:

При пилении древесины хвойных пород:

При пилении твердых лиственных пород - 0,40..0,50

Диаметр посадочного отверстия пилы равен 50 мм. Пила должна мати толщину 2,5 мм, число зубьев 48. Наибольший внешний начальный диаметр диска 400 мм. Следует применять пилы з возможно меньшим диаметром, так как ето улучшает качество пиления.

Наименьший диаметр Dмин (мм) принимают таким, чтобы зубья пилы выступали над заготовкой примерно на 10 мм, і определяют по формуле:


Dмин = 2(t + a +10)


где t — высота пропила, мм; a — наименьшее расстояние от оси шпинделя до поверхности стола, мм.

Перед установкой пилы на верстат необходимо тщательно проверить качество її подготовки. Следует также проверить состояние прижимных шайб і посадочного места шпинделя. Опорные поверхности шайб должны быть очищены от грязи і перпендикулярны оси обертання шпинделя. Торцовое биение поверхности шайбы допускается не более 0,02 мм на диаметре 100 мм.

Пилу надевают на шпиндель так, чтобы зубья при вращении были направлены против подачі распиливаемого материала. При установці пилы непосредственно на шпиндель (рис. 9.11, а) разность диаметров посадочной шейки шпинделя і отверстия пилы (зазор) должна быть не более 0,1 мм. При значительных зазорух ось обертання пилы 6 не будет совпадать з осью шпинделя 7, что вызовет радиальное биение зубьев і неудовлетворительное качество пиления. После установки прижимной шайбы 5 пилу надежно закрепляют зажимной гайкой 4. Гайка должна мати резьбу, обратную рабочему вращению пилы. Для предотобертання проворачивания пилы в процессе пиления служит штифт 3.

При закреплении на шпинделе двух пил (рис. 9.11, б) между коренной і второй пилкою следует поставить набор проставочных шайб 7. К верстату прилагают комплект втулок і проставочных шайб разной толщины. Шайбы набирают так, чтобы загальна толщина набора была больше ширины выпиливаемой детали на величину удвоенного развода зубьев на одну сторону. Пилы перед установкой необходимо подобрать так, чтобы они имели одинаковый диаметр, толщину і развод зубьев. Для заданного размера выпиливаемой детали подбирают і устанавливают втулки между расклинивающими ножами.

В деревянном вкладыше, устанавливаемом в столе верстата в зоне пил, делают прорезь для выхода второй пилы. Для снижения вибрации і предотобертання бокового отклонения диска пилы применяют направляющие стержни 8 (рис. 9.12). Их устанавливают в приливах вкладыша стола в зоне обертання пилы. Зазор между диском пилы і стержнями делают не более 0,1—0,15 мм. Стержни не должны касаться пилы, зажимать її или отгибать в сторону. После установки на стол рабочая поверхность вкладыша должна быть в одной плоскости з рабочей поверхностью стола.

Положение нижних подающих вальцов регулируют в зависимости от влажности і породы распиливаемой древесины. При пилении древесины мягких хвойных пород величина выступа нижних вальцов 7 над столом 6 равна 2..3 мм, твердых лиственных пород — 1..2 мм. При регулировке переставляют підшибниківые опори осей вальцов в станине верстата. Точность положения вальцов проверяют контрольным бруском і щупом.

Верхние ролики з диском настраивают так, чтобы высота их над столом была на 5..8 мм меньше толщины распиливаемой заготовки. Ролик 1 регулируют через рычажный механізм или переміщенням винтовой опори от маховичка 2. Аналогично регулируют задний ролик з диском. Ролики прижимаются к материалу силой тяжести механізма их подвески. При установці направляющей линейки 3 ee перемещают на расстояние В равное ширине отпиливаемой детали. При етом пользуются шкалой мерительной линейки 5, укрепленной на столе верстата. Направляющую линейку фиксируют в заданном положении маховичком 4 ексцентрикового зажимного пристроя.

После налаштування опробуют верстат на холостом ходу. При нормальной работе всех механізмов распиливают пробные заготовки.

Скорость подачі выбирают в зависимости от породы, толщины і влажности древесины. При пилении досок твердых лиственных пород толщиной 80 мм пользуются наименьшей скоростью подачі, при пилении досок мягких хвойных пород толщиной 20..30 мм — наибольшей. Требуемую скорость в пределах 21..65 м/мин устанавливают рукояткой пакетного переключателя многоскоростного електродвигуна і подбором числа зубьев сменных шестерен.


Схема електрична принципова верстата ЦА-2А

Схема електрична верстата ЦА-2А

Електрична схема круглопильного верстата ЦА-2А

Схема електрична принципова верстата ЦА-2А. Дивитись у збільшеному масштабі







ЦА-2А Верстат круглопильный диленно-реечный для поздовжньої распиловки досок. Відеоролик.




Технічні характеристики верстата ЦА-2А

Наименование параметра ЦА-2А ЦА-2А-1 ЦА-2А-2
Основні параметри верстата
Ширина обрабатываемого материала, мм 10..300 10..400 10..300
Толщина обрабатываемого материала, мм 10..80 10..80 10..80
Количество устанавливаемых пил 1..2 1..5 1..5
Наибольшая скорость різання, м/с 60
Скорость подачі материала, м/мин 24, 32, 40, 48, 53, 80 20..102 11, 14, 19, 21, 25, 29, 38, 51
Наименьшая длина обрабатываемого материала, мм 600 600 600
Диаметр дисковий пилы, мм 250..400 315..360 315..360
Наибольшее расстояние между крайними пилами, мм 150 210 150
Расстояние между пилами, мм 10..50
Електроустаткування верстата
Род тока питающей сети 380В 50Гц 380В 50Гц 380В 50Гц
Количество електродвигателей на станке, шт 2 2 2
Тип електродвигуна пилы ФТ-2-42/8-6-4С2; М301
Електродвигун пилы, кВт (об/мин) 11 (2920) 22
Електродвигун подачі, кВт 0,8; 1,0; 1,4 2,4
Частота обертання електродвигуна подачі, об/мин 700, 900, 1350
Габарит і масса верстата Габарит верстата (длна х ширина х высота), мм 1305 х 1040 х 1165 1500 х 1050 х 1270 1400 х 1050 х 1200 Масса верстата, кг 1080 1050 960

    Список литературы:

  1. Руководство по експлуатации верстата диленно-реечного ЦА-2а з ролико-дисковий подачей ЦА-2А.00.000 РЭ, Тюмень, 1986

  2. Афанасьев А.Ф. Резьба по дереву, Техника, Инструменты, Изделия, 2014
  3. Бобиков П.Д. Мебель своими руками, 2004
  4. Борисов И.Б. Обработка дерева, 1999
  5. Джексон А., Дей Д. Библия работ по дереву, 2015
  6. Золотая книга работ по дереву для владельца загородного участка, 2015
  7. Ильяев М.Д. Резьба по дереву, Уроки мастера, 2015
  8. Комаров Г.А. Четырехсторонние продольно-фрезерные верстати для обробки древесины, 1983
  9. Кондратьев Ю.Н., Питухин А.В... Технология изделий из древесины, Конструирование изделий і расчет материалов, 2014
  10. Коротков В. И. Деревообрабатывающие верстати, 2007
  11. Лявданская О.А., Любчич В.А., Бастаева Г.Т. Основы деревообробки, 2011
  12. Любченко В.И. Рейсмусовые верстати для обробки древесины, 1983
  13. Манжос Ф.М. Дереворежущие верстати, 1974
  14. Расев А.И., Косарин А.А. Гідротермическая обработка і консервирование древесины, учебное пособие, 2010
  15. Рыженко В.И. Полная енциклопедия художественных работ по дереву, 2010
  16. Рыкунин С.Н., Кандалина Л.Н. Технология деревообробки, 2005
  17. Симонов М.Н., Торговников Г.И. Окорочные верстати, 1990
  18. Соловьев А.А., Коротков В.И. Наладка деревообрабатывающего оборудования, 1987
  19. Суханов В.Г. Круглопильные верстати для распиловки древесины, 1984
  20. Фокин С.В., Шпортько О.Н. Деревообработка, Технологии і обладнання, 2017
  21. Хилтон Билл Работы по дереву, Полное руководство по изготовлению стильной мебели для дома, 2017