metalinstryment.com
Довідник по металорізальних верстатів та пресовому обладнанні

ЦДК-4 Верстат круглопильный прирезной для поздовжньої распиловки
Схеми, опис, характеристики

ЦДК-4 Верстат круглопильный прирезной для поздовжньої распиловки







Відомості про виробника круглопильного верстата ЦДК-4

Производителем круглопильного прирезного верстата ЦДК-4 является Тюменский станкостроительный завод, основанный в 1899 году.

Выпуск первых прирезных верстатів был начат в 1959 году. С тех пор было освоено производство нескольких модификаций многопильных верстатів, каждая из которых была более совершенной по сравнению з предыдущими.





Верстати, выпускаемые Тюменским станкостроительным заводом


ЦДК-4 Верстат однопильный прирезной для поздовжньої распиловки досок. Назначение, область применения

Верстат круглопильный прирезной (делительный) ЦДК-4 предназначен для точной поздовжньої распиловки в размер по ширине обрезных і необрезных досок і брусьев толщиной до 100 мм і шириной 10..315 мм на бруски требуемой ширины.

Однопильный верстат ЦДК-4 применяется в мебельном, столярном і в других деревообрабатывающих производствах. Особенно еффективно применение етого верстата при выпиливании заготовок со строго прямолинейными сторонами.

Принцип роботи і особливості конструкції верстата

Верстат ЦДК-4 относится к группе прирезных верстатів, которые є самыми точными из верстатів для поздовжньої распиловки. Повышенная точность обусловлена рядом конструктивных особенностей:

При использовании специальных пил обеспечивается высокое качество поверхности распила.

При помощи винтового пристроя з маховичками супорт з пильным валом поднимается или опускается.

Суппорт устанавливают так, чтобы пила углубилась в продольную прорезь, находящуюся посредине гусеницы, на 3... 5 мм.

Спереди і сзади стола гусеница охватывает два туера (звездочки); один из них является ведущим і соединен з редуктором механізма подачі, имеющим свой електродвигатель

Рабочие поверхности звеньев гусеницы рифленые, благодаря чему хорошо поддерживают распиливаемый материал.

Гусеницы двигаются по направляющим в углублениях стола і находятся на 0,5... 1 мм выше его рабочей поверхности. Спереди і сзади пилы размещены прижимные ролики, которыми распиливаемая заготовка прижимается к гусенице.

Винтовой механізм з маховичком служит для регулировки суппорта з роликами по высоте при налаштуванні верстата на толщину заготовки.

Для предупреждения выбрасывания из верстата заготовок или отрезков на суппорте перед прижимными роликами подвешены упоры.

На передньої частини стола находится направляющая линейка, которая передвигается і фиксируется вручную в зависимости от ширины распиливаемой заготовки, округляемой по измерительной шкале.

Над верстатом установлен ексгаустерный приемник, подсоединенный к сети пневмопривода.

В чугунной массивной виброустойчивой станине коробчатой формы размещены електродвигатель пильного вала, електродвигатель редуктора механізма подачі, пусковая аппаратура і звездочки, на которых натянуты гусеницы. Пилы закрепляют на пильном валу, установленном в підшипниках корпуса. Корпус фланцем закреплен на електродвигателе, а валы (пильный і електродвигуна) связаны пальцевой муфтой. Електродвигун оборудован пристрійм для електродинамического торможения (торможение з помощью подачі в две фазы статора двигуна постоянного тока). Торможение включается автоматически нажатием кнопки «Стоп», выключается также автоматически з помощью реле часу. Перемещение пильного вала з пилами в вертикальной плоскости выполняется маховичком. При его вращении изменяется положение шарнирно закрепленной плиты вместе з установленным на ней електродвигуном.

Гусеничный механізм подачі обеспечивает строго прямолинейное прорух заготовок в процессе их распиливания. Вследствие етого при распиливании получается прямолинейный пропил, а при использовании строгальных пил поверхности боковых кромок заготовок не надо обрабатывать на продольно-фрезерных верстатах.

Для прижима обрабатываемого материала к гусенице служат прижимные подпружиненные ролики, подвижно закрепленные в суппорте корпуса. Корпус одновременно является приемником і присоединяется к ексгаустерной сети патрубком. Маховичком изменяют положение пильного суппорта в вертикальной плоскости при налаштуванні верстата на толщину распиливаемого материала. При одной і той же налаштуванні могут обрабатываться заготовки з различием по толщине до 10 мм.

Прижимные ролики регулируемые, что создает оптимальные условия распиловки, так как обеспечивается достаточный прижим обрабатываемого материала к гусенице і не затрачивается излишняя мощность на її перемещение.

Для установки распиливаемого материала на столе верстата имеется направляющая линейка. Чтобы предохранить верстат от повреждений при перегрузке механізма подачі в звездочке приводу установлен предохранительный штифт, который срезается при перегрузке. Для безопасной роботи верстат имеет когтевую защиту; електродвигатели подачі і механізмы різання сблокированы.


Модифікації круглопильного прирезного верстата ЦДК-4





Загальний вигляд круглопильного верстата ЦДК-4

Фото круглопильного верстата ЦДК-4

Фото круглопильного верстата ЦДК-4


Загальний вигляд  верстата ЦДК-4

Фото круглопильного верстата ЦДК-4


Загальний вигляд  верстата ЦДК-4

Фото круглопильного верстата ЦДК-4


Фото круглопильного верстата ЦДК-4

Фото круглопильного верстата ЦДК-4


ЦДК-4 Розташування складових частин круглопильного верстата

Розташування складових частин верстата ЦДК-4

Розташування складових частин круглопильного верстата ЦДК-4

Розташування складових частин круглопильного верстата ЦДК-4. Дивитись у збільшеному масштабі




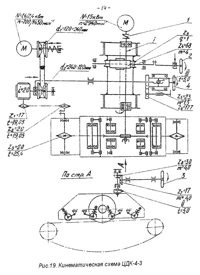
ЦДК-4 Кінематична схема круглопильного верстата

Кінематична схема круглопильного верстата ЦДК-4

Кінематична схема круглопильного верстата ЦДК-4

Кінематична схема круглопильного верстата ЦДК-4. Дивитись у збільшеному масштабі




ЦДК-4-3 Круглопильный прирезной верстат

Круглопильный прирезной верстат ЦДК4-3 спроектирован на базе верстата ЦДК4-2.

Основні особливості верстата ЦДК-4-3:

Фото круглопильного верстата ЦДК-4-3

Фото круглопильного верстата ЦДК-4-3


ЦДК-4-3 Розташування складових частин круглопильного верстата

Розташування складових частин верстата ЦДК-4-3

Розташування складових частин круглопильного верстата ЦДК-4-3

Розташування складових частин круглопильного верстата ЦДК-4-3. Дивитись у збільшеному масштабі







ЦДК-4-3 Кінематична схема круглопильного верстата

Кінематична схема круглопильного верстата ЦДК-4-3

Кінематична схема круглопильного верстата ЦДК-4-3


Пильный супорт круглопильного верстата ЦДК-4-3

Пильный супорт круглопильного верстата ЦДК-4-3


Пильный супорт верстата ЦДК4-3 состоит из електродвигуна 9, прикрепленного к диску. Вал електродвигуна соединен через муфту 7 со шпинделем 2, на кінці которого находится пила 1. Електродвигун крепят на правом диске со смещением (ексцентриситетом) е. На етом диске имеется колесо червячной передачи 6, которым осуществляется поворот дисков в корпусе з помощью маховичка 10 для перестановки пилы по высоте.





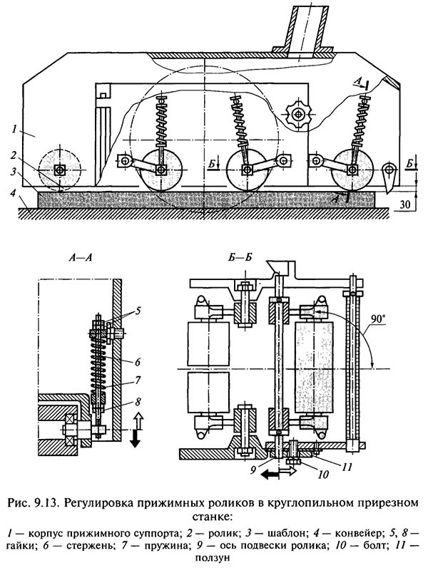
Регулювання прирезных круглопильных верстатів ЦДК-4, ЦДК-4-2, ЦДК-4-3

Крепление пил в круглопильном станке ЦДК-4, ЦДК-4-2, ЦДК-4-3

Крепление пил в круглопильном станке ЦДК-4, ЦДК-4-2, ЦДК-4-3


Регулювання прирезных круглопильных верстатів ЦДК-4, ЦДК-4-2, ЦДК-4-3

Регулювання прирезных круглопильных верстатів ЦДК-4, ЦДК-4-2, ЦДК-4-3

Регулювання прирезных круглопильных верстатів ЦДК-4, ЦДК-4-2, ЦДК-4-3. Дивитись у збільшеному масштабі



Наладка прирезных верстатів з конвейерной подачей

В прирезных верстатах з конвейерной подачей применяют круглые плоские пилы з разведенными зубьями.

Величина развода зубьев пил должна быть, мм:

При пилении древесины хвойных пород:

При пилении твердых лиственных пород - 0,30..0,50

Кроме того, на етих верстатах можно использовать строгальные пилы, а также пилы, зубья которых оснащены пластинами из твердого сплава. Применение таких пил обеспечивает значительное повышение периода их роботи і качества пиления. Заготовку необходимой толщины целесообразно распиливать пилкою наименьшего диаметра.

Устанавливают і закрепляют пилы на шпинделе прирезного верстата так же, как в верстатах з роликодисковий подачей.

При работе строгальными пилами или пилами, оснащенными пластинами из твердого сплава, шпиндель верстата должен удовлетворять повышенному требованию к точності его обертання. Торцовое биение опорной шайбы допускается не более 0,02 мм на радиусе 50 мм. Пилу устанавливают на шпиндель так, чтобы її вращение было направлено против руху конвейера.

Положение роликов регулируют по высоте контрольным бруском или шаблоном (рис. 9.13). Шаблон 3 устанавливают на конвейер 4 і опускают прижимный супорт так, чтобы между нижней поверхностью корпуса 1 і шаблоном образовался зазор 30 мм. Вращая верхние гайки 5, удлиняют или укорачивают рабочую часть стержней 6 подвески прижимных роликов і добиваются, чтобы ролики касались поверхности шаблона. Величину натяга или ослабления пружин 7, прижимающих ролики к обрабатываемому материалу, регулируют, вращая нижние гайки 8. При пилении древесины твердых пород натяг следует увеличить, а мягких —уменьшить.

Для обеспечения правильного базирования заготовки на конвейере оси роликов должны быть перпендикулярны направлению подачі. Отклонение от перпендикулярности устраняют, поворачивая конец оси 9 подвески ролика вместе з ползуном 77. После регулировки ползун надежно закрепляют болтом 70. Beличину і направление поворота роликов определяют при пилении пробных заготовок. Если пиленая поверхность будет выпуклой, концы осей подвески переднего і заднего роликов следует сблизить, если вогнутой — развести.

Положение пилы по высоте регулируют, вращая маховичок налаштування суппорта пилы. Зубья пилы должны располагаться посередине поздовжньої канавки конвейера і не касаться її дна (зазор 2 — 3 мм).

Положение прижимного суппорта по высоте определяется толщиной распиливаемого материала. Чрезмерное давление прижимных роликов ведет к порче заготовки і преждевременному износу механізма подачі, а недостаточный прижим — к выбросу заготовки или неточному пилению. Расстояние от конвейера до роликов должно быть на 2 — 3 мм меньше толщины распиливаемой заготовки. Прижимный супорт настраивают, вращая маховичок подъема суппорта. Величину переміщення отсчитывают по шкале, укрепленной на станине.

При выборе скорости подачі круглопильного верстата следует одновременно учесть предельно допускаемую загрузку двигуна приводу механізма різання і заданную шероховатость поверхности пропила.

Скорость подачі по условию предельно допускаемой загрузки двигуна выбирают в зависимости от высоты пропила:

При пилении сухих досок из древесины мягких хвойных пород острой, хорошо подготовленной пилкою скорость подачі можно увеличить. По мере затупления пилы или при пилении твердой сырой древесины скорость подачі следует уменьшить. Скорость подачі регулируют маховичком. После налагодження пускают верстат і распиливают пробные заготовки.

Ниже приводятся допускаемые отклонения выпиленных деталей, мм:

Шероховатость пиленой поверхности Rmmax при пилении пилами, мкм:

При подготовке к работе і наладке многопильных прирезных верстатів все пилы, устанавливаемые на шпинделе одновременно (блок пил), должны быть одного диаметра. Для многопильного прирезного верстата з конвейерной подачей начальный диаметр пилы составляет 400 мм, толщина 2,8 мм, число зубьев 36. Диаметр dш промежуточных колец должен быть равен диаметру прижимной шайбы. Толщину колец выбирают в зависимости от толщины выпиливаемой дощечки і величины развода на одну сторону пил.

После закрепления пил шпиндель регулируют по высоте з учетом розположення нижних зубьев пил над выемкой «ныряющего» конвейера з зазором 2 — 3 мм. Для пиления необрезных досок направляющую линейку перемещают в крайнее правое положение і в работе не используют.

Суммарный зазор между упорами когтевой защиты должен быть не более 1 мм. При превышении допустимого зазору необходимо установить новое компенсационное кольцо между набором упором і рамкой когтевой защиты.

В остальных случаях наладка многопильных верстатів аналогична наладке однопильных прирезных верстатів.





ЦДК-4 Верстат круглопильный прирезной для поздовжньої распиловки. Відеоролик.




Технічні характеристики верстата ЦДК-4

Наименование параметра ЦДК-4 ЦДК-4-2 ЦДК-4-3 ЦДК-5-3 ЦДК-5-4
Основні параметри верстата
Ширина обрабатываемого материала, мм 10..315 10..315 10..315 10..260 10..260
Толщина обрабатываемого материала, мм 10..100 6..100 6..120 16..120 16..150
Наименьшая длина обрабатываемого материала, мм 250 350 350 500 500
Количество устанавливаемых пил (неподвижных) 1 1 1 5 8
Скорость подачі материала, м/мин 15; 22,5; 30; 45 8..40 8..60 5,5; 10,5; 4,5; 18,5 5,5; 10; 13,5; 27
Число оборотів пильного вала, об/мин 2930 2940 2940
Диаметр дисковий пилы, мм 250..400 320..400 315..400 315..400 315..400
Електроустаткування верстата
Род тока питающей сети 380В 50Гц 380В 50Гц 380В 50Гц 380В 50Гц 380В 50Гц
Количество електродвигателей на станке, шт 2 2 2 2
Тип електродвигуна пилы АО2-51-2С1,М201 АО2-51-2С1,М201 4А160 2
Електродвигун пилы, кВт (об/мин) 10 (2930) 13 (2940) 15 (2940) 30
Електродвигун подачі, кВт (об/мин) 1,2; 2,5; 3,4 3 (2880) 1,4; 2,4 (700, 1420)
Габарит і масса верстата
Габарит верстата (длна х ширина х высота), мм 2000 х 1670 х 1600 1930 х 1460 х 1475 1930 х 1780 х 1630 2010 х 1880 х 1670
Масса верстата, кг 1750 1750 2000 2500 2300

    Список литературы:

  1. Афанасьев А.Ф. Резьба по дереву, Техника, Инструменты, Изделия, 2014
  2. Бобиков П.Д. Мебель своими руками, 2004
  3. Борисов И.Б. Обработка дерева, 1999
  4. Джексон А., Дей Д. Библия работ по дереву, 2015
  5. Золотая книга работ по дереву для владельца загородного участка, 2015
  6. Ильяев М.Д. Резьба по дереву, Уроки мастера, 2015
  7. Комаров Г.А. Четырехсторонние продольно-фрезерные верстати для обробки древесины, 1983
  8. Кондратьев Ю.Н., Питухин А.В... Технология изделий из древесины, Конструирование изделий і расчет материалов, 2014
  9. Коротков В. И. Деревообрабатывающие верстати, 2007
  10. Лявданская О.А., Любчич В.А., Бастаева Г.Т. Основы деревообробки, 2011
  11. Любченко В.И. Рейсмусовые верстати для обробки древесины, 1983
  12. Манжос Ф.М. Дереворежущие верстати, 1974
  13. Расев А.И., Косарин А.А. Гідротермическая обработка і консервирование древесины, учебное пособие, 2010
  14. Рыженко В.И. Полная енциклопедия художественных работ по дереву, 2010
  15. Рыкунин С.Н., Кандалина Л.Н. Технология деревообробки, 2005
  16. Симонов М.Н., Торговников Г.И. Окорочные верстати, 1990
  17. Соловьев А.А., Коротков В.И. Наладка деревообрабатывающего оборудования, 1987
  18. Суханов В.Г. Круглопильные верстати для распиловки древесины, 1984
  19. Фокин С.В., Шпортько О.Н. Деревообработка, Технологии і обладнання, 2017
  20. Хилтон Билл Работы по дереву, Полное руководство по изготовлению стильной мебели для дома, 2017