metalinstryment.com
Довідник по металорізальних верстатів та пресовому обладнанні

ЦКБ-40 Верстат торцовочный круглопильный
Схеми, опис, характеристики

ЦКБ-40 Верстат торцовочный круглопильный







Відомості про виробника круглопильного торцовочного верстата ЦКБ-40

Производителем круглопильного торцовочного верстата ЦКБ-40 является Тюменский станкостроительный завод, основанный в 1899 году.

.



Верстати, выпускаемые Тюменским станкостроительным заводом


ЦКБ-40 Верстат торцовочный круглопильный. Назначение, область применения

Верстат круглопильный торцовочный ЦКБ-40 предназначен для поперечної распиловки досок, брусьев і щитов.

Верстат ЦКБ-40 является обладнанням общего назначения для деревообрабатывающих производств.

Принцип роботи і особливості конструкції верстата ЦКБ-40

Торцовочный верстат ЦКБ-40 относится к балансирным верстатам з нижним расположением пилы і переміщенням її по дуговой траектории.

Для распиловки на станке ЦКБ-40 доски подаются в продольном направлении, т. е. перпендикулярно к плоскости пилы, а на верстатах ЦКБ-40-1 і ЦКБ-63-1 доски могут подаваться как в продольном, так і поперечном направлениях. Верстати ети однотипны, поетому более подробно рассмотрим конструкцию і порядок роботи верстата ЦКБ-40.

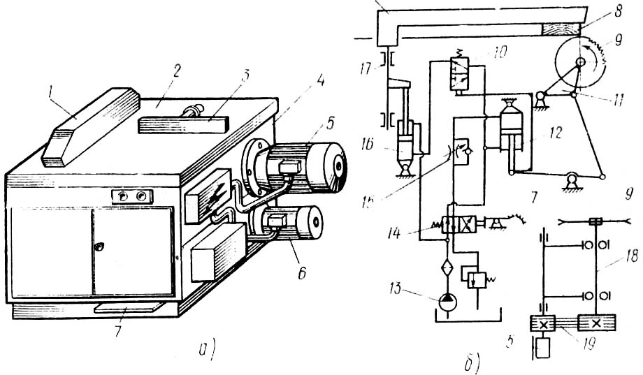
Кінематична схема торцовочного верстата ЦКБ-40

Кінематична схема торцовочного верстата ЦКБ-40

Кінематична схема торцовочного верстата ЦКБ-40 Дивитись у збільшеному масштабі



Механізм головного руху (рис. 12,а ,б) состоит из пильного вала 2 з пилкою 1, смонтированного на шарнирно закрепленных частях рамы 3 я 4. Пильный в^л вращается клиноременной передачей 6 от електродвигуна 7, установленного соосно з осью качания частини рамы 4. Натяжение клиноременной передачи осуществляется выдвижением подвижной частини рамы 3 гайкой 5.

Механізм подачі состоит из частин рамы 3 і 4, совершающей при работе верстата качательные руху от гідроцилиндра 9, соединенного со станиной через подвеску 8. Элементы безопасности состоят из нерухомого (бокового) ограждения 17 і подвижного ограждения — прижима 13, закрепленного на двух рычагах 12 і соединенного тягой 10 з подвеской 8. Высота подъема ограждения 13 регулируется винтом 11.

Базирующие елементы верстата — стол 16 і линейка 14, которая устанавливается в определенное положение в зависимости от ширины распиливаемого материала 15. Опорным елементом служит сварная станина 20, имеющая дверки з двух сторон. Сзади станины имеется патрубок для присоединения к ексгаустерной системе. Внутри нее размещены механізм головного руху і подачі, а также смонтированы кнопки керування 18 і гідрообладнання.




Гідравлічна схема торцовочного верстата ЦКБ-40

Гідравлічна схема торцовочного верстата ЦКБ-40


Гідрообладнання (рис. 13) включает в себя гідробак 1, лопастной насос 2, дроссель 3 з регулятором і предохранительным клапаном, манометр 4, гідрораспределитель 5, гідроцилиндр 6 і пластинчатый фильтр 7.

Масло, всасываемое из гідробака насосом, через дроссель нагнетается по трубе I в полость Б гідроцилиндра.

В результате происходит подъем корпуса (гильзы) цилиндра относительно нерухомого поршня і прижим ограждения поднимается. Из полости А гідроцилиндра масло через фильтр 7 идет на слив.

При включении електромагнита гідрораспределителя 5 масло поступает в полости Б к А через распределитель по трубам I і II. Так как площадь поршня ,в бесштоковой полости больше, начинается опускание корпуса цилиндра і связанного з ним прижима, а затем подъем штока цилиндра, соединенного з рамой. Масло, вытесняемое из полости Б, переливается по трубам I і II в полость А.

При отключении електромагнита гідрораспределитель переключается і масло вновь нагнетается только в полость Б. При етом пила опускается в нижнее положение, а прижим ограждения поднимается.

Скорость подъема пилы регулируется бесступенчато поворотом лимба дросселя 3.

Общим недостатком всех верстатів з нижним расположением пил і переміщенням их по дуговой траектории является необходимость применения пил повышенного диаметра. Кроме того, ети верстати не обеспечивают точный раскрой пиломатериалов! і заготовок по длине і строго под прямым углом к поздовжньої оси материала, поетому их в основном применяют в лесопильных цехах, на строительных площадках і в специализированных цехах деревообрабатывающих комбинатов. Преимущество етих верстатів в сравнительной простоте, компактности і удобстве при установці в поточные линии.

Принцип роботи і особливості конструкції верстата ЦКБ-40-1

Кінематична схема торцовочного верстата ЦКБ-40-1

Кінематична схема торцовочного верстата ЦКБ-40-1

Кінематична схема торцовочного верстата ЦКБ-40-1 Дивитись у збільшеному масштабі



Рис. 2. Балансирный торцовочный верстат ЦКБ 40-01

С целью расширения технологических возможностей верстата его конструкция передбачає установку пил диаметром 710 і 560 мм. При применении пилы диаметром 710 мм наибольшее сечение обрабатываемых заготовок (толщина х ширина) составляет 100 х 520 мм і 150 х 430 мм, при применении пилы диаметром 560 мм – соответственно 100 х 300 мм.

Станина верстата ЦКБ-40-1 сварная - коробчатой, достаточно жесткой конструкції.

Стол верстата – литой, выполнен из серого чугуна.

Корпус пильного вала (пильная рамка) размещен на нижней поверхности стола.

Возникающие вибрации в достаточной мере поглощаются столом і верстат в целом обладает хорошей виброустойчивостью.

Пильный вал смонтирован в чугунной рамке, которая при работе верстата совершает качательные руху относительно стола верстата

В исходном положении пила находится ниже рабочей поверхности стола. При рабочем ходе она поднимается, выполняет пропил, а затем снова возвращается в исходное положение. Величина ходу пилы регулируется. По соображениям техники безопасности рамка устанавливается так, чтобы в исходном положении (под столом) пила находилась на 50 мм ниже рабочей поверхности стола. Для етого в конструкції верстата предусмотрен регулируемый упор. Другой упор, ограничивающий рух пилы, установлен стационарно. Оба упора выполнены из твердой резины з целью смягчения ударов пильной рамки об упоры.

Для повышения долговечности підшибників пильного вала предусмотрено пополнение змазки в них через масленки.

Пила размещается между двумя фланцами і надежно фиксируется гайкой. Последняя имеет направление різьби, противоположное направлению обертання пильного вала, что предотвращает откручивание гайки во время роботи. Для удобства установки і демонтажу пилы служит спеціальний съемник, который входит в комплект поставки верстата. Скорость руху пилы изменяется бесступенчато і устанавливается поворотом лимба регулятора потока. Это позволяет выбрать оптимальную скорость в зависимости от сечения обрабатываемых заготовок і требуемого качества обробки.

Вторым по значению рабочим органом верстата является прижим-ограждение. Он осуществляет прижим обрабатываемой заготовки к столу, надежное удержание её в етом положении во время пиления і является одновременно ограждением пилы. Прижим-ограждение представляет собой жесткую сварную конструкцию. Высота его подъема над столом регулируется в зависимости от толщины обрабатываемых заготовок - з целью сокращения часу на рабочий цикл верстата.

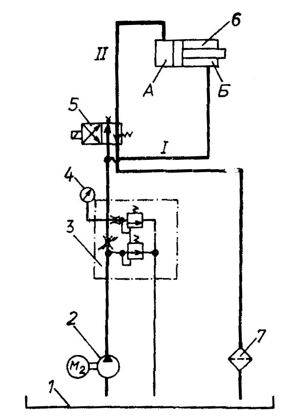
Главной особенностью верстата является его оригинальная гідравлічна схема, обеспечивающая требуемое рух вращающейся пилы і прижима-ограждения. В станке применен гідроцилиндр диференціального исполнения, при котором обе полости – і поршневая і штоковая – находятся под давлением. Поскольку шток гідроцилиндра связан з качающейся пильной рамкой, а гильза цилиндра- з прижимом-ограждением, ето обеспечивает их плавный ход. Величина давления в гідравлической системе регулируется.

Верстат работает в напівавтоматическом режиме. При включении верстата пила находится под столом, а прижим-ограждение поднимается в верхнее положение. После установки на столе верстата заготовки оператор нажимает две соответствующие кнопки керування на пульті. После етого прижим-ограждение опускается і прижимает заготовку к столу, затем пила поднимается і производит распил заготовки. При опускании кнопок сначала пила уходит в нижнее положение, затем прижим - ограждение поднимается, освобождая заготовку. На етом рабочий цикл заканчивается. В минуту може быть совершено до 45 таких циклов.

Электрические блокировки делают невозможным подъем пилы при отсутствии её обертання і при не прижатой заготовке.

Для обеспечения качественной распиловки обрезных пиломатериалов в станке имеется направляющая линейка. Она установлена в станке таким образом, что её базовая поверхность перпендикулярна плоскости пилы. Это обеспечивает перпендикулярность пропила боковой кромке заготовки при её базировании по линейке.

С целью еффективного удаления отходов обробки в станке имеется два опилоприемника: один - в станине, другой – в прижиме - ограждении.




Фото торцовочного круглопильного верстата ЦКБ-40-1

Фото торцовочного круглопильного верстата ЦКБ-40-1

Фото торцовочного круглопильного верстата ЦКБ-40-1. Дивитись у збільшеному масштабі



Фото торцовочного круглопильного верстата ЦКБ-40

Фото торцовочного круглопильного верстата ЦКБ-40


Фото торцовочного круглопильного верстата ЦКБ-40

Фото торцовочного круглопильного верстата ЦКБ-40


Фото торцовочного круглопильного верстата ЦКБ-40

Фото торцовочного круглопильного верстата ЦКБ-40


Опции

1. Реле контроля фазного напряжения

Данная опция передбачає введение в електрическую схему верстата реле фазного напряжения - по одному на каждый електродвигатель. Реле контролируют сопротивление изоляции обмоток електродвигателей, защищают от сбоев в фазных напряжениях (от их недопустимой ассиметрии, от фазного перенапряжения, от роботи на двух фазах).

Наличие в електрической схеме верстата указанных реле повышает ресурс електродвигателей і позволяет избежать их выхода из строя.

2. Импортные підшипники качения в опорах пильного вала

В опции вместо отечественных підшибників качения, устанавливаемых в пильных механізмах верстата, применены импортные підшипники. Выбор именно етих вузлів не случаен, т.к. пильные механізмы є самыми нагруженными в станке і от точності обертання шпинделей во многом зависит точность обробки на станке. Применяются підшипники качения фирм FAG (Германия), NCK Ltd (Япония) і других. Эти підшипники по сравнению з отечественными имеют, как правило, более высокие точность і долговечность і отличаются большим разнообразием исполнений. Стоимость их выше отечественных, но, как говорится, «игра стоит свеч».

3. Импортные електродвигатели

В опции взамен отечественных применены импортные електродвигатели ведущих зарубежных производителей. Эти електродвигатели имеют лучшую естетику і меньшие габаритные розміри, что улучшает естетику верстата в целом. Кроме того, они потребляют меньше електроенергии при той же их мощности.

Для предохранения електродвигателей от сбоев напряжения в питающей ланцюги они подключены через реле контроля фазного напряжения (опция 1).

4. Импортная електроаппаратура

В опции вместо отечественных електрических аппаратов применены импортные, производимые признанными во всем мире кінцірнами Siemens, Schneider Elektrik, ABB, Legrand. По сравнению з отечественными електроаппаратами импортная електроаппаратура имеет меньшие габаритные розміри, что позволило уменьшить розміри електрического шкафа і пульта керування. Сам монтаж также упростился, т.к. електроаппаратура приспособлена для установки на специальные монтажные приспособления (рейки і др.). Импортные електроаппараты имеют большое разнообразие исполнений, что позволяет выбрать требуемое для данного верстата виконання. Несомненным достоинством является также естетичность аппаратов, что улучшает естетику верстата в целом.





ЦКБ-40 Верстат торцовочный круглопильный. Відеоролик.




Технічні характеристики торцовочного верстата ЦКБ-40

Наименование параметра ЦПА-40 ЦКБ-40-1
Основні параметри верстата
Наибольшая ширина обрабатываемой заготовки, мм 400 400
Наибольшая высота пропила (толщина заготовки), мм 100 150
Диаметр дисковий пилы, мм 400 630
Угловая скорость пильного вала, рад/сек 303,5
Наибольшая высота подъема суппорта пилы, мм 100
Наибольшая скорость руху суппорта, м/сек 0,55 -
Расчетное рабочее давление в гідросистеме, н/м2 1,47 * 103
Время торможения пилы, с, не более 6
Електроустаткування верстата
Род тока питающей сети 380В 50Гц 380В 50Гц
Количество електродвигателей на станке, шт 2 2
Електродвигун пилы, кВт 3,2 7,5
Електродвигун гідронасоса, кВт 2,2
Общая мощность електродвигателей, кВт 9,7
Габарит і масса верстата
Габарит верстата (длна х ширина х высота), мм 2300 х 790 х 1450 1120 х 1300 х 1180
Масса верстата, кг 550 750

    Список литературы:

  1. Верстат торцовочный ЦКБ-40. Руководство по експлуатации ЦКБ-40.00.000 РЭ, 1979

  2. Амалицкий В.В. Деревообрабатывающие верстати і инструменты, 2002
  3. Афанасьев А.Ф. Резьба по дереву, Техника, Инструменты, Изделия, 2014
  4. Бобиков П.Д. Мебель своими руками, 2004
  5. Борисов И.Б. Обработка дерева, 1999
  6. Джексон А., Дей Д. Библия работ по дереву, 2015
  7. Золотая книга работ по дереву для владельца загородного участка, 2015
  8. Ильяев М.Д. Резьба по дереву, Уроки мастера, 2015
  9. Комаров Г.А. Четырехсторонние продольно-фрезерные верстати для обробки древесины, 1983
  10. Кондратьев Ю.Н., Питухин А.В... Технология изделий из древесины, Конструирование изделий і расчет материалов, 2014
  11. Коротков В. И. Деревообрабатывающие верстати, 2007
  12. Лявданская О.А., Любчич В.А., Бастаева Г.Т. Основы деревообробки, 2011
  13. Любченко В.И. Рейсмусовые верстати для обробки древесины, 1983
  14. Манжос Ф.М. Дереворежущие верстати, 1974
  15. Расев А.И., Косарин А.А. Гідротермическая обработка і консервирование древесины, учебное пособие, 2010
  16. Рыженко В.И. Полная енциклопедия художественных работ по дереву, 2010
  17. Рыкунин С.Н., Кандалина Л.Н. Технология деревообробки, 2005
  18. Симонов М.Н., Торговников Г.И. Окорочные верстати, 1990
  19. Соловьев А.А., Коротков В.И. Наладка деревообрабатывающего оборудования, 1987
  20. Суханов В.Г. Круглопильные верстати для распиловки древесины, 1984
  21. Фокин С.В., Шпортько О.Н. Деревообработка, Технологии і обладнання, 2017
  22. Хилтон Билл Работы по дереву, Полное руководство по изготовлению стильной мебели для дома, 2017