Верстат свердлильний настільний НС-2 вироблявся підприємством Челябінський Верстатобудівний завод №78 імені Серго Орджонікідзе, ФНВЦ "Станкомаш" , заснований у 1935 році.
Продукція, що виробляється: верстати токарно-гвинторізні: 1К62Д, 1К625Д, ТС-30, ТС-70, ТС-75, ТС-85 компактні токарні верстати ТВ-250.
Настільний свердлильний верстат НС-2 призначений для свердління отворів та нарізування різьблення в дрібних деталях із чавуну, сталі, кольорових сплавів та неметалічних матеріалів в умовах промислових підприємств, ремонтних майстерень та побутових майстерень.
Верстат НС-2 дозволяють виконувати такі операції:
Верстат розроблений за ТУ 114-146-92, ГОСТ 7599-82, ГОСТ 12.2.009-80, ГОСТ 370-81.
Свердлильний верстат НС-2 складається зі столу поз. 2. На столі жорстко закріплена стійка поз.1, де встановлено корпус поз.4.
На корпусі кріпиться плита з двигуном, що має пази для натягу приводного ременя.
Два струмки шківів забезпечує частоту обертання шпинделя 700 і 1000 об/хв.
Для натягу приводного ременя слід відпустити болти, що кріплять плиту до корпусу, натягнути ремінь та затягнути болти.
Переміщення корпусу (шпиндельної бабки) поз.4 по стійці поз.1 здійснюється рукояткою поз. № 2 (рис.4) передачею шестерня-рейка послабивши перед цим рукоятку затискача корпусу № 3 (рис.4).
Шпиндельний вузол змонтований у корпусі поз.4, а шпиндель у гільзі на шарикопідшипниках. Шпиндель навчає обертання від шківа через шліцеве з'єднання. Подача шпинделя ручна, здійснюється обертанням рукоятки поз. 1 (рис.4) за допомогою валика шестерні та гільзи з рейкою.
Повернення шпинделя здійснюється за допомогою противаги поз.6 (рис. 3) через систему роликів.
На кінці шпинделя кріпиться свердлильний патрон трикулачковий 13-B16.

Фото свердлильного верстата НС-2

Фото свердлильного верстата НС-2

Фото свердлильного верстата НС-2

Фото свердлильного верстата НС-2

Розташування основних вузлів свердлувального верстата НС-2
Розташування основних вузлів свердлувального верстата НС-2. Дивитись у збільшеному масштабі

Розташування органів керування свердлильним верстатом НС-2
Розташування органів керування свердлильним верстатом НС-2. Дивитись у збільшеному масштабі

Кінематична схема свердлувального верстата НС-2
Кінематична схема свердлувального верстата НС-2. Дивитись у збільшеному масштабі

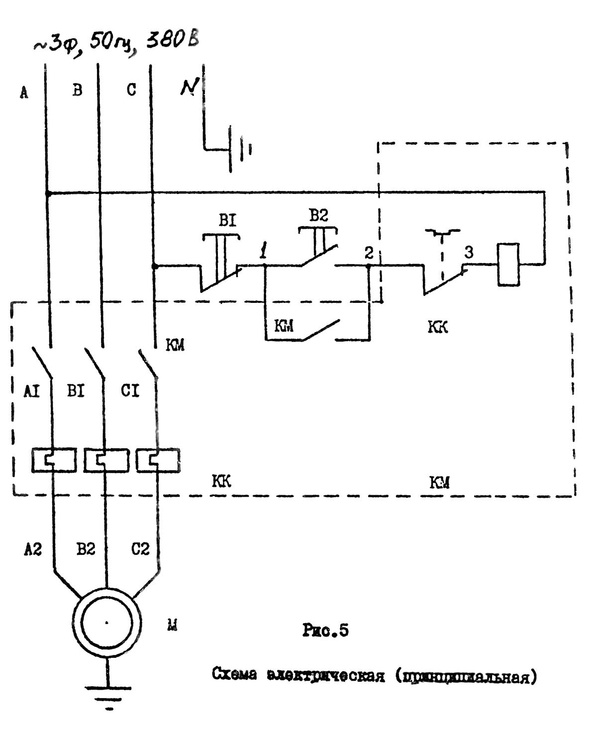
Електрична схема свердлильного верстата НС-2
Електрична схема свердлувального верстата НС-2. Дивитись у збільшеному масштабі
| Найменування параметру | 2M112 | НС-2 |
|---|---|---|
| Основні параметри верстата | ||
| Найбільший діаметр свердління сталі 45, мм | 12 | 12 |
| Найбільший діаметр різьби, що нарізається, в сталі в сталі 45, мм | ||
| Найменша та найбільша відстань від торця шпинделя до столу | 0..400 | 165..470 |
| Відстань від осі вертикального шпинделя до направляючих стійки (виліт), мм | 190 | 215 |
| Робочий стіл | ||
| Ширина робочої поверхні столу, мм | 250 х 250 | 350 x 375 |
| Число Т-подібних пазів | 3 | 1 |
| Шпиндель | ||
| Найбільше переміщення шпиндельної головки (траверси) колоною, мм | ||
| Хід гільзи шпинделя, мм | 100 | 73 |
| Частота обертання шпинделя, об/хв | 450, 800, 1400, 2500, 4500 | 700, 900 |
| Кількість швидкостей шпинделя | 5 | 2 |
| Конус шпинделя | Морзе В18 | Морзе В16 |
| Привід | ||
| Електродвигун приводу головного руху, кВт | 0,55 | 0,75 |
| Габарит та маса верстата | ||
| Габарити верстата (довжина ширина висота), мм | 795 х 370 х 950 | 760 х 350 х 900 |
| Маса верстата, кг | 120 | 150 |