metalinstryment.com
Довідник по металорізальних верстатів та пресовому обладнанні

П6320Б Пресс гідравлический одностоєчний
схеми, опис, характеристики

П6320Б Фото гідравлічного пресса одностоечного



Прессы механические, прессы гідравлические, верстати поперечно-строгальные

Відомості про виробника пресса гідравлічного одностоечного П6320Б

Производителем пресса П6320Б является Оренбургский завод гідравлических прессов Гідропресс, основанный в 1953 году.

Первый гідравлический пресс для переработки пластмасс ПА-474 был принят государственной комиссией 23 сентября 1953 года, етот день прессостроители і считают днем рождения завода «Гідропресс».

В настоящее время однокривошипный пресс П6320Б производит ПАО «Кувандыкский завод кузнечно-прессового оборудования «Долина» г. Кувандык

В настоящее время пресс П6320Б производит, также, ООО СО "Прессмаш", г. Москва





Верстати, выпускаемые Оренбургским заводом гідравлических прессов ГідроПресс


П6320Б пресс гідравлический одностоєчний. Назначение, область применения

Пресс гідравлический одностоєчний без гідроподушки П6320Б разработан в 1980 году і серийно выпускался з 1983 года. Разработчик ПО Гідропресс г. Оренбург.

Прессы гідравлические П6320Б предназначены для выполнения широкого круга работ: запрессовки - выпрессовки, прошивки, калибровки, правки (рихтовки), листовой штамповки без глубокой вытяжки.

Гідравлический пресс одностоєчний універсальний моделі П6320Б, усилием 100кН предназначен для выполнения следующих операций:

Прессы могут применяться как в производственных, так і в ремонтных подразделениях і мастерских.

Прессы П6320Б, кроме того, имеют возможность встройки в автоматическую линию или комплекс. По особому заказу все прессы могут оснащаться правильным столом і оснасткой, а прессы ПБ6330-02 і ПБ6334-02 - механізмом точной правки.

Все вузли прессов установлены на С-образной станине сваренной из листового проката. В верхней консоли закреплен рабочий цилиндр. К нижнему торцу штока цилиндра крепится ползун, з левой стороны пресса — конечные выключатели, з правой — електрошкаф з кнопочной панелью керування і манометры. На нижней консоли устанавливается стол для крепления инструмента или правильного стола, на который може быть установлено пристрій для правки. На передньої частини нижней консоли пресса расположены пульты керування. Для ручного керування предусмотрена рукоятка.

Привід пресса индивидуальный гідравлический, расположен внутри гідробака, установленного на станине.

Цилиндр - поршневого типа крепится в верхней частини станины. В отверстие штока цилиндра установлен рабочий инструмент.

Електросхема имеет блокировку, осуществляющую немедленное відключення вводного автомата при открывании дверцы електрошафи.

Рабочие органы цилиндра, насосов і гідроапаратури постоянно смазываются рабочей жидкостью — маслом — і не требуют специальной змазки. Оси рычагов керування смазываются пресс-масленками.

На прессах установлено ограждение і фотозащита.

Режими роботи:

Керування прессом осуществляется:

Смазка комбинированная.

Конструкція прессов позволяет встраивать их в автоматические линии.

Прессы изготовляются і поставляются в соответствии з техническими условиями

Климатическое виконання:

Разработчик — оренбургский завод гідравлических прессов «Гідропресс» (головной).


Пресс гідравлический. Загальні відомості

Гідравлический пресс — ето гідравлічна машина, предназначенная для создания больших сжимающих усилий. Ранее назывался «пресс Брама», так как изобретён і запатентован Джозефом Брама в 1795 году.

Гідравлический пресс состоит из двух сообщающихся гідравлических цилиндров (с поршнями) разного диаметра. Цилиндр заполняется гідравлической жидкостью, водой, маслом или другой подходящей жидкостью.

Гідравлические прессы в отличие от молотов деформируют металл при малых скоростях руху робочого инструмента — до 30 см/с. Эта скорость в начале деформирования заготовки равна нулю.

Основная робота совершается гідропрессами давлением рабочей жидкости (воды, емульсии, масла), создаваемым в рабочих цилиндрах. Чем выше ето давление і чем больше площадь рабочих цилиндров, тем значительнее усилие, развиваемое прессом. В настоящее время в гідравлических прессах создаются давления до 100 МПа (1000 ат). Усилие наиболее крупных гідравлических прессов доходит до 740 МН (75 000 тс).


Обозначение гідравлических прессов

Значения первых двух цифр в обозначениях гідравлических прессов:

За двумя первыми цифрами следуют еще две цифры, обозначающие номинальное усилие пресса, а затем буква, которая показывает его модификацию в группе прессов данного вида.


Значения основного параметра в обозначениях прессов:

Таблиця 1. Обозначение основного параметра пресса

Обозн. пресса Усилие пресса, кН Обозн. пресса Усилие пресса, кН Обозн. пресса Усилие пресса, кН Обозн. пресса Усилие пресса, кН
14 25 кН 20 100 кН 30 1000 кН 40 10000 кН
15 31,5 кН 21 125 кН 31 1250 кН 41 12500 кН
16 40 кН 22 160 кН 32 1600 кН 42 16000 кН
18 63 кН 23 200 кН 33 2000 кН 43 20000 кН
24 250 кН 34 2500 кН 44 25000 кН
25 315 кН 35 3150 кН 45 31500 кН
26 400 кН 36 4000 кН 46 40000 кН
28 630 кН 38 6300 кН 48 63000 кН

Пример обозначения гідравлических прессов:





Габаритные розміри гідравлічного пресса П6320Б

П6320Б Габаритные розміри гідропресса

Габаритные розміри гідравлічного пресса П6320Б


Габаритные розміри робочого простору гідравлічного пресса П6320Б

П6320Б Габаритные розміри робочого простору гідропресса

Габаритные розміри робочого простору пресса П6320Б


Загальний вигляд гідравлічного пресса П6320Б

П6320Б Загальний вигляд  гідропресса

Фото гідравлічного пресса П6320Б


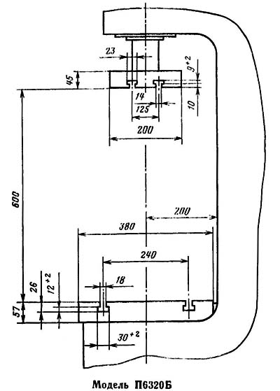
Настановне креслення гідравлічного пресса П6320Б

П6320Б Настановне креслення гідравлічного пресса

Настановне креслення пресса П6320Б





П6320Б Пресс гідравлический. Відеоролик.




Технічні характеристики пресса П6320Б

Наименование параметра П6320Б П6324Б П6326Б П6328Б
Основні параметри
Номинальное усилие пресса, кН (т) 100 (10) 250 (25) 400 (40) 630 (63)
Наибольший ход штока (ползуна), мм 400 500 500 500
Наибольшее расстояние между столом і штоком - открытая высота пресса, мм 600 710 710 710
Расстояние от оси штока до станины (вылет), мм 200 250 320
Скорость штока - рабочий ход, мм/сек 25..100 20 10
Скорость штока - холостой ход, мм/сек 240 250 220
Скорость штока - возвратный ход, мм/сек 360 350 310
Розміри стола, мм 500 х 380 630 х 480 710 х 560
Розміри проема в столе, мм 160
Розміри съемного правильного стола, мм 1250 х 300 1600 х 360 1600 х 360
Масса съемного правильного стола, кг 290
Масса правильного инструмента, кг
Высота стола над уровнем пола, мм 700
Номинальное рабочее давление жидкости основне, МПа (кгс/см²) 16 (160) 16 (160) 25 (250)
Номинальное рабочее давление жидкости вспомогательное, МПа 4 (40) 2,5 (25) 2,5
Електроустаткування
Количество електродвигателей 1 1
Електродвигун головного привода, кВт 4 7,5 13 11
Габарити і масса пресса
Габарити пресса (длина ширина высота), мм 810 х 1450 х 2285 900 х 1630 х 2760 1600 х 1845 х 2348 1060 х 1800 х 2900
Масса верстата, кг 1260 2150 3000 3390

    Список литературы:

  1. Банкетов А.Н., Бочаров Ю.А., Добринский Н.С. і др. Кузнечно-прессовое обладнання, 1970
  2. Бочаров Ю.А., Прокофьев В, Н. Гідропривід кузнечно-прессовых машин, 1969
  3. Белов А.Ф., Розанов Б. В., Линц В. П. Объемная штамповка на гідравлических прессах, 1971
  4. Живов Л.И. Кузнечно-штамповочное обладнання, 2006
  5. Кузьминцев В.Н. Ковка на молотах і прессах, 1979
  6. Розанов Б.В. Гідравлические прессы, 1959
  7. Титов Ю.А. Обладнання кузнечно-прессовых цехов, 2001
  8. Щеглов В.Ф. Кузнечно-прессовые машины, 1989
  9. Берлет Разработка чертежей поковок, 2001
  10. Рудман Л.И. Справочник по оборудованию для листовой штамповки, 1989
  11. Романовский В.П. Справочник по холодной штамповке, 1965
  12. Охрименко Я.М. Технология кузнечно-штамповочного производства, 1966
  13. Кузьминцев В.Н. Ковка на молотах і прессах, 1979
  14. Мещерин В.Т. Листовая штамповка. Атлас схем, 1975