metalinstryment.com
Довідник по металорізальних верстатів та пресовому обладнанні

П6324Б Пресс гідравлический одностоєчний
схеми, опис, характеристики

П6324Б Фото гідравлічного пресса одностоечного



Прессы механические, прессы гідравлические, верстати поперечно-строгальные

Відомості про виробника пресса гідравлічного одностоечного П6324Б

Производителем пресса П6324Б является Оренбургский завод гідравлических прессов Гідропресс, основанный в 1953 году.

і Тамбовский завод технологическог оборудования.

Первый гідравлический пресс для переработки пластмасс ПА-474 был принят государственной комиссией 23 сентября 1953 года, етот день прессостроители і считают днем рождения завода «Гідропресс».

В настоящее время однокривошипный пресс П6324Б производит ПАО «Кувандыкский завод кузнечно-прессового оборудования «Долина» г. Кувандык

В настоящее время пресс П6324Б производит, также, ООО СО "Прессмаш", г. Москва





Верстати, выпускаемые Оренбургским заводом гідравлических прессов ГідроПресс


П6324Б Пресс гідравлический одностоєчний. Назначение, область применения

Машина П6324Б разработана в 1981 году і серийно выпускалась з 1983 года. Разработчик ПО Гідропресс г. Оренбург.

Пресс гідравлический одностоєчний без гідроподушки П6324Б предназначен для выполнения широкого круга работ: запрессовки - выпрессовки, прошивки, калибровки, правки (рихтовки), листовой штамповки без глубокой вытяжки.

Гідравлический пресс одностоєчний універсальний моделі П6324Б, усилием 250кН предназначен для выполнения следующих операций:

Гідравлические прессы П6324Б могут применяться как в производственных, так і в ремонтных подразделениях і мастерских.

Прессы П6324Б, кроме того, имеют возможность встройки в автоматическую линию или комплекс. По особому заказу все прессы могут оснащаться правильным столом і оснасткой, а прессы ПБ6330-02 і ПБ6334-02 - механізмом точной правки.

Все вузли прессов установлены на С-образной станине сваренной из листового проката. В верхней консоли закреплен рабочий цилиндр. К нижнему торцу штока цилиндра крепится ползун, з левой стороны пресса — конечные выключатели, з правой — електрошкаф з кнопочной панелью керування і манометры. На нижней консоли устанавливается стол для крепления инструмента или правильного стола, на который може быть установлено пристрій для правки. На передньої частини нижней консоли пресса расположены пульты керування. Для ручного керування предусмотрена рукоятка.

Привід пресса индивидуальный гідравлический, расположен внутри гідробака, установленного на станине.

Цилиндр - поршневого типа крепится в верхней частини станины. В отверстие штока цилиндра установлен рабочий инструмент.

Електросхема имеет блокировку, осуществляющую немедленное відключення вводного автомата при открывании дверцы електрошафи.

Рабочие органы цилиндра, насосов і гідроапаратури постоянно смазываются рабочей жидкостью — маслом — і не требуют специальной змазки. Оси рычагов керування смазываются пресс-масленками.

На прессах установлено ограждение і фотозащита.

Режими роботи:

Керування прессом осуществляется:

Смазка комбинированная.

Конструкція прессов позволяет встраивать их в автоматические линии.

Разработчик — оренбургский завод гідравлических прессов «Гідропресс» (головной).





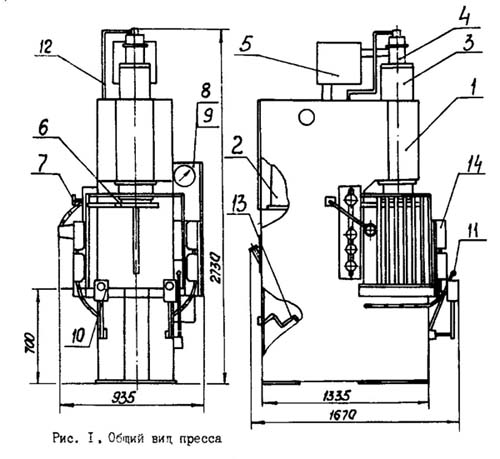
Габаритные розміри пресса П6324Б

П6324Б Габаритные розміри гідропресса

Список складових частин пресса П6324Б

  1. Станина, сваренная из стальных листов
  2. Гідроагрегат
  3. Рабочий цилиндр
  4. Клапан наполнения
  5. Бак наполнения
  6. Ползун
  7. Кронштейн з флажком для переключения конечных выключателей
  8. Електроустаткування
  9. Ящик керування з кнопочной панелью
  10. Пульты двухкнопочного керування
  11. Рукоятки рычажного керування
  12. Трубопровод, соединяющий гідроагрегат з цилиндром і манометром
  13. Змеевик маслоохладителя
  14. Вузли фотозащиты для блокировки руху

Посадочные і присоединительные базы пресса П6324Б

П6324Б Посадочные і присоединительные базы гідропресса


Загальний вигляд гідравлічного пресса П6324Б

П6324Б Загальний вигляд  гідропресса


Розташування органів керування гідравлическим прессом П6324Б

П6324Б Розташування органів керування гідравлічного пресса

Список органів керування гідравлическим прессом П6324Б

  1. Вводный выключатель
  2. Лампочка "Сеть включена"
  3. Кнопка "Пуск двигуна"
  4. Кнопка "Стоп двигуна"
  5. Кнопка "Стоп автороботи"
  6. Лампочка "Масло перегрето"
  7. Кнопка аварийного подъема штока
  8. Кнопка двурукого увімкнення
  9. Керування от рукоятки
  10. Переключатель режимов роботи
  11. Переключатель режимов керування
  12. Ручки регулировки ходу ползуна
  13. Манометр давления в поршневой полости цилиндра
  14. Регулятор зусилля (давления) цилиндра
  15. Манометр шестеренного насоса
  16. Реле часу
  17. Манометрический термометр для контроля температуры масла в емкости станины
  18. Кнопка "Загальний стоп"




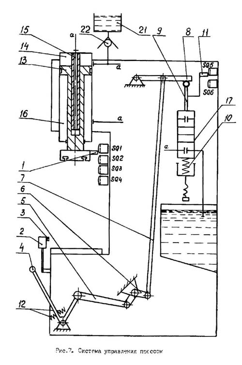
Система керування гідравлическим прессом П6324Б

П6324Б Система керування гідравлическим прессом

Пристрій механізма керування гідравлическим прессом П6324Б

На ползуне пресса закреплен кронштейн з флажком а- екраном, который взаимодействует з конечными выключателями SQ1, 5Q2, 5Q3, SQ4.

На передних пультах керування 2 установлены кнопки 3. Рукоятка ручного керування 4 через тягу 5, рычаг 6, тягу 7 присоединяется к шарнирно-закрепленной на станине планке 8, которая входит в прорезь хвостика золотника 9 дросселя 17. Дроссель крепится к станине болтами, золотник подпружинен регулируемой пружиной 10.

На золотнике закреплен кронштейн з флажком 11, который взаимодействует з конечными выключателями SQ5 і SQ6. Упоры 12 ограничивают ход рукоятки 4.

Совместно з системой керування работают бак наполнения 21, клапан наполнения 22 і гідроагрегат (на рис. не показан). На рисунке буквой "а" обозначены места подвода рабочей жидкости от гідроагрегата к цилиндру 13 і дросселю 17. Подвод рабочей жидкости осуществляется в поршневую 14, форсирующую 15 і штоковую 16 полости цилиндра.

Пристрій фотозащиты і її работа

На прессе установлена автономная группа вузлів фотозащиты. Фотозащита состоит из двух кронштейнов і двух стальных решеток, закрепленных на боковых листах станины, скрепленных кронштейнами і тягой между собой. На передних кронштейнах установлены два осветителя і два светоприемника.

Фотозащиту следует применять для дополнительной защиты обслуживающего персонала при двуруком управлении і при необходимости однорукого керування для всех режимов роботи пресса.

При включенной фотозащите пересечение световых лучей в наладочном режиме обеспечивает останов ползуна при ходе вниз, при кнопочном напівавтоматическом і автоматическом режимах керування - включает возвратный ход ползуна і останов его в исходном положении.


Гідравлічна схема пресса П6324Б

П6324Б гідросхема пресса

Гідроагрегат 41П32В, клапан наполнения 33КН-62

Система керування гідравлическим прессом П6324Б

Система изображена на рис.7 в исходном состоянии.

На прессе предусмотрены наступні режими роботи

Переключення режимов осуществляется посредством переключателей, установленных на пульті керування пресса (см.табл.б,п.10,11)




Наладочный режим роботи пресса П6324Б

Исходное положение пресса - ползун вверху.

Переключатель режимов работ поставить на ручной режим.

Нажатием кнопки "Пуск" включается електродвигатель насоса. В исходном положении рабочая жидкость проходит путь от насоса через панель гідроагрегата і сливается в маслобак.

При движении рукоятки 4 вниз через систему тяг і рычагов, планка 8, перемещаясь относительно опори, нажимает на золотник 9 і перемещает его вниз. Вместе з движением золотника перемещается кронштейн з флажком 11. В момент входа флажка в конечный выключатель SQ6 подается електрична команда на електрогідроаппараты гідропанелі, которые пропускают поток масла от насоса в форсирующую полость 15 цилиндра. Ползун пресса перемещается ускоренно вниз. Рабочая жидкость из штоковой полости 16 через електрогідроаппараты панелі гідроагрегата сливается в маслобак (см.руководство к гідроагрегату).

Клапан наполнения 22 открыт для свободного заполнения поршневой полости 14 рабочей жидкостью из бака наполнения 21. При своем ускоренном движении вниз ползун при помощи флажка I включает конечный выключатель SQ2, от которого подается електрична команда на рабочий ход, рабочая жидкость поступает одновременно в поршневую і форсирующую полости, что обеспечивает рух ползуна з рабочим усилием.

Скорость ползуна пресса на форсирующем (холостом) і рабочем ходе регулируется величиной ходу рукоятки, которая через рычаги 5, 6, 7 і планку 8 воздействует на золотник 9, пропускающий поток рабочей жидкости от насоса, независимо от гідропанелі, на слив в бак і тем самым изменяет величину потока, поступающего в полости цилиндра.

При достижении ползуна з флажком конечного выключателя SQ4 ползун останавливается, так как при етом обеспечивается слив через гідропанель. Останов ползуна осуществляется также рукояткой при її среднем положении, когда флажок II не включает ни один из конечных выключателей SQ5 или SQ6.

При снятии зусилля з рукоятки пружина 10 возвращает золотник з флажком в верхнее исходное положение, в котором конечный выключатель SQ5 замыкается і подает команду на електрогідроаппараты панелі для возвратного ходу. При етом рабочая жидкость от насоса подается в штоковую полость 16, поршневая 14 і форсирующая 15 полости цилиндра соединяются со сливом. Ползун движется вверх до конечного выключателя SQ3, который соединяет електрогідроаппараты гідроагрегата на перелив из форсирующей полости в штоковую. Происходит ускоренный ход ползуна вверх до конечного выключателя SQ1, который дает команду на відключення електрогідроаппаратов - ползун останавливается. Насос соединен через гідроаппараты панелі со сливом рабочей жидкости в бак.

В наладочном режиме передбачаєся двурукое керування, то есть рух ползуна осуществляется при одновременном нажатии рукоятки 4 і кнопки 3 левого пульта.

Рух идет до опускания кнопки 3 или увімкнення конечного выключателя SQ4. При отпускании рукоятки происходит возвратный ход




Полуавтоматический режим роботи пресса П6324Б

Исходное положение пресса - ползун вверху. Керування осуществляется от електрокнопок на пультах 2. Режимными переключателями можно установить наступні варіанти кнопочного керування:

Ход ползуна при управлении от кнопок осуществляется следующим образом.

На пульті пресса нажимается кнопка "Пуск електродвигуна". По команде от кнопок двух (двурукое керування) или одной (однорукое керування) подается електрический сигнал на гідроаппараты панелі, которые пропускают поток рабочей жидкости от насоса в форсирующую полость 15 цилиндра. Ползун пресса перемещается ускоренно вниз. Рабочая жидкость из штоковой полости 16 сливается в маслобак. Клапан наполнения 22 открыт для свободного заполнения поршневой полости 14 рабочей жидкостью из бака наполнения 21.

При своем ускоренном движении вниз ползун при помощи флажка I включает конечный выключатель SQ2, от которого подается команда на гідроаппараты панелі, рабочая жидкость подается в поршневую полость 14 цилиндра, происходит рабочий ход ползуна, так как поток рабочей жидкости поступает в две полости одновременно. Возврат ползуна осуществляется по команде SQ4 или реле часу. При работе з реле часу пресс може осуществлять выдержку под давлением.

При отпускании обеих или одной из кнопок керування подается команда на возвратный ход ползуна. Поршневая полость соединяется со сливом, а штоковая - з насосом, ползун движется вверх з малой скоростью, но з достаточным усилием, чтобы преодолеть сопротивление при разъеме прессформ или других технологических операциях, требующих в начале ходу большое усилие. Величина такого переміщення определяется конечным выключателем SQ3. По команде от конечного выключателя SQ3 обеспечивается гідравлічна связь между полостью 15 форсирующего цилиндра і штоковой полостью 16. Жидкость из полости форсирующего цилиндра поступает в штоковую полость головного цилиндра. Ползун совершает ускоренный возвратный ход до конечного выключателя SQ1, который дает команду на останов ползуна. Насос соединен со сливом рабочей жидкости в маслобак. Система керування в исходном положении.

Автоматический режим роботи пресса П6324Б

Для роботи пресса в автоматическом режиме необходимо режимный переключатель работ на пульті керування поставить в положение "автоматический режим".

При автоматическом режиме роботи пресса після нажатия одной или двух кнопок 3, на прессе непрерывно совершаются все те же циклы, которые указаны в разделе 6.3.2. настоящего руководства.

Остановка автоматических циклов осуществляется при нажатии кнопки "Стоп автороботи". При етом все рабочие органы пресса приходят в исходное положение.

Возможность подключения вузлів механизации к прессу П6324Б

На прессе предусмотрено подключение вузлів механизации. Для етого в гідроагрегате предусмотрен отвод потока рабочей жидкости з расходом 6,3 л/мин і давлением до 2,5 МПа (см. руководство к гідроагрегату), а на пульті керування имеется манометр (см. рис.8, поз.15).

В електросхеме также предусмотрены свободные контакты з учетом керування вузлами механизации (см. руководство електроустаткування).


Схема електрична гідравлічного пресса П6324Б

П6324Б електросхема принципова гідравлічного пресса




П6324Б Пресс гідравлический одностоєчний. Відеоролик.




Технічні характеристики пресса П6324Б

Наименование параметра П6320Б П6324Б
Основні параметри
Номинальное усилие пресса, кН (т) 100 (10) 250 (25)
Наибольший ход штока (ползуна), мм 400 500
Наибольшее расстояние между столом і штоком - открытая высота пресса, мм 600 710
Расстояние от оси штока до станины (вылет), мм 200 250
Скорость штока - рабочий ход, мм/сек 25..100 20..40
Скорость штока - холостой ход, мм/сек 240 250
Скорость штока - возвратный ход, мм/сек 360 350
Розміри стола, мм 500 х 380 630 х 480
Розміри проема в столе, мм
Розміри съемного правильного стола, мм 1250 х 300 1600 х 360
Масса съемного правильного стола, кг 290
Масса правильного инструмента, кг
Высота стола над уровнем пола, мм
Номинальное рабочее давление жидкости основне, МПа 16 16
Номинальное рабочее давление жидкости вспомогательное, МПа 4 2,5
Електроустаткування
Количество електродвигателей 1 1
Електродвигун головного привода, кВт 4 7,5
Габарити і масса пресса
Габарити пресса (длина ширина высота), мм 1450 х 810 х 2285 1670 х 935 х 2730
Масса верстата, кг 1260 1980

    Список литературы:

  1. Пресс гідравлический П6324Б. Руководство по експлуатации, Тамбов, 1991

  2. Банкетов А.Н., Бочаров Ю.А., Добринский Н.С. і др. Кузнечно-прессовое обладнання, 1970
  3. Бочаров Ю.А., Прокофьев В, Н. Гідропривід кузнечно-прессовых машин, 1969
  4. Белов А.Ф., Розанов Б. В., Линц В. П. Объемная штамповка на гідравлических прессах, 1971
  5. Живов Л.И. Кузнечно-штамповочное обладнання, 2006
  6. Кузьминцев В.Н. Ковка на молотах і прессах, 1979
  7. Розанов Б.В. Гідравлические прессы, 1959
  8. Титов Ю.А. Обладнання кузнечно-прессовых цехов, 2001
  9. Щеглов В.Ф. Кузнечно-прессовые машины, 1989
  10. Берлет Разработка чертежей поковок, 2001
  11. Рудман Л.И. Справочник по оборудованию для листовой штамповки, 1989
  12. Романовский В.П. Справочник по холодной штамповке, 1965
  13. Охрименко Я.М. Технология кузнечно-штамповочного производства, 1966
  14. Кузьминцев В.Н. Ковка на молотах і прессах, 1979
  15. Мещерин В.Т. Листовая штамповка. Атлас схем, 1975