Виробник та розробник токарно-револьверного верстата моделі 1Б140, 1Б125 - Хабарівський верстатобудівний завод.
Хабарівський верстатобудівний завод у різні роки випускав також моделі 1Е140 (1Е125), 1П140 (1П125, 1П165), 1Г140П (1Г125П, 1Г165П), 1І140П (1І125П) 1.
Автомати токарно-револьверні одношпиндельні пруткові моделі 1Б140 та 1Б125 призначені для токарної обробки деталей типу тіл обертання з діаметральними розмірами відповідно до 40 та 25 мм та довжиною до 90 мм із круглого, квадратного та шестигранного калібру. не нижче 4 класу точності за ГОСТ 7417-75, ГОСТ 8559-75х та ГОСТ 8560-67 в умовах масового та серійного виробництва. При застосуванні групової обробки деталей автомати можуть ефективно використовуватись у дрібносерійному виробництві
В якості пристрій верстат 1Б140 може мати магазинний пристрій для обробки деталей із штучних заготовок.
Автомат 1Б140 призначений в основному для обробки кольорових металів та їх сплавів, можлива також обробка сталей.
На автоматі обробляються прутки круглого та багатогранного перерізу не нижче 11-го квалітету точності за ГОСТ 7417—75.
Шорсткість оброблюваної поверхні:
Розсіювання настроєного розміру, одержуваного різцем, встановленим у револьверній головці, при обробці кольорового металу протягом двох змін — 15 мкм після попереднього підігріву верстата протягом 0,5 год.
У конструкції автомата 1Б140 передбачено: застосування гідростатичних опор у шпиндельній бабці верстата; револьверний супорт з V-подібною напрямною та фіксуванням револьверної головки на зубчастиний вінець.
Привід шпинделя здійснюється від електродвигуна через коробку швидкостей з електромагнітними муфтами та клинопасову передачу. Автоматичне зміна швидкості здійснюється командоапаратом за допомогою електромуфт. Привід допоміжного руху - від електродвигуна приводу допоміжного валу через ланцюгову та зубчасту передачі. Для скорочення часу на неодружені ходи та переналагодження в автоматі передбачені швидке обертання розподільчого валу та знімний блок кулачків поперечних супортів. Всі механізми і робочі вузли верстата наводяться в рух від кулачків розподільчогопро та допоміжних валів.
В автоматі 1Б140 програмуються в циклі:
Автомат 1Б140 має блокувальні та запобіжні пристрої для забезпечення вимог техніки безпеки.
Верстат можна вбудовувати в автоматичну лінію.
Токарно-револьверні автомати моделей 1Б140 та 1Б125 відрізняються між собою пристроєм шпиндельної бабки та комплектацією приладдям.
Клас точності автомата Н за ГОСТ 8—82Е.
Умови експлуатації автомата - УХЛ4 за ГОСТ 15150-69.
Розробник: Ленінградське СКБ прецизійного верстатобудування, м. Ленінград.
Виробник: Хабарівський верстатобудівний завод, м. Хабаровськ.
Синоніми: токарно-револьверний верстат, револьверний верстат, токарно-револьверний напівавтомат, токарно-револьверний автомат, turret lathe, automatic turret lathe.

Принцип роботи токарно-револьверного автомата
На відміну від автоматів поздовжнього точення шпиндельна бабка 1 токарно-револьверного автомата встановлена на станині жорстко і поздовжнього переміщення не має (рис. 81).
Для нарізування різьблення на заготівлі різьбонарізним інструментом, що не обертається, шпиндель 2 автомата обертається у двох напрямках:
Крім поперечних супортів 3 токарно-револьверний автомат має поздовжній револьверний супорт 5, на якому встановлена поворотна шестипозиційна (I-VI) револьверна головка 4 з інструментами для обробки поздовжньою подачею. В одній позиції револьверної головки встановлюється спеціальний упор 6, що обмежує величину подачі дроту 7.
Наявність в токарно-револьверних автоматах трьох (а в деяких і чотирьох) поперечних супортів і поздовжнього револьверного супорта значно розширює їх технологічні можливості порівняно з автоматами поздовжнього точення і дозволяє обробляти на них досить складні заготовки із застосуванням великої кількості різноманітних різальних інструментів. Застосування спеціальних пристроїв ще більше розширює їх технологічні можливості.
Більшість робочих операцій виконується при швидшому лівому обертанні шпинделя, а такі операції, як нарізання різьблення, розгортання та деякі інші, - при більш повільному правому обертанні шпинделя. Перемикання напрямків обертання шпинделя здійснюється автоматично.
Недоліком токарно-револьверних автоматів є необхідність подавати пруток відразу на всю довжину заготовки, що обробляється. При великому вильоті l прутка зі шпинделя він прогинатматися під дією сили різання Рz, що призводитиме до зниження точності обробки.

Схема обробки заготовки на токарно-револьверному автоматі
На рис. 82 показано обробку заготівлі типової деталі на токарно-револьверному автоматі. Після відрізки деталі та відходу відрізного різця проводиться швидка подача дроту до упору (I) відразу на всю довжину заготовки. Потім проводиться послідовна обробка заготівлі різальними інструментами (II-VII), що встановлюються в робочу позицію при періодичному повороті револьверної головки, та інструментами поперечних супортів.
Приклад позначення одношпиндельних автоматів та напівавтоматів: 1Б140, 1Е140, 1П140, 1Г140П, 1І125П, 1І140П, 1І165П.

Габарит робочого простору верстата 1Б140

Фото токарно-револьверного верстата 1Б140

Фото токарно-револьверного верстата 1Б140

Фото токарно-револьверного верстата 1Б140

Розташування складових частинин револьверного верстата 1Б140

Розташування органів керування револьверним верстатом 1Б140

Електрична схема токарно-револьверного верстата 1Б140
Схема електрична токарно-револьвер. Дивитись у збільшеному масштабі
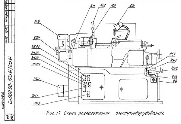
На верстаті встановлені чотири трифазні асинхронні короткозамкнуті електродвигуни (рис.16 і рис.17).
В електросхемі верстата можуть застосовуватися такі величини напруги:
Електродвигуни верстата
При початковому пуску верстата необхідно перевірити насамперед надійність заземлення та якість монтажу електроустаткування зовнішнім оглядом.
Після огляду на клемних наборах у шафі керування відключити дроти живлення всіх електродвигунів. За допомогою ввідного вимикача ВР, розташованого в ніші електроустаткування (мал. 16), верстат підключити до цехової мережі.
За допомогою кнопок та перемикачів верстата перевірити чіткість спрацьовування магнітних пускачів та реле.
Схема електрична принципова показана на рис.14. У таблиці б наведено перелік елементів до схеми.
Перед початком роботи необхідно переконатися, що всі захисні автомати увімкнені. Натисканням кнопки KH1, розташованої на пульті керування, включається із самоблокуванням магнітний пускач РВ, одночасно з ним включається пускач РШ. Підключаються до мережі електродвигуни приводу шпинделя – МШ та приводу допоміжного валу – MB. Розмикаючі контакти РШ 201-222; 201-223 розривають ланцюги живлення муфт ЕМП1; ЕМП2; ЕМР1; ЕМР2 безпосередньо від випрямляча. Через замикаючі контакти магнітного пускача РВ (A3-A4; C3-C4) подається напруга трансформатор Тр2 і випрямляч Д1-Д4. Включаються електромагнітні муфти коробки швидкостей. Шпиндель починає обертатися.
Зупинка електродвигунів здійснюється натисканням кнопки Кн2.
На верстаті можна отримати три різні швидкості шпинделя на лівому обертанні і три на правому при певній парі змінних коліс, змінюючи поєднання включення муфт першої та другої швидкості ЕМ1 та ЕМ2, а також муфт прямого ходу ЕМП1, ЕМП2 та реверсу ЕМР1, ЕМР2. Муфти розташовані у коробці швидкостей верстата (рис.17). Залежно від необхідної програми швидкостей шпинделя в циклі необхідні поєднання одночасного включення муфт набираються при налагодженні на пульті керування шляхом нескладних перемикань вимикачів ПС1.ПС6 і ПВ1.
Переключення заданої на пульті керування програми швидкостей шпинделя в циклі відбувається автоматично залежно від положення перемикача командоапарата Км (рис.17).
Керування електродвигуном МП здійснюється за допомогою командоапарата, перемикачів ПП1...ПП6 та реле РПП,РПБС. При включенні котушки реле РПП, що розмикає контактом його (10-11) відключається магнітний пускач РШ, вимикається двигун шпинделя МШ. Через контакти РШ (201-222, 201-223) подається живлення на муфти безпосередньо від випрямляча. Відбувається швидке гальмування шпинделя. Замикаючим контактом РПП 10-16 включається котушка магнітного пускача РП. Електродвигун приводу пристосовуєтьсяблінь МП підключається до мережі.
При включенні проміжного реле РПБС замикаючим контактом 10-16 включається котушка пускача РП. Двигун МП підключається до мережі, при цьому електродвигун МШ залишається увімкненим, що необхідно для операції швидкого свердління.
Схема передбачає зупинку всіх електродвигунів при закінченні матеріалу (прутка). Це досягається спрацюванням вимикача ВОМ (5-7).
Освітлення робочого місця здійснюється світильником із вбудованим вимикачем. Світильник змонтований за револьверним супортом.
Схема має сигналізацію підключення верстата до мережі (включається сигнальна лампа ЛС1, розташована на пульті керування) (рис. 16 та 17).
Увімкнення лампи світлофора ЛС2 сигналізує про зупинку верстата. Лампа змонтована на огорожі супортів (рис.16 та 17).
Захист електроустаткування від струмів короткого замикання здійснюється автоматичними вимикачами Bl, В2 та запобіжниками Пр1, Пр2, ПрЗ.
Захист електродвигунів від перевантажень здійснюється автоматичним вимикачем В1 та тепловими реле РТВ, РТП.
Значення номінальних струмів розчіплювачів автоматів та змінних нагрівачів реле дано на принциповій схемі (рис.14).
Спрацювання теплових реле та автоматів рівносильно натисканню кнопки Кн2.

Перелік елементів токарно-револьверного верстата 1Б140, 1Б125
Перелік елементів токарно-револь , 1Б125. Дивитись у збільшеному масштабі

Перелік елементів токарно-револьверного верстата 1Б140, 1Б125
Перелік елементів токарно-револь , 1Б125. Дивитись у збільшеному масштабі

Схема з'єднань токарно-револьверного верстата 1Б140, 1Б125
Схема1 , 1Б125. Дивитись у збільшеному масштабі

Схема розташування електроустаткування токарно-револьверного верстата 1Б140, 1Б125
| Найменування параметра | 1І140п | 1І125п | 1Б140 | 1Б125 |
|---|---|---|---|---|
| Основні параметри верстата | ||||
| Клас точності верстата Н за ГОСТ8-71 | П | П | Н | Н |
| Найбільший діаметр прутка, що обробляється, при внутрішній/зовнішній подачі, мм | 40/45 | 25/30 | 40/45 | 28/30 |
| Найбільша сторона квадрата оброблюваного квадратного прутка при внутрішній/зовнішній подачі, мм | 34/38 | 22/24 | ||
| Найбільший розмір "під ключ" шестигранника, що обробляється, при внутрішній/зовнішній подачі, мм | 28/30 | 17/22 | ||
| Найбільший розмір різьблення, що нарізається мітчиком по сталі, мм | М24х3 | М16х2 | М20х2,5 | М18х2,5 |
| Найбільший розмір різьблення, що нарізається мітчиком по латуні, мм | М27х3 | М18х2,5 | М27х3 | М20х2,5 |
| Найменший розмір різьблення, що нарізається мітчиком по сталі та латуні, мм | М6х1 | М5х0,8 | ||
| Найбільший розмір різьблення, що нарізається плашкою по сталі, мм | М27х3 | М18х2,5 | М24х2,5 | М18х2,5 |
| Найбільший розмір різьблення, що нарізається плашкою по латуні, мм | М30х3,5 | М20х2,5 | М36х4 | М24х3 |
| Найменший розмір різьблення, що нарізається плашкою по сталі та латуні, мм | М6х1 | М5х0,8 | М6х1 | М5х0,8 |
| Найбільша довжина подачі прутка, мм | 110 | 110 | 100 | 100 |
| Найбільша довжина прутка, мм | 3000 | 3000 | 3000 | 3000 |
| Діаметр отвору в шпинделі, мм | 53 | 53 | 53 | 37 |
| Відстань від торця шпинделя до револьверної головки, мм | 85..235 | 85..235 | 75..210 | 75..210 |
| Шпіндель | ||||
| Кількість робочих швидкостей шпинделя | б/с | б/с | 13 | 13 |
| Межі чисел оборотів шпинделя при прямому (лівому) обертанні, об/хв | 16..4000 | 16..4000 | 160..2500 | 80..1250 |
| Затискач виробу | Автомат | Автомат | Автомат | Автомат |
| Переключення швидкостей на ходу | Є | Є | Є | Є |
| Захист від перевантажень | Є | Є | Є | Є |
| Час обороту розподільчого валу, з | 7,4..1000 | 7,4..1000 | 10,1..608,3 | 10,1..608,3 |
| Прискорене обертання розподільчого валу, об/хв | 8 | 8 | ||
| Час перемикання швидкості обертання шпинделя, з | 0,5 | 0,5 | ||
| Час повороту револьверної головки на одну позицію, з | 1 | 1 | 1 | 1 |
| Час подачі та затискання прутка, з | 1 | 1 | 1 | 1 |
| Найбільший момент, що крутить, на шпинделі не менше, Нм (кг*м) | 200 | 200 | ||
| Подання | ||||
| Найбільше поздовжнє (Z) переміщення револьверного супорта, мм | 100 | 100 | 100 | 100 |
| Найбільша довжина проточки від револьверного супорта, мм | 100 | 100 | 90 | 90 |
| Діаметр револьверної голівки, мм | 180 | 180 | 160 | 160 |
| Найбільша довжина регулювання револьверного супорта, мм | 50 | 50 | 35 | 35 |
| Діаметр отворів у револьверній голівці, мм | 32 | 32 | 31, 75 | 31, 75 |
| Кількість поперечних горизонтальних супортів | 2 | 2 | 2 | 2 |
| Найбільший хід поперечних супортів, мм | 45 | 45 | 45 | 45 |
| Найбільша величина регулювання поперечних супортів, мм | 15 | 15 | 10 | 10 |
| Найбільше переміщення поперечних супортів на один поділ лімба, мм | 0,05 | 0,05 | 0,062 | 0,062 |
| Кількість вертикальних супортів | 2 | 2 | 2 | 2 |
| Найбільший хід вертикальних супортів, мм | 45 | 45 | 45 | 45 |
| Найбільша величина регулювання вертикальних супортів, мм | 15 | 15 | 10 | 10 |
| Кількість поздовжніх супортів | 1 | 1 | 1 | 1 |
| Найбільший хід поздовжнього супорта, мм | 80 | 80 | 70 | 70 |
| Кількість інструментів у револьверній головці | 8 | 8 | 6 | 6 |
| Електрообладнання верстата | ||||
| Кількість електродвигунів на верстаті | 5 | 5 | 5 | 5 |
| Електродвигун головного приводу, кВт (про/хв) | 11 (910) | 11 (910) | 5,5 | 5,5 |
| Електродвигун приводу допоміжного валу, кВт (про/хв) | 1,1 (920) | 1,1 (920) | 1,1 | 1,1 |
| Електродвигун насоса мастила, кВт (про/хв) | 0,25 (1380) | 0,25 (1380) | 0,125 | 0,125 |
| Електродвигун насоса охолодження, кВт (про/хв) | 0,6 (2800) | 0,6 (2800) | 0,125 | 0,125 |
| Електродвигун приводу пристроїв, кВт (про/хв) | 0,7 | 0,7 | ||
| Сумарна потужність всіх електродвигунів, кВт | 7,29 | 7,29 | 7,25 | 7,25 |
| Габарити та маса верстата | ||||
| Габаритні розміри верстата (довжина, ширина, висота), мм | 2180 х 1180 х 1700 | 2180 х 1180 х 1700 | 1900 х 900 х 1580 | 1900 х 900 х 1580 |
| Маса верстата, кг | 3000 | 3000 | 2300 | 2300 |