Виробник та розробник токарного верстата моделі СМТ-1 - Хабарівський верстатобудівний завод .
Хабаровський верстатобудівний завод у різні роки випускав, також, моделі 1Е140 (1Е125), 1П140 (1П125, 1П165), 1Г140П (1Г125П, 1Г165П), 1І140П (1І125П, 1І16).
Верстат малогабаритний широкоуніверсальний токарно-гвинторізний настільного типу СМТ-1 призначений для виконання різних токарних робіт у патроні, центрах та паводковому патроні.
Велика кількість приладдя, що поставляється зі верстатом, роблять його широкоуніверсальним і дозволяють виробляти:
Верстат призначений для пересувних майстерень, у тому числі суднових, навчальних центрів.

Фото токарно-гвинторізного верстата СМТ-1
Передня бабка токарно-гвинторізного верстата СМТ-1. Дивитись у збільшеному масштабі

Фото токарно-гвинторізного верстата СМТ-1
Передня бабка токарно-гвинторізного верстата СМТ-1. Дивитись у збільшеному масштабі

Фото токарно-гвинторізного верстата СМТ-1
Передня бабка токарно-гвинторізного верстата СМТ-1. Дивитись у збільшеному масштабі

Фото токарно-гвинторізного верстата СМТ-1

Розташування складових частинин токарного верстата СМТ-1

Розташування органів керування токарно-гвинторізним верстатом СМТ-1

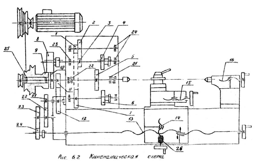
Кінематична схема токарно-гвинторізного верстата СМТ-1

Таблиця оборотів шпинделя токарно-гвинторізного верстата СМТ-1

Регулювання шпинделя токарно-гвинторізного верстата СМТ-1

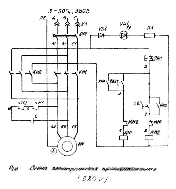
Електрична схема токарно-гвинторізного верстата СМТ-1
| Найменування параметру | ТВ-4 | ТВ-6 | СМТ-1 |
|---|---|---|---|
| Основні параметри верстата | |||
| Класс точності | Н | Н | Н |
| Найбільший діаметр заготовки над станиною, мм | 200 | 200 | 250 |
| Найбільший діаметр заготовки над супортом, мм | 125 | 80 | 130 |
| Висота центрів над плоскими напрямними станини, мм | 108 | 108 | 125 |
| Найбільша довжина заготовки у центрах (РМЦ), мм | 350 | 350 | 430 |
| Найбільша довжина обточування, мм | 300 | 300 | 430 |
| Найбільша висота тримача різця, мм | 10 х 12 | 12 х 12 | 16 х 16 |
| Висота від опорної поверхні різця до лінії центрів, мм | 12 | 12 | |
| Найбільша відстань від осі центрів до кромки різцетримача, мм | 78 | 78 | |
| Передня бабка. Шпіндель | |||
| Різьбовий кінець шпинделя, мм | М36 х 4,5 | М36 х 4,5 | |
| Діаметр стандартного патрона, мм | 100 | 100 | |
| Діаметр наскрізного отвору в шпинделі, мм | 16 | 28 | |
| Найбільший діаметр прутка, мм | 15 | 12 | |
| Конус Морзе шпинделя | №2 | №3 | №4 |
| Число ступенів частот прямого обертання шпинделя | 6 | 6 | 7 |
| Частота прямого обертання шпинделя, об/хв | 120, 160, 230, 375, 500, 710 | 130, 170, 235, 385, 510, 700 | 25..1600 |
| Гальмування шпинделя | ні | ні | ні |
| Блокування рукояток | ні | ні | ні |
| Супорт. Подання | |||
| Найбільше поздовжнє переміщення супорта, мм | 300 | 300 | 430 |
| Переміщення супорта поздовжнє на один поділ лімба, мм | 0,5 | 0,25 | 0,25 |
| Найбільше поперечне переміщення супорта, мм | 100 | 100 | 160 |
| Переміщення супорта поперечне на один поділ лімба, мм | 0,025 | 0,025 | 0,025 |
| Найбільше переміщення різцевих санчат, мм | 50 | 85 | |
| Переміщення різцевих санок на один поділ лімба, мм | 0,025 | 0,025 | 0,05 |
| Кут повороту різцевих санчат, град | ±45° | ±45° | |
| Число ступенів поздовжніх подач супорта | 3 | 3 | 2 |
| Межі поздовжніх робочих подач супорту, мм/про | 0,08; 0,1; 0,12 | 0,08; 0,1; 0,12 | 0,08; 0,16 |
| Межі робочих поперечних подач супорта, мм/про | ні | ні | ні |
| Кількість нарізних різьблень метричних | 3 | 3 | |
| Межі кроків різьб метричних, що нарізаються, мм | 0,8; 1,0; 1,25 | 0,8; 1,0; 1,25 | 0,2..3,0 |
| Межі кроків різьблення дюймових | ні | ні | 28, 19, 14, 11 |
| Межі кроків різьблення модульних | ні | ні | 0,1..0,6 |
| Межі кроків різьблення питних | ні | ні | ні |
| Габаритні розміри столу супорта, мм | ні | ні | 150 х 367 |
| Габаритні розміри столу фрезерного пристрою, мм | ні | ні | 150 х 180 |
| Задня бабка | |||
| Конус Морзе задньої бабки | №2 | №2 | №2 |
| Найбільше переміщення пінолі, мм | 65 | 65 | 60 |
| Електроустаткування | |||
| Електродвигун головного приводу, кВт | 1,0 | 1,1 | 1,5 |
| Габарити та маса верстата | |||
| Габарити верстата (довжина ширина висота), мм | 1440 х 470 х 1020 | 1100 х 470 х 110 | 1260 х 500 х 470 |
| Маса верстата, кг | 280 | 300 | 260 |