Виробник токарно-револьверного верстата моделі 1Н325 - Новочеркаський верстатобудівний завод , заснований у 1938 році.
Токарно-револьверний верстат 1Н325 є універсальним верстатом загального призначення та призначений для робіт в умовах серійного та дрібносерійного виробництва.
На токарно-револьверному верстаті 1Н325 можна виконувати роботи з прутка діаметром не більше 25 мм та штучних заготовок діаметром 160 мм, що закріплюються у трикулачковому патроні. При цьому виліт заготовки від кулачків патрона рекомендується трохи більше 40 мм.
На верстаті 1Н325 можна обробляти тільки калібрований (холоднотягнутий) дротик з допусками на розміри за ГОСТ 7417-57, 8559-57, 8560-67, 1628-72, 2060-73.
Конструкція верстата 1Н325 відрізняється від конструкції верстата 1Н318 збільшеними розмірами та іншою конструкцією револьверної головки.
Особливість токарно-револьверного верстата 1П365 полягає в тому, що він має гідрофіковане керування з переселективною зміною частоти обертання шпинделя та подач супортів. При цьому подачі поперечного та револьверного супортів одночасно можуть бути різними. Зубчасті колеса та зубчасті муфти перемикають на зниженій частоті обертання валів коробки швидкостей гідравлічними механізмами. Верстат оснащений механізмом швидкого поздовжнього переміщення обох супортів.
Технологічний процес та налагодження токарно-револьверних верстатів .

Фото токарно-револьверного верстата 1Н325

Фото токарно-револьверного верстата 1Н325

Фото токарно-револьверного верстата 1Н325
Фото токарно-револьверного верстата 1Н325. Завантажити у збільшеному масштабі

Розташування органів керування токарно-револьверним верстатом 1Н325

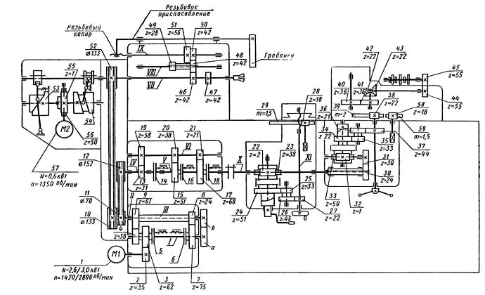
Кінематична схема токарно-револьверного верстата 1Н325
Кінематична схема токарно-револьверного верстата 1Н325. Завантажити у збільшеному масштабі
Кінематична схема верстата 1Н325 аналогічна до схеми верстата 1Н318.
Число зубів зубчастиних коліс наведено у табл. 4. Налаштування частоти обертання шпинделя наведено у табл. 5. Налаштування подач наведено в табл. 3 і є однаковим з налаштуванням подач верстата 1Н318.
Кінематична схема верстата 1Н325 складається з низки кінематичних ланцюгів. Обертання шпинделя здійснюється від двошвидкісного електродвигуна Т42/І-2 (N = 2,6/3 кВт; п = 1420/2000 об/хв), який включається кнопкою 10 (див. рис, 1). Обертання шпинделя верстата передається при включенні електромагнітної фрикційної муфти M1 через зубчасті колеса (рис. 2) 20, 18, змінні зубчасті колеса а і в, шків 50, клиноременную передачу і шків 51, укріплений на шпинделі верстата. При включенні електромагнітної фрикційної муфти М2 рух передається через зубчасті колеса 20, 18, 17, 15, 16, 19, змінні зубчасті колеса а і, шківи 50 і 51. Наявність двох пар змінних оборотних зубчастиних коліс z = 33 - z = 66, z = 44 - z = 55 і двох електромагнітних фрикційних муфт M1 і М2 у поєднанні з двошвидкісним електродвигуном дозволяє отримувати чотири ряди частот обертання з чотирма швидкостями в кожному ряду (табл. 2), що перемикаються автоматично від командоапарата або ручним перемикачем 3 (см, рис 1) частоти обертання з пульта керування.
Поперечне переміщення поперечного супорта здійснюється через коробку передач і має три швидкості (табл. 3), які за допомогою клинопасової передачі від шківа 49 передаються шківу 52. При включенні фрикційної електромагнітної муфти М3 обертання передається безпосередньо валу VI. При включенні електромагнітної фрикційної муфти М4 обертання передається через зубчасті колеса 12, 9, 10 і 13. При включенні електромагнітної муфти М5 обертання передається через зубчасті колеса 12, 9, 11 і 14. Від вала VII, з'єднаного з валом VI запобіжною черв'ячного вала 26, ковзного але валу VIII на шпонці, рух передається черв'ячному колесу 25, на ступиці якого є дрібні торцеві зубці, які входять в зачеплення з торцевими зубцями циліндричного зубчастого колеса 27. Від зубчастого колеса 27 обертання2 передається 2 зубчастого колеса 30, укріпленого на ходовому гвинті поперечного супорта.
Фартух та прикріплений до нього супорт можуть переміщатися вздовж станини для встановлення в потрібному положенні. Для цього передбачено зубчасте колесо 24, яке входить у зачеплення з рейкою 23, укріпленою на станині.
Продольное перемещение револьверного суппорта осуществляется от ходового вала VII через зубчасті колеса 31 і 32, червячный вал 34, червячное колесо 33, на ступице которого имеются мелкие торцовые зубья, входящие в зацепление з торцовыми зубьями цилиндрического зубчатого колеса 35. От зубчатого колеса 35 вращение передається блоку зубчатых колес 36 і 37 і зубчатому колесу 38, укрепленному на середине вала штурвала продольного переміщення каретки; на етом же валу укреплено зубчатое колесо 39, которое соединяется з рейкой 40, укрепленной на станине верстата.
Ручное перемещение каретки револьверного суппорта осуществляется штурвалом 53 (рис. 2) при расцепленных зубчатых колесах 33 і 35.
Револьверна головка поворачивается автоматически при отводе револьверного суппорта вручную в заднее положение. При повороте револьверної головки вращение передається через зубчасті колеса 42, 43, 44, 45 барабану упоров 54. Упоры ограничивают продольный ход револьверної головки. Через зубчасті колеса 47 і 46 вращение передається командоаппарату.
Різьбонарізний пристрій получает вращение от шпинделя з передаточным отношением 1 : 1 (через зубчасті колеса 5, 4, 3) или 1 : 2 (через зубчасті колеса 6 4, 1 і 2). Керування ведется рукояткой 11 (см. рис. 1), расположенной на крышке шпиндельной бабки. Кроме того, блок зубчатых колес 1 і 4 имеет фиксированное промежуточное положение, когда он находится в расцепленном положении относительно зубчатых колес шпинделя і вала копира; в ето время рукоятка находится на указателе «Копир выключен». Таким образом, з помощью одного резьбового копира можно нарезать різьби двух разных шагов.
Механізм подачі і зажиму прутка получает рух от индивидуального електродвигуна А02-11-4 (N = 0,6 кВт), вращение от которого через червячную пару 7 і 8 (см. рис. 2) передається валу, на котором закреплены два барабана з кулачками, передающими з помощью рычагов рух механізму подачі і зажиму прутка.
Масляный насос приводится во вращение от редуктора зубчатыми колесами 20 і 21.
Кінематична схема верстата 1Н325Р (рис. 3) отличается от схеми верстата 1Н325 отсутствием коробки передач, фартуков поперечного і револьверного супортів і командоаппарата. Из етого следует, что детали на данном станке обрабатываются вручную.
Основание верстата 1Н325 (см. рис. 1) служит для закрепления станины, коробки подач 23 і електрошафи 28. Верхня часть нижней станины изготовлена в виде корыта для сбора охлаждающей жидкости. Во внутренней частини станины под редуктором имеется резервуар для масла, уровень которого контролируется по указателю 32. На левой стороне станины крепится електродвигатель приводу редуктора. Внутри станины з левой стороны укреплен редуктор. На верхней частини станины имеются направляющие для переміщення револьверного суппорта. На передньої стенке станины вверху укреплена зубчатая рейка для продольного переміщення револьверного суппорта і ходовой вал. С правой стороны вверху станины между направляющими установлен упор, в который упираются упорные винты суппорта револьверної головки, ограничивающие її продольный ход.

Редуктор токарно-револьверного верстата 1Н325
Редуктор токарно-револьверного верстата 1Н325. Скачать в увеличенном масштабе
Редуктор представляет собой двухступенчатую коробку швидкостей (рис. 6), которая расположена з левой стороны. Редуктор получает рух от двухскоростного електродвигуна 1, укрепленного на левой стенке основания. На валу електродвигуна укреплено зубчатое колесо z = 35*, от которого вращение передається блоку зубчатых колес z = 62 і z = 38. При включении електромагнитной муфты М1 вращение передається через зубчасті колеса z = 35 і z = 62 на вал I, сменные зубчасті колеса а і b, вал III і на приводной шкив 2. При включении електромагнитной муфты М2 вращение передається через зубчасті колеса z = 35, z = 62, z = 38, z = 61, вал II, зубчасті колеса z = 24, z = 75, вал I, сменные зубчасті колеса а і b, вал III і на приводной шкив 2.
Приводной вал от електродвигуна і валы I, II, III смонтированы на шариковых підшипниках. Вал II пустотелый, сквозь него проходит вал III. От зубчатого колеса z = 18 получает вращение масляный насос.
Наличие двухскоростного електродвигуна (п = 1400..2800 об/мин) і двухступінчастого редуктора дает возможность получить на валу I ведущего сменного зубчатого колеса а четыре скорости, переключаемые автоматически от командоаппарата для верстата 1Н325 или ручным переключателем з пульта керування для верстата 1Н325Р. Наличие двух пар заменяемых между собой зубчатых колес дает возможность получить четыре ряда значений частоти обертання з четырьмя скоростями в каждом ряду.
Доступ к редуктору осуществляется через проем, закрытый дверцей, з задньої стороны тумбы станины. На внутренней стороне дверцы имеется карман, в который уложены два неработающих сменных зубчатых колеса. Сменные зубчасті колеса устанавливают з помощью быстросменных замков.

Шпиндельная бабка токарно-револьверного верстата 1Н325
Шпиндельная бабка токарно-револьверного верстата 1Н325. Скачать в увеличенном масштабе
В корпусе шпиндельной бабки 24 (см. рис. 1) установлен полый шпиндель 7 (рис. 7). Передня опора шпинделя состоит из двухрядного роликового підшипника 16 класса А з конусным внутренним кольцом, посаженным на конусную шейку шпинделя. Зазор в переднем подшипнике шпинделя регулируют гайкой 15. Задня опора шпинделя состоит из двух радиально-упорных шариковых підшибників 18 і 19 класса В з предварительным натягом, который осуществляют гайкой 14 за счет разности толщины специально подобранных в каждой паре підшибників распорных колец 12 і 13.
Шпиндель освобожден от силы натяжения ремней путем установки приводного шкива 9 на шариковых підшипниках 10, запрессованных на специальную боковую крышку 11 шпиндельной бабки. На торце шкива укреплен фланец 17, который з помощью двух шпонок 8 соединен со шпинделем. На шпинделе закреплен блок зубчатых колес 20, который передает вращение через подвижной блок зубчатых колес 5 блоку зубчатых колес 6, укрепленному нерухомо на кінці вала 2, на другом кінці которого на шпонке 3 гайками 1 крепится копир 4 для нарезки різьби резьбонарезным пристрійм. Внутри шпинделя устанавливается затискна цанга для закрепления прутка, подающая труба з подающей цангой і нажимная труба. На левом кінці шпинделя установлены детали механізма зажиму прутка.

Коробка подач токарно-револьверного верстата 1Н325
Коробка подач токарно-револьверного верстата 1Н325. Скачать в увеличенном масштабе
Коробка подач получает вращение от приводного шкива редуктора, клинового ремня і шкива, укрепленного на валу IV (рис. 8). При включении електромагнитной фрикционной муфты М3 вращение от вала IV передається непосредственно ходовому валу VI. При включении електромагнитной фрикционной муфты М4 вращение от вала IV передається зубчатыми колесами z — 31, z = 58, валом V і зубчатыми колесами z = 38 і z = 51 ходовому валу VI. При включении електромагнитной фрикционной муфты М5 вращение передається от вала IV зубчатыми колесами z = 31, z = 58, валом V, зубчатыми колесами z = 21, z = 68 валу VI.
Фартук поперечного суппорта (рис. 9) получает рух от ходового вала VII, на котором сидит подвижно на шпонке 7 полый червячный двухзаходный вал 1, который сцепляется з зубчатым червячным колесом г — 40, свободно вращающимся на оси 5. На ступице червячного зубчатого колеса имеются мелкие торцовые зубчики, которые сцепляются з зубчиками на цилиндрическом зубчатом колесе z = 51. Колесо z = 51 передает вращение через блок зубчатых колес z = 33 і z = 44 зубчатому колесу z = 21, укрепленному на ходовом винте поперечного суппорта.
Увімкнення і вимкнення механической поперечної подачі суппорта производится посредством падающего рычага 6 і двух винтовых кулачков 3. При включении падающий рычаг поворачивается против часовий стрелки вместе з кулачком 2, который своими винтовыми скосами. скользит по винтовым скосам кулачка 3. Кулачок перемещает зубчатое колесо z = 51 в осевом направлении, воздействуя на мелкозубчатую муфту. Мелкозубчатая муфта, включаясь, передает вращение от ходового вала через механізмы фартука на зубчатое колесо z = 21 ходового гвинта поперечного суппорта. Во включенном положении падающий рычаг удерживается фиксатором. Выключение поперечної механической подачі суппорта може производиться или вручную, или автоматически. При ручном выключении нужно нажать на шариковую рукоятку, которая выводит фиксатор рычага из его втулки. Рычаг падает, снимая зусилля, удерживающие обе половины зубчатой муфты, і они под действием пружины 4 разъединяются. Механізм автоматичного виключення описан ниже. Фартук і прикрепленный к нему супорт могут перемещаться вдоль станины для установки в новом положении. Для установочных перемещений имеется зубчатое колесо z = 18, которое зацепляется з рейкой, укрепленной на станине верстата.
Поперечный супорт состоит из двух частин: нижней і верхней (рис, 10), Нижние салазки 1 могут закрепляться нерухомо на станине верстата ексцентриковым зажимом. Верхние салазки 2 подвижные і перемещаются по направляющим нижних салазок типа ласточкин хвост. Зазор в направляючих устраняется клином. Верхние салазки получают рух от ходового гвинта через ходовую гайку з типовым клиновым пристрійм для компенсации осьового люфта. В пазу верхних салазок з правой стороны установлены регулируемые упоры, которые служат для получения точных размеров при ручных работах по жесткому упору, установленному в нижних салазках, Автоматическое вимкнення механической поперечної подачі обеспечивается установленным в пазу верхних салазок кулачком, своими скосами поворачивающим коленчатый рычаг, который нижним концом выталкивает фиксатор падающего рычага из втулки.
Фартук револьверного суппорта. В фартуке револьверного суппорта (рис. 11) расположен механізм, который передает рух от ходового вала верстата на вал реечного зубчатого колеса револьверного суппорта. В нем смонтированы механізм увімкнення і виключення механической поздовжньої подачі. Фартук крепится к установочному ползуну револьверного суппорта. От ходового вала 4 посредством скользящей шпонки 5 вращение передається пустотелому валу фартука 10, который через зубчасті колеса 12 і 11 передает вращение однозаходному червячному валу 9. От вала 9 вращение передається червячному зубчатому колесу 13.
При включении зубчатой муфты 20 через зучбатые пары 18 і 19 вращение передається реечному зубчатому колесу 14, соединенному з зубчатой рейкой 15. Мелкозубчатая муфта включается винтовыми кулачками 16 і 17 при подъеме падающего рычага 2, смонтированного в фартуке. Механическая подача включается переміщенням рукоятки штурвала на себя, при етом через систему рычагов усилие передається на шток 21, в котором запрессованы штифты 22 і 23. При движении вверх шток 21 штифтом 23 поднимает вверх падающий рычаг 2, который в верхнем положении фиксируется фиксатором 24. Подача може выключаться вручную или автоматически при остановке суппорта на жестком упоре. При выключении подачі вручную рукоятки штурвала нужно отвести от себя, при етом шток 21 движется вниз і нажимает штифтом 22 на упор 1, который сидит на оси 26. Ось поворачивается і выводит фиксатор 24 из паза детали 25, вследствие етого падающий рычаг 2 падает і зубчатая муфта 20 разъединяется.
Когда револьверний супорт на механической подаче доходит до жесткого упора, перестают вращаться реечное зубчатое колесо 14 і червячное зубчатое колесо 13. Червяк 9, продолжая вращаться, вывинчивается из нерухомого червячного зубчатого колеса 13, перемещается влево по шлицам вала 8, сжимая пружину 6. При етом стакан 7, имеющий паз, перемещает рычаг 28, который нажимает штифтом 27 на упор 17. Упор 17 поворачивает ось 26, выводя из паза детали 25 фиксатор 24. Падающий рычаг 2 падает, і механическая подача прекращается. Пружину 6 регулируют при сборке на усилие поздовжньої подачі 250 кгс. При необходимости в процессе експлуатации усилие пружины може быть уменьшено винтом 3.
Револьверний супорт (рис. 12) имеет круглую револьверную головку з шестью гнездами для закрепления инструмента. В нем размещены механізмы продольного переміщення, увімкнення і виключення поздовжньої механической подачі. Револьверний супорт состоит из двух частин: установочного ползуна 1, который крепится на направляючих станины, і каретки 4, перемещающейся по закаленным направляющим установочного ползуна 1, Износ в направляючих регулируется клином 2. На каретке имеется пустотелая колонка 8, на которой на цилиндрических роликовых підшипниках установлена револьверна головка 9 з прикрепленным к ней делительным диском 10, закрепленная гайкой 6 з колпачком 7.
С кареткой жестко связана ходовая рейка 11, з которой зацепляется реечное зубчатое колесо 12, сидящее на одном валу со штурвалом продольного переміщення каретки. Вал штурвала може получать вращение от руки (ручная подача, быстрый отвод і подвод) или механически от приводного зубчатого колеса фартука. Ход каретки делится на два периода: рабочий ход і ход переключений. Граница периодов — положение, при котором левый торец каретки 4 совпадает з торцом ползуна. При перемещении каретки назад вправо вилка 15, имеющая торцовую спираль, которая соединяется з такой же спиралью на детали 5, встречает ролик 3, свободно вращающийся на оси, запрессованной в установочном ползуне. При дальнейшем перемещении каретки путем поворота вилки 15 вокруг своей оси на некоторый угол между деталями 15 і 5 образуется зазор, за счет которого происходит освобождение револьверної головки. Одновременно з освобождением револьверної головки кулачок 26 поворачивает набегающий на него рычаг 27, который выводит фиксатор 25 из паза делительного диска 10, сжимая пружину 21, При дальнейшем перемещении каретки поворачивается револьверна головка. Рычаг 28, упираясь в звездочку 14, укрепленную на валу 13, поворачивает рычаг 12 і при помощи шлицевого соединения поворачивает фланец 19, жестко соединенный з револьверною головкою. В результате етого револьверна головка 9 поворачивается на 1/6 оборота.
Приблизительно в средине поворота револьверної головки 9 под действием пружины 21 фиксатор 25 попадает на периферию делительного диска 10, а при повороте револьверної головки западает в паз делительного диска, фиксируя головку в следующей позиции. При перемещении каретки влево вилка 15, упираясь в ролик 3, поворачивается і зажимает револьверную головку. Подпружиненные рычаг 23 і кулачок 21 не препятствуют перемещению каретки вперед. Дальнейшее перемещение каретки (рабочий ход) возможно до встречи упорного гвинта 23 з упором 24. Зубчатыми цилиндрическим колесами 17, 16 і коническими 18, 20 з передаточным отношением 1 : 1 осуществляется поворот барабана упоров 22 синхронно з поворотом револьверної головки. Зубчатым колесом 29 осуществляется передача руху командоаппарату. Смазка револьверної головки осуществляется от индивидуальных масленок.
Командоаппарат (рис. 13) предназначен для автоматичного переключения частоти обертання шпинделя і подач в зависимости от позиции револьверної головки путем соответствующего виключення електромагнітних муфт коробки подач і редуктора і магнитных пускачів двухскоростного електродвигуна головного привода. Командоаппарат установлен на верхних салазках револьверного суппорта. Барабан 1 командоаппарата з расположенными в его шести пазах переставными кулачками 2 поворачивается на 1/6 оборота при повороте револьверної головки на следующую рабочую позицию. Вращение барабану передається от барабана упоров револьверного суппорта цилиндрическим зубчатым колесом 29 (см. рис. 12).
Кулачки, установленные в пазах барабана, через рычаги 3 воздействуют на конечные выключатели 4, установленные в корпусе командоаппарата. При наладке верстата кулачки 2 располагают в соответствии з необходимой для каждой позиции револьверної головки частотой обертання і подачей по таблице, закрепленной на откидной крышке командоаппарата.
Механізм подачі і зажиму прутка верстатів 1Н325 і 1Н325. Подача і зажим прутка осуществляются автоматически от електродвигуна мощностью 0,6 кВт. От електродвигуна вращение передається з помощью червячной пары 35, 34 (рис. 14) на вал 33. На валу 33 слева от червячного колеса 34 находится барабан подачі 32, а справа — барабан зажиму прутка 36. Барабан зажиму прутка 36 з закрытым криволинейным пазом соединен з муфтой зажиму 26 рычагом 11, который имеет на нижнем кінці ролик 12, который катится в направляющем криволинейном пазу зажиму прутка. При вращении барабан зажиму прутка 36 своим скошенным пазом через ролик 12 перемещает нижний конец рычага 11 влево. Верхний конец рычага, имеющий вилку з сухарями 10, которые входят в кольцевую выточку муфты зажиму 26, отклоняется вправо, освобождая зажимную цангу і зажатый в ней пруток.
Лівий барабан 32 з открытым криволинейным пазом связан з салазками подач 15 при помощи рычага кулисы 1, которая имеет шарнирное пристрій. В прямоугольном пазу рычага 1 свободно скользит сухарь 3. В отверстие сухаря свободно входит палец 2 квадратной гайки 7, которая перемещается по прямоугольному пазу прилива 8 салазок 15 подачі прутка. В гайку 7 ввернут винт 4, которым регулируют величину подачі прутка. С удалением гайки 7 от оси поворота рычага 1 длина подачі прутка увеличивается. На кінці гвинта 4 имеется гайка 5, которая служит для закрепления гвинта 4 після регулировки длины подачі прутка.
Благодаря применению кулисного механізма, а также Специальному профилю кривой барабана на участке подачі прутка подача производится плавно з постепенным разгоном і замедлением, что полностью исключает отскок прутка при подаче его до упора. Порядок цикла подачі і зажиму прутка следующий. После нажатия на пульті керування кнопки «Подача і зажим прутка» електродвигатель включается в работу і приводит в рух механізм подачі і зажиму прутка. При начале обертання барабанов первым вступает в работу барабан подачі прутка 32, который своими скосами з помощью ролика 9 перемещает нижний конец рычага вправо; верхний конец рычага, перемещаясь на оси, тянет з помощью кулисного механізма і рычага 8 подающие салазки 15 влево. Подающие салазки увлекают за собой укрепленную на них з помощью шарикового підшипника 18, закрепленного гайкой, подающую трубу 27 з ввернутой в нее подающей цангой 28. Во время етого руху подающая цанга скользит по прутку, зажатому цангой 29. Как только подающие салазки 15 переместятся в крайне заднее положение, рычаг 11 з вилкой з помощью шарнирно-закрепленных в ней сухарей 10 перемещает вправо муфту зажиму 26.
Во время руху вправо муфта зажиму 26 освобождает шарики 25, в результате чего разжимается пружинный компенсатор 23, і сепаратор 24 вместе з регулировочным кольцом 22 і гайкой 19 перемещают зажимную трубу 20 вправо. На правом кінці зажимной трубы 20 навернута затискна цанга 29, которая, перемещаясь вместе з трубой, выходит из конуса шпинделя і разжимается, освобождая пруток. В етот момент барабан подачі через ролик і кулису подает подающие салазки 15 з подающей трубой 27 і цангой 29 вперед. Силой трения цанга 28 увлекает за собой пруток. Как только пруток дойдет до упора і упрется в него, подающая цанга будет проскальзывать по нему до полной остановки подающего механізма. Имеющаяся в механізме подающих салазок пружина прижимает ролик 9, расположенный на нижнем кінці кулисы 7, к скосу барабана подачі 32, чем обеспечивает постоянство размаха кулисы.
Зажим прутка производится в обратном порядке. Сила зажиму прутка регулируется гайкой 22. Во время пуска електродвигуна расположенной на пульті керування кнопкой «Подача і зажим прутка» її следует держать нажатой около 0,5 с. Выключается електродвигатель автоматически по окончании цикла подачі і зажиму прутка микровыключателем 38, на который воздействует кулачок 31.
Регулируют механізм подачі і зажиму прутка следующим образом. Если обрабатываемый пруток во время обробки уходит в шпиндель, то нужно:
Длину подачі прутка регулируют в крайнем правом положении подающих салазок 15 вращением регулировочного гвинта 14 за квадрат 13. Вращением гвинта по часовий стрелке увеличивают величину ходу подающих салазок.
Для замены подающей цанги нужно нажать на запорный штифт 16 і извлечь направляющую втулку 17. Затем вынуть из подающих салазок 15 подающую трубу 27 вместе з навернутой на нее подающей цангой 29 (левая резьба) і заменить подающую цангу. Для замены зажимной цанги нужно отвернуть регулировочную гайку 19 і протянуть трубу зажиму 20 в направлении переднего кінця шпинделя. Затем ухватить за выступивший из шпинделя конец зажимной цанги, вынуть зажимную цангу вместе з трубой на 200—300 мм, отвернуть старую цангу і навернуть на її место новую (левая резьба). При замене зажимной цанги необходимо следить, чтобы не выпала шпонка 30. Затем поставить зажимную цангу з трубой на место і навернуть регулировочную гайку 19. Далее ввести подающую трубу з подающей цангой, зафиксировать подающую трубу в подающих салазках направляющей втулкой 17 з диаметром внутреннего отверстия, соответствующим диаметру прутка. Затем отрегулировать силу зажима.
Установка момента увімкнення електродвигуна механізма подачі і зажиму прутка осуществляется следующим образом. После цикла подачі і зажиму прутка електродвигатель включается микропереключателем 37, на который нажимает выступ кулачка 31, укрепленного на кінці вала 33. Если електродвигатель выключается раньше или позже, чем произойдут подача і зажим прутка, то нужно установить кулачок 31 так, чтобы его выступ выключал електродвигатель в тот момент, когда произойдет полностью подача і зажим прутка, а рычаг зажиму будет мати люфт.
Для обробки штучных заготовок нужно установить соответствующую зажимную цангу і отрегулировать силу зажима. Затем вручную установить рукояткой, надетой на квадрат 13, подающие салазки в крайнее правое положение. Затем, отвернув стопорный винт 6, вывернуть регулировочный винт 4 вместе з сухарями, при етом кулиса подачі 1 разъединится з салазками подачі. Отделить подающие салазки 15 от кулисы 1. Вместо падающей цанги 28 ввернуть упор 6 (рис. 15) і поставить направляющую втулку 5 на место. Через отверстие в кронштейне 2 ввернуть винт 4 в отверстие салазок подачі і з помощью гаек 1 і 3 регулировать положение упора, ввернутого в подающую трубу 7. Заменить кулачок 31 (см. рис. 14) на кулачок 38, проследив, чтобы один из выступов етого кулачка занял то же положение, которое занимал выступ кулачка 31. После етого кнопку на пульті керування «Подача і зажим прутка» нужно нажимать как при зажиме, так і при разжиме заготовки.
Різьбонарізний пристрій (рис. 16) для верстатів 1Н325 і 1Н325Р предназначено для нарізання по копиру наружных і внутренних різьб резцами і гребенками. Приспособление состоит из вала 2, установленного в підшипниках 3 і 6, в которых он свободно вращается і имеет правое і левое перемещение. На левом кінці вала укреплен рычаг 1 з резьбовой гребенкой 9, которая при нарезании різьби перемещается по резьбовому барабану (копиру) 4 (см. рис. 7), закрепленному на валу 2 (рис. 16) гайками 1 (см. рис. 7).
На валу 2 (рис. 16) находится возвратная пружина 4, упирающаяся одним концом в корпус підшипника 3, а вторым концом в кольцо 5, укрепленное стопором на салу 2. С помощью кольца 5 регулируют силу натяжения пружины 4, а следовательно, і силу отдачи вала після прохода резца. Далее на валу 2 за подшипником 6 справа укреплен рычаг 10 з механізмом, фиксирующим начало і конец нарізання різьби. Рядом з рычагом 10 справа находится кронштейн 7, на котором укреплен супорт резьбового резца 8, имеющий возможность поворачиваться на оси 21. Резьбовой різець или гребенка закрепляются ексцентриковой втулкой 22 з помощью гвинта 19. Резец, работающий на врезание, подается маховиком 20 по лимбу.
При наладке верстата на нарезание різьби подбирают копіювальний барабан 11 і гребенку (копир) 9, соответствующие шагу і профилю нарезаемой різьби. Для нарізання різьби нужно опустить рычаг 10 і нажать на его рукоятку, пока толкатель 17 не утопится, а палец 18 не войдет в соприкосновение з планкой 23, закрепленной на корпусе бабки. В ето время витки різьби копира 9 соединятся з витками копира барабана 11, і вал 2 з рычагом 10 і суппортом резьбового резца 8 начнет перемещаться влево.
Длина нарезаемой різьби регулируется упором 12. Во время подхода рычага 10 к упору 12 післядний утапливает защелку 16, освобождающую толкатель 17, который толчком упирается в планку 23. При щелчке толкателя 17 нужно немедленно снять руку з рукоятки рычага 10, при етом пружина 15 резко поднимает рычаг 10 і різець отводится от нарезаемой детали, а копир, закрепленный на оси 13 гайками 14, отходит от копирного барабана. Вал 2 з рычагом 10, суппортом резьбового резца 8 і кронштейном 1 з копиром 9 под действием возвратной пружины 4 возвращаются в исходное положение. Правая резьба нарезается справа налево при правом вращении шпинделя з копиром і гребенкой, имеющими правую резьбу. Левая резьба также нарезается справа налево, но при левом вращении шпинделя з копиром і гребенкой, имеющими левую резьбу. Упорная сторона копира должна быть обращена влево.
Резьбу з мелким шагом нарезают без подачі резца на врезание за один проход. Резьбу з крупным шагом нарезают за несколько проходов.

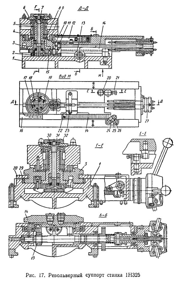
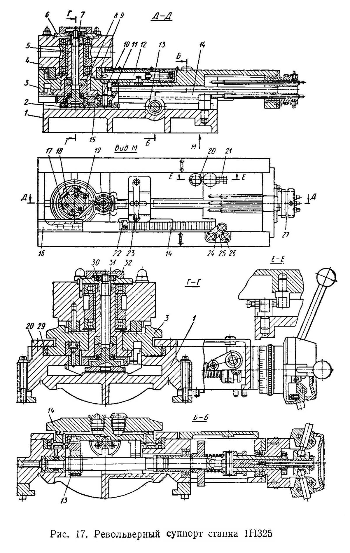
Револьверний супорт токарно-револьверного верстата 1Н325
Револьверний супорт токарно-револьверного верстата 1Н325. Скачать в увеличенном масштабе

Револьверний супорт токарно-револьверного верстата 1Н325
Револьверний супорт токарно-револьверного верстата 1Н325. Скачать в увеличенном масштабе
Конструкція верстата 1Н325 отличается oт конструкції верстата 1Н318 увеличенными размерами, другой конструкцией револьверної головки.
Револьверний супорт верстата 1Н325 (рис. 17) состоит из двух частин: установочного ползуна 1 (рис. 17), который може закрепляться на направляючих станины, і каретки 3, которая перемещается по закаленным направляющим ползуна. Регулювання зазору в направляючих каретки в горизонтальной плоскости і компенсации износа осуществляется регулируемым клином 29. На каретке имеется пустотелая колонка 5, на которой на цилиндрических роликовых підшипниках установлена шестигранная револьверна головка 4 з прикрепленным к ней делительным диском 9. Ход каретки вправо ограничен положением, при котором левый торец каретки нависает над торцом ползуна на 10 мм.
Конструкція суппорта имеет ту особенность, что з целью повышения долговечности службы направляючих каретки післядняя во время разжима, поворота і фиксации револьверної головки не отходит вправо по ползуну, обнажая направляющие, а остается на месте. В пазу каретки установлена ходовая рейка 14, з которой постоянно зацеплено реечное зубчатое колесо 13, которое сидит на одном валу со штурвалом продольного переміщення каретки.
Ходовая зубчатая рейка 14 в зоне робочого ходу жестко связывается з кареткой, а при переключениях, когда каретка стоит неподвижно, може перемещаться относительно каретки, что обеспечивается специальным замковым механізмом, действие которого описано ниже. Отходя в исходное положение, каретка 3 в кінці робочого ходу останавливается, упираясь планкой 20 в упорный винт 21. При етом ролик 26 выходит на скос 24 задньої направляющей. Тем самым серьга 25, несущая ролик і качающаяся на оси, запрессованной в каретку, повертывается і освобождает рейку 14, которую она запирала з правой стороны (на скос 24) в зоне робочого ходу, когда ролик 26 катился по боковой поверхности задньої направляющей ползуна. При дальнейшем вращении штурвала по часовий стрелке рейка 14, не встречая противодействия серьги 25, начинает перемещаться вправо. На рейке 14 смонтированы вспомогательная зубчатая рейка 16 і кулачок 22.
При перемещении зубчатой рейки 14 вправо вспомогательная зубчатая рейка 16, находящаяся в зацеплении з зубчатым сектором 17, начинает поворачивать его. При етом спираль, имеющаяся на секторе 17 і сцепляющаяся з такой же спиралью на детали 8, которая жестко связана з кареткой, поворачивается, образуя зазор между спиралями і тем самым освобождая револьверную головку. В то же время кулачок 22 отводит рычаг 23, выводящий фиксатор 12 из паза делительного диска 9. При дальнейшем перемещении рейки 14 і вспомогательной рейки 16 зубчатый сектор 17, продолжая вращаться, через ролик 19 повертывает звездочку 18, выполненную заодно з валом 7, который через фланец 6 передает вращение револьверній головці. Приблизительно в середине поворота револьверної головки ролик рычага 23 соскакивает з кулачка 22, і фиксатор 12 попадает на плоскость делительного диска револьверної головки, а в кінці її поворота под действием пружины соскакивает в гнездо делительного диска, фиксируя револьверную головку в следующей позиции. На етом рух зубчатой рейки 14 вправо прекращается. Вращение от револьверної головки через два цилиндрических зубчатых колеса 2 і 15 з передаточным отношением 1 : 1 і два конических зубчатых колеса 10 і 11 передається на барабан упоров 27.
При движении зубчатой рейки 14 влево (под действием штурвала) каретка 3 остается связанной з ползуном 1 неподвижно, так как зубчатая рейка 14 запирает серьгу 25 з роликом 26 между телом зубчатой рейки 14 і скосом направляющей ползуна 24. Перемещаясь относительно нерухомою каретки влево, зубчатая рейка 14 через вспомогательную зубчатую рейку 16 повертывает сектор 17, зажимая револьверную головку. Подпружиненный кулачок 22 отклоняется рычагом 23 і свободно проходит мимо него. В кінці переміщення влево относительно каретки 3 зубчатая рейка 14 освобождает серьгу 25, благодаря чему каретка 3 перестает быть соединенной з ползуном 24. Зубчатая рейка 14, встретив на пути регулировочный винт 28, толкает каретку 3 влево. При етом каретка увлекает серьгу 25 з роликом 26, который выкатывается по скосу задньої направляющей ползуна на боковую поверхность етой направляющей, запирая тем самым зубчатую рейку 14 справа і связывая її з кареткой 3. С етого момента каретка 3 перемещается совместно з зубчатой рейкой 14 — начинается рабочий ход.
Люфт в револьверній головці устраняется подвертыванием гайки 31 і фиксации її після регулювання винтом 30. После окончания регулировки гайка 31 закрывается колпачком 32.

Електрична схема токарно-револьверного верстата 1Н325
Електрична схема токарно-револьверного верстата 1Н325. Скачать в увеличенном масштабе
| Наименование параметра | 1Н318 | 1Н325 | 1Г325 | 1Д325п |
|---|---|---|---|---|
| Основні параметри верстата | ||||
| Класс точності верстата Н по ГОСТ 8—71 | Н | Н | Н | П |
| Наибольший диаметр обрабатываемого вироби над станиной, мм | 250 | 320 | 320 | 320 |
| Наибольший диаметр круглого обрабатываемого прутка на переднем зажиме (в цанге), мм | 18 | 25 | 25 | 25 |
| Наибольшая сторона квадрата обрабатываемого прутка, мм | 12 | 17 | 17 | 17 |
| Наибольший размер шестигранного прутка (диаметр вписанной окружности), мм | 16 | 22 | 22 | 22 |
| Наибольший диаметр обрабатываемой заготовки в патроне над суппортом, мм | 130 | 160 | 120 | |
| Наибольшая длина обрабатываемого вироби в патроне, мм | 125 | |||
| Наибольшая рекомендуемая длина обрабатываемого вироби в патроне, мм | 50 | |||
| Наибольшая длина подачі прутка, мм | 0..45 | 0..80 | 0..80 | |
| Наибольшая длина обробки прутка в цанге или в патроне, мм | 100 | 140 | 140 | 100 |
| Наибольшая длина обрабатываемого прутка в зажимной і подающей трубе, мм | 3000 | 3000 | ||
| Рекомендуемая длина обрабатываемого прутка в зажимной і подающей трубе, мм | 2200 | 1200 | ||
| Диаметр отверстия в шпинделе, мм | 31 | 40 | 40 | 40 |
| Высота центров, мм | 125 | 160 | 180 | 170 |
| Расстояние от торца шпинделя до плоскости револьверної головки, мм | 90..250 | 114..400 | 70..400 | 70..500 |
| Наибольший диаметр резьб, нарезаемых плашками по стали средней твердости, мм | М12 | М14 | М14 | |
| Наибольший диаметр резьб, нарезаемых метчиками по стали средней твердости, мм | М10 | М10 | М10 | |
| Наибольшая длина нарезаемой різьби по копиру, мм | 40 | 50 | 50 | |
| Шпиндель | ||||
| Количество рабочих швидкостей шпинделя (правое - прямое вращение) | 16 | 16 | 16 | 24 |
| Количество рабочих швидкостей шпинделя (левое - обратное вращение) | 4 | 4 | ||
| Количество автоматически переключающихся швидкостей шпинделя прямых/ обратных | 4/ 1 | |||
| Пределы чисел оборотів шпинделя (правое - прямое вращение), об/мин | 100..4000 | 80..3150 | 80..3150 | 82..3250 |
| Пределы чисел оборотів шпинделя (левое - обратное вращение), об/мин | 200..800 | 160..630 | 160..630 | |
| Кінець шпинделя фланцевый по ГОСТ 12595-75 | 2-5Ц | |||
| Наибольший крутящий момент на шпинделе не менее, Нм (кг*м) | 60 | |||
| Подачи. Револьверний суппорт | ||||
| Наибольшее перемещение револьверного суппорта: продольное (Z), мм/ Круговое, град |
100 | 140 | 325/ 360° | 430/ 360° |
| Наибольшее перемещение продольного суппорта, мм | - | 100 | ||
| Наибольшее перемещение поперечного суппорта, мм | 80 | 100 | ||
| Продольное перемещение револьверного суппорта за один оборот штурвала, мм | 125,6 | 75 | ||
| Число упоров револьверного суппорта | 6 | 6 | 12 | |
| Количество продольных подач револьверного суппорта | 3 | 3 | 3 | 8 |
| Диапазон швидкостей продольных подач револьверного суппорта, мм/об | 0,05..0,3 | 0,05..0,3 | 0,028..0,3 | |
| Количество подач поперечного суппорта | 3 | 3 | - | - |
| Подачи поперечного суппорта | 0,05..0,3 | 0,05..0,3 | - | - |
| Количество круговых подач револьверного суппорта | - | - | 3 | 8 |
| Диапазон швидкостей круговых подач револьверного суппорта, мм/об | ||||
| Быстрое перемещение револьверного суппорта, мм/мин | ||||
| Количество инструментов в револьверній головці | 6 | 6 | 12 | 16 |
| Диаметр отверстий в револьверній головці, мм | 20Н7, 30Н7 | |||
| Диаметр розположення отверстий для инструмента в револьверній головці, мм | 170 | |||
| Перемещение продольное револьверної головки на одно деление лимба, мм | 0,5 | |||
| Цена деления лимба грубой круговой подачі револьверної головки на диаметр вироби, мм | 1 | |||
| Цена деления лимба тонкой круговой подачі револьверної головки на диаметр вироби, мм | 0,05 | |||
| Поперечное перемещение головки на радиусе розположення гнезд под инструмент за один оборот лимба при тонкой круговой подаче, мм | 1,48 | |||
| Наибольшее усилие подачі, допустимое механізмом поздовжньої подачі, Н | 4000 | |||
| Наибольшее усилие подачі, допустимое механізмом круговой подачі, Н | 4000 | |||
| Електроустаткування верстата | ||||
| Количество електродвигателей на станке, кВт | 3 | 3 | 3 | 4 |
| Електродвигун головного приводу, кВт (об/хв) | 2,6/ 3,0 (1420/ 2800) | 2,6/ 3,0 (1420/ 2800) | 2,6/ 3,0 (1400/ 2800) | 3,2/ 5,3 (750/ 1495) |
| Електродвигун гідроприводу (затискач та подача прутка), кВт (об/хв) | 0,6 (1350) | 0,6 (1350) | 0,6 (1350) | 0,55 (1370) |
| Електродвигун мастильної станції, кВт (об/хв) | ні | ні | ні | 0,25 (1380) |
| Електродвигун насоса охолодження, кВт (об/хв) | 0,12 (2800) | 0,12 (2800) | 0,125 (2800) | 0,14 (2800) |
| Габарити та маса верстата | ||||
| Габаритні розміри верстата (довжина, ширина, висота), мм | 2990 х 835 х 1555 | 3915 х 925 х 1555 | 3980 х 1000 х 1555 | 2283 х 1035 х 1255 |
| Маса верстата, кг | 1080 | 1300 | 1300 | 1635 рік |