Виробник горизонтально-розточувального верстата 2Л614 - Чаренцаванський верстатобудівний завод .
На Чаренцаванському верстатобудівному заводі випускалися також верстати моделей 2615, 2615, 2А614, 2А615, 2А614-1, 2А615-1, 2Л614-1, 2Л615-1, 2М614-1, 2М11-1
Універсальний горизонтально-розточувальний верстат 2Л614 замінив застарілий верстат моделі 2614.
Універсальні горизонтально-розточувальні верстати 2Л614 та 2615 служать для обробки корпусних деталей з точними отворами, пов'язаними між собою точними відстанями. Найбільша вага оброблюваної деталі 1000 кг.
Верстат 2Л614 має радіальний супорт на вбудованій планшайбі та нормальний висувний розточувальний шпиндель. Цей верстат відрізняється великою універсальністю та призначений переважно для робіт, що вимагають застосування радіального супорта при обточуванні торцевих поверхонь та консольному розточуванні отворів великих діаметрів, а також для роботи висувним шпинделем.
На верстаті можна проводити свердління, розточування, зенкерування та розгортання отворів, фрезерування площин та пазів висувним шпинделем, а також обточування торців, розточування отворів та кільцевих канавок радіальним супортом планшайби.
Верстат 2615 має нормальний розточувальний шпиндель без радіального супорта .
Цей верстат відрізняється підвищеною жорсткістю та вібростійкістю шпиндельної системи; має переваги, при розточувальні роботи; що не вимагають застосування радіального супорта, а також при фрезерних роботах.
На верстаті 2615 можна проводити свердління, розточування, зенкерування і розгортання отворів, а також фрезерування площин і пазів висувним шпинделем розточувальний, і високопродуктивне фрезерування площин з кріпленням фрези безпосередньо на гільзі шпинделя.
Жорсткість, вібростійкість, швидкохідність та точність верстатів, а такі наявність електричного керування дозволяють вести на них точну продуктивну обробку твердосплавним інструментом з найменшою витратою машинного та допоміжного часу.
Верстати призначені для роботи в інструментальних та механічних цехах.
Верстати забезпечені нерухомою передньою стойкою та вбудованим поворотним столом, що має поздовжнє та поперечне переміщення щодо осі шпинделя.
Конструкція верстатів дозволяє виробляти фрезерування по восьмикутному контуру з двома подачами: поперечної столу і вертикальної шпиндельної бабки, а також фрезерування з круговою подачею столу.
Верстат 2Л614, на відміну від верстата 2615, оснащений вбудованою планшайбою з радіальним супортом.
Верстат з радіальним супортом відрізняється великою універсальністю та застосовується при обточуванні торцевих поверхонь, консольному розточуванні отворів великих діаметрів, розточуванні кільцевих канавок, а також для роботи висувним шпинделем.
Верстат 2Л614 має нормальний розточувальний шпиндель без радіального супорта. Цей верстат відрізняється підвищеною жорсткістю та вібростійкістю шпиндельної системи; має переваги при розточувальні роботи, що не вимагають застосування радіального супорта, а також при фрезерних роботах.
Шпиндель і планшайба наводяться в обертання від електродвигуна змінного струму через зубчасту коробку швидкостей, з однорукояточним селективним механізмом. Подачі здійснюються від електродвигуна постійного струму із широким діапазоном регулювання. Конструкція приводу дозволяє змінювати величину подачі на ходу без зупинки верстата.
Універсальні горизонтально-розточувальні верстати 2Л614 призначені для роботи в інструментальних та механічних цехах.
Клас точності верстата Н.
Точність поділу на поворотному столі ±5'.
Шорсткість обробленої поверхні V3-V7.
Верстати можуть бути оснащені різними системами числового програмного керування як вітчизняного, і зарубіжного виробництва.

Габаритні розміри робочого простору верстата 2л614

Посадочні та приєднувальні бази верстата 2л614

Фото горизонтально-розточувального верстата 2Л614
Фото горизонтально-розточувального верстата 2Л614. Завантажити у збільшеному масштабі

Фото горизонтально-розточувального верстата 2л614

Фото горизонтально-розточувального верстата 2л614

Розташування органів керування горизонтально-розточувальним верстатом 2л614

Кінематична схема горизонтально-розточувального верстата 2л614
1. Схема кінематична горизонтально-розточувального верстата 2Л614. Дивитись у збільшеному масштабі
2. Схема кінематична горизонтально-розточувального верстата 2Л614. Дивитись у збільшеному масштабі
Кінематичні ланцюги верстатів дозволяють здійснювати:
Вращение шпинделя і планшайби осуществляется от двухскоростного електродвигуна через коробку швидкостей, обеспечивающую получение 20 чисел оборотів шпинделя і 15 чисел оборотів планшайби (2Л614).
Привід подачі происходит oт електродвигуна постоянного тока, работающего в широком диапазоне регулювання. Постоянство выбранной подачі обеспечивается наличием електрической обратной связи ( подробно см. раздел "Електроустаткування").
Перемещение люнета задньої стойки осуществляется независимо от переміщення расточной бабки от отдельного електродвигуна.
На станке (рис. 39) можно выдвижным шпинделем растачивать отверстия в корпусных деталях. Радиальным суппортом, размещенным на планшайбе, можно протачивать торцовые поверхности, растачивать отверстия больших диаметров (до 430 мм) і производить прорезку внутренних кольцевых канавок. На станке также возможно осуществить торцовое фрезерование. Диаметр расточного шпинделя 80 мм. Он имеет возможность осьового переміщення. Шпиндельная бабка може перемещаться вертикально, а стол — поворачиваться і перемещаться в продольном і поперечном направлениях.
Кинематическая группа руху обертання расточного шпинделя Φυ1(B1) — группа простая. Ее внутренняя связь состоит из одной вращательной пары между гильзой планшайби і гильзой шпинделя. Внешняя связь — в виде кінематичної ланцюги между двигателем Д1 і расточным шпинделем. Рух Φv1 — простое з замкнутой траекторией і должно настраиваться по двум параметрам: на скорость — з помощью двухступінчастого двигуна Д1 і коробки швидкостей (20 ступеней в пределах 20..1600 об/мин) і на направление — двигателем Д1.
Для установки шпинделя в нужном положении (для ввода в отверстие і вывода расточных штанг) возможен медленный поворот шпинделя з помощью електрических устройств.
В процессе переключения швидкостей, при необходимости, создается автоматический импульсный поворот колес в коробке швидкостей.
Кинематическая группа руху обертання планшайби Φυ2(B2) по своей структуре близка к предыдущей группе. Налаштування на скорость обертання планшайби осуществляется через ту же коробку швидкостей iυ (в пределах 8..200 об/мин).
Кинематическая группа руху осевой подачі Φs1(П3) расточного шпинделя — группа простая. Ее внутренняя связь состоит из одной поступательной кінематичної пары между шпинделем і его гильзой. Внешняя связь — кінематична ланцюг между двигателем Д2 і ходовым винтом з шагом t = 16 мм, проходящая через реверс Р2 і зубчасті муфты М1, М2. Рух простое з незамкнутой траекторией і оно должно настраиваться по четырем параметрам: на путь — муфтой М2, на скорость — бесступенчатым изменением оборотів двигуна постоянного тока Д2, на направление — реверсом Р2 или двигателем Д2 і на исходное положение — рукояткой осевой подачі. Кинематическая группа руху радиальной подачі Φs2(П4) суппорта на планшайбе тоже простая. Ее внутренняя связь — ето поступательная пара между радиальным суппортом і планшайбой. Внешняя связь расположена между двигателем подачі Д2 і червячной рейкой на радиальном суппорте; она проходит через реверс Р2, муфту М1, передачу 50/41, муфту М3, центральные колеса диференціала Σ, цилиндрические передачи (30/150) • (150/34) коническую передачу 20/20 і червячно-реечную передачу.
Цилиндрическое колесо z150 сидит свободно на гильзе планшайби, а сцепляющееся з ним колесо z34, расположенное на быстро вращающейся планшайбе, перекатывается по колесу z150. Следовательно, цилиндрическая пара 150/34 является скрытой суммирующей передачей, так как колесо z34 получает сумму двух вращений: от медленного поворота колеса 2150 (от приводу подачі) і от швидкого обертання планшайби (через скрытый планетарный механізм 150/34 ). Чтобы компенсировать быстрое вращение колеса z34, в ету группу встроен суммирующий механізм 2 (диференціал), второй входной вал которого через шестерни — получает вращение от гильзы планшайби, так что за один оборот планшайби колесо z150 делает 1 • 85/34 х 2 • 30/150 = 1 оборот в том же направлении. Налаштування руху радиальной подачі осуществляется органами налаштування предыдущей группы.
Для поддержания постоянной осевой і радиальной оборотной подачі между ручным керуванням коробкой швидкостей і керуванням скорости обертання двигуна подач Д2 имеется кінематична связь (на схеме не показана), которая при переключениях в коробке швидкостей автоматически переключает двигатель Д2 на новую минутную подачу для поддержания установленного уровня оборотной подачі.
Подачи: вертикальная Фs3(П5) шпиндельной бабки, продольная Фs4(П6), поперечная Фs5(П7) і круговая Фs6(В8) стола осуществляются от того же двигуна подач Д2. Кинематические группы, осуществляющие ети руху, по структуре аналогичны структуре кінематичної группы руху осевой подачі Фs1(П3).
Для сохранения постоянства скорости подачі двигатель постоянного тока Д2 работает от ЭМУ з керуванням через тахогенератор ТГ, приводимый во вращение через ременную передачу от двигуна подач Д2.
Все вышеперечисленные рабочие переміщення выдвижного шпинделя, радиального суппорта, шпиндельной бабки і стола могут быть швидкими механическими і ручными в обоих направлениях.
Люнет в задньої стойке имеет самостоятельное перемещение от двигуна Д3.
Основанием верстата служит станина, Справа на станине укреплена передняя стойка, по вертикальным направляющим которой перемещается расточная бабка з выдвижным шпинделем. Расточная бабка (шпиндельна бабка) верстата 2Л614 снабжена встроенной планшайбой з радиальным суппортом.
На левом кінці станины може располагаться задня стойка, поставляемая по особому заказу. По вертикальным направляющим задньої стайки перемещается люнет з самостоятельным приводом.
Между стойками на направляючих станины расположен стол, имеющий продольное, поперечное і круговое руху. Отдельно располагаются електрошкаф і агрегат, питающий привід подачі.
Для подвижных органів верстата предусмотрены механическая рабочая подача, быстрые установочные переміщення і ручная подача. Ручная подача шпинделя і радиального суппорта може быть тонкой і грубой.
Коробка швидкостей размещена в корпусе расточной бабки, Все валы коробки швидкостей вращаются на подлинниках качения. Шестерки коробки швидкостей подвергнуты термической обработке, что в сочетании со шлифованным профилем зубьев обеспечивает им длительную работоспособность при сохранении первоначальной точності. Конструкція зубчатых блоков обеспечивает замену в случае повреждения любого венца без замены всего блока. Все подвижные шестерни перемешаются на шлицевых либо гладких (без шпонок) валах.
Расточной шпиндель (рис. 9, 10) выполнен из стали 35Х10А і подвергнут азотации, что в сочетании з втулками гильзы, выполненными из шарикопідшибниківой стали, обеспечивает длительное сохранение точності. Гильза шпинделя вращается на трех підшипниках качения високою точності. Передний подшипник допускает регулировку радиального зазору.
Передня опора гильзы в станке 2Л614 размещается во вращающейся гильзе планшайби (рис. 9).
Планшайба верстата 2Л614 нерухомо закреплена на гильзе, вращающейся на точных роликовых підшипниках, расположенных в корпусе бабки. Увімкнення і відключення обертання планшайби производится специальной муфтой.
По направляющим планшайби перемещается спеціальний суппорт, имеющий Т-образные пазы для закрепления инструмента. Реечно-винтовой привід суппорта снабжен пристрійм для выбора зазоров, что устраняет произвольное перемещение суппорта при вращении планшайби.
Механізм переключения швидкостей обеспечивает увімкнення любого числа оборотів шпинделя либо планшайби (2Л614) при помощи одной рукоятки путем переміщення подвижных блоков шестерен і изменения скорости обертання приводного електродвигуна.
Механізм переміщення всех трех блоков шестерен одинаков, поетому для понимания его роботи достаточно рассмотреть пристрій одного из них, например, верхнего.
Рычаг 13 своим сухарем заходит в паз перемещаемой шестерни. На другом кінці рычага имеется палец 14, входящий в паз барабана 15 (развертки всех трех барабанов 15, 16 показаны схематически). С барабаном связана шестерня, находящаяся в постоянном зацеплении з рейками I і 3. Фигурные концы реек упираются в диск селектора 10, имеющего на кінцінтрических окружностях ряд отверстий разного размера, выполненных в определенной післядовательности. В зависимости от положения диска селектора рейки могут занимать вполне определенное фиксированное положение.
Механізм подачі (рис. 12) управляет рухуми подачі шпинделя і радиального суппорта (2Л614). Рукоятка 1 може занимать три положения. В среднем положении (изображенном на рио. 12) шпонка 3 под действием пружины входит в паз конической шестерни 4. При вращении рукоятки I вращаются конические шестерни і распределительный вал. Муфта 9 находится в нейтральном положении - осуществляется грубая ручная подача.
При переводе рукояток I в крайнее ("к себе") положение перемещается вал 5, шпонка 3 выходит из паза конической шестерни 4, поворачивается шестерня 6 і рычаг ?, который переводит муфту 9 в правое положение. При вращении рукоятки I вращается винтовая пара 8 і распределительный вал - осуществляется тонкая ручная подача.
В крайнем ("от себя") положении рукоятки I, муфта 9 находится в левом положении - включена механическая подача.
Величины перемещений шпинделя или суппорта отсчитываются лимбом 2.
От распределительного вала 5 (рис. 13) вращение передається валам 4 или 8 посредством связанных между собой муфт 3 і 9. Керування муфтами от одной рукоятки. В правом положении її включена муфта 9, вращается вал 8 і далее винт 7, осуществляющий подачу шпинделя 6; в левом положении включена муфта 3 - вращается центральное колесо диференціала (вал 4), ланцюги подачі суппорта планшайби, шестерня I, зубчатое колесо 2 і реечно-винтовой привід подачі суппорта. Передаточное отношение диференціала подобрано так, что при выключенной подаче (центральное колесо не вращается), колесо 2 вращается з таким же числом оборотів, что і планшайба. Диференціал работает как планетарный механізм.
В траверсе помещается винт подачі шпинделя. По направляющим траверсы перемещается ползун з винтовой рейкой.
Зажим расточной головки (рис. 14) - клиновой. Зажимные клинья перемещаются по роликам.
Передня стойка имеет повышенную жесткость і виброустойчивость.
Распределительная коробка помещается на станине. От нее получают рух подачі все подвижные органы верстата.
От електродвигуна подач (рис. 15) вращение через шестерни 15 і 12 і предохранительную муфту 14 передається валу 13

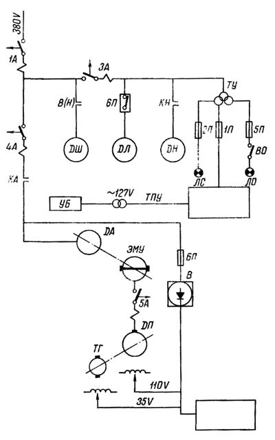
Структурна схема живлення основних ланцюгів електроустаткування верстата 2л614
Електроустаткування верстата выполнено для живлення от сети трехфазного переменного тока промышленной частоти (50 гц) напряжением 380 в.
Опис електрической схеми
Главный привод - привід шпинделя (планшайби) осуществляется от двухскоростного асинхронного електродвигуна через коробки швидкостей (рис. 20).
Главным електродвигуном производится:
Скорость обертання двухскоростного електродвигуна задается выключателем ЗВПС (рис. 21), который действует от пристроя механического переключателя швидкостей шпинделя. Если выключатель ЗВПС нежат і его нормально замкнутый контакт принудительно разомкнут, то контактор КМ подсоединяет одну из двух независимых обмоток статора - шестиполюсную звезду. Електродвигун при етом вращается со скоростью 970 об/мин.
Если выключатель ЗВПС не нажат і его Н.З. контакт замкнут, то контактором КБ після срабатывания реле временя IPB подключается другая обмотка статора - четырехполюсная звезда. При етом електродвигатель вращается со скоростью 1470 об/мин,
Разгон електродвигуна на большую скорость - двухступенчатый; пуск двигуна происходит на меньшей скорости з післядующим автоматическим переключением на большую після срабатывания реле часу IPB.
Чередование числа оборотів в минуту двухскоростного електродвигуна для каждой ступени швидкостей обертання шпинделя определяется положением рукоятки переключателя швидкостей.
Настановний проворот шпинделя совершается при меньшей скорости обертання електродвигуна независимо от положения рукоятки переключения швидкостей. В етом режиме електродвигатель включается контакторами В і IK или Н і IK і КМ в шестиполюсную звезду. Настановний проворот совершается при пониженном моменте електродвигуна.
Привід подачі. Подача і установочные переміщення органів верстата осуществляются от електродвигуна постоянного тока, скорость обертання которого може изменяться в широких пределах путем изменения напряжения питающего генератора.
В качестве генератора применен електромашинный усилитель ЭМУ з поперечным полем.
Благодаря применению приводу з глубокими регулирующими обратными связями, диапазон изменения скорости електродвигуна подачі обеспечивает получение тонких установочных перемещений в необходимых пределах.
Быстрые установочные переміщення при наибольшей скорости електродвигуна достигаются неравномерным ослаблением потока главных полюсов електродвигуна подачі при максимальном напряжении генератора ЭМУ.
Для получения широкого диапазона изменения скорости електродвигуна в системе Г-Д (рис.23) нужно уменьшить влияние инерционности привода, нелинейности характеристик, влияние остаточного намагничивания генератора, изменения нагрузки привода, непостоянства переходного сопротивления щіток, нестабильности елементів схеми возбуждения. Так, например, при малых скоростях електродвигуна падение напряжения в главной ланцюги при нагрузке і остаточное напряжение ЭМУ могут в 20-30 раз превышать Э.Д.С. електродвигуна.

Настановне креслення горизонтально-расточного верстата 2л614
| Наименование параметра | 2Л614 | 2А614-1 |
|---|---|---|
| Основні параметри верстата | ||
| Класс точності верстатів по ГОСТ 8-77 | Н | Н |
| Диаметр выдвижного расточного шпинделя, мм | 80 | 80 |
| Наибольший диаметр расточки шпинделем, мм | 350 | |
| Наибольший диаметр расточки суппортом планшайби, мм | 420 | |
| Наибольшая диаметр торцевой расточки і обточки суппортом планшайби, мм | 500 | |
| Точность установки координат, мм | ||
| Точность установки поворотного стола, сек | ||
| Наибольший диаметр сверла (по конусу), мм | 50 | |
| Стол | ||
| Рабочая поверхность встроенного поворотного стола, мм | 800 х 1000 | 1000 х 1000 |
| Наибольшая масса обрабатываемого вироби, кг | 1000 | 2000 |
| Наибольшее перемещение стола (продольное / поперечное), мм | 800/ 1000 | 800/ 1000 |
| Пределы рабочих подач стола (вдоль і поперек), мм/мин | 1,26...2000 | 1,26...2000 |
| Наибольшее усиление подачі стола (вдоль і поперек), кН | 10 | 10 |
| Деление шкалы лимба, мм | 0,05 | |
| Деление шкалы лимба поворота стола, град | 10` | |
| Выключающие упоры для крайних положений | есть | есть |
| Скорость быстрых продольных перемещений стола, м/мин | 2,18 | 5,0 |
| Скорость быстрых поперечных перемещений стола, м/мин | 2,18 | 5,0 |
| Скорость быстрых установочных круговых перемещений стола, об/мин | ||
| Шпиндельная бабка, выдвижной шпиндель, планшайба | ||
| Наибольшее горизонтальное (осевое) перемещение выдвижного шпинделя, мм | 500 | 500 |
| Частота обертання шпинделя, об/мин | 20..1600 | 20..1600 |
| Количество швидкостей шпинделя | 20 | 20 |
| Пределы рабочих подач шпинделя, мм/мин | 2,2..1760 | 1,26..2000 |
| Кінець выдвижного шпинделя по ГОСТ 24644-81 з конусом для крепления инструмента | 40АТ5 | 40АТ5 |
| Кінець выдвижного шпинделя по ГОСТ 6569-75 з конусом для крепления инструмента | Морзе 5 | Морзе 5 |
| Пределы рабочих подач радиального суппорта, мм/мин | 0,89..710 | 0,5..800 |
| Пределы рабочих подач шпиндельной бабки, мм/мин | 1,4..1110 | 1,26..2000 |
| Наибольшее вертикальное перемещение шпиндельной бабки (установочное), мм | 800 | 800 |
| Скорость быстрых перемещений шпиндельной бабки, м/мин | 2,18 | 5,0 |
| Скорость быстрых перемещений шпинделя, м/мин | 3,48 | 5,0 |
| Скорость обертання планшайби, об/мин | 8..200 | 6,3..200 |
| Количество швидкостей планшайби | 16 | 16 |
| Можливість відключення обертання планшайби | є | є |
| Можливість одночасної подачі супорта та шпинделя | ||
| Найбільше переміщення радіального супорта планшайби, мм | 120 | 125 |
| Швидкість швидких переміщень радіального супорту, м/хв. | 1,4 | 2 |
| Найбільший момент, що крутить, на шпинделі, Н*м | 880 | 865 |
| Найбільший момент, що крутить, на планшайбі, Н*м | 1320 | 1300 |
| Найбільше посилення подачі шпинделя, кН | 7,5 | 7,5 |
| Найбільше посилення подачі супорту, кН | ||
| Найбільше посилення подачі бабки, кН | ||
| Нарізне метричне різьблення, мм | ||
| Нарізне дюймове різьблення, число ниток на 1" | ||
| Електроустаткування, привід | ||
| Напруга силового ланцюга, | ~380/220В 50Гц | ~380/220В 50Гц |
| Напруга ланцюгів керування, | ~110; -24 | ~110; -24 |
| Кількість електродвигунів на верстаті | ||
| Електродвигун приводу головного руху, кВт | 6,7 | 6 |
| Електродвигун приводу повороту столу, кВт | 0,8 | 0,8 |
| Електродвигун приводу подачі (постійного струму) | 1,6 кВт | 21 Нм |
| Електродвигун приводу насоса мастила, кВт | 0,12 | 0,12 |
| Електродвигун приводу люнета, кВт | 0,4 | 0,27 |
| Сумарна потужність електродвигунів, кВт | ||
| Габарити та маса верстата | ||
| Габарити верстата, включаючи хід столу та санок, мм | 4300 х 2075 х 2490 | 4518 х 2950 х 2870 |
| Маса верстата, кг | 7350 | 8500 |
У світі все менше того, що неможливо купити, і все більше, що неможливо продати.
Закон Мерфі