Виробник горизонтально-розточувального верстата моделі 2А614 Ленінградський верстатобудівний завод ім. Свердлова , заснований у 1868 році.
З 1949 року підприємство важкого верстатобудування. Почав випуск металорізальних верстатів власної конструкції (горизонтально-розточувальних, координатно-розточувальних, копіювально-фрезерних, типу «обробний центр» та ін.)
У 1962 на базі заводу створено Ленінградське верстатобудівне виробниче об'єднання.
Верстати 2А614-1-1, 2Л614-1, 2Л615-1, 2М614-1, 2М615-1, 2Н614-1, 2Н615-1 випускалися, також, на Чаренцаванському верстатобудівному заводі .
Універсальні горизонтально-розточувальні верстати 2А614 замінили застарілі верстати моделей 2614, 2615.
Верстати горизонтально-розточувальні моделі 2А614-1, 2A615-1 призначені для обробки корпусних деталей масою до 2000 кг, з точними отворами, пов'язаними між собою точними міжосьовими відстанями.
Верстати 2А614 мають велику універсальність. На них можна проводити свердління, розточування, зенкерування та розгортання отворів, фрезерування площин і пазів, а також обточування торців, розточування отворів та обробку кільцевих канавок радіальним супортом планшайби (верстат 2A614-1). Верстат 2A614-1 на замовлення споживача може бути виготовлений з різьбонарізним пристроєм. Наявність механізованого затиску інструменту, жорсткість, вібростійкість, швидкохідність та зручність в керуванні верстатом дозволяють вести на них точну продуктивну обробку з найменшою витратою машинного та допоміжного часу.
Розточувальні верстати 2А614 забезпечені нерухомою передньою стойкою та вбудованим поворотним столом, що має поздовжнє та поперечне переміщення щодо осі шпинделя.
Конструкція верстатів 2А614 дозволяє проводити фрезерування по восьмикутному контуру з двома подачами: поперечної столу і вертикальної шпиндельної бабки, а також фрезерування з круговою подачею столу.
Верстат 2A614-1, на відміну від верстата 2A615-1, оснащений вбудованою планшайбою з радіальним супортом.
Шпиндель і планшайба наводяться в обертання від електродвигуна змінного струму через зубчасту коробку швидкостей, з однорукояточним селективним механізмом. Подачі здійснюються від електродвигуна постійного струму із широким діапазоном регулювання. Конструкція приводу дозволяє змінювати величину подачі на ходу без зупинки верстата.
Верстати призначені для роботи в інструментальних та механічних цехах.
Клас точності верстата Н.
Точність поділу на поворотному столі ±5'.
Шорсткість обробленої поверхні V3-V7.
Верстати можуть бути оснащені різними системами числового програмного керування як вітчизняного, і зарубіжного виробництва.

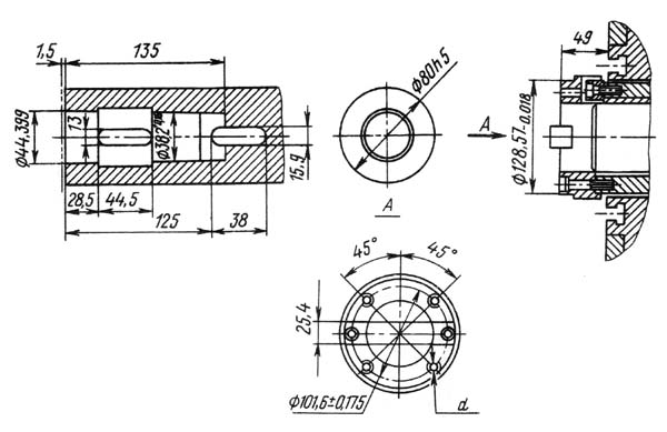
Посадочні та приєднувальні бази розточувального верстата 2А614

Фото горизонтально-розточувального верстата 2А614

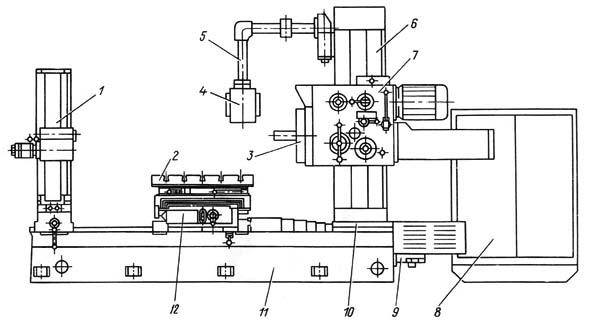
Розташування складових частинин горизонтально-розточувального верстата 2А614
* поставляється на вимогу замовника за окрему плату

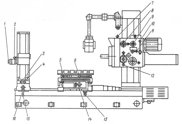
Розташування органів керування горизонтально-розточувальним верстатом 2А614

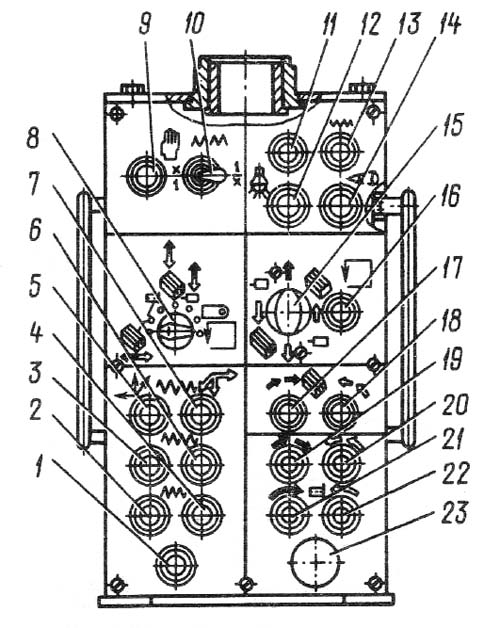
Пульт керування горизонтально-розточувальним верстатом 2А614

Кінематична схема горизонтально-расточного верстата 2А614
Схема кінематична горизонтально-расточного верстата 2А614. Дивитись у збільшеному масштабі
Кинематические ланцюги верстатів позволяют осуществлять:
Вращение шпинделя і планшайби осуществляется от двухоскоростного електродвигуна через коробку швидкостей, обеспечивавшую получение 20 ступеней частоти обертання шпинделя і 15 ступеней частот обертання планшайби.
Привід подач включает в себя електродвигатель постоянного тока, работающий в широком диапазоне регулювання. Постоянство выбранной подачі обеспечивается наличием електрической обратной связи (см. раздел "Електроустаткування").
Кінематична схема верстата дает полное представление о порядке передачи движений от електродвигателей к исполнительным органам верстата.
В верстатах применена наиболее распространенная для данного типоразмера верстатів компоновка з нерухомою передньої стойкой, закрепленной на станине верстата. По вертикальным направляющи передньої стойки перемещается шпиндельна бабка, в которой находятся: коробка швидкостей з головним електродвигуном, шпиндельное пристрій з механізмом осьового переміщення шпинделя і т.д.
На направляючих станины расположен стол, имеющий продольное, поперечное (по отношении к шпинделю) і круговое движение. В станине под шпиндельной бабкой, перед передньої стойкой, расположена распределительная коробка о електродвигуном подач.
Смазка коробки швидкостей і распределительной коробки производится централизованно от станції змазки, находящейся у правого торца станины. Смазка включается автоматически при включении електродвигуна головного руху или електродвигуна подач.
Смазка всех направляючих производятся также автоматически от плунжерных насосов во время переміщення рабочих органів.
Направлявшие станины, а также поперечные направлявшие стола защищены от загрязнения і попадания стружки телескопическими щитками.
Привід головного руху (рис. 8) размещен в корпусе шпиндельной бабки. Все валы приводу вращаются на підшипниках качения. Зубчасті колеса подвергнуты термической обработке, что в сочетании со шлифованным профилем зубьев обеспечивает длительную работоспособность при сохранении первоначальной точності.
Конструкція зубчатых блоков обеспечивает замену в случае повреждения любого венца без замены всего блока. Все подвижные зубчасті колеса перемещаются на шлицевых или гладких (без шпонок) валах.
Шпиндельное пристрій состоит из расточного і полого фрезерного шпинделей. Шпиндель I сопрягается со стальники калеными втулками 5 і 12, что обеспечивает длительное сохранение точності пристроя. Фрезерный шпиндель 9 вращается на підшипниках качения високою точності, допускающих регулировку их радиального зазору. Вращение шпинделю передається зубчатым колесом 10 или 11. Верстати 2A614-1 снабжены планшайбой 3 з радиальным суппортом 4. Вращение на гильзу 6 планшайби передається зубчатым колесом 7. Передний конец фрезерного шпинделя 9 снабжен фланцем 2.
Привід переміщення суппорта планшайби представлен на рис.11. Планшайба 8 представляет из себя корпусную чугунную деталь, нерухомо закрепленную на гильзе. По направлявшим планшайби в радиальном направлении перемещается супорт 3, имеющий два Т-образных паза для закрепления на нем инструмента. От зубчатого колеса 10 через шариковую предохранительную муфту 9, конические зубчасті колеса 1 і 2 рух передається на винт 7, который находится в зацеплении з рейкой 4, жестко закрепленной на суппорте планшайби. Реечно-винтовой привід суппорта снабжен пристрій» выбора зазоров, что устраняет возможность произвольного переміщення суппорта при вращении планшайби і влияет на точность і чистоту обробки.
Механізм переключения швидкостей - селектор (рис. 12) обеспечивает увімкнення любой частоти обертання шпинделя или планшайби при помощи подвижных блоков зубчатых колес і изменения скорости обертання приводного електродвигуна.
Механізм переміщення всех трех блоков зубчатых колес одинаков. Рычаг 7 своим сухарем 6 заходит в паз перемещаемого зубчатого колеса. На другом кінці рычага имеется палец 9, входящий в паз барабана 8. С барабаном связано зубчатое колесо I, находящееся в постоянном зацеплении з зубчатыми рейками 2 і 3. Фигурные концы реек упираются в диск селектора II, имеющего на кінцінтрических окружностях ряд отверстий разного размера, выполненных в определенной післядовательности. В зависимости от положения диска селектора рейки могут занимать вполне определенное фиксированное положение. Изменение положения роек 2 і 3 вызывает проворот зубчатого колеса I, a , следовательно, барабана 8. Фигурный паз барабана при провороте увлекает палец 9, вызывая перемещение рычага 7 і переключение блока зубчатых колес.
Изменение скорости обертання двухскоростного електродвигуна осуществляется конечным выключателем 18, на который воздействует палец 17, одним концом упирающийся в диск селектора или проходящие в его отверстие.
Рукоятку 13 выводят в крайнее положение. При етом, под действием пружины 10, валик 12 перемещается влево, воздействуя на конечный выключатель 16. Контакторы конечного выключателя разомкнутся і електродвигатель коробки швидкостей отключится. Одновременно благодаря зубчатому колесу 15 і рейке 14, диск II отводится, освобождая концы зубчатых реек і пальцы 17 і 20.
Вращением рукоятки вокруг оси валика 12 устанавливают требуемую частоту обертання. Вместе з рукояткой 13 вращается диск 11. При возвращении рукоятки в фиксированное положение происходит перемещение зубчатых блоков і увімкнення требуемой частоти обертання електродвигуна.
Если в процессе переміщення зубчатых блоков торцы зубъев одного из переключаемых зубчатых колес упрутся в торцы зубьев соответствующего нерухомого зубчатого колеса, рукоятка остановится, не доходя до фиксированного положения. При етом валик 12 переместится вправо, воздействуя на конечный выключатель 16. Произойдет импульсное увімкнення електродвигуна коробки швидкостей, зубчасті колеса провернутся і войдут в зацепление.
При подходе рукоятки 13 к фиксированному положению диск воздействует на соответствующие контакты конечных выключателей 18 і 19, обеспечивая работу електрической схеми. Для облегчения ввода зубьев в зацепление і уменьшения износа торцов при переключении схемой предусмотрен автоматический реверс импульсного обертання.
Варіатор служит для регулювання скорости обертання електродвигуна подач. Зубчатое колесо 4 (рис. 12) осуществляет механическую связь между селектором і вариатором, что обеспечивает сохранение величины подачі при изменении частоти обертання шпинделя. Изменение величины подачі осуществляется рукояткой 5.
Штурвальное пристрій (рис. 13) служит для осуществления ручных перемещений всех подвижных органів верстата. Шпиндель може мати две скорости ручных перемещений: швидкого (грубая подача) і медленного (тонкая подача). Все остальные органы имеют только тонкую подачу. Кнопка увімкнення штурвального пристроя і тумблер переключения з тонкой подачі на грубую находятся на пульті керування верстатом.
При вращении штурвала 13 через зубчасті конические передачи рух передається на валы 3 і 7. В случае, если включена електромагнитная муфта 2 тонкой подачі, то вращение через зубчасті колеса 4 і 5 передається на вертикальний вал 6 і далее в распределительную коробку верстата, где уже включена соответствующая кінематична ланцюг подачі выбранного органа (тонкая подача шпинделя і суппорта планшайби происходит от вертикального вала 6, минуя распределительную коробку). Если же включена електромагнитная муфта 8, то через зубчатое колесо 10 шпинделю сообщается быстрое перемещение. В етом случае за один оборот штурвала шпиндель получает 20 мм осьового переміщення.

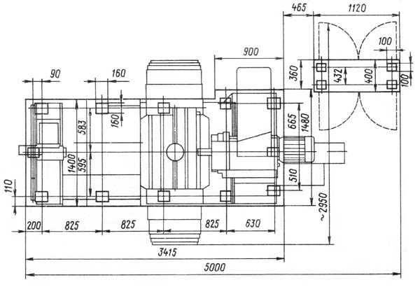
Настановне креслення горизонтально-расточного верстата 2А614
| Наименование параметра | 2А614-1 | 2А615-1 |
|---|---|---|
| Основні параметри верстата | ||
| Класс точності верстатів по ГОСТ 8-77 | Н | Н |
| Диаметр выдвижного расточного шпинделя, мм | 80 | 80 |
| Наибольший диаметр расточки шпинделем, мм | ||
| Наибольший диаметр расточки суппортом планшайби, мм | - | |
| Наибольшая длина расточки і обточки суппортом планшайби, мм | - | |
| Точность установки координат, мм | ||
| Точность установки поворотного стола, сек | ||
| Наибольший диаметр сверла (по конусу), мм | ||
| Стол | ||
| Рабочая поверхность встроенного поворотного стола, мм | 1000 х 1000 | 1000 х 1000 |
| Наибольшая масса обрабатываемого вироби, кг | 2000 | 2000 |
| Наибольшее перемещение стола (продольное / поперечное), мм | 800/ 1000 | 800/ 1000 |
| Пределы рабочих подач стола (вдоль і поперек), мм/мин | 1,26...2000 | 1,26...2000 |
| Наибольшее усиление подачі стола (вдоль і поперек), кН | 10 | 10 |
| Деление шкалы лимба, мм | ||
| Деление шкалы лимба поворота стола, град | ||
| Выключающие упоры | есть | есть |
| Скорость быстрых продольных перемещений стола, м/мин | 5,0 | 5,0 |
| Скорость быстрых поперечных перемещений стола, м/мин | 5,0 | 5,0 |
| Скорость быстрых установочных круговых перемещений стола, об/мин | ||
| Шпиндельная бабка, выдвижной шпиндель, планшайба | ||
| Наибольшее горизонтальное (осевое) перемещение выдвижного шпинделя, мм | 500 | 500 |
| Частота обертання шпинделя, об/мин | 20..1600 | 20..1600 |
| Количество швидкостей шпинделя | 20 | 20 |
| Пределы рабочих подач шпинделя, мм/мин | 1,26...2000 | 1,26...2000 |
| Кінець выдвижного шпинделя по ГОСТ 24644-81 з конусом для крепления инструмента | 40АТ5 | 40АТ5 |
| Кінець выдвижного шпинделя по ГОСТ 6569-75 з конусом для крепления инструмента | Морзе 5 | Морзе 5 |
| Пределы рабочих подач радиального суппорта, мм/мин | 0,5...800 | - |
| Пределы рабочих подач шпиндельной бабки, мм/мин | 1,26..2000 | 1,26..2000 |
| Наибольшее вертикальное перемещение шпиндельной бабки (установочное), мм | 800 | 800 |
| Скорость быстрых перемещений шпиндельной бабки, м/мин | 5,0 | 5,0 |
| Скорость быстрых перемещений шпинделя, м/мин | 5,0 | 5,0 |
| Скорость обертання планшайби, об/мин | 6,3..200 | - |
| Количество швидкостей планшайби | 16 | 16 |
| Возможность отключения обертання планшайби | есть | - |
| Возможность одновременной подачі суппорта і шпинделя | ||
| Наибольшее перемещение радиального суппорта планшайби, мм | 125 | - |
| Скорость быстрых перемещений радиального суппорта, м/мин | 2 | - |
| Наибольший крутящий момент на шпинделе, Н*м | 865 | 865 |
| Наибольший крутящий момент на планшайбе, Н*м | 1300 | - |
| Наибольшее усиление подачі шпинделя, кН | 7,5 | 7,5 |
| Наибольшее усиление подачі суппорта, кН | ||
| Наибольшее усиление подачі бабки, кН | ||
| Нарезаемая метрическая резьба, мм | ||
| Нарезаемая дюймовая резьба, число ниток на 1" | ||
| Електроустаткування, привод | ||
| Напряжение силовой ланцюги, В | ~380/220В 50Гц | ~380/220В 50Гц |
| Напряжение ланцюгів керування, В | ~110; -24 | ~110; -24 |
| Количество електродвигателей на станке | ||
| Електродвигун приводу головного руху, кВт | 6 | 6 |
| Електродвигун приводу поворота стола, кВт | 0,8 | 0,8 |
| Електродвигун приводу подачі (постоянного тока), Нм | 21 | 21 |
| Електродвигун приводу насоса СОЖ, кВт | 0,12 | 0,12 |
| Електродвигун приводу люнета, кВт | 0,27 | 0,27 |
| Суммарная мощность електродвигателей, кВт | ||
| Габарити і масса верстата | ||
| Габарити верстата, включая ход стола і салазок, мм | 4518 х 2950 х 2870 | 4518 х 2950 х 2870 |
| Масса верстата, кг | 8500 | 8500 |
У світі все менше того, що неможливо купити, і все більше, що неможливо продати.
Закон Мерфі