Алмазно-заточувальний верстат моделі 3622Д випускався Мукачівським верстатобудівним заводом ім. Кірова в даний час - Мукачівський верстатозавод, ВАТ .
Заточувальний верстат 3622д призначений для алмазного заточування і доведення твердосплавних нарізних різців всіх типів з висотою державки до 25 мм (до 32 мм) за ГОСТ 6743-61 *, ГОСТ 9795-61 * і ГОСТ 9796-61.
На верстаті виконуються заточування та доведення різців по головних та допоміжних задніх поверхнях.
На верстаті можливе чистове заточування різців аналогічних типів із швидкорізальних сталей колами зі зльбору.
Верстат може бути використаний у механічних цехах машинобудівних заводів для заточування та доведення різців верстатниками, а також у механічних майстернях для алмазного заточування та доведення не тільки різців, але й іншого інструменту, наприклад свердл, а також у великосерійному та масовому виробництві, поряд з автоматизованими верстатами. для таких операцій, як доведення різців по задніх поверхнях, закруглення вершини різця та ін.
На верстаті відсутня поперечна та поздовжня подачі. Стіл нерухомий, має лише поворот навколо горизонтальної осі та обладнаний пристрійм для орієнтації різця по кутку в плані.
Шорсткість обробленої поверхні V 11.
Клас точності (ГОСТ 8-71) П.

Основні розміри та посадкові місця заточувального верстата 3622д
Основні розміри та посадкові місця заточувального верстата 3622Д. Завантажити у збільшеному масштабі

Фото заточувального верстата для різців 3622д

Фото заточувального верстата для різців 3622д

Розташування основних вузлів заточувального верстата 3622д
Розташування основних вузлів заточувального верстата 3622Д. Завантажити у збільшеному масштабі

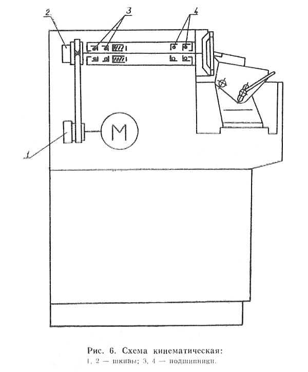
Кінематична схема заточного верстата 3622д
Вращение шлифовального круга(рис. 6) осуществляется от електродвигуна М мощностью 0,75 кВт; n = 3000 об/мин через плоскоременную передачу. На електродвигателе крепится двухступенчатый шкив 1, a на шпинделе двухступенчатый шкив 2. Шпиндель имеет две скорости обертання. Вращение шлнфовального круга реверсивное.
Шпиндель шлифовальный (см. рис. 8) состоит из шлифовальной головки 1.
Шпиндель на переднем кінці имеет наружный конус для крепления фланцев з кругом, на заднем для крепления шкива. Вращение шпинделя реверсивное.
Стол наклонный (см. рис. 10) обеспечивает установку резца относительно Шлифовального круга на величину заднего угла. Он состоит из двух основних частин: основания 1 і стола 2. Поворот стола на заданный угол осуществляется вокруг оси 5 вручную. фиксация стола осуществляется рукояткой 4.
Величина поворота контролируется по шкале 3.

Шпиндель шлифовальный заточного верстата 3622д
Шпиндель шлифовальный заточного верстата 3622д. Скачать в увеличенном масштабе

Електрична схема заточного верстата 3622Д
Схема електрична заточного верстата 3622Д. Скачать в увеличенном масштабе
| Наименование параметра | 3622 | 3622д | |
|---|---|---|---|
| Основні параметри | |||
| Класс точності по ГОСТ 8-77 | П | П |
Той, хто не дивиться вперед, виявляється позаду.
Г. Уеллс