Виробник плоскошліфувального верстата 3Б722 - Липецький верстатобудівний завод , заснований у 1929 році.
Верстат плоскошліфувальний 3Б722 замінив у виробництві застарілу модель 3А722 та був замінений на більш досконалу модель 3Д722 .
Плоскошліфувальний верстат моделі 3Б722 - верстат загального призначення з прямокутним столом та горизонтальним шпинделем, призначений для шліфування площин різних деталей периферією кола. Станина має поздовжні напрямні, якими зворотно поступально рухається робочий стіл. По вертикальним напрямним стійки переміщається шліфувальна бабка зі шліфувальним кругом.
Головний рух у верстаті - обертання шліфувального кола; поздовжня подача - прямолінійний зворотно-поступальний рух столу із заготівлею. Поперечна та вертикальна подачі повідомляються шліфувальній бабці зі шліфувальним кругом.
Шліфувальне коло кріпиться на кінці шпинделя шліфувальної бабки. Оброблювану деталь встановлюють на столі верстата. У процесі роботи стіл отримує прямолінійний зворотно-поступальний рух, а шліфувальний круг - обертальний. Якщо ширина оброблюваної деталі більша за ширину кола, то шліфувальній бабці повідомляється періодична поперечна подача після кожного одинарного або подвійного ходу столу. Шпиндельній бабці з колом повідомляється вертикальна подача для зняття необхідного припуску.
Верстат 3Б722 , поздовжньошліфувальний з прямокутним столом та горизонтальним шпинделем, призначений для шліфування площин різних деталей периферією кола як в індивідуальному, так і у великосерійному виробництві.
Деталі, що шліфуються, залежно від матеріалу, форми і розмірів, можуть закріплюватися або на електромагнітній плиті, або безпосередньо на робочій поверхні столу, або в спеціальних пристрійх.
Конструктивна особливість верстата - поперечна подача шліфувального кола забезпечується переміщенням стійки зі шліфувальною бабкою горизонтальними напрямними станини стійки. Шліфувальна бабка переміщається лише у вертикальному напрямку та має постійний виліт щодо стійки.
Застосування в верстаті гвинтових пар кочення, системи цифрової індикації вертикальних переміщень шліфувальної бабки, високоточних підшипників у шпиндельному вузлі та ряду інших конструктивних рішень дозволило підвищити точність, довговічність і продуктивність верстата в порівнянні з аналогічними верстатами, що випускаються серійно.
Коригований рівень звукової потужності LpA не повинен перевищувати 99 дБа.
Кінематика верстата 3Б722 забезпечує:
Тверда конструкція станини гарантує високоточне шліфування.
Конструкція складальних одиниць верстата, в т.ч шпиндельного вузла, дозволяє вибирати різні режими шліфування з поєднанням різних подач та швидкостей столу, забезпечує шліфування деталей із заданою точністю та шорсткістю.
3711Б - 1000 х 200, виробник Оршанський верстатобудівний завод Червоний борець
3Б721 - 1000 х 320, виробник Оршанський верстатобудівний завод Червоний борець
ОШ-400 - 1100 х 400, виробник Оршанський верстатобудівний завод Червоний борець

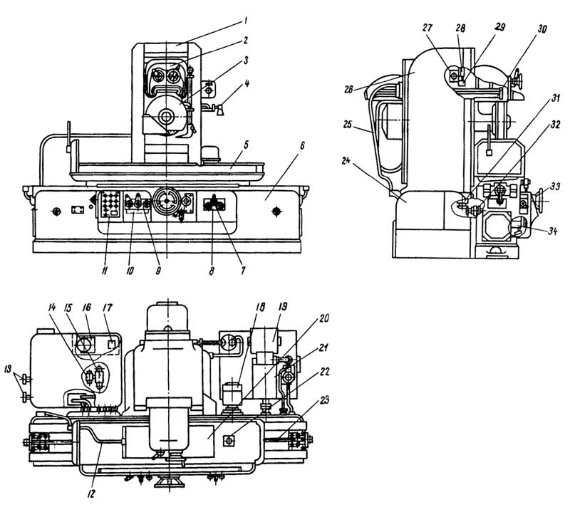
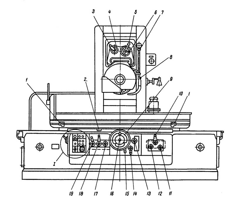
Приєднувальні та посадкові бази верстата 3Б722

Фото плоскошліфувального верстата 3Б722
Фото плоскошліфувального верстата 3Б722. Дивитись у збільшеному масштабі

Фото плоскошліфувального верстата 3Б722

Фото плоскошліфувального верстата 3Б722

Розташування складових частинин шліфувального верстата 3Б722
фільтр НГ-62

Розташування органів керування шліфувальним верстатом 3Б722

Пульт керування плоскошліфувальним верстатом 3Б722

Електрична схема плоскошліфувального верстата 3Б722
Схема електрична плоскошліфувального верстата 3Б722. Дивитись у збільшеному масштабі

Електрична схема плоскошліфувального верстата 3Б722
Схема електрична плоскошліфувального верстата 3Б722. Дивитись у збільшеному масштабі
На верстаті встановлені трифазні короткозамкнуті асинхронні електродвигуни:
Верстат має електромагнітну плиту на напругу 110 В постійного струму. Живлення електромагнітної плити здійснюється від селенового випрямляча.
Апаратура електричного керування розміщена у ніші тумби.
Поворотом рукоятки вступного пакетного вимикача ПП1 в положення "Включено" включається ланцюг живлення верстата (рис. 18).
Для підготовки схеми до роботи необхідно включити вимикач A1 та А2 у положення "Увімкнено". Увімкнення обертання шліфувального кола.
Увімкнення обертання шліфувального кола здійснюється повторним натисканням на кнопку КУ1.
Кнопка КУ1 має два Н.О. контакту 7-9 та 17 - 11
Перший контакт включає ланцюг контактора КЗ, другий контакт включає контактор K1, який Н.О. контактом 17-11 стає на саможивлення і включає електродвигун Д1.
Верстат обладнаний магнітною плитою для утримання деталей із магнітних матеріалів у процесі шліфування.
Працювати можна без магнітної плити. Для вибору роду робіт на пульті встановлено перемикач П1 "Робота з плитою" - "Без плити".
Поворотом рукоятки цього перемикача у положення "Робота з плитою" готується до включення ланцюг живлення електромагнітної плити.
Поворотом рукоятки перемикача П4 в положення "Включено" замикаються контакти П1-П3 та П4-П2 і на магнітну плиту подається напруга по ланцюгу П1-П3-П5-П4-П2
При цьому спрацьовує електромагнітне реле котушка якого включена послідовно з магнітною плитою. Реле Р> своїм Н.О. контактом 5-19 готує до включення ланцюг контактора К2, а контактом 3-107 включає сигнальну лампу ЛС1 "Плита включена". Для зняття виробів з магнітної плити необхідно ручку барабанного перемикача перевести в положення "Размагнічено" і відпустити.
Під дією пружини рукоятка повернеться до нульового положення. У нульовому положенні замикається контакт П4-П6, решта всіх контактів розімкнуті, плита, відключена від випрямляча, шунтується опором Р. Реле Р> вимикається, відключаючи сигнальну лампу ЛС1, а контакт 5-19 розмикається.
У положенні рукоятки перемикача П4 "Размагнічено" замкнуті його контакти П1-П4 і П2-П7 і в котушках електромагнітної плити протікає струм зворотного напрямку зниженої сили через наявність у ланцюзі частинини опору R. Короткочасний імпульс струму зворотної полярності необхідний для розмагнічування деталей, що частково шліфуються.
При натисканні кнопки КУ3 подається напруга на котушку контактора К2, який Н.О. контактом 21-23 стає на саможивлення і включає електродвигун Д2, а контактом 5-49 готує до включення ланцюг живлення електромагнітів Е1 та Е2.
УВАГА! Увімкнення гідравліки без включення магнітної плити можливе лише у положенні перемикача П1 "Робота без плити".
У положенні перемикача П1 "Робота з плитою" включення гідравліки можливе лише після включення магнітної плити перемикачем П4.
Увімкнення автоматичної вертикальної подачі здійснюється перемикачем П2.
Поворотом перемикача в положення "Подача включена" включається ланцюг живлення електромагнітів Е1 і Е2 залежно від того, який кінцевий вимикач ВП1 або ВП2 буде натиснутий. Опис роботи вузла див. у розділі "Короткий опис конструкції та роботи верстата".
Поворотом рукоятки пакетного вимикача ПП2 у положення "Включено" подається напруга безпосередньо на електродвигуни Д4 та Д5 (при роботі електродвигуна Д3).
Прискорене переміщення шліфувальної бабки "Вгору" іди "Вниз" можливе лише при розімкнених шестернях механізму вертикальної подачі (див. кінематичну схему).
Поворотом рукоятки підготовки включення прискореного вертикального переміщення шліфувальної бабки ексцентрик замикає контакт 5-31 кінцевого вимикача ВП3.
Потім натисканням на кнопку КУ6 або КУ5 робимо включення контакторів Кб або К7. Контактори Кб та К7 включають обертання електродвигуна Д6 у необхідну сторону.
Поворотом рукоятки перемикача ПО здійснюється включення та вимкнення дампи місцевого освітлення ЛВ.
На верстаті передбачені такі блокування:
В електричній схемі передбачені такі види захисту:
Пуск верстата необхідно проводити в наступному порядку:
Підготовка електрообладнання до початкового пуску іди пуску після тривалої перерви включає наступне:
Працюючи електродвигунів у запиленому вологому середовищі зміна мастила в підшипниках повинна проводитися частіше, тобто. по мірі необхідності.
Перед набиванням свіжого мастила підшипники повинні бути ретельно промиті бензином. Камеру слід заповнити мастилом на 2/3 її об'єму.
Заміну підшипників, що зносилися, проводити, керуючись даними по каталогу.
Механізм автоматів змащений на заводі-виробнику незамерзаючим мастилом. Автомати розраховані до роботи без зміни будь-яких частинин. Автоматы, що зносилися, потрібно замінити новими.
Вбудований в автомат розчіплювач максимального струму регулюється на заводі-виробнику.
За нормальних умов автомат необхідно оглядати один раз на рік. Після вимкнення короткого замикання необхідно автомат оглянути. Для цього зняти кришку автомата та ретельно очистити від кіптяви всі доступні місця, після чого перевірити опір ізоляції:

Специфікація електроустаткування плоскошліфувального верстата 3Б722
Специфікація електроустаткування плоскошліфувального верстата 3Б722. Дивитись у збільшеному масштабі

Специфікація електроустаткування плоскошліфувального верстата 3Б722
Специфікація електроустаткування плоскошліфувального верстата 3Б722. Дивитись у збільшеному масштабі

Специфікація електроустаткування плоскошліфувального верстата 3Б722
Специфікація електроустаткування плоскошліфувального верстата 3Б722. Дивитись у збільшеному масштабі

Специфікація електроустаткування плоскошліфувального верстата 3Б722
Специфікація електроустаткування плоскошліфувального верстата 3Б722. Дивитись у збільшеному масштабі

Монтажна схема плоскошліфувального верстата 3Б722
Монтажна схема плоскошліфувального верстата 3Б722. Дивитись у збільшеному масштабі

Монтажна схема панелі плоскошліфувального верстата 3Б722
Монтажна схема панелі плоскошліфувального верстата 3Б722. Дивитись у збільшеному масштабі

Схема розташування електроустаткування на плоскошліфувальному верстаті 3Б722

Гідравлічна схема плоскошліфувального верстата 3Б722
Гідравлічна схема плоскошліфувального верстата 3Б722. Дивитись у збільшеному масштабі
Гідропривід верстата здійснює:
Електродвигун насоса гідроприводу вмикається натисканням кнопки 26 (див. мал. 4). Реверсування столу відбувається упорами 1, перестановкою яких можна регулювати довжину ходу столу.
Вимкнення електродвигуна насоса здійснюється натисканням кнопки 27.
Пуск столу здійснюється поворотом рукоятки 19 вниз, стоп столу - поворотом рукоятки в середнє положення та розвантаження гідроприводу - поворотом рукоятки вгору.
Реверс вручну здійснюється поворотом рукоятки 18 на кут вліво та вправо. Швидкість столу регулюється поворотом рукоятки дроселя 17. Повертаючи її за годинниковою стрілкою, збільшуємо швидкість столу, а повертаючи проти годинникової стрілки зменшуємо.
Рукояткою 10 здійснюється зміна характеру поперечних подач шліфувальної бабки. При повороті рукоятки вліво відбувається переривчаста поперечна подача шліфувальної бабки, праворуч - безперервна.
Величина переривчастої поперечної подачі регулюється рукояткою дроселя 12, швидкість безперервної подачі шліфувальної бабки регулюється рукояткою дроселя 11. Реверсування шліфувальної бабки відбувається упорами через важіль реверсу 2 столу.
Гідропривід верстата складається з ряду гідравлічних вузлів, з'єднаних між собою та гідроциліндром трубами та гнучкими шлангами згідно зі схемою (див. рис. 30) в єдину систему, що живиться насосом 18Г12-25A.
Гідропривід включає такі вузли:
Циліндр столу призначений передачі столу зворотно-поступального руху. Циліндр 3 (рис.22) закріплений в опорах 6, які кріпляться до платиків столу. Штоки 7 з'єднуються з поршнем 4 гвинтом 8. Кінці штоків циліндра кріпляться за допомогою гайок до кронштейнів 5, закріпленим на станині. В опорах циліндра розміщуються ущільнення 235x55 мм ГОСТ 9041-59. Підтяжка ущільнювальних кілець ущільнення 2 при виробленні і появі течі проводиться гайками 1.

Циліндр шліфувальної бабки плоскошліфувального верстата 3Б722
Циліндр шліфувальної бабки плоскошліфувального верстата 3Б722. Дивитись у збільшеному масштабі
Гідрокомунікація призначена для з'єднання гідроциліндрів та гідроапаратури згідно з принциповою схемою (див. рис. 30).
Гідроапаратура та циліндри з'єднані між собою сталевими безшовними трубами. Зв'язок між гідрокоробкою реверсу шліфувальної бабки та гідрокоробкою подач шліфувальної бабки здійснюється за допомогою гумових напірних рукавів та кронштейнів, закріплених на колонці та каретці верстата.
Циліндр шліфувальної бабки призначений для передачі поперечного руху (переривчастого та безперервного) шліфувальної бабці. Циліндр 4 (рис. 23) закріплений у двох опорах 2 та 5 за допомогою гвинтів. Поршень 1 кріпиться зі штоком 3 за допомогою корончастої гайки. В опорі циліндра розміщується ущільнення 22×42 ГОСТ 9041-59.
Підтяжка кілець ущільнювачів 8 при появі течі проводиться гайкою 7.
6. Кронштейн кріпиться жорстко до шліфувальної бабки.

Гідрокоробка реверсу шліфувальної бабки плоскошліфувального верстата 3Б722
Гідрокоробка реверсу шліфувальної бабки призначена для виробництва реверсу шліфувальної. бабки за допомогою золотника 1 (рис. 24), який керується золотником 3. Золотник 2 служить для замикання масла на вході в коробку блокування ручного переміщення шліфувальної бабки. За конструкцією гідрокоробка є чавунним корпусом з притертими в ньому золотниками. Торці корпусу закриті кришками.

Гідрокоробка подачі шліфувальної бабки плоскошліфувального верстата 3Б722
Гідрокоробка подач шліфувальної бабки здійснює переривчасті подачі шліфувальної бабки за допомогою порційного золотника 3 (рис. 25), а здійснення характеру подач (переривчастого та безперервного) виконує за допомогою золотника 2.
Для регулювання величини подачі (переривчастої) служить дросель 4, а регулювання швидкості переміщення (безперервної) - дросель 5. Швидкість переміщення порційного золотника 3 регулюється голчастиними дроселями 1.
Конструктивно гідрокоробка є чавунним корпусом з притертими отворами. Гідрокоробка закрита з двох сторін кришками, в яких розміщуються голчасті дроселі із зворотними клапанами. До передньої частинини корпусу кріпляться два чавунні фланці, в яких поміщаються валики з насадженими на кінцях рукоятками для регулювання швидкості та величини подачі шліфувальної бабки.
Плунжер механізму подачі є чавунним корпусом з притертим плунжером 1 (рис. 26). Плунжер переміщається тиском олії, що надходить періодично через кришки, прикріплені до торців корпусу.
З плунжером з'єднаний валик-шестерня, яким передається обертання механізм вертикальної подачі.
Насосна установка є зварним баком ємністю 200 л (рис. 27). На кришках бака розміщуються:

Золотник подач плоскошліфувального верстата 3Б722
Золотник подач плоскошліфувального верстата 3Б722. Дивитись у збільшеному масштабі
Золотник реверсивної подачі служить для здійснення вертикальної подачі під час реверсу шліфувальної бабки в двох її положеннях, при яких замикаються кінцеві вимикачі, що впливають на електромагніти 1 і 2 (рис. 28).
Зібраний вузол є чавунним корпусом з притертим отвором. З торців кріпляться електромагніти 1 і 2, що перемикають золотник 3.
Гідрокоробка реверсу столу здійснює реверс столу золотником 3 (рис. 29), пуск, стоп і розвантаження гідравліки - золотником 2, регулювання швидкості столу - дроселем 1. Золотник 3 управляється від золотника 5, який подає масло періодично під торці золотника 3.

Гідроциліндр реверсу столу плоскошліфувального верстата 3Б722
Гідроциліндр реверсу столу плоскошліфувального верстата 3Б722. Дивитись у збільшеному масштабі
Швидкість переміщення золотника 3 регулюється голчастиними дроселями 4.
Конструкція гідрокоробки реверсу столу є чавунним корпусом з притертими отворами, в яких розміщуються золотники.
З двох сторін корпус закритий кришками, в яких розміщуються голчасті дроселі та зворотні клапани.
Масло з бака всмоктується через сітчастиний фільтр 12 (рис. 30) лопатевим насосом високого тиску H1 і подається в гідрокоробку реверсу столу НГ-52 та гідрокоробку подач шліфувальної бабки 3Б722-54.
У гідрокоробці реверсу столу НГ-52 масло проходить через проточку золотника 24 до проточок реверсивного золотника 22 і далі ліву порожнину циліндра столу 3Б722-50, змушуючи циліндр разом зі столом переміщатися вліво.
З правої порожнини циліндра столу масло через проточки золотника 22 підводиться до швидкісного золотника 23 і далі надходить на злив.
Під час руху стола упор, закріплений у ньому, перекидає реверсивний важіль. Пов'язаний із ним керуючий золотник 21 переміститься вправо.
При цьому масло від насоса низького тиску Н2 підводиться через проточки золотника керуючого 21 під правий торець реверсивного золотника 22, і останній переміститься в крайнє ліве положення. Переміщення реверсивного золотника 22 з'єднає канали гідрокоробки реверсу столу таким чином, що масло високого тиску буде підводитися в праву порожнину циліндра столу, а ліва порожнина буде з'єднана зі зливом, тобто. відбудеться реверс столу. Регулювання швидкості столу здійснюється за допомогою швидкісного золотника 23 за рахунок зміни прохідного перерізу на зливі гідроциліндра. Пусковий золотник 24 служить для пуску та зупинки столу, а також для розвантаження системи високого тиску. Наявність в гідрокоробці регулюючих дроселів 20 дозволяє змінювати характер руху реверсивного золотника 22 і дає можливість досягти плавного реверсу без ударів і пауз.
У гідрокоробці поперечної подачі шліфувальної бабки 3Б722-54 масло високого тиску проходить через дросель переривчастої подачі 29, через проточки золотника характеру подачі 30 і підводиться до порційного золотника 28. Порційний золотник 28 керується від мережі низького тиску і переміщається одночасно з ре2. е. подача порції олії відбувається під час реверсу столу. 6 момент руху порційного золотника 28 порція олії потрапляє по рукаву високого тиску гідрокоробку реверсу шліфувальної бабки 3Б722-53.
Циліндр призначений для передачі поперечного руху (переривчастого та безперервного) шліфувальної бабці. Циліндр 4 (рис. 24) закріплений у двох опорах 2 та 5 за допомогою гвинтів. Поршень 1 кріпиться зі штоком 3 з допомогою коронної гайки 5.
Підтяжка ущільнювальних кілець 8 з появою течі виробляються гайкою 7 Стік циліндра прикріплюється до кронштейна б. Кронштейн кріпляться жорстко до шліфувальної бабки.
Гідрокоробка реверсу шліфувальної бабки призначена для виробництва реверсу шліфувальної бабки за допомогою золотника 1 (рис. 25), який управляється золотником 3. Золотник 2 служить для замикання олії на вході в коробку при блокуванні ручного переміщення шліфувальної бабки. За конструкцією гідрокоробка є чавунним корпусом з притертими в ньому золотниками. Торці корпусу закриті кришками.
Гідрокоробка подач шліфувальної бабки здійснює переривчасті подачі шліфувальної бабки за допомогою порційного золотника 3 (рис. 26), а здійснення характеру подач (переривчастого та безперервного) виконує за допомогою золотника 2.
Для регулювання величини подачі (переривчастої) служить дросель 4, а регулювання швидкості переміщення (безперервної) - дросель 5. Швидкість переміщення порційного золотника 3 регулюється голчастиними дроселями 1.
Конструктивно гідрокоробка являє собою (чавунний корпус з притертим отворами. Гідрокоробка закрита з двох сторін кришками, в яких поміщаються голчасті дроселя про зворотні клапани. До передньої частинини корпусу кріпляться два чавунні фланці, в яких поміщаються валики з насадженими на кінцях рукоятками для регулювання подачі шліфувальної бабки.
Циліндр вертикальних подач є чавунним корпусом з притертим плунжером 1 (рис. 27). Плунжер переміщується Тиском масла, що надходить періодично черевий кришки, прикріплені до торців корпусу.
З плунжером з'єднаний валик-шестірня, яким передаємося обертання механізм вертикальної подачі.
Проходячи потім через проточки блокувального золотника 38 і реверсивного золотника 37 порція масла надходить у праву порожнину циліндра шліфувальної бабки 3Б722-52. Відбудеться переривчаста поперечна подача, оскільки порція масла подається під час реверсу столу, те й поперечна подача відбуватматися під час реверсу столу. З лівої порожнини циліндра шліфувальної бабки масло зливається через проточки реверсивного золотника 37 по рукаву бак. Періодично надходить у гідрокоробку реверсу шліфувальної бабки порція олії, проходячи через проточку керуючого золотника 36, утримує реверсивний золотник 37 в лівому положенні. Коли механізм упорів перекине керуючий золотник 36 в інше крайнє положення (праве), лівий торець реверсивного 37 золотника з'єднається з тиском, і він переміститься вправо. Тепер порція олії надходитиме в ліву порожнину циліндра шліфувальної бабки, а з правої порожнини олія зливатматися. Відбудеться реверсування поперечної подачі шліфувальної бабки.
Величина переривчастої подачі визначається порцією масла, яку пропускає порційний золотник 28. Дроселі 27 дозволяють змінювати швидкість переміщення порційного золотника 28, тому ними налаштовується величина подачі, причому дросель 29 повинен бути повністю відкритий.
Регулювання величини поперечної подачі при роботі на верстаті проводиться дроселем 29. Золотник характеру подачі 30 має такі три положення:
При безперервній подачі шліфувальної бабки потік масла пройде дросель 31, яким визначається величина безперервної подачі, проточки золотника 30, потім по рукаву високого тиску надійде в циліндр шліфувальної бабки, повідомляючи останній безперервне переміщення, причому реверсування відбувається аналогічно. Блокувальний золотник 38 служить блокування включення механізму ручного переміщення шліфувальної бабки. Вертикальна подача відбувається під час реверсів шліфувальної бабки. При перекиданні керуючого золотника 36 поперемінно короткочасно замикаються кінцеві вимикачі 35, які вимикають електромагніти 17 та 19.
Включення електромагнітів призводить до переміщення реверсивного золотника вертикальної подачі 18, що в свою чергу викликає спрацювання плунжера вертикальної подачі 26, кінематично зв'язаного з механізмом вертикальної подачі. Для регулювання чіткості спрацьовування подачі передбачені дроселі 25. Припинення вертикальної подачі проводиться вимикачем, який знеструмлює електромагніти 17 та 19.
Перед пуском гідроприводу необхідно перевірити відповідність розведення труб та гнучких рукавів за принциповою гідравлічною схемою верстата.
Переконавшись у наявності олії в гідроагрегаті та в установці мастила шпинделя та його марочній відповідності, можна приступати до пуску гідроприводу.
У резервуар гідросистеми заливають 200 л турбінної олії 22 ГОСТ 32-74, а в резервуар установки мастила - 15 л масла Велосит "Л" ГОСТ 1840-51 до середнього показника рівня масловказівника.
Пуск гідравліки слід проводити в наступному порядку:
УВАГА! Без наявності мастила на направляючих станини "ПУСК" столу не включати.
Після складання та монтажу гідросистеми гідроагрегат заповнюють олією.
Рекомендовані марки олії: турбінне 22 ГОСТ 32-74 для основного гідроагрегату, Велосит "Л" ГОСТ 1840-51 для встановлення мастила.
Допускається суміш для установки мастила 60% турбінної олії 22 і 40% технічної гасу ГОСТ 11128-65.
У баки заливати чисті профільтровані олії і обов'язково через горловину заливки, забезпечену сітчастиним фільтром.
Рівень олії в баках контролюють за олією-покажчиками.
Під час експлуатації гідропривід не потребує особливого догляду, за винятком вмісту його в чистоті та підтримки необхідного рівня олії в баку. Через три місяці після пуску верстата в експлуатацію необхідно замінити олію. Надалі заміну слід проводити через 6 місяців роботи, попередньо промивши резервуар.
| Найменування параметру | 3B722 | 3D722 | 3Л722В |
|---|---|---|---|
| Основні параметри | |||
| Клас точності згідно з ГОСТ 8-82 | П | П | В, А |
| Найбільші розміри виробів, що обробляються (довжина х ширина х висота), мм | 1000 х 360 х 400 | 1000 х 320 х 400 | 1250 х 320 х 400 |
| Найбільші розміри оброблюваних виробів на електромагнітній плиті (довжина х ширина х висота), мм | 900 х 320 х 280 | 1250 х 320 х 280 | |
| Найменші розміри оброблюваних виробів на електромагнітній плиті (довжина х ширина х висота), мм | 50 х 40 х 5 | 50 х 40 х 3 | |
| Відстань від осі шпинделя до дзеркала стола, мм | 190..630 | 210..625 | 210..625 |
| Найбільша маса виробів, що обробляються на столі, кг | 600 | 600 | |
| Найбільша маса виробів оброблюваних на плиті електромагнітної, кг | 300 | 400 | |
| Робочий стіл верстата | |||
| Розміри робочої поверхні столу (довжина x ширина), мм | 1000 x 320 | 1000 x 320 | 1000 x 320 |
| Розміри поверхні електромагнітної плити (довжина x ширина), мм | 900 x 320 | 900 x 320 | |
| Поздовжнє переміщення столу від гідравліки (найменше/найбільше, мм | 300..1050 | 300..1010 | |
| Швидкість зворотно-поступального руху столу (регулювання безступінчасте), м/хв. | 2..40 | 3..45 | 3..35 |
| Шліфувальна бабка | |||
| Розміри шліфувального кола (найменший та найбільший зовнішній діаметри), мм | 325...450 | ||
| Розміри шліфувального круга (внутрішній діаметр/висота), мм | 203/63 | ||
| Розміри шліфувального кола за ГОСТ 2424-75 | ПП450х80х203 | ПП450х80х203 | |
| Число оборотів шліфувального кола за хвилину | 1460 | 1460 | 1460 |
| Найбільший допустимий момент, що крутить, на шпинделі, кгс*м | 6,7 | ||
| Максимальна швидкість шліфування, м/с | 34,4 | ||
| Кінець шпинделя шліфувальної бабки за ГОСТ 2323-67, ГОСТ 2323-76 (конструкція/конусність/ найбільший діаметр) | 1/1:5/80 | 1/1:5/80 | |
| Найбільше поперечне переміщення шліфувальної бабки (стійки), мм | 400 | 410 | 430 |
| Ціна поділу лімба поперечного переміщення шліфувальної бабки, мм | 0,05 | ||
| Поперечне переміщення шліфувальної бабки на один оберт лімба, мм | 4,5 | ||
| Прискорене поперечне переміщення шліфувальної бабки, м/хв. | 1,2 | ||
| Межі швидкостей поперечної подачі шліфувальної бабки (безступінчасте регулювання), м/хв. | 0,05..3,0 | 0,5..3,0 | |
| Автоматична поперечна подача на кожен хід столу (безступінчасте регулювання), мм/хід | 1..30 | 2..48 | 1..60 |
| Найбільше вертикальне переміщення шліфувальної бабки, мм | 440 | 415 | 415 |
| Ціна поділу лімба вертикального переміщення шліфувальної бабки, мм | 0,005 | 0,004 | 0,002 |
| Вертикальне переміщення шліфувальної бабки на один оберт лімба, мм | 1,0 | 0,5 | 0,2 |
| Автоматичні вертикальні подачі шліфувальної бабки, мм | 0,005..0,1 | 0,004..0,1 | 0,002..0,128 |
| Швидкість прискореного вертикального переміщення, м/хв | 0,450 | 0,450 | 0,200 |
| Привід та електроустаткування верстата | |||
| Кількість електродвигунів на верстаті | 6 | 8 | 13 |
| Електродвигун шпинделя шліфувальної бабки (М1), кВт | 10 | 15 | 11 |
| Електродвигун насоса гідросистеми (М2) (гідростанція), кВт | 5,5 | 7,5 | 4,0 |
| Електродвигуни повітряного теплообмінника (М3, М11) (гідростанція), кВт | ні | 0,12 | 0,09 |
| Електродвигун насоса системи змащення (М4), кВт | 0,12 | 0,25 | 0,25 |
| Електродвигун приводу механізму редагування кола (М5), кВт | 0,09 | ||
| Електродвигун насоса системи охолодження (М6), кВт | 0,12 | 0,6 | 0,75 |
| Електродвигун магнітного сепаратора (М7), кВт | 0,12 | 0,12 | 0,12 |
| Електродвигун фільтру транспортера (М8), кВт | ні | 0,12 | 0,09 |
| Електродвигун регулювання дроселя швидкості руху столу (М9) (гідростанція), кВт | |||
| Електродвигун насоса охолодження олії (М10) гідростанція, кВт | 1,1 | ||
| Електродвигун вертикального прискореного переміщення шліфувальної бабки (М12), кВт | 1,1 | 0,75 | 0,6 |
| Електродвигун приводу поперечної подачі стійки (М13), кВт | 0,75 | ||
| Електродвигун вертикальної подачі шліфувальної бабки (М14), кВт | кроковий | ||
| Електродвигун насоса відкачування витоків, кВт | ні | 0,25 | ні |
| Загальна встановлена потужність усіх електродвигунів, кВт | 3685 | 18,25 | |
| рід струму мережі живлення | 50Гц, 380 В | 50Гц, 380 В | 50Гц, 380 В |
| Габарити та маса верстата | |||
| Габарит верстата (довжина x ширина x висота), мм | 3410 x 2020 x 2290 | 3510 х 2130 х 2360 | 4810 х 2660 х 2660 |
| Маса верстата, кг | 6950 | 8400 | 7000 |
Завжди не вистачає часу, щоб виконати роботу, як треба, але на те, щоб її переробити, час знаходиться.
Закон Мескімена