metalinstryment.com
Довідник по металорізальних верстатів та пресовому обладнанні

676 Верстат фрезерный універсальний
Паспорт, руководство, схеми, опис, характеристики

Універсальный фрезерный верстат 676







Відомості про виробника фрезерного універсального верстата 676

Фрезерный універсальний инструментальный верстат 676 выпускался предприятием - Иркутский станкостроительный завод.





Верстати, выпускаемые предприятием - Иркутский станкостроительный завод, ИСЗ


676 Верстат фрезерный універсальний. Назначение і область применения

Універсальный фрезерный верстат 676 был разработан Одесским Специальным Конструкторским Бюро Прецизионных Станков (СКБ ПС) при Одесском Заводе Фрезерных Станков им. Кирова (ОЗФС), которое было назначено головным в разработке координатно-расточных і широкоуниверсальных фрезерных верстатів.

Фрезерный верстат 676 предназначен для фрезерування деталей цилиндрическими, дисковыми і фасонными фрезами при помощи горизонтального шпинделя, і торцовыми, кінцівыми і шпоночными фрезами при помощи вертикального поворотного шпинделя.

Наличие горизонтального і вертикального поворотного шпинделей, а также ряда прилагаемых к верстату приладдя (універсального стола, круглого стола, делительной головки) делает верстат широкоуниверсальным і удобным для роботи в инструментальных цехах при изготовлении пристосувань, инструмента, рельефных штампов, пресс-форм і других изделий.

На станке можно выполнять, также, сверление і рассверливание, центрование, цекование, зенкерование, развертывание, растачивание.

Дополнительная оснастка і приспособления, предлагаемые производителем верстата, позволяют помимо фрезерування выполнять, также, долбление, нарезание різьби і другие операции.

Універсальный фрезерный верстат 676 наиболее предпочтительно использовать в инструментальных цехах машиностроительных заводов или мастерских для изготовления небольших пристосувань, инструмента, рельефных штампов і прочих изделий.

Принцип роботи і особливості конструкції верстата

Фрезерный верстат 676 имеет два шпинделя - горизонтальный і вертикальний (поворотный), которые позволяют обрабатывать сложную заготовку без її переустановки на рабочем столе, что существенно повышает производительность.

На станке 676 можно выполнять ряд фрезерных і расточных работ з високою точностью, которая може быть достигнута, если верстат установлен в помещении з постоянной температурой 20±2°С і влажностью 65±5%, если вблизи верстата нет источников тепла і вибрации.

Широкий диапазон оборотів шпинделя і подач, наличие механических подач і быстрых перемещений обеспечивают економичную обработку различных деталей в оптимальных режимах.

Горизонтальный і вертикальний шпиндели находятся в шпиндельной бабке і соединены друг з другом зубчатой передачей.

Шпиндельная бабка смонтирована на горизонтальных направляючих і осуществляет поперечную подачу на станке. Поперечная подача шпиндельной бабки може производится от двигуна через коробку подач (16 подач от 13 до 395 мм/мин) или вручную от маховика.

Коробка швидкостей сообщает горизонтальному і вертикальному шпинделям 16 различных швидкостей обертання (50-1630 і 63..2040 об/мин соответственно).

Класс точності верстата Н.

По желанию заказчика верстат поставляется в одной из трех модификаций, определяемых количеством прилагаемых к верстату приладдя.





676 Габаритные розміри робочого простору фрезерного верстата

Габаритные розміри робочого простору фрезерного верстата 676

Габаритные розміри робочого простору фрезерного верстата 676


676 Загальний вигляд широкоуніверсального фрезерного верстата

Фото універсального фрезерного верстата 676

Фото універсального фрезерного верстата 676



Фото універсального фрезерного верстата 676

Фото універсального фрезерного верстата 676



676 Загальний вигляд широкоуніверсального фрезерного верстата

Фото фрезерного верстата 676


Фото універсального фрезерного верстата 676

Фото універсального фрезерного верстата 676



676 Загальний вигляд широкоуніверсального фрезерного верстата

Фото фрезерного верстата 676



Розташування органів керування фрезерным верстатом 676

Розташування органів керування консольно-фрезерным верстатом 676

Розташування органів керування фрезерным верстатом 676

Розташування органів керування фрезерным верстатом 676. Дивитись у збільшеному масштабі



Список органів керування консольно-фрезерным верстатом 676

  1. Рукоятка увімкнення швидкого переміщення суппорта і шпиндельной бабки
  2. Рукоятка увімкнення поздовжньої і вертикальной механической подач основного стола
  3. Маховик ручного переміщення основного стола в продольном направлении
  4. Маховик ручного переміщення основного стола в вертикальном направлении
  5. Рукоятки зажиму шпиндельной бабки
  6. Квадрат зажиму гильзы вертикального шпинделя
  7. Гайка зажиму вертикальной шпиндельной головки
  8. Винт вертикальной установки вертикальной шпиндельной головки
  9. Рукоятка увімкнення механической подачі шпиндельной бабки
  10. Винты зажиму хобота шпиндельной бабки
  11. Рукоятка увімкнення швидкостей
  12. Маховик ручной подачі шпиндельной бабки
  13. Рукоятка увімкнення подач
  14. Маховик ручного обертання шпинделя
  15. Кнопки «Пуск» і «Стоп» електродвигуна головного привода
  16. Рукоятка набора подач
  17. Выключатель насоса охлаждения
  18. Переключатель реверса оборотів шпинделя
  19. Выключатель освещения
  20. Упоры виключення механической вертикальной подачі основного стола
  21. Вводной выключатель
  22. Упоры виключення механической поперечної подачі шпиндельной бабки
  23. Ограничитель переміщення вертикального шпинделя
  24. Квадраты зажиму инструмента
  25. Рукоятка ручной подачі вертикального шпинделя
  26. Рукоятка зажиму суппорта в вертикальном направлении
  27. Рукоятка зажиму основного стола в горизонтальном направлении
  28. Упоры виключення механической поздовжньої подачі основного стола

Графічні символы на табличках фрезерного верстата СФ-676

Графічні символы на табличках фрезерного верстата СФ-676

Графічні символы на табличках фрезерного верстата СФ-676. Дивитись у збільшеному масштабі






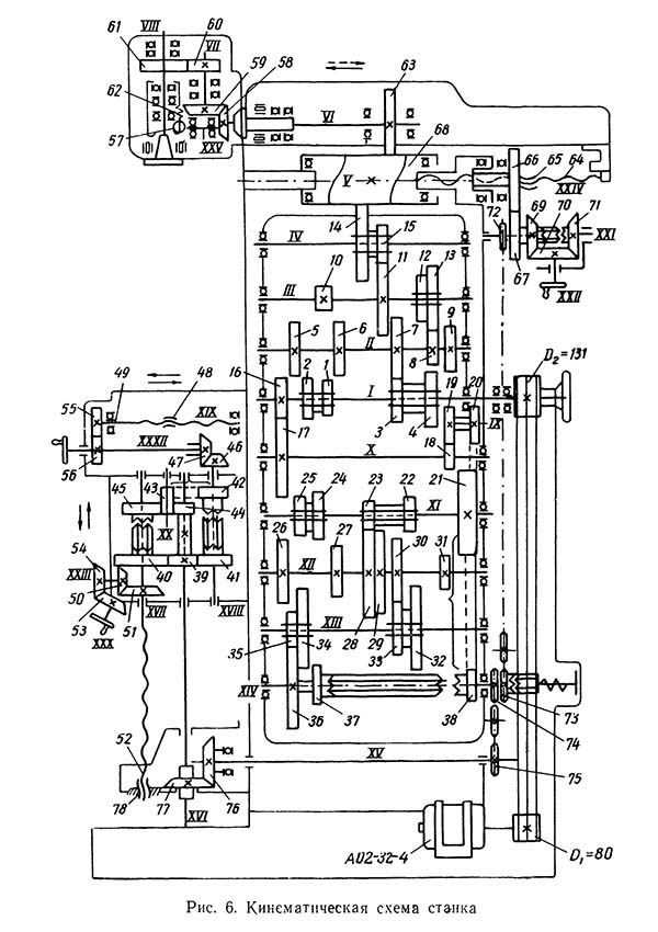
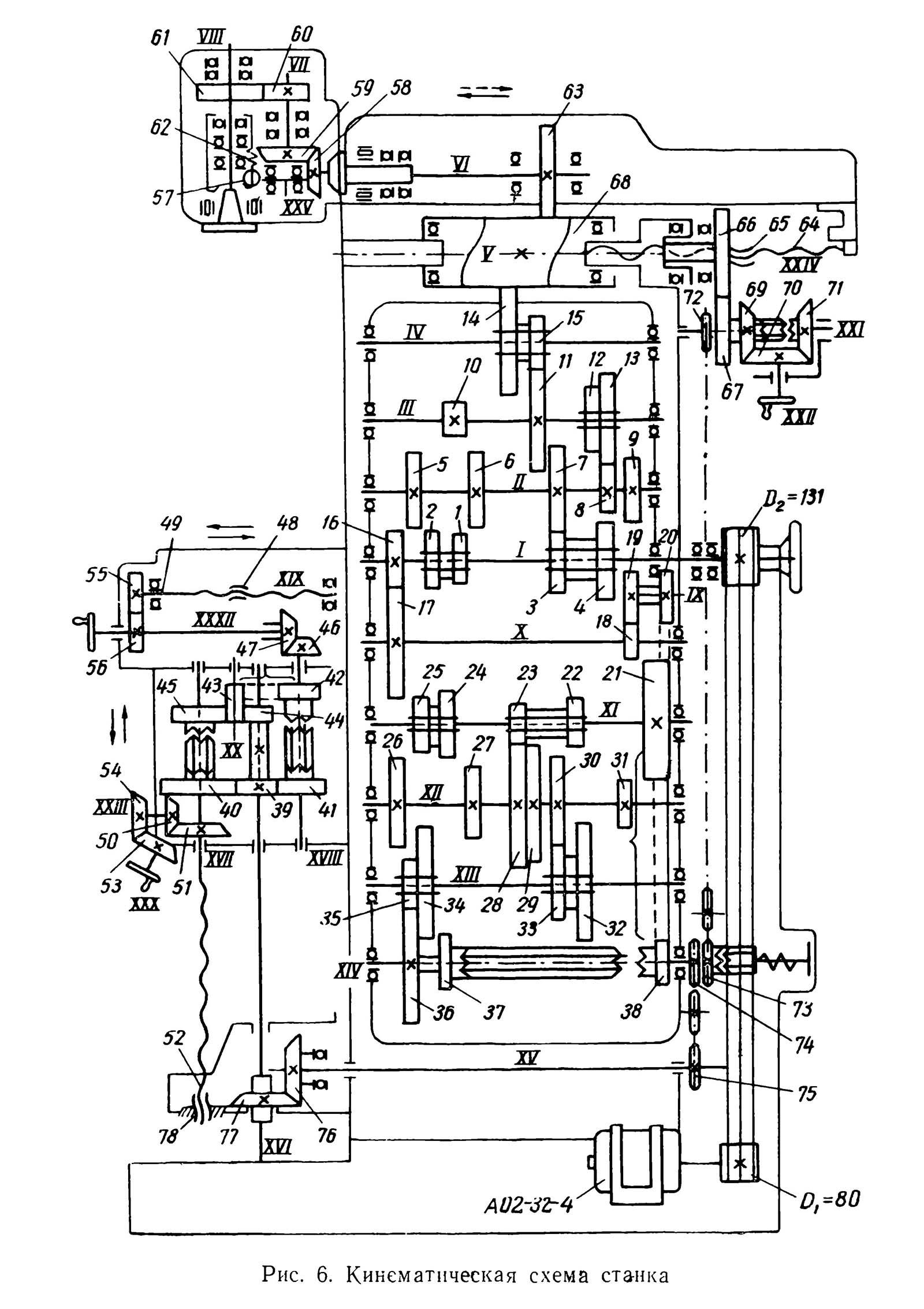
Схема кінематична фрезерного верстата 676

Схема кінематична фрезерного верстата 676

Кінематична схема фрезерного верстата 676

Схема кінематична фрезерного верстата 676. Дивитись у збільшеному масштабі



Короткий опис верстата і приладдя

Общая компоновка верстата

Инструментальный широкоуніверсальний фрезерный верстат 676 состоит из окремих вузлів.

На чугунном основании закреплена стойка, на которой монтируются все основні вузли верстата. На боковой стенке стойки смонтированы коробка швидкостей і коробка подач.

В верхней частини стойки по горизонтальным направляющим перемещается шпиндельна бабка. На торце бабки може быть закреплена вертикальная шпиндельна головка.

По вертикальным направляющим стойки перемещается суппорт. По горизонтальным направляющим суппорта перемещается основной стол, на вертикальной рабочей поверхности которого закреплен угловой стол, служащий для установки і крепления обрабатываемых изделий.

Для обробки наклонно расположенных плоскостей на основной стол устанавливают універсальний стол. Для делительных работ служит делительная головка і круглый стол, которые можно установить как на угловой стол, так і на вертикальную плоскость основного стола. Для долбежных работ предназначена долбежная головка, которую так же, как і вертикальную шпиндельную головку монтируют на торцевой плоскости шпиндельной бабки.

Електродвигун головного приводу помещен в основании. Электроаппаратура размещена в нише стойки.

Шпиндельная бабка

Шпиндельная бабка фрезерного верстата 676

Шпиндельная бабка фрезерного верстата 676

Шпиндельная бабка фрезерного верстата 676. Дивитись у збільшеному масштабі



Горизонтальный шпиндель 11 (рис. 11) монтируют в шпиндельной бабке 3. Передней опорой горизонтального шпинделя служит двухрядный роликовый подшипник 7 з коническим отверстием. Осевые нагрузки воспринимаются упорными шарикопідшипниками 8. Средняя і задня опори — радиальные шарикопідшипники 12. Смазка опор — автоматическая.

Зажим инструмента в горизонтальном шпинделе осуществляют шомполом 10. Величину механического переміщення шпиндельной бабки устанавливают упорами 13.

При работе цилиндрическими фрезами оправка фрезы поддерживается хоботом 1 (при помощи серьги). Хобот можно переставлять в направляючих шпиндельной бабки і зажимать в нужном положении.




Суппорт стола

Суппорт стола фрезерного верстата 676

Суппорт стола фрезерного верстата 676

Суппорт стола фрезерного верстата 676. Дивитись у збільшеному масштабі



Суппорт (рис. 12) служит для продольного і вертикального перемещений обрабатываемых изделий механически или вручную.

Механическая подача осуществляется от приводного вала 6, получающего вращение от коробки подач. Механическую подачу (продольную і вертикальную) выключают упорами 7 і 12.

Установку суппорта контролируют по лимбам 1 і 9. Для особо точной установки суппорта применяют индикаторы і мерные плитки. Механізми суппорта смазывают з помощью ручного насоса 5.

Крестовая рукоятка керування, маховики для ручных перемещений і рукоятки зажиму суппорта удобно расположены со стороны робочого места.

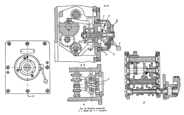
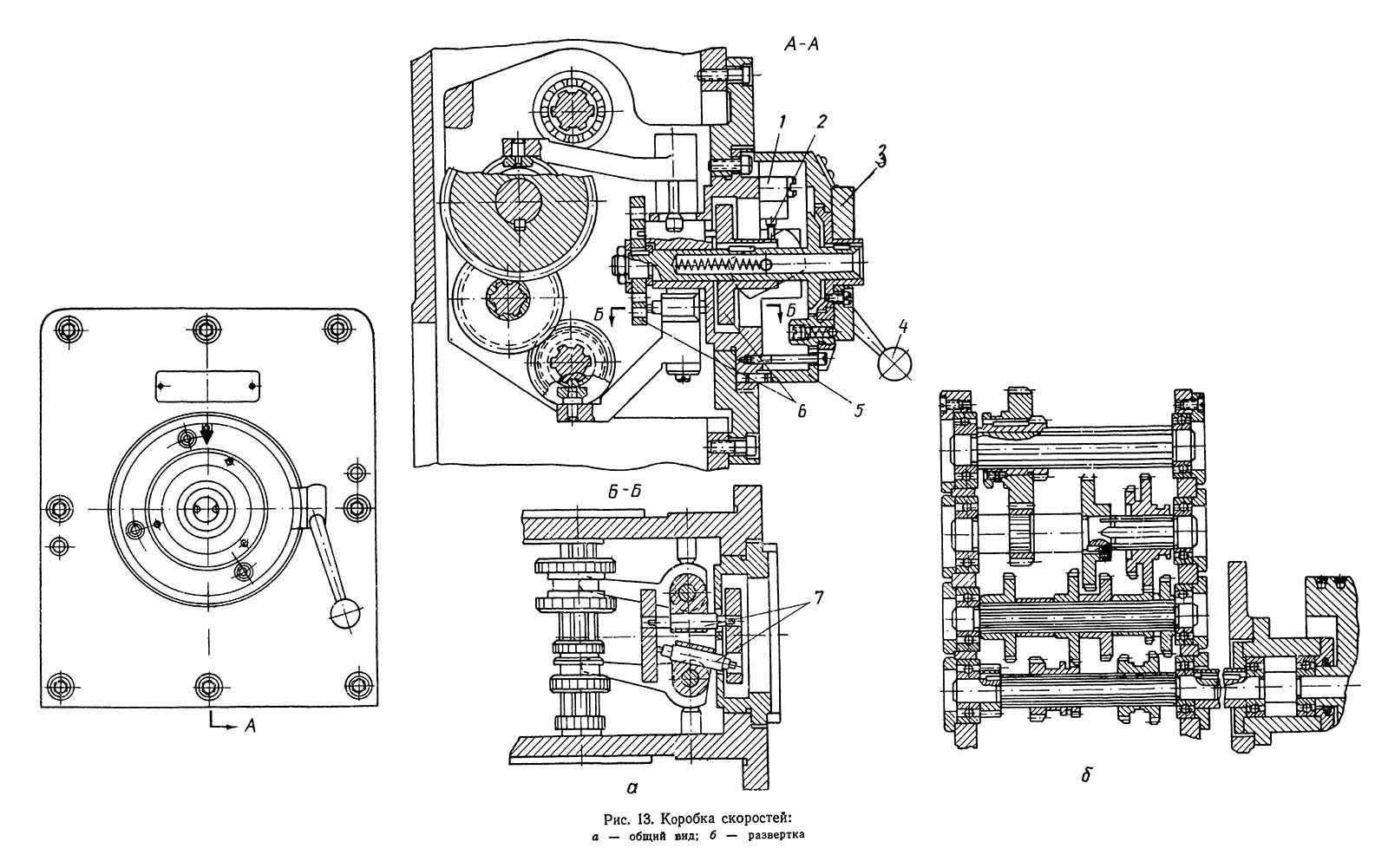
Коробка швидкостей

Коробка швидкостей верстата 676

Коробка швидкостей верстата 676

Коробка швидкостей верстата 676. Дивитись у збільшеному масштабі



Коробка швидкостей (рис. 13) сообщает горизонтальному і вертикальному шпинделям 16 различных швидкостей.

Керування коробкой швидкостей осуществляют следующим образом. Рукоятку переключения швидкостей 4 поднимают вверх. При етом разводятся диски 6, имеющие ряд отверстий. При повороте фланца набора швидкостей 3 і связанных з ним дисков изменяется положение отверстий дисков относительно пальцев 7. Рукояткой переключения 4 диски сводят в первоначальное положение. При етом пальцы 7, перемещаясь, переводят при помощи рычагов шестерни коробки швидкостей.




Коробка подач

Коробка подач фрезерного верстата 676

Коробка подач фрезерного верстата 676

Коробка подач фрезерного верстата 676. Дивитись у збільшеному масштабі



Коробка подач (рис. 14) сообщает суппорту і шпиндельной бабке 16 различных подач, а также быстрое перемещение. Керування коробкой подач такое же, как і коробкой швидкостей. При переключении подач следите за тем, чтобы крестовая рукоятка суппорта находилась в нейтральном положении.

Быстрое перемещение і реверс подач осуществляют рукояткой 5, а реверс — переключателем БП. Смазку шестерен коробки швидкостей, коробки подач і шпиндельной бабки осуществляют з помощью поршневого насоса, который приводится ексцентриком 6, сидящим на первом валу коробки подач.

Вертикальная шпиндельна головка

Головка вертикальная фрезерного верстата 676

Головка вертикальная фрезерного верстата 676

Головка вертикальная фрезерного верстата 676. Дивитись у збільшеному масштабі



Вертикальную шпиндельную головку (рис. 15) крепят к шпиндельной бабке. Головка може поворачиваться относительно вертикальной оси на 90° (в каждую сторону).

Вертикальный шпиндель 8 помещен в передвижной гильзе 7. Нижня опора шпинделя — радиальный двухрядный роликоподшипник 10, верхняя опора — радиальный шарикоподшипник 16. Осевые нагрузки воспринимаются шарикопідшипниками 6 і 9. Опорой шестерни 17 служит шарикоподшипник 4.

Вертикальное перемещение шпинделя — ручное. Гильза може быть зажата в любом положении. Закрепление инструмента производят шомполом 3.

Основание і охолодження

В основании 15 (рис. 16) на кронштейне 14 установлен електродвигатель, сообщающий вращение механізмам коробок швидкостей і подач. Передача обертання от коробки подач к механізмам подач суппорта і шпиндельной бабки осуществляется двумя цепными передачами (звездочки 2, 4, 5, 6, 12).

Для предохранения от перегрузки механізма подач предусмотрена предохранительная кулачковая муфта 8. Увімкнення механической подачі шпиндельной бабки производят рукояткой; направление переміщення бабки соответствует положению рукоятки. Механическую подачу шпиндельной бабки выключают упорами.

Смазку всех трущихся поверхностей производят з помощью шариковых масленок.

Угловой стол

Угловой стол (рис. 17) применяют при обычных фрезерных работах. Угловой стол крепят болтами к вертикальной поверхности основного стола.

Універсальный стол

Універсальный стол (рис. 18) служит для установки деталей, обрабатываемых в различных плоскостях под углом. Універсальный стол крепят к вертикальной поверхности основного стола (вместо углового стола).

Тиски

Тиски (рис. 19) служат для крепления мелких деталей, они могут поворачиваться на 360° в горизонтальной плоскости. Тиски устанавливают как на вертикальной поверхности основного стола, так і на угловом і универсальном столах, а также на круглом столе.

Круглый стол

Круглый стол (рис. 20) предназначен для выполнения различных делений по окружности при фрезеровании і расточке деталей. Его применяют для угловых делений в градусах по шкале на поворотной частини стола і нониусу 7 і для косвенных делений при помощи сменных, дисков 6. Зажим поворотной частини стола осуществляют рукоятками 8.




Долбежная головка

Долбежная головка (рис. 21) служит для долбежных работ. Доска 4 з инструментом получает рух от горизонтального шпинделя через поводок 6, диск 7 і шатун 2. Для установки необходимой величины ходу отожмите винт 3, затем, вращая винт 1, установите величину ходу по шкале, нанесенной на передньої плоскости доски 4, і зажмите винт 3. Инструмент зажимают винтом 5. Установку головки в вертикальной плоскости производят винтом 8.

Ділильна головка

Ділильна головка (рис. 22) предназначена для всевозможных делительных работ. С помощью делительной головки можно производить:

Делительную головку можно устанавливать на вертикальной і горизонтальной поверхностях столов. Конус головки 1 поворачивается в горизонтальной плоскости на 360°.

Изделие крепят в центрах 9 в трехкулачковом патроне 8 или в самом шпинделе 7 шомполом 3.

Гітара к делительной головке

Гітару (рис. 23) применяют з делительной головкой при сложном делении і нарезании спиралей.

Быстроходная головка

Быстроходная головка (рис. 24) служит для сверления отверстий малого диаметра, а также фрезерування цветных металлов, пластмасс і т. д. Головку крепят в конусе вертикального шпинделя. Зажим инструмента осуществляют сменными цангами.





Указание по обслуговування системы змазки

Перед пуском верстата необходимо:

  1. Залить масло в резервуар насоса принудительной змазки до верхней риски маслоуказателя 7. Заливку производят через проем в корпусе шпиндельной бабки 3 при отведенном хоботе. Контролируют работу насоса через глазок 4. Для слива масла необходимо отвернуть пробку 10.
  2. Залить масло в бачок 14 ручного насоса суппорта до верхнего края глазка. Для спуска масла служит отверстие, закрытое пробкой. Смазать механізмы суппорта, нажимая на плунжер 13 ручного насоса (не менее 5 раз).

В процессе експлуатации верстата следите за тем, чтобы смазка верстата проводилась в сроки, указанные в спецификации к схеме змазки. Заливаемое масло не должно быть загрязнено і содержать посторонних примесей. В процессе експлуатации верстата следите за уровнем масла по маслоуказателям.


Подготовка верстата к первоначальному пуску. Первоначальный пуск верстата

Антикоррозийную смазку, нанесенную перед упаковкой на обработанные неокрашенные поверхности верстата, удаляйте з помощью бензина или керосина. Насухо вытертые обработанные неокрашенные поверхности смазывайте тонким слоем машинного масла.

Перед пуском верстата заполните резервуары маслом. Места заливки масла і марка смазочного материала указаны в разделе «Смазка верстата». Затем верстат подключите к силовой сети.

Перед первоначальным пуском верстата должны быть выполнены все указания, относящиеся к первоначальному пуску, изложенные в разделах «Електроустаткування верстата» і «Смазка верстата».

Затем верстат подключите к силовой сети.

В первый период після пуска верстата і испытания его на холостом ходу (в течение 2..3 часов) не рекомендуется работать при максимальных числах оборотів рабочих шпинделей.


Наладка верстата

При наладке верстата веполняются:

  1. Установка инструмента
  2. Налаштування числа оборотів
  3. Налаштування величины подачі
  4. Установка приладдя

Установка инструмента

При работе горизонтальным шпинделем обычно применяют цилиндрические или дисковые фрезы, которые устанавливают на фрезерных оправках. Оправку хвостовой частью вставляют в отверстие шпинделя і закрепляют шомполом. Свободный конец оправки поддерживается серьгой, сидящей на хоботе. При етом следует бережно обращаться з оправками, установочними кольцами, затяжной гайкой, инструментом, не допуская образования забоин на конусных поверхностях і торцах.

При работе вертикальным шпинделем применяют кінцівые і торцевые фрезы. Насадные фрезы устанавливают на консольные оправки. Фрезы или оправки хвостовой частью устанавливают в конус шпинделя і закрепляют шомполом.

Для использования мелких фрез з конусом Морзе № 3, 2, і 1 к верстату прилагаются переходные втулки.

Для роботи фрезами, имеющими цилиндрическую хвостовую часть, к верстату прилагается цанговый патрон з набором цанг.

В конусные отверстия шпинделей могут быть установлены также сверла или оправки з резцами, что позволяет производить на станке сверлильные і расточные роботи.

Налаштування числа оборотів

Настройку верстата на необходимое число оборотів горизонтального или вертикального шпинделя осуществляют механізмом керування, имеющим фланец набора швидкостей і рукоятку увімкнення. Необходимо поднять вверх рукоятку увімкнення, а затем, установив фланец набора швидкостей против нужного числа оборотів, снова опустить рукоятку увімкнення.

Налаштування величины подачі

Настройку верстата на необходимую величину подачі производят механізмом керування так же, как налаштування числа оборотів.

Установка приладдя

Принадлежности крепят на вертикальной поверхности основного стола, на котором имеются два Т-образных паза. Базой для установки служит верхний паз.

Для обычных фрезерных работ применяют угловой стол. При фрезеровании или растачивании изделий под углом (в любой плоскости) применяют універсальний стол. На рисунке 29 показаны различные положения етого стола. При необходимости поворота стола в вертикальной плоскости (по шкале ±45°) на угол более 45° переставьте верхнюю часть стола до установки его на станке (поверните на 180°).

Для выполнения различных делений по окружности в процессе фрезерування или растачивания изделий служит круглый делительный стол.

Помимо обычных работ круглый стол применяют для угловых делений в градусах (по шкале на поворотной частини стола і нониусу) і косвенных делений (при етом применяют прилагаемый к верстату делительный диск).

При работе з делительным диском освободите зажимной винт, поверните ексцентриковую втулку червяка до полного зацепления червяка з червячным колесом і вновь зажмите ексцентриковую втулку. При етом поворачивайте червяк только по часовий стрелке.

Сложное деление

Сложное деление применяют в тех случаях, когда ряды чисел отверстий на делительном диске не дают возможности воспользоваться методом простого деления.

Сложное деление производят следующим образом. В конусное отверстие заднего кінця шпинделя делительной головки вставляют оправку, которую связывают при помощи сменных шестерен з осью червяка. При вращении шпинделя делительной головки делительный диск получает дополнительное вращение.

Передаточное отношение сменных шестерен определяют по формуле:


iсм = 40(z0 - z) / z0


где:

Пример. Разделить деталь на 57 частин. Выбираем Zo = 58, тогда


iсм = 40(58 - 57)/ 58 = 40/58


В данном случае делительный диск должен вращаться в сторону, противоположную рукоятке. Поетому вводим в делительную ланцюг две промежуточные шестерни.





Регулювання верстата

Коробка швидкостей

Микропереключатель 1 (рис. 13) регулируют винтом 2. Для етого снимите крышку 5, освободите стопор і поворачивайте винт 2 до тех пор, пока не будет слышен щелчок. После етого винт 2 стопорите. Регулировку микропереключателя производят при включенной скорости.

Коробка подач

Четкости переключения на реверс (рис. 14) достигают регулировкой пружины 2 фиксатора 3. Четкости увімкнення быстрой подачі достигают регулировкой пружины рычага переключения.

При ненормальной работе насоса, на что указывает отсутствие масла в указателе 4, проверьте работу клапанов насоса. Для етого снимите крышку на стойке, выверните клапаны, прочистите их і проверьте на течь.

Для нормальной роботи насоса периодически промывайте фильтр і доливайте масло до необходимого уровня.

Суппорт

Осевой зазор между витками ходовой гайки 3 (рис. 12) і гвинта 2 продольного основного ходу стола регулируют гайкой 4. Для етого снимают крышку 14 і перемещают стол до совмещения гайки з окном в суппорте, снимают фиксатор 13 і при помощи специального ключа поворачивают гайку до получения необходимого зазору. После етого гайку снова стопорят фиксатором.

Зазоры в продольных і вертикальних направляючих регулируют при помощи конусных клиньєв 16. Положение клина определяют винтом 17 і втулкой 18. При регулировке зазору предварительно отвертывают винт 17 і снимают втулку. После етого затягивают винт до получения требуемого зазору, измеряют расстояние между торцами гвинта і суппорта і шлифуют втулку до етого размера. После шлифования втулку ставят на свое место і затягивают винтом.

При регулировке зазору в вертикальних направляючих предварительно поднимают супорт в верхнее положение і снимают кожух 8.

Четкости фиксации крестовой рукоятки 15 достигать регулировкой пружины 10 фиксатора 11.

Основание і охолодження

Высоту пальцев, выключающих механическую подачу шпиндельной бабки, регулируют гвинтами і фиксируют гайками. При регулировке пальцы вынимайте из корпуса.

Четкости фиксации рукоятки механической подачі і муфты 1 (рис. 16) достигают регулировкой пружины фиксатора.

Натяжение ремней производят з помощью кронштейна 14. Фиксирование кронштейна в определенном положении осуществляют з помощью планок 13 і болтов.

Для натяжения ланцюгів і регулировки предохранительной муфты 8 снимите маховик 3 і задний кожух 11 стойки.

Регулировку натяжения ланцюгів производят з помощью натяжных звездочек 4, закрепленных на планках 9. После регулировки планки закрепляют гвинтами 10.

Усилие пружины предохранительной муфты 8 регулируют гайками 7. Муфта должна срабатывать, когда на столе возникает усилие різання, равное 450..500 кг. Это соответствует усилию, равному 12—15 кг на маховике продольного ходу стола.

Круглый стол

Правильность зацепления червячной пары 3 (рис. 20) круглого стола обеспечивают винтом-упором 4. Зацепление считается удовлетворительным при мертвом ходе рукоятки 5 червяка, равном 2..3 расстояниям между отверстиями наибольшего ряда отверстий делительного диска 6. После регулировки зацепления винт 4 застопорите контргайкой. Осевой зазор червяка регулируйте гайками 2. При регулировке снимите нижний щиток 1.

Ділильна головка

Осевой зазор червяка регулируют гайками 11 (рис. 22). При етом предварительно снимают планку 12 з фиксатором 13.

Зацепление червячной пары регулируют винтом-упором. Зацепление считается удовлетворительным при мертвом ходе рукоятки червяка, равном 2..3 расстоянием между отверстиями наибольшего ряда отверстий делительного диска. После регулировки зацепления винт-упор застопорите контргайкой.

Радиальный зазор шпинделя выбирают переміщенням его в осевом направлении. Для етого снимите головку з основания 4 і разберите шпиндель. Зазор выбирают следующим образом: снимите кольцо 5 і измерьте расстояние между торцом шпинделя і червячным колесом 2, після чего кольцо 5 шлифуйте до необходимого размера і шпиндель соберите.


Регулювання горизонтального шпинделя

Радиальный зазор в передньої опоре шпинделя устанавливают з помощью гайки 9 (рис. 11). Для етого предварительно снимают фланец 4, гайку 5 і два компенсационных полукольца 6. Радиальный зазор выбирают конусом шпинделя. Это достигают осевым переміщенням підшипника относительно шпинделя. После регулировки радиального зазору измеряют расстояние между торцами шпинделя і радиального підшипника і шлифуют одновременно оба компенсационных полукольца до получения етого размера. Затем собирают полукольца, фланец і гайку на шпинделе. Установку фланца 4 производят на бакелитовом лаке.

Регулировку осьового зазору шпинделя производят гайкой 2. Для етого предварительно снимают пружинное кольцо і отвертывают два стопорных гвинта. После установки необходимого осьового зазору гайку 2 стопорят гвинтами і устанавливают пружинное кольцо.

В=С-16Δ,

где С - расстояние от бурта шпинделя до торца кольца підшипника в мм,

Δ - фактический диаметральный зазор, підшипника в мм. Радиальный зазор в переднем подшипнике нужно отрегулировать в пределах 0..0,005 мм. Затем собирают компенсационное кольцо і фланец.

Регулювання осьового зазору шпинделя производится гайкой (6). Для етого нужно снять пружинное кольцо з наружного диаметра гайки і «слабить два гвинта. После достижения необходимого осьового зазору, если нужно подрезать торец фланца (2) і поставить его на место. Затем гайку (6) стопорят гвинтами і надевают пружинное кольцо.

Нормально отрегулированные підшипники передньої опори должны вращаться бесшумно при 50..325 об/мин, і з легким шуршащим звуком при 410..1630 об/мин. Появление писка не допускается.

Підшипники горизонтального шпинделя

Горизонтальный шпиндель верстата 676 смонтирован на 5-и підшипниках:


Технічні характеристики підшипника № 4-3182112

Подшипник 3182112 - ето двухрядный роликовый радиальный подшипник, з короткими цилиндрическими роликами, з безбортовым наружным кольцом (вследствие чего комплект тел качения на сепараторе способен перемещаться і создавать «плавающую» опору), з коническим посадочным отверстием (1:12), канавкой і отверстиями для внесения смазочного материала. Основное место експлуатации таких підшибників — верстати различного применения, вузли где действуют высокие радиальные нагрузки і скорости. Этот типоразмер, как і большинство роликопідшибників етой серии производится в настоящее время только высокоточным.

Подшипник всегда выпускался на московском заводе ГПЗ-1, сейчас же его производство переводят в Волжский, на филиал Завода Авиационных Подшипников при 15 ГПЗ (все заводы объединены под егидой Европейской Подшипниковой Корпорации). Изготавливается несколько модификаций, отличающихся по классу точності і материалу сепаратора. Буква К означает наличие кольцевой проточки і трех отверстий для внесения змазки, Е — полиамидный сепаратор. Купить підшипники з гарантией качества можно только у официальных представителей ЕПК, которые есть во многих регионах страны, поскольку в подавляющем большинстве других фирм реализуют неликвидные вироби, которые могут работать і хорошо, но чаще нет. Ориентировочная цена новых заводских изделий составляет до 3800 рублей.

Импортные підшипники етого типоразмера имеют обозначение NN3012K (наличие буквы К в номере обязательно, так как она указывает на коническую посадку). В Россию поставляется продукция разной ценовой категории: наиболее дорогие і надежные — FAG, SKF, подешевле — NACHI і NSK. Еще более дешевый варіант — продукция восточно-европейских производителей — ZKL і FLT, которая чаще всего реализуется неликвидного качества, иногда даже уже бывшая в употреблении, производства 80-ых годов прошлого века. Ориентировочная цена наиболее качественных і дорогих импортных підшибників етого типа составляет около 280 евро, они как есть на складах компаний, так і поставляются под заказ.

Розміри і характеристики підшипника 3182112 (NN3012K)

Схема підшипника 3182112

Схема підшипника 3182112 фрезерного верстата 676


Фото підшипника 3182112

Фото підшипника 3182112 фрезерного верстата 676



Регулювання вертикального шпинделя

Для регулировки радиального і осьового зазору вертикального шпинделя шпиндель з гильзой выньте из корпуса 13 (рис. 15). При етом снимите з кінця шпинделя гайку 2 і упор 1, а также выньте валик-шестерню 15, предварительно сняв з него лимб 14.

Регулировку радиального зазору передньої опори производите следующим образом. С гильзы 7 снимите фланец 11, а со шпинделя — компенсаторные полукольца 12, подшлифуйте полукольца на необходимый размер, після чего установите их на место. Затем внутреннее кольцо роликопідшипника 10, посаженное на конус шпинделя, затяните гайками 5 до упора в полукольца 12. Потом ослабьте гайки 5 і регулируйте осевой зазор в упорных підшипниках 9.

Сборку ведите в обратном порядке.

Підшипники вертикального шпинделя

Шпиндель вертикальной головки верстата 676 смонтирован на 5-и підшипниках:


Технічні характеристики підшипника № 3182110

Подшипник 3182110 - ето двухрядный роликовый радиальный подшипник, з короткими цилиндрическими роликами, з безбортовым наружным кольцом (вследствие чего комплект тел качения на сепараторе способен перемещаться і создавать «плавающую» опору), з коническим посадочным отверстием (1:12), канавкой і отверстиями для внесения смазочного материала. Основное место експлуатации таких підшибників — верстати различного применения, вузли где действуют высокие радиальные нагрузки і скорости. Этот типоразмер, как і большинство роликопідшибників етой серии производится в настоящее время только высокоточным.

Подшипник всегда выпускался на московском заводе ГПЗ-1, сейчас же его производство переводят в Волжский, на филиал Завода Авиационных Подшипников при 15 ГПЗ (все заводы объединены под егидой Европейской Подшипниковой Корпорации). Изготавливается две модификации — 4-3182110К і 2-3182110К. Буква К означает наличие кольцевой проточки і трех отверстий для внесения змазки. Произведенные в прошлом підшипники часто имеют дополнительное обозначение Л (латунный сепаратор). Покупать підшипники з гарантией качества следует у официальных представителей ЕПК, которые есть во многих регионах страны. Ориентировочная цена новых заводских изделий — около 3400 рублей, однако редкий представитель держит их на складе. Оперативно из наличия в основном можно купить только підшипники з хранения, неликвиды, бывшие в употреблении в фирмах соответствующего профиля.

Импортные підшипники етого типоразмера имеют обозначение NN3010K (наличие буквы К в номере обязательно, так как она указывает на коническую посадку). В Россию поставляется продукция разной ценовой категории: наиболее дорогие і надежные — FAG, SKF, KOYO, IBC, подешевле — NACHI і NSK. Еще более дешевый варіант — продукция восточно-европейских производителей — ZKL і FLT, которая чаще всего реализуется неликвидного качества, иногда даже уже бывшая в употреблении. Ориентировочная цена наиболее качественных і дорогих підшибників етого типа составляет около 270 — 280 евродолларов.

Розміри і характеристики підшипника 3182110 (NN3010K)

Схема підшипника 3182110 (NN3010K)

Схема підшипника 3182110 (NN3010K) токарного верстата ТВ-7


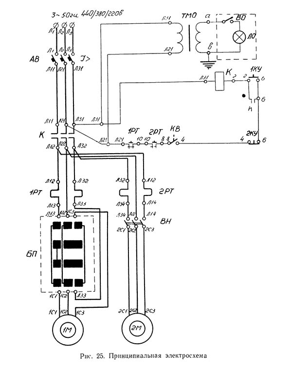
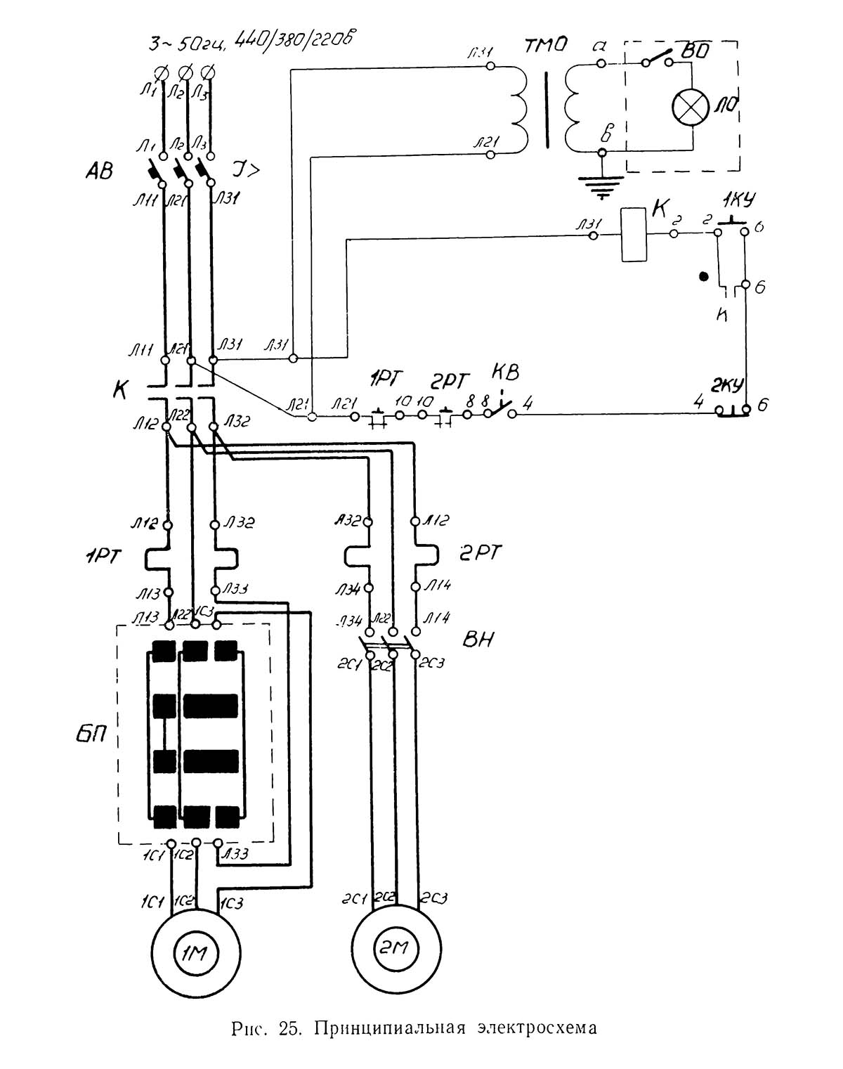
Схема електрична фрезерного верстата 676

Схема електрична фрезерного верстата 676

Електрична схема фрезерного верстата 676

Електрична схема фрезерного верстата 676. Дивитись у збільшеному масштабі



Електроустаткування верстата

Опис електросхеми

В електрообладнання верстата входят (рис. 25):

  1. Електродвигун головного приводу 1М
  2. Электронасос охлаждения 2М
  3. Пусковая і защитная аппаратура, размещенная в нише верстата
  4. Местное освещение

При включении вводного выключателя АВ подается напряжение в силовые ланцюги і ланцюги керування. При нажатии на кнопку 1КУ («Пуск») получает питание катушка пускателя К. Пускатель своими контактами включает електродвигатель 1М і електронасос 2М.

При переключении швидкостей ланцюг живлення катушки пускателя К разрывается конечным включателем KB, отключая при етом електродвигатели от сети. Для увімкнення електродвигателей після набора швидкостей нажмите кнопку 1КУ («Пуск»). Нажатием на кнопку 2КУ («Стоп») електродвигатели отключаются. При необходимости електронасос 2М може быть отключен от сети пакетным выключателем ВН. Реверсирование електродвигуна 1М осуществляют барабанным переключателем БП. Увімкнення і вимкнення местного освещения осуществляют выключателем ВО.

Захист

Защиту електроустаткування верстата от токов короткого замыкания осуществляют автоматическим выключателем. Захист електродвигателей от перегрузок осуществляется тепловыми реле.

Електроустаткування верстата експлуатируют в соответствии з требованиями правил пристроя електрических установок.




676 Верстат фрезерный універсальний. Відеоролик.




Технічні характеристики фрезерного верстата 676

Наименование параметра СФ-676 (2001) 676 (1966) 676П (1975)
Основні параметри верстата
Класс точності по ГОСТ 8-82 Н Н П
Розміри горизонтального (углового) стола, мм 250х800
300х800
250х800 250х800
Розміри вертикального стола, мм 250х630 240х630 250х630
Максимальная масса обрабатываемой детали, кг 100 100
Расстояние от оси горизонтального шпинделя до рабочей поверхности горизонтального стола, мм 80..460 60..460 80..460
Расстояние от торца вертикального шпинделя до рабочей поверхности горизонтального стола, мм 0..350 0..375 0..380
Наибольший вылет оси вертикального шпинделя, мм 125..375 125..375
Наибольший продольный ход стола (X), мм 450 450 450
Наибольший ход шпиндельной бабки (Y), мм 300 300 300
Наибольший вертикальний ход стола (Z), мм 380 400 250
Цена деления лимбов, мм 0,05 0,05 0,05
Горизонтальный і вертикальний шпиндели верстата
Частота обертання горизонтального шпинделя, об/мин (число ступеней) 50..1630 (16) 50..1630 (16) 50..1630 (16)
Частота обертання вертикального шпинделя, об/мин (число ступеней) 63..2040 (16) 63..2040 (16) 63..2040 (16)
Количество швидкостей шпинделей 16 16 16
Наибольшее осевое перемещение вертикального шпинделя, мм 80 80 60
Наибольший угол поворота вертикальной головки в вертикальной плоскости, градус ±90° ±90° ±90°
Конус горизонтального і вертикального шпинделей 40АТ5
Морзе 4
40АТ5
Морзе 4
40АТ5
Пределы подач шпиндельной бабки, мм/мин (число ступеней) 13..395 (16) 13..395 (16) 13..395 (16)
Количество подач шпиндельной бабки 16 16 16
Наибольшее усилие різання продольное/поперечное/вертикальное, допускаемое механізмом подач, Н 5500/ 5500/ 5500 5000/ 5000/ 5000
Допустимое значение осевой составляющей силы різання, действующей на вертикальний шпиндель, не более, Н 1300
Стол
Пределы продольных і вертикальних подач стола (X, Y), мм/мин 13..395 (16) 13..395 (16) 13..395 (16)
Ускоренный ход стола, мм/мин 935 935 935
Електроустаткування і привід верстата
Напряжение силовой ланцюги ~ 380 В 50 Гц ~ 380 В 50 Гц ~ 380 В 50 Гц
Напряжение ланцюги освещения ~ 24 В 50 Гц
Мощность двигуна головного привода, кВт (об/мин) 3 (1500) 2,8 (1420) 2,2
Мощность двигуна електронасоса СОЖ, кВт (об/мин) 0,12 (2800) 0,12 (2800) 0,12 (2800)
Суммарная мощность електродвигателей, кВт 3,12 2,92 2,4
Габарит і масса верстата
Габарити верстата (длина х ширина х высота), мм 1200 х 1240 х 1780 1200 х 1225 х 1755 1285 х 1215 х 1780
Масса верстата, кг 1050 1300 910


    Список литературы:

  1. Універсально-фрезерный верстат 676. Руководство по уходу і обслуговування, 1965

  2. Аврутин С.В. Основы фрезерного дела, 1962
  3. Аврутин С.В. Фрезерне дело, 1963
  4. Ачеркан Н.С. Металлорежущие верстати, Том 1, 1965
  5. Барбашов Ф.А. Фрезерне дело 1973, с.141
  6. Барбашов Ф.А. Фрезерные роботи (Профтехобразование), 1986
  7. Блюмберг В.А. Справочник фрезеровщика, 1984
  8. Григорьев С.П. Практика координатно-расточных і фрезерных работ, 1980
  9. Копылов Р.Б. Работа на фрезерных верстатах,1971
  10. Косовский В.Л. Справочник молодого фрезеровщика, 1992, с.180
  11. Кувшинский В.В. Фрезерование,1977
  12. Ничков А.Г. Фрезерные верстати (Библиотека станочника), 1977
  13. Пикус М.Ю. Справочник слесаря по ремонту металлорежущих верстатів, 1987
  14. Плотицын В.Г. Расчёты настроек і наладок фрезерных верстатів, 1969
  15. Плотицын В.Г. Наладка фрезерных верстатів,1975
  16. Рябов С.А. Современные фрезерные верстати і их оснастка, 2006
  17. Схиртладзе А.Г., Новиков В.Ю. Технологическое обладнання машиностроительных производств, 1980
  18. Тепинкичиев В.К. Металлорежущие верстати, 1973
  19. Чернов Н.Н. Металлорежущие верстати, 1988
  20. Френкель С.Ш. Справочник молодого фрезеровщика (3-е изд.) (Профтехобразование), 1978







Паспорт широкоуніверсального консольно-фрезерного верстата676, (djvu) 1,1 Мб, Скачать




Заказать