metalinstryment.com
Довідник по металорізальних верстатів та пресовому обладнанні

6М76П Верстат фрезерный инструментальный широкоуніверсальний
схеми, опис, характеристики

Загальний вигляд  фрезерного верстата 6М76ПФ1 широкоуніверсального







Відомості про виробника фрезерного універсального верстата 6М76П

Фрезерный широкоуніверсальний инструментальный верстат 6М76П выпускался предприятием - Иркутский станкостроительный завод.





Верстати, выпускаемые предприятием - Иркутский станкостроительный завод, ИСЗ


6М76П Верстат инструментальный фрезерный широкоуніверсальний підвищеної точності. Назначение і область применения

Фрезерный широкоуніверсальний верстат 6М76П предназначен для фрезерування деталей цилиндрическими, дисковыми і фасонными фрезами при помощи горизонтального шпинделя, і торцовыми, кінцівыми і шпоночными фрезами при помощи поворотного вертикального шпинделя.

На Фрезерном станке 6М76П можно выполнять ряд фрезерных і расточных работ з високою точностью, которая може быть достигнута, если верстат установлен в помещении з постоянной температурой 20±2°С і влажностью 65±5%, если вблизи верстата нет источников тепла і вибрации. На станке можно выполнять, также, сверление і рассверливание, долбление, центрование, цекование, зенкерование, развертывание, растачивание.

Наличие двух шпинделей горизонтального і поворотного вертикального, а также большого количества приладдя к верстату, делает его широкоуниверсальным і удобным для роботи в инструментальных цехах машиностроительных заводов при изготовлении пристосувань, инструмента, рельефных штампов і прочих изделий.

Верстат 6М76П применяется в единичном і мелкосерийном производстве в инструментальных і механических цехах машиностроительных предприятий.

Класс точності верстата 6М76П - П по ГОСТ 8—71.

Климатическое виконання і категория розміщення верстата по ГОСТ 15150—69 УХЛ категория 4, для роботи при температуре 5—40° С. Высота над уровнем моря до 1000 м.

Принцип роботи і особливості конструкції верстата 6М76П

Рациональное построение головного приводу з короткой кінематичної ланцюгю (на 12 верхних ступенях участвуют две передачи, а на шести нижних — три передачи) способствует повышению его КПД і снижению шума.

Нижнее крепление гвинта вертикального переміщення обеспечивает ход 450 мм при относительно малой высоте верстата.

Поворотный маховик вертикального переміщення улучшает ергономику і расширяет технологические возможности.

Верстат оснащен большим количеством приладдя, расширяющих технологические возможности верстата. Основні из них:

Преимущества использования широкоуніверсального фрезерного верстата 6М76П:


Основні характеристики фрезерного широкоуніверсального верстата 6м76п

Разработчик: Вильнюсский станкостроительный завод Комунарас.

Производитель: Иркутский станкостроительный завод.

Фрезерный верстат 6м76п производился з 1974 года з основними параметрами по ГОСТ 23330-73. Верстати фрезерные широкоуниверсальные инструментальные. Основні розміри.


6М76П Аналоги універсального фрезерного верстата





6М76П Габаритные розміри робочого простору і присоединительные базы верстата з горизонтальным шпинделем

Габаритные розміри робочого простору і присоединительные базы фрезерного верстата 6М76П з горизонтальным шпинделем

Габаритные розміри робочого простору фрезерного верстата 6м76п


6М76П Габаритные розміри робочого простору і присоединительные базы верстата з вертикальным шпинделем

Габаритные розміри робочого простору і присоединительные базы фрезерного верстата 6М76П з вертикальным шпинделем

Габаритные розміри робочого простору фрезерного верстата 6м76п


6М76П Посадочные і присоединительные базы верстата. Стол угловой горизонтальный. Стол вертикальний - салазка

Посадочные і присоединительные базы верстата 6М76П. Стол угловой горизонтальный. Стол вертикальний - салазка

Посадочные і присоединительные базы фрезерного верстата 6м76п


Загальний вигляд фрезерного верстата 6М76П

Загальний вигляд  фрезерного верстата 6М76П

Фото фрезерного верстата 6м76п


Фото фрезерного верстата 6М76П

Фото фрезерного верстата 6м76п


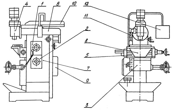
Розташування складових частин фрезерного верстата 6М76П

Розташування складових частин консольно фрезерного верстата 6М76П

Розташування складових частин фрезерного верстата 6м76п


Список складових частин широкоуніверсального фрезерного верстата 6М76П

  1. Коробка швидкостей - 751001
  2. Коробка подач - 752001
  3. Суппорт - 6П3001
  4. Головка фрезерна вертикальная - М5П4001А
  5. Стол основной вертикальний (салазка) - 6П3012
  6. Бабка фрезерна горизонтальная - М6П6001А
  7. Станина - М6П7001
  8. Стол угловой горизонтальный - 6П81001
  9. Электрошкаф - 6М76П.90.23.00.000
  10. Хобот - 6П6012
  11. Съемник - 6М76П.71.00.00.000
  12. Пульт - 6М76П.90.22.00.000

Розташування органів керування фрезерным верстатом 6М76П

Розташування органів керування фрезерным верстатом 6М76ПР, 6М76ПФ1, 6М76ПФ2

Розташування органів керування фрезерным верстатом 6м76п

Розташування органів керування фрезерным верстатом 6М76П. Дивитись у збільшеному масштабі



Список органів керування фрезерным верстатом 6М76П

  1. Вводный выключатель
  2. Маховик набора частоти обертання
  3. Рукоятка переключения частоти обертання
  4. Маховик набора скорости переміщення рабочих органів
  5. Рукоятка переключения скорости переміщення рабочих органів
  6. Вращение шпинделя вправо
  7. Вращение шпинделя влево
  8. Рукоятка увімкнення механического переміщення стола
  9. Рукоятка увімкнення механического переміщення шпиндельной бабки
  10. Рукоятка ускоренного переміщення рабочих органів
  11. Маховик ручного переміщення стола в вертикальном направлении
  12. Маховик ручного переміщення стола в горизонтальном направлении
  13. Маховик ручного переміщення шпиндельной бабки
  14. Зажим инструмента в горизонтальном шпинделе
  15. Отжим инструмента в горизонтальном шпинделе
  16. Зажим инструмента в вертикальном шпинделе
  17. Отжим инструмента в вертикальном шпинделе
  18. Кнопка стоп
  19. Тумблер увімкнення насоса охлаждения
  20. Световой указатель готовности
  21. Рукоятка насоса змазки
  22. Путевые выключатели
  23. Рукоятка фиксации фрезерной головки в вертикальной плоскости шпинделя
  24. Рукоятка переміщення гильзы вертикального
  25. Зажим гильзы вертикального шпинделя
  26. Винты зажиму фрезерной бабки
  27. Рукоятка зажиму стола в вертикальном направлении
  28. Рукоятка зажиму стола в горизонтальном направлении
  29. Выключатель освещения
  30. Гайка зажиму фрезерной головки
  31. Винт зажиму хобота
  32. Маховик ручного поворота шпинделя
  33. Ось соединения фрезерной головки і съемника
  34. Гайки фиксации пульта в рабочем положении




6М76П Схема кінематична фрезерного верстата

Схема кінематична фрезерного верстата 6М76П

Кінематична схема фрезерного верстата 6м76п

Схема кінематична фрезерного верстата 6М76П. Дивитись у збільшеному масштабі



Опис кінематичної ланцюги верстата

Кінематична схема верстата состоит из ланцюги головного руху і ланцюги подач (рис.12)

Ланцюг головного руху

От електродвигуна I мощностью 2,2 кВт рух передається на вал I при помощи клиноременной передачи 2-3. От вала I через коробку швидкостей вращение передається барабанной шестерне 20, затем на вал горизонтального шпинделя VI.

Вал вертикального шпинделя VIII получает вращение от вала VI через коническую 22-23 і цилиндрическую 24-25 пары.

Различные положения блоков шестерен коробки швидкостей (7-6, 5-4, 14-15, 19-18) позволяют сообщать горизонтальному і вертикальному шпинделям шестнадцать различных швидкостей.

Ланцюг подач

Все подачі верстата (стола в вертикальном і продольном направлениях, шпиндельной бабки в поперечном направлении) осуществляется механически і вручную. Кроме того, для всех направлений предусмотрено ускоренное перемещение.

Самостоятельного приводу подач в станке нет. Механізми подач получают вращение от головного приводу (вал I коробки швидкостей) через коробку подач. С післяднего вала коробки подач XIII при помощи цепных передач 50-62, 51-53 вращение передається механізмам подач стола і шпиндельной бабки.

Вертикальные подачі стола осуществляются следующим образом: от вала XVII через коническую пару 63-64 получает вращение вал ХVIII. На винт XXIII вертикального переміщення прямое вращение передається через шестерни 65-77, а обратное - через шестерни 74-75-76. Так как винт закреплен в суппорте, стол получает перемещение вверх или вниз.

Ручное вертикальное перемещение осуществляется маховиком, сидящим на валу ХХV, через конические пары 80-81 і 78-79. Продольные подачі влево і вправо осуществляются переключением муфты на валу XIX, при етом вращение передається через шестерни 66-65 і 74-75-67 на вал XIX, через коническую пару 68-69 на вал XX, а затем через шестерни 70-71 на вал гвинта XXI.

В случае переключения муфты на валу Х1V поперечної подачі шпиндельной бабки сообщает прямое или обратное вращение гайке 59, связанной з винтом поперечної подачі, причем шпиндельна бабка перемещается вперед или назад.

Вручную шпиндельна бабка перемещается маховиком з помощью конической пары 55-56 или 56-57.

Ускоренные переміщення осуществляются сцеплением муфты на валу XVII з муфтой цилиндрического колеса 49. Таблицы механізмов головного руху і подач приведены в табл. 3 і 4.


Пристрій і робота фрезерного верстата 6М76П

Общая компоновка і конструктивные особливості верстата

Верстат состоит из сборочных единиц, перечисленных в таблице 6 і на рис. 10. Компоновка верстата обеспечивает минимальные габарити і вес верстата, широкие технологические возможности.

Базовым узлом верстата является станина поз. 7.

На передньої плоскости станины крепится супорт поз. 3, перемещаемый по направляющим станины в вертикальном направлении. По направляющим суппорта перемещается салазка з закрепленным на ней угловым горизонтальным столом поз. 8 в продольном направлении. На вертикальную плоскость салазки либо на горизонтальную плоскость углового горизонтального стола крепятся принадлежности для закрепления і обробки изделий.

На верхней плоскости станины установлен узел - бабка фрезерна горизонтальная поз. 6, перемещаемый по направляющим станины в поперечном направлении. На передньої плоскости бабки фрезерной може быть установлена головка фрезерна вертикальная поз.4.

В нерабочем положении вертикальная головка закрепляется на корпусе съемника поз. 11, установленном на станине. С левой стороны станины установлен електрошкаф поз. 9 з електрообладнанням. С правой стороны станины установлены вузли: коробка швидкостей поз.1 і коробка подач поз. 2.


Опис конструкції основних вузлів фрезерного верстата 6М76П

Коробка швидкостей

Коробка швидкостей (рис.13) собрана в специальном корпусе 10. Корпус крепится фланцем к боковой стенке станины і состоит из четырех валов, которые приводятся во вращение шкивом II посредством клиноременной передачи от основного електродвигуна верстата.

Коробка швидкостей сообщает горизонтальному і вертикальному шпинделям шестнадцать различных швидкостей. Скорости изменяются механізмом переключения, расположенным на передньої стенке корпуса коробки.

Для изменения скорости рукоятку переключения швидкостей 6 нужно поднять вверх - диски 8, имеющие ряд отверстий, разведутся. При повороте грибка набора швидкостей 3 і связанных з ним дисков изменится положение отверстий дисков относительно пальцев 9, чем производится подготовка для переключения швидкостей. Затем рукояткой переключения 6 нужно свести диски в первоначальное положение. Тогда пальцы 9, перемещаясь, при помощи рычагов переведут блоки шестерен коробки швидкостей.

При переключении, возможно, что торцы зубьев зацепляемых шестерен не совпадут і диски не сведутся. В етом случае маховиком 7 (рис.17) повернуть вал 12.

Внимание! Переключать скорости под нагрузкой запрещается.

Коробка подач

Коробка подач (рис.14) сообщает столу і шпиндельной бабке шестнадцать различных подач, а также ускоренные переміщення.

Привід коробки подач осуществляется от первого вала коробки швидкостей. На выходном валу коробки подач XII имеется блок звездочек передающих рух механізмам руху стола і шпиндельной бабки.

Изменение подачі производится, так же как і в коробке швидкостей.

При переключении подач необходимо следить, чтобы крестовая рукоятка находилась в нейтральном положении.

При реверсе шпинделя шестерню 3, садящую на валу I коробки подач, притормаживает пружинный фиксатор 9, а штифт 4, входящий в спиральный паз З, перемещает её до зацепления з шестерней, находящейся на верхнем валу коробки.

Направление руху після первого вала коробки подач в механізме подач остается неизменным.

Ускоренные переміщення осуществляются при нажатии рукоятки 8.

Поршень насоса приводятся в возвратно- поступательное рух ексцентриком 2 і пружиной насоса.





6М76П Суппорт фрезерного верстата

Суппорт фрезерного верстата 6М76П

Суппорт фрезерного верстата 6м76п

Суппорт фрезерного верстата 6М76П. Дивитись у збільшеному масштабі



Суппорт (рис.15) служит для продольного і вертикального переміщення основного стола II механически или вручную.

Приводной вал 23 получает вращение от коробки подач і передает его ходовым гвинтам 2 і 8, через которые столу сообщаются подачі.

Керування механическими подачами производится крестовой рукояткой, её направление переміщення совпадает з направлением руху суппорта. В продольном направлении механические подачі отключаются механическими упорами 6 і 15, которые могут устанавливаться на нужный размер.

Вертикальная подача отключается упорами, установленными на станине.

Стол можно перемещать і вручную маховиками 17 і 18. Перемещение стола контролируется:

Бабка фрезерна горизонтальная

Горизонтальный шпиндель 7 (рис.16) монтируется в шпиндельной бабке, осуществляющей поперечную подачу. Шпиндель получает вращение от коробки швидкостей через промежуточное зубчатое колесо, находящееся в станине, і шестерню 9, сидящую на шпинделе.

Передня опора шпинделя - двухрядный роликовый подшипник 3 з коническим отверстием.

Задня опора 8-2 шарикопідшипника. Осевые зусилля воспринимаются упорными підшипниками 4.

Инструмент в шпинделе зажимается при помощи инерционного зажиму инструмента, имеющего самостоятельный привод.

При работе цилиндрическими фрезами оправку фрезы поддерживают кронштейном 20, который можно переставлять вдоль хобота 17. Положение кронштейна фиксируют прижимом 21. Хобот в нужном положении зажимают клином.

Перемещение бабки осуществляют винтом 18 і вращающейся гайкой, закрепленной в станине. Величина механического переміщення устанавливается упорами 19.

Для точного переміщення на бабке устанавливается индикатор 22, а на плиткодержателе устанавливаются кінцівые меры.

Станина

Станина 15 (рис. 17) установлена на основании 19 і представляет собой отливку коробчатого сечения, на которой размещены основні вузли верстата, связанные между собой кинематическими звеньями.

К основанию на кронштейне 17 крепится електродвигатель, сообщающий вращение механізмам коробок швидкостей і подач. Передача обертання от коробки подач к механізмам подач стола і шпиндельной бабки осуществляется двумя цепными передачами 5 і 8-16. Ланцюги натягиваются звездочками 12.

Маховиком, расположенным в верхней частини станины, перемещают бабку фрезерную горизонтальную вручную.

Съемник для установки вертикальной головки

Съемник (рис.27) предназначен для установки вертикальной головки в рабочее і не рабочее положение. Съемник состоит из корпуса I закрепленного на станине, кронштейна 6, двух рычагов 3,4 і двух осей 2,5.

Внимание! При работе вертикальным шпинделем съемник отсоединить от вертикальной головки при помощи пальца 5.

Механізм зажиму инструмента

Механізм зажиму (рис.16; 18) состоит из шомпола 10, гайки 12, маховика 13 з собачками II і електродвигуна 16.

Вращение от електродвигуна передається на маховик. При достижении определенного момента инерции одна из собачек преодолевает усилие пружины 15 і передает вращение на гайку 12 через поводок 14. Шомпол, вкручиваясь в гайку, получает возвратно-поступательное рух і з помощью четырех шариков 5 втягивает инструмент в шпиндель з усилием до 12000 Н.

Время зажиму (отжима) инструмента 3-4 секунды. Гарантированный зажим инструмента при двух срабатываниях механізма.

Внимание! Зажим (отжим) инструмента в вертикальной головке производить в верхнем положении гильзы.





Опис конструкції приладдя

Головка фрезерна вертикальная

В вертикальной головке 25 (рис.18) смонтирован вертикальний шпиндель. Конструкція головки позволяет поворачивать её на 90° в любую сторону относительно вертикальной оси.

Вертикальное положение головки можно фиксировать рукояткой.

Стол круглый делительный

Круглый стол (рис.23) служит для выполнения различных делений по окружности в процессе деления или фрезерування. Применяется он і для угловых делений в градусах по шкале на поворотной частини при помощи лимба 7. Вместо лимба можно установить делительный диск 4 з помощью которого производится простое деление.

Червяк 2 вводится в зацепление з червячным колесом I при повороте ексцентриковой втулки 3 против часовий стрелки до упора і предварительном освобождении зажимного гвинта рукояткой 6.

После установки стол следует зажать двумя рукоятками 8.

Приспособление магнитно-зажимное поворотное

Приспособление (рис.28) предназначено для закрепления чугунных і стальных деталей і позволяет производить обработку деталей под углом в любой плоскости.

Приспособление состоит из плиты 4, поворотной частини 2, магнитной плиты I. Магнитная плита состоит из корпуса, верхней частини - зеркала, нижней частини - основания і недвижного блока, который при помощи рукоятки 3 перемещается внутри корпуса» При крайнем правом положении рукоятки магнитный поток в полюсах имеет наибольшее значение, а расположенные на зеркале детали притягиваются к нему. При крайнем левом положении рукоятки магнитный поток на поверхности зеркала снижается до нуля і детали легко снимаются з зеркала.

Установка деталей на определенный угол осуществляется по нониусам, которые расположены на поворотной частини приспособления. Приспособление базируется на Т-образный паз вертикальной плоскости основного стола і крепится двумя болтами.

Установка приладдя

Принадлежности крепятся на вертикальной поверхности основного стола, на котором имеются два паза. Базой для установки служит верхний паз или горизонтальная полка на основном столе.

Для обычных фрезерных работ применяется угловой горизонтальный стол I (рис. 19), который крепится болтами 2 к вертикальной поверхности стола.

Если нужно обработать детали под углом в любой плоскости, используется угловой універсальний стол (рис.20), который крепится к вертикальной плоскости основного стола вместо углового горизонтального.

Мелкие детали для обробки крепятся в тисках. Тиски поворачиваются в горизонтальной плоскости на 360° і могут устанавливаться как на вертикальной поверхности основного стола, так і на универсальном і круглом столах.

Для долбежных работ служит долбежная головка (рис.21). На корпусе головки имеется табличка з указанием оборотів, при которых можно работать.





Схема електрична принципова фрезерного верстата 6М76П

Схема електрична принципова фрезерного верстата 6М76П

Електрична схема фрезерного верстата 6м76п

Схема електрична фрезерного верстата 6М76П. Дивитись у збільшеному масштабі



Схема електрична принципова фрезерного верстата 6М76П

Електрична схема фрезерного верстата 6м76п

Схема електрична фрезерного верстата 6М76П. Дивитись у збільшеному масштабі


Електроустаткування фрезерного верстата 6М76П. Загальні відомості

На станке установлены електродвигатели:

Оба двигуна М3 і М4 типа СЛ-261 постоянного тока 110В, n = 3600 об/мин, Р = 0,024 кВт КЭО 005.544 ТУ.

На станке применяются наступні величины напряжения:

Согласно заказ-наряда напряжение: силовой ланцюги - 220В, 415B, 440В. Ланцюги керування - 110В, 220В. частота 60 Гц.

Для верстатів тропического исполнения применяются: електродвигатель типа 4AX90L4IIT3 електронасос типа XI4-22MT3.

Выбор робочого напряжения силовой ланцюги, местного освещения і сигнализации производит заказчик.

На станке имеется один микропереключатель, который установлен в коробке переключения швидкостей обертання шпинделя і служит для отключения двигуна M1 при изменении частоти обертання шпинделя.


Опис роботи електросхеми фрезерного верстата 6М76П

Пуск приводу обертання шпинделя осуществляется кнопкой I SВ2 і кнопкой SВЗ, посредством которой производится изменении обертання електродвигуна головного приводу M1 і соответственно изменяется направление обертання шпинделя. Над кнопками SВ2 і SВЗ укреплена табличка, указывающая на направление обертання шпинделя.

Увімкнення електронасоса М2 производится при помощи переключателя SА.

Керування електродвигуном МЗ зажиму і отжима инструмента вертикального шпинделя осуществляется кнопками SВ4 і SB5, которые производят соответствующие переключения непосредственно в якорной ланцюги і ланцюги обмотки возбуждения.

Керування електродвигуном М4 зажиму і отжима инструмента горизонтального шпинделя осуществляется кнопками SB6 і SB X

Ланцюги живлення і керування двигунами МЗ і М4 осуществляется от выпрямительного моста, выполненного на 4-х диодах типа Д243А. В ланцюги увімкнення выпрямительного блока VI ... V4 предусмотрена блокировка, запрещающая увімкнення двигателей МЗ і М при работе двигуна Ml шпинделя і подачі.

Увімкнення местного освещения производится выключателем, который непосредственно входит в светильник EL.

При необходимости останов двигуна M1 производится кнопкой SBI "Загальний стоп".

Конечный выключатель SQI (микропереключатель) отключает главный привід при переключении швидкостей в коробке швидкостей.

При подаче напряжения в схему верстата автоматом SF зажигается лампа белого цвета HLI "Верстат включен".

Захист от токов короткого замыкания в силових цепях осуществляется автоматическим выключателем максимального тока SF, в цепях местного освещения - плавким предохранителем FUI.

Захист електродвигателей Ml і М2 от перегрузки осуществляется тепловыми реле KKI і КК2.

При установці верстат должен быть надежно заземлен і подключен к общей системе заземления. Для етой цели на електрошкафе і на задньої стенке основания верстата имеются винты заземления.


Первоначальный пуск фрезерного верстата 6М76П

При первоначальном пуске верстата необходимо подключить електрошкаф к питающей сети при помощи вводного кабеля, имеющего заземляющую жилу. Затем необходимо проверить надежность заземления і качество монтажа електроустаткування внешним осмотром. После осмотра на клеммном наборе отключить провода живлення всех електродвигателей. При помощи автоматичного выключателя верстат подключить к цеховой сети. При помощи кнопок I і переключателей проверить четкость срабатывания магнитных пускачів,,

Внимание! При подключении верстата к цеховой сети проверить соответствие направления обертання шпинделя.





Технічні характеристики фрезерного верстата 6М76П

Наименование параметра 676П 6М76П
Основні параметри Класс точності по ГОСТ 8-82 П П Розміри горизонтального (углового) стола, мм 250 х 800 250 х 800 Розміри вертикального стола, мм 250 х 630 250 х 630 Максимальная масса обрабатываемой детали, кг 100 Расстояние от оси горизонтального шпинделя до рабочей поверхности горизонтального стола, мм 80..460 80..430 Расстояние от торца вертикального шпинделя до рабочей поверхности горизонтального стола, мм 0..380 0..370 Вылет оси вертикального шпинделя, мм 125..375 125..375 Наибольший продольный ход стола (X), мм 400 400 Наибольший поперечний ход шпиндельной бабки вертикального шпинделя (Y), мм 250 250 Наибольший вертикальний ход стола (Z), мм 380 380 Вертикальный і горизонтальный шпиндели Частота обертання горизонтального шпинделя, об/мин 50..1630 50..1630 Частота обертання вертикального шпинделя, об/мин 63..2040 63..2040 Количество швидкостей горизонтального і вертикального шпинделя 16 16 Цена деления лимбов, мм 0,05 0,05 Цена деления линеек, мм 1,0 1,0 Конус горизонтального і вертикального шпинделей Морзе 4 Морзе 4 Пределы подач шпиндельной бабки, мм/мин 13..395 13..395 Количество подач шпиндельной бабки 16 16 Ускоренный ход шпиндельной бабки, м/мин 0,9 0,93 Максимальное усилие подачі бабки, Н Максимальный допустимый крутящий момент на шпинделе горизонтальном/ вертикальном, Нм Зажим-отжим инструмента Ручной Механиз Торможение шпинделя нет Усилие зажиму инструмента, Н 1000 Вертикальная фрезерна головка Наибольшее осевое перемещение гильзы вертикального шпинделя, мм 60 60 Наибольший угол поворота вертикальной головки в вертикальной плоскости, градус ±90 ±90 Масса вертикальной фрезерной головки, кг 55 Стол угловой горизонтальный Количество подач стола в продольном і вертикальном направлении 16 16 Пределы продольных і вертикальних подач стола (X. Y), мм/мин 13..395 13..395 Ускоренный ход стола в продольном і вертикальном направлении, м/мин 0,935 0,935 Максимальное усилие подачі стола, Н Число Т - образных пазов 5 5 Масса углового горизонтального стола 65 Угловой універсальний стол Розміри горизонтального універсального стола, мм 200 х 630 200 х 630 Наибольший угол поворота в горизонтальной плоскости, град ±20° ±20° Наклон длинной стороны, град ±45° ±45° Наклон короткой стороны, град ±30° ±30° Масса углового горизонтального стола 55 Привід і електрообладнання верстата Количество електродвигателей на станке 2 4 Електродвигун головного привода, кВт 2,2 2,2 Електродвигун зажиму инструмента вертикального шпинделя, кВт - 0,24 Електродвигун зажиму инструмента горизонтального шпинделя, кВт - 0,24 Електродвигун приводу насоса охлаждения, кВт 0,12 0,12 Суммарная мощность електродвигателей, кВт 2,32 2,56 Габарити і масса верстата Габарити верстата (длина х ширина х высота), мм 1282 х 1215 х 1780 1350 х 1230 х 2060 Масса верстата, кг 910 1160

    Список литературы:

  1. Инструментальный широкоуніверсальний фрезерный верстат підвищеної точності 6М76П. Руководство по експлуатации 6М76П.00.000 РЭ, 1984

  2. Аврутин С.В. Основы фрезерного дела, 1962
  3. Аврутин С.В. Фрезерне дело, 1963
  4. Ачеркан Н.С. Металлорежущие верстати, Том 1, 1965
  5. Барбашов Ф.А. Фрезерне дело 1973
  6. Барбашов Ф.А. Фрезерные роботи (Профтехобразование), 1986
  7. Блюмберг В.А. Справочник фрезеровщика, 1984
  8. Григорьев С.П. Практика координатно-расточных і фрезерных работ, 1980
  9. Копылов Р.Б. Работа на фрезерных верстатах, 1971
  10. Косовский В.Л. Справочник молодого фрезеровщика, 1992
  11. Кувшинский В.В. Фрезерование,1977
  12. Ничков А.Г. Фрезерные верстати (Библиотека станочника), 1977
  13. Пикус М.Ю. Справочник слесаря по ремонту металлорежущих верстатів, 1987
  14. Плотицын В.Г. Расчёты настроек і наладок фрезерных верстатів, 1969
  15. Плотицын В.Г. Наладка фрезерных верстатів,1975
  16. Рябов С.А. Современные фрезерные верстати і их оснастка, 2006
  17. Схиртладзе А.Г., Новиков В.Ю. Технологическое обладнання машиностроительных производств, 1980
  18. Тепинкичиев В.К. Металлорежущие верстати, 1973
  19. Чернов Н.Н. Металлорежущие верстати, 1988
  20. Френкель С.Ш. Справочник молодого фрезеровщика (3-е изд.) (Профтехобразование), 1978








Заказать