metalinstryment.com
Довідник по металорізальних верстатів та пресовому обладнанні

679 Верстат фрезерный инструментальный широкоуніверсальний
схеми, опис, характеристики

Універсальный фрезерный верстат 679







Відомості про виробника фрезерного широкоуніверсального верстата 679

Фрезерный широкоуніверсальний инструментальный верстат 679 выпускался предприятиями:





Верстати, выпускаемые предприятием - Иркутский станкостроительный завод, ИСЗ


679 Верстат инструментальный фрезерный широкоуніверсальний. Назначение і область применения

Фрезерный верстат 679 разработан в 1949 году Одесским заводом фрезерных верстатів, ЗФС. За основу был взят фрезерный верстат немецкой фирмы Deckel - FP1. Верстат 679 был заменен на более совершенную модель 675.

Універсально-фрезерный верстат моделі 679 отличается от общеизвестных консольных горизонтальных либо вертикальних фрезерных верстатів — широкой универсальностью і підвищеної точностью. Эти отличия обуславливают целесообразность использования верстата головним образом в инструментальных і ремонтных цехах машиностроительных предприятий.

Инструментальный универсально-фрезерный верстат модель 679 предназначен как для горизонтального фрезерування изделий цилиндрическими, дисковыми, фасонными і другими фрезами, так і для вертикального і наклонного фрезерування.

На станке возможно выполнение разнообразных фрезерных работ, а также расточных, сверлильных, разметочных і других операций в условиях индивидуального і мелкосерийного производства.

Принцип роботи і особливості конструкції верстата 679

Наличие большого количества пристосувань і вспомогательного инструмента, прилагаемых к верстату, обеспечивает возможность обробки деталей сложной конфигурации з високою точностью.

Технічна характеристика верстата 679, широкий ряд оборотів і подач, наличие механических движений подачі — обуславливают економичную обработку различных деталей, за счет применения высоких режимов різання і снижения вспомогательного часу.

Наличие горизонтального шпинделя і поворотного вертикального шпинделя, а также ряда прилагаемых к верстату пристосувань (углового універсального стола, делительной головки, круглого делительного стола, горизонтального стола і др.) делают верстат широко универсальным і весьма удобным при изготовлении пристосувань, инструментов, штампов, прессформ і прочих изделий.

Большим преимуществом верстата 679 является возможность обробки детали з одной установки под разными углами, как горизонтальным, так і вертикальным шпинделями.

Розміри обрабатываемых поверхностей деталей определены в основних паспортных данных верстата. К верстату приложены за отдельную плату, не входящую в стоимость верстата:

1. Долбёжная, головка, позволяющая производить долбёжные роботи под любым углом в пределах ± 45° относительно вертикальной оси.


Основні характеристики фрезерного широкоуніверсального верстата 679

Разработчик: Одесский завод фрезерных верстатів, ЗФС

Производитель: Одесский завод фрезерных верстатів, ЗФС или Иркутский механический (станкостроительный) завод, ИМЗ.

Фрезерный верстат 679 производился з 1949 года по ГОСТ 154-41, 155-41.





679 Габаритные розміри робочого простору фрезерного верстата

Габаритные розміри робочого простору і присоединительные базы фрезерного верстата 679

Габаритные розміри робочого простору фрезерного верстата 679


679 Посадочные і присоединительные базы фрезерного верстата

Посадочные і присоединительные базы фрезерного верстата 679

Посадочные і присоединительные базы фрезерного верстата 679


Загальний вигляд фрезерного верстата 679

Загальний вигляд  фрезерного верстата 679

Фото фрезерного верстата 679


Фото фрезерного верстата 679

Фото фрезерного верстата 679


Фото фрезерного верстата 679

Фото фрезерного верстата 679


Фото фрезерного верстата 679

Фото фрезерного верстата 679


Фото фрезерного верстата Deckel FP1

Фото фрезерного верстата Deckel FP1


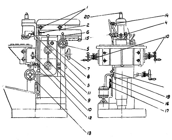
Розташування складових частин фрезерного верстата 679

Розташування складових частин консольно фрезерного верстата 679

Розташування складових частин фрезерного верстата 679


Список складових частин широкоуніверсального фрезерного верстата 679

  1. Станина
  2. Коробка швидкостей
  3. Коробка подач
  4. Корпус суппорта
  5. Корпус горизонтального шпинделя
  6. Вертикальная головка
  7. Горизонтальный стол

По горизонтальным направляющим на торце станины перемещается корпус горизонтального шпинделя (5).

Вертикальная головка (6) устанавливается і крепится к переднему торцу корпуса горизонтальной бабки. Этот узел съемный і устанавливается на станке только при необходимости производить обработку деталей вертикальным шпинделем.

По вертикальным направляющим станины перемещается корпус суппорта (4), а по горизонтальным направляющим суппорта — салазки.

Вертикальная плоскость салазок является основной базовой рабочей поверхностью, на которую, в зависимости от выполняемой роботи, устанавливаются обрабатываемые детали или прилагаемые к верстату принадлежности для их крепления.

В вертикальной базовой плоскости салазок може крепиться горизонтальный стол (7), предназначенный для установки обрабатываемых изделий на его горизонтальной плоскости.

Для обробки наклонно расположенных плоскостей вместо горизонтального стола може крепиться угловой універсальний стол.

Для делительных работ служат делительная головка і делительный круглый стол, которые устанавливаются на базовой плоскости.





Розташування органів керування фрезерным верстатом 679

Розташування органів керування фрезерным верстатом 679Р, 679Ф1, 679Ф2

Розташування органів керування фрезерным верстатом 679

Розташування органів керування фрезерным верстатом 679. Дивитись у збільшеному масштабі



Список органів керування фрезерным верстатом 679

  1. Зажим хобота горизонтальной бабки
  2. Зажим вертикальной головки
  3. Ручная подача вертикального шпинделя
  4. Зажим реечной гильзы вертикального шпинделя
  5. Ручная подача горизонтальной бабки
  6. Механическая подача горизонтальной бабки
  7. Ручное вращение шпинделя
  8. Переключення швидкостей
  9. Переключення подач
  10. Ручная продольная подача стола
  11. Пуск і зупинка головного двигуна
  12. Механические подачі стола (вертикальная і продольная)
  13. Ручная вертикальная подача стола
  14. Зажим трубки системы охлаждения
  15. Зажим горизонтальной бабки
  16. Увімкнення насоса охлаждения
  17. Увімкнення головного двигуна
  18. Зажим стола от горизонтального переміщення
  19. Зажим стола от вертикального переміщення
  20. Зажим конусов инструментов і патронов




679 Схема кінематична фрезерного верстата

Схема кінематична фрезерного верстата 679

Кінематична схема фрезерного верстата 679

1. Схема кінематична фрезерного верстата 679. Дивитись у збільшеному масштабі

2. Схема кінематична фрезерного верстата 679. Дивитись у збільшеному масштабі

3. Схема кінематична фрезерного верстата 679. Дивитись у збільшеному масштабі



Пристрій і робота фрезерного верстата 679

Кінематична схема (рис. 7) верстата состоит из следующих ланцюгів:


Ланцюг головного руху фрезерного верстата 679

От електродвигуна, мощностью 2,8 кВт, рух передається на вал 1 клинноременной передачей. От вала I через шестерни коробки швидкостей, сидящих на валах II і III, зубчатое колесо 56, сидящее на валу IV, через зубчатое колесо 47 передається вращение горизонтальному шпинделю V.

Вертикальный шпиндель VII получает вращение от вала V через коническую пару 41,42, вал VI і цилиндрическую пару 43,44. Осевое перемещение вертикального шпинделя осуществляется рукояткой реечной шестерни (46), перемещающей гильзу з рейкой (45) вручную.

Различное положение двойных зубчатых колес коробки швидкостей (1—2; 3—4; 10—11) позволяет сообщить восемь различных чисел оборотів (см. таблицу 1) горизонтальному шпинделю (от 110 до 1230 об/мин.) і восемь чисел оборотів (см. таблицу 2) вертикальному шпинделю (от 150 до 1660 об/мин.).

Приведенные в таблицах 1 і 2 числа оборотів составляют стандартный ряд; отклонения фактических значений чисел оборотів от стандартного ряда колеблются в пределах 5%.


Ланцюг подач фрезерного верстата 679

Привід подач верстата устроен следующим образом.

Механические переміщення стола осуществляются механізмом подач, получающим вращение от вала 1 коробки швидкостей через цилиндрические зубчасті колеса 12; 15; 16; 17 і коробку подач.

От вала XI через цепную передачу 58; 59 вращение передається валу XII, конической паре 60; 61, вертикальному валу XIII.

Зубчасті колеса 33; 34 передают вращение свободно сидящим колесам 31 і 35, а через колесо 30—зубчатым колесам 29 і 32.

Продольное механическое перемещение стола осуществляется включением муфты вала XV з муфтой зубчатого колеса 31 (перемещение влево) —и з муфтой колеса 32 — (перемещение вправо). Через коническую пару 27; 28 вращение сообщается винту продольного ходу XVI.

Ручное продольное перемещение стола осуществляется двумя рукоятками, сидящими на концах гвинта XVI.

Вертикальное механическое перемещение суппорта со столом вверх производится включением муфты гвинта XIV з муфтой шестерни 29, а вниз — з муфтой шестерни 35.

Ручное вертикальное перемещение суппорта осуществляется маховичком, сидящим на валу XVII через коническую пару 37; 36 і вертикальным винтом XIV.

Поперечное механическое перемещение горизонтальной бабки, заменяющее обычно принятое в фрезерных верстатах поперечное Перемещение стола по консоли, осуществляется следующим образом: от вала XI коробки подач через цепную передачу 57; 53 вращение передається валу XVIII, на котором свободно сидят конические зубчасті колеса 52, 54.

Увімкненням муфты вала XVIII з муфтой колеса 54 вращение передається цилиндрической зубчатой паре 50; 51 і гайке 49. При етом горизонтальная бабка, несущая винт 48, перемещается вперед (к рабочему столу). При включении муфты вала XVIII з муфтой колеса 52 горизонтальной бабке сообщается рух в обратную сторону.

Ручное перемещение горизонтальной бабки производится Маховичком, сидящим на валу XIX.

В зависимости от произведенных переключений двойных зубчатых колес 13—14; 18—19; 20—21 валу XI можно сообщить восемь разных чисел оборотів. В результате получаем восемь продольных подач (см. таблицу 3), восемь вертикальних подач (см. таблицу 4) і восемь поперечных подач (см. таблицу 5).

Подачи выражаются значениями стандартного ряда. Отклонение фактических величин минутных подач от стандартных значений колеблется, как і для чисел оборотів шпинделей, в пределах 5 %.


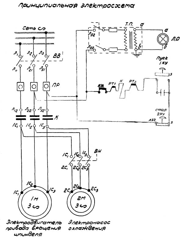
Схема електрична принципова фрезерного верстата 679

Схема електрична принципова фрезерного верстата 679




679 Верстат фрезерный широкоуніверсальний. Відеоролик.



Технічні характеристики фрезерного верстата 679

Наименование параметра 679 676П 6М76П
Основні параметри Класс точності по ГОСТ 8-82 Н П П Розміри горизонтального (углового) стола, мм 270 х 700 250 х 800 250 х 800 Розміри вертикального стола, мм 260 х 710 250 х 630 250 х 630 Максимальная масса обрабатываемой детали, кг 100 Расстояние от оси горизонтального шпинделя до рабочей поверхности горизонтального стола, мм 30..360 80..460 80..430 Расстояние от торца вертикального шпинделя до рабочей поверхности горизонтального стола, мм 0..265 0..380 0..370 Вылет оси вертикального шпинделя, мм 155..355 125..375 125..375 Наибольший продольный ход стола (X), мм 300 400 400 Наибольший поперечний ход шпиндельной (горизонтальной) бабки вертикального шпинделя (Y), мм 200 250 250 Наибольший вертикальний ход стола (Z), мм 330 380 380 Вертикальный і горизонтальный шпиндели Частота обертання горизонтального шпинделя, об/мин 110..1230 50..1630 50..1630 Частота обертання вертикального шпинделя, об/мин 150..1660 63..2040 63..2040 Количество швидкостей горизонтального і вертикального шпинделя 8 16 16 Цена деления лимбов, мм 0,05 0,05 0,05 Цена деления линеек, мм 1,0 1,0 1,0 Конус горизонтального і вертикального шпинделей Морзе 4 Морзе 4 Морзе 4 Пределы подач горизонтальной шпиндельной бабки, мм/мин 25..285 13..395 13..395 Количество подач шпиндельной бабки 8 16 16 Ускоренный ход шпиндельной бабки, м/мин нет 0,9 0,93 Зажим-отжим инструмента Ручной Ручной Механиз Торможение шпинделя нет нет Вертикальная фрезерна головка Наибольшее осевое перемещение гильзы вертикального шпинделя, мм 80 60 60 Наибольший угол поворота вертикальной головки в вертикальной плоскости, градус ±45 ±90 ±90 Масса вертикальной фрезерной головки, кг 55 Стол угловой горизонтальный Количество подач стола в продольном і вертикальном направлении 8 16 16 Пределы продольных і вертикальних подач стола (X, Y), мм/мин 25..285 13..395 13..395 Ускоренный ход стола в продольном і вертикальном направлении, м/мин нет 0,935 0,935 Число Т - образных пазов 5 5 Масса углового горизонтального стола 65 Угловой універсальний стол Розміри горизонтального універсального стола, мм 250 х 600 200 х 630 200 х 630 Наибольший угол поворота в горизонтальной плоскости, град ±30° ±20° ±20° Наклон длинной стороны, град ±45° ±45° ±45° Наклон короткой стороны, град ±30° ±30° ±30° Масса углового горизонтального стола нет 55 Привід і електрообладнання верстата Количество електродвигателей на станке 2 2 4 Електродвигун головного привода, кВт (об/мин) 2,8 (1420) 2,2 2,2 Електродвигун зажиму инструмента вертикального шпинделя, кВт - 0,24 Електродвигун зажиму инструмента горизонтального шпинделя, кВт - 0,24 Електродвигун приводу насоса охлаждения, кВт 0,12 0,12 Суммарная мощность електродвигателей, кВт 2,32 2,56 Габарити і масса верстата Габарити верстата (длина х ширина х высота), мм 1150 х 1400 х 1650 1282 х 1215 х 1780 1350 х 1230 х 2060 Масса верстата полная, кг 1190 910 1160

    Список литературы:

  1. Паспорт і руководство по обслуговування инструментального универсально-фрезерного верстата тип 679, Одесса, 1955
  2. Паспорт і руководство по обслуговування инструментального универсально-фрезерного верстата тип 679, Иркутск, 1961

  3. Аврутин С.В. Основы фрезерного дела, 1962
  4. Аврутин С.В. Фрезерне дело, 1963
  5. Ачеркан Н.С. Металлорежущие верстати, Том 1, 1965
  6. Барбашов Ф.А. Фрезерне дело 1973
  7. Барбашов Ф.А. Фрезерные роботи (Профтехобразование), 1986
  8. Блюмберг В.А. Справочник фрезеровщика, 1984
  9. Григорьев С.П. Практика координатно-расточных і фрезерных работ, 1980
  10. Копылов Р.Б. Работа на фрезерных верстатах,1971
  11. Косовский В.Л. Справочник молодого фрезеровщика, 1992
  12. Кувшинский В.В. Фрезерование,1977
  13. Ничков А.Г. Фрезерные верстати (Библиотека станочника), 1977
  14. Пикус М.Ю. Справочник слесаря по ремонту металлорежущих верстатів, 1987
  15. Плотицын В.Г. Расчёты настроек і наладок фрезерных верстатів, 1969
  16. Плотицын В.Г. Наладка фрезерных верстатів,1975
  17. Рябов С.А. Современные фрезерные верстати і их оснастка, 2006
  18. Схиртладзе А.Г., Новиков В.Ю. Технологическое обладнання машиностроительных производств, 1980
  19. Тепинкичиев В.К. Металлорежущие верстати, 1973
  20. Чернов Н.Н. Металлорежущие верстати, 1988
  21. Френкель С.Ш. Справочник молодого фрезеровщика (3-е изд.) (Профтехобразование), 1978








Заказать