metalinstryment.com
Довідник по металорізальних верстатів та пресовому обладнанні

676П Верстат инструментальный фрезерный універсальний
схеми, опис, характеристики

676П Верстат инструментальный фрезерный універсальний







Відомості про виробника фрезерного широкоуніверсального верстата 676П

Фрезерный широкоуніверсальний инструментальный верстат 676П выпускался предприятием - Вильнюсский станкостроительный завод "Комунарас" і Иркутский станкостроительный завод.

Литовский станкозавод «Комунарас» основан в 1959 году, начав з производства настольно сверлильных і универсальных фрезерных верстатів моделі 675.

После распада СССР - завод стал называться AB Vingriai (АО Вингряй). В 1998 году компания АО Вингряй объединилась з Вильнюсским заводом шлифовальных верстатів Шлифавимо стаклес, производящим универсальные круглошлифовальные верстати.





Верстати, выпускаемые предприятием - Иркутский станкостроительный завод, ИСЗ


676П Верстат инструментальный фрезерный широкоуніверсальний підвищеної точності. Назначение і область применения

Фрезерный широкоуніверсальний верстат 676П предназначен для фрезерування деталей цилиндрическими, дисковыми і фасонными фрезами при помощи горизонтального шпинделя, і торцовыми, кінцівыми і шпоночными фрезами при помощи поворотного вертикального шпинделя.

На станке 676П можно выполнять ряд фрезерных і расточных работ з високою точностью, которая може быть достигнута, если верстат установлен в помещении з постоянной температурой 20±2°С і влажностью 65±5%, если вблизи верстата нет источников тепла і вибрации. На станке можно выполнять, также, сверление і рассверливание, долбление, центрование, цекование, зенкерование, развертывание, растачивание.

Особливості конструкції і принцип роботи верстата 676П

Наличие двух шпинделей горизонтального і поворотного вертикального, а также большого количества приладдя к верстату, делает его широкоуниверсальным і удобным для роботи в инструментальных цехах машиностроительных заводов при изготовлении пристосувань, инструмента, рельефных штампов і прочих изделий.

Широкий диапазон оборотів шпинделя і подач, наличие механических подач і быстрых перемещений обеспечивают економичную обработку различных деталей в оптимальных режимах.

Фрезерный широкоуніверсальний верстат 676П применяется в единичном і мелкосерийном производстве в инструментальных і механических цехах машиностроительных предприятий.

Класс точності верстата 676П - П по ГОСТ 8—71.

Климатическое виконання і категория розміщення верстата по ГОСТ 15150—69 УХЛ категория 4, для роботи при температуре 5—40° С. Высота над уровнем моря до 1000 м.

Конструктивные і експлуатационные особливості верстата 676П:

Рациональное построение головного приводу з короткой кінематичної ланцюгю (на 12 верхних ступенях участвуют две передачи, а на шести нижних — три передачи) способствует повышению его КПД і снижению шума.

Нижнее крепление гвинта вертикального переміщення обеспечивает ход 450 мм при относительно малой высоте верстата.

Поворотный маховик вертикального переміщення улучшает ергономику і расширяет технологические возможности.

Верстат 676П оснащен большим количеством приладдя, расширяющих технологические возможности верстата. Основні из них:

Преимущества использования широкоуніверсального фрезерного верстата 676П:


Універсальный прецизионный фрезерный верстат 676П

Разработчик фрезерного верстата 676Π — Вильнюсский станкостроительный завод «Комунарас».

Серийно производили верстат два предприятия - Вильнюсский станкостроительный завод "Комунарас" і Иркутский станкостроительный завод.

Начало серийного производства 1970-е годы. Верстат предназначался для разовых і небольших серийных работ.

По всей видимости, верстат 676Π был сконструирован на базе польского верстата Fnc 25 производства предприятия Fabryka Obrabiarek Precyzyinych (также известной как "Polamco" і "Avia") - Польша.

Верстат Fnc 25 разработан з использованием решений, заимствованных из классических моделей Deckel, Maho і Thiel, а также нес некоторое сходство в компоновке его головного вузла з чехословацкими TOS FN40 і TOS FN32.

В дальнейшем, Иркутский станкостроительный завод перешел на призводство более совершенного верстата 6М76П, а завод "Комунарас" перешел на производство серии фрезерных верстатів 67К25, которые производил до своего закрытия.


Аналоги універсального фрезерного верстата 676П




Габаритные розміри робочого простору фрезерного верстата 676П

Габаритные розміри робочого простору фрезерного верстата 676П

Габаритные розміри робочого простору верстата 676П


Посадочные і присоединительные базы фрезерного верстата 676П

Посадочные і присоединительные базы верстата 676П

Посадочные і присоединительные базы верстата 676П


Загальний вигляд фрезерного верстата 676П

Загальний вигляд  фрезерного верстата 676П

Фото універсального фрезерного верстата 676П


Фото універсального фрезерного верстата 676П

Фото універсального фрезерного верстата 676П


Фото універсального фрезерного верстата 676П

Фото універсального фрезерного верстата 676П


Фото універсального фрезерного верстата 676П

Фото універсального фрезерного верстата 676П


Загальний вигляд  фрезерного верстата 676П

Фото універсального фрезерного верстата 676П

Фото універсального фрезерного верстата 676П. Скачать в увеличенном масштабе




Розташування складових частин консольно-фрезерного верстата 676П

Розташування складових частин консольно фрезерного верстата 676П

Розташування складових частин фрезерного верстата 676П

Список складових частин широкоуніверсального фрезерного верстата 676П

Список съемных частин і приладдя фрезерного верстата 676П


Розташування органів керування консольно-фрезерным верстатом 676П

Розташування органів керування фрезерным верстатом 676ППР, 676ПФ1, 676ПФ2

Розташування органів керування фрезерным верстатом 676П

Список органів керування консольно-фрезерным верстатом 676П





Схема кінематична фрезерного верстата 676П

Схема кінематична фрезерного верстата 676П

Кінематична схема фрезерного верстата 676П

Ланцюг головного руху

От електродвигуна 1 мощностью 2,2 кВт рух передається на вал 1 при помощи клиноременной передачи 2—3. От вала 1 через коробку швидкостей вращение передається барабанной шестерне 20, затем на вал горизонтального шпинделя VI.

Вал вертикального шпинделя VIII получает вращение от вала VI через коническую 22—23 і цилиндрическую 24—25 пары.

Различные положения блоков шестерен коробки швидкостей (7-6, 5—4, 14—15, 19—18) позволяют сообщать горизонтальному і вертикальному шпинделям шестнадцать различных швидкостей.

Ланцюг подач

Все подачі верстата (стола в вертикальном і продольном направлениях, шпиндельной бабки в поперечном направлении) осуществляются механически і вручную. Кроме того, для всех направлений предусмотрено ускоренное перемещение.

Самостоятельного приводу подач в станке нет. Механізми подач получают вращение от головного приводу (вал 1 коробки швидкостей) через коробку подач. С післяднего вала коробки подач XIII при помощи цепных передач 50—62, 51—53 вращение передається механізмам подач стола і шпиндельной бабки.

Вертикальные подачі стола осуществляются следующим образом: от вала XVII через коническую пару 63—64 получает вращение вал XVIII. На винт XXIII вертикального переміщення прямое вращение передається через шестерни 65—77, а обратное - через шестерни 74—75—76. Так как винт закреплен в суппорте, стол получает перемещение вверх или вниз.

Ручное вертикальное перемещение осуществляется маховиком, сидящим на валу XXV, через конические пары 80—81 і 78—79. Продольные подачі влево і вправо осуществляются переключением муфты на валу XIX, при етом вращение передається через шестерни 66—65 і 74—75—67 на вал XIX, через коническую пару 68—69 на вал XX, а затем через шестерни 70—71 на вал гвинта XXI.

В случае переключения муфты на валу XIV механізм поперечної подачі шпиндельной бабки сообщает прямое или обратное вращение гайке 59, связанной з винтом поперечної подачі, причем шпиндельна бабка перемещается вперед или назад.

Вручную шпиндельна бабка перемещается маховиком з помощью конической пары 55—56 или 56—57.

Ускоренные переміщення осуществляются сцеплением муфты на валу XVII з муфтой цилиндрического колеса 49. Таблицы механізмов головного руху і подач приведены в табл. 5 і 6.


Суппорт фрезерного верстата 676П

Суппорт фрезерного верстата 676П

Суппорт фрезерного верстата 676П


Особливості разборки і сборки верстата 676П при ремонтi

Периодически, в соответствии з графиком планово-предупредительных ремонтов, верстат необходимо разбирать для текущего, среднего і капитального ремонтов в следующем порядке:

  1. отключить верстат от електросети;
  2. снять принадлежности (вертикальную головку, стол і др.)
  3. снять хобот шпиндельной бабки;
  4. вывести шпиндельную бабку из своих направляючих, для чего:
  5. снять маховик 7 (рис. 9), а затем задний кожух 6, приводные клиновые ремни і ланцюги, освободив для етого натяжные звездочки 12;
  6. демонтировать вал приводу коробки швидкостей, создавая етим возможность для свободного снятия коробки швидкостей, а затем вал, связанный з коробкой подач;
  7. извлечь из станины коробку швидкостей, предварительно сняв винты і штифты крепления фланца коробки;
  8. снять крышку на станине со стороны, противоположной стороне крепления коробки подач, отделить насос от корпуса коробки, а затем, освободив крепежные винты і штифты, вынуть коробку подач;
  9. разобрать основной рабочий стол (рис. 7), для чего:
  10. снять супорт со станины, освободив клин 23 (рис. 7) вращением маховика 18, поднять супорт вверх до выхода гвинта 2 из ходовой гайки. Суппорт снимать со станины подъемником.
  11. Систему охлаждения і електрообладнання снимать по мере надобности.

Дальнейшую разборку вузлів следует производить по чертежам общих видов вузлів, приведенным в руководстве.

Разобранные детали следует тщательно промыть керосином или уайт-спиритом і насухо протереть. На невращающихся втулках необходимо сделать метки, определяющие их положение до разборки. Это обеспечит их соосность.

Сборку після ремонта нужно производить в порядке, обратном разборке.

При сборке следует обратить внимание на регулювання підшибників качения (избегать излишних натягов, способных вызвать перегрев підшибників). При капитальных ремонтах, шлифовании или шабровке направляючих нужно помнить, что правильное положение ходовых винтов определяется компенсаторами, толщина которых устанавливается в процессе сборки.


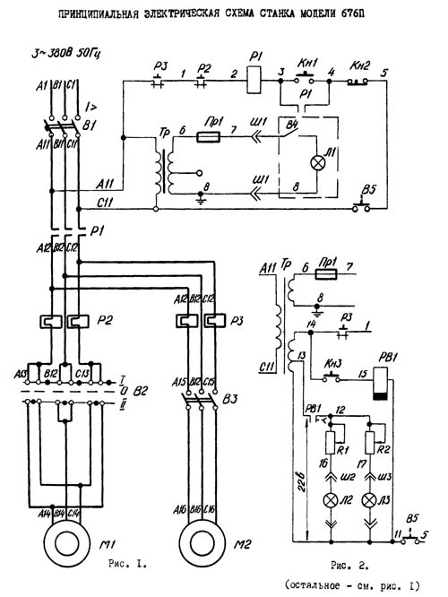
Схема електрична фрезерного верстата 676П

Схема електрична фрезерного верстата 676П

Електрична схема фрезерного верстата 676П


Список елементів схеми електрической фрезерного верстата 676П

Список елементів схеми електрической верстата 676П фрезерного верстата 676П

Список елементів схеми електрической фрезерного верстата 676П. Дивитись у збільшеному масштабі






676П Верстат фрезерный широкоуніверсальний. Відеоролик.







Технічні характеристики фрезерного верстата 676П

Наименование параметра 676П 67К25ПР
Основні параметри Класс точності по ГОСТ 8-82 П П Розміри горизонтального (углового) стола, мм 250 х 800 320 х 800 Розміри вертикального стола, мм 250 х 630 250 х 630 Максимальная масса обрабатываемой детали, кг 100 350 Расстояние от оси горизонтального шпинделя до рабочей поверхности горизонтального стола, мм 80..460 45..595 Расстояние от торца вертикального шпинделя до рабочей поверхности горизонтального стола, мм 0..380 10..490 Вылет оси вертикального шпинделя, мм 125..375 165..485 Наибольший продольный ход стола (X), мм 400 400 Наибольший ход шпиндельной бабки вертикального шпинделя (Y), мм 250 320 Наибольший вертикальний ход стола (Z), мм 380 450 Вертикальный і горизонтальный шпиндели Частота обертання горизонтального шпинделя, об/мин 50..1630 40..2000 Частота обертання вертикального шпинделя, об/мин 63..2040 40..2000 Количество швидкостей шпинделя 16 18 Цена деления лимбов, мм 0,05 0,02 Цена деления линеек, мм 1,0 Конус горизонтального і вертикального шпинделей Морзе 4 Пределы подач шпиндельной бабки, мм/мин 13..395 10..1000 Количество подач шпиндельной бабки 16 б/с Ускоренный ход шпиндельной бабки, м/мин 0,9 Максимальное усилие подачі бабки, Н 9500 Максимальный допустимый крутящий момент на шпинделе горизонтальном/ вертикальном, Нм 230/ 82 Зажим-отжим инструмента Ручной Механиз Торможение шпинделя нет Вертикальная фрезерна головка Наибольшее осевое перемещение вертикального шпинделя, мм 60 60 Наибольший угол поворота вертикальной головки в вертикальной плоскости, градус ±90 ±90 Масса вертикальной фрезерной головки, кг 70 Угловой горизонтальный стол Количество подач стола в продольном і вертикальном направлении 16 б/с Пределы продольных і вертикальних подач стола (X. Y), мм/мин 13..395 10..1000 Ускоренный ход стола в продольном і вертикальном направлении, мм/мин 935 1800 Максимальное усилие подачі стола, Н 9500 Число Т - образных пазов 5 5 Масса углового горизонтального стола 105 Угловой універсальний стол Розміри горизонтального універсального стола, мм 200 х 630 200 х 630 Наибольший угол поворота в горизонтальной плоскости, град ±20 ±20 Наклон длинной стороны, град ±45 ±45 Наклон короткой стороны, град ±30 ±30 Масса углового горизонтального стола 55 Стол круглый горизонтально-вертикальний Диаметр планшайби стола, мм 250 250 Габаритные розміри, мм 345 х 330 х 110 338 х 485 х 140 Масса круглого стола 60 Привід і електрообладнання верстата Количество електродвигателей на станке 2 4 Електродвигун головного привода, кВт 2,2 3 Електродвигун приводу подач, кВт - 1,3 Електродвигун змазки і зажиму инструмента, кВт - 0,55 Електродвигун приводу насоса охлаждения, кВт 0,12 0,12 Суммарная мощность електродвигателей, кВт 2,32 4,97 Габарити і масса верстата Габарити верстата (длина х ширина х высота), мм 1282 х 1215 х 1780 1685 х 1655 х 1865 Масса верстата, кг 910 1350

    Список литературы:

  1. Инструментальный широкоуніверсальний фрезерный верстат підвищеної точності моделі 676п. Руководство 676П.00.000. Вильнюс, 1975

  2. Аврутин С.В. Основы фрезерного дела, 1962
  3. Аврутин С.В. Фрезерне дело, 1963
  4. Ачеркан Н.С. Металлорежущие верстати, Том 1, 1965
  5. Барбашов Ф.А. Фрезерне дело 1973, с.141
  6. Барбашов Ф.А. Фрезерные роботи (Профтехобразование), 1986
  7. Блюмберг В.А. Справочник фрезеровщика, 1984
  8. Григорьев С.П. Практика координатно-расточных і фрезерных работ, 1980
  9. Копылов Р.Б. Работа на фрезерных верстатах,1971
  10. Косовский В.Л. Справочник молодого фрезеровщика, 1992, с.180
  11. Кувшинский В.В. Фрезерование,1977
  12. Ничков А.Г. Фрезерные верстати (Библиотека станочника), 1977
  13. Пикус М.Ю. Справочник слесаря по ремонту металлорежущих верстатів, 1987
  14. Плотицын В.Г. Расчёты настроек і наладок фрезерных верстатів, 1969
  15. Плотицын В.Г. Наладка фрезерных верстатів,1975
  16. Рябов С.А. Современные фрезерные верстати і их оснастка, 2006
  17. Схиртладзе А.Г., Новиков В.Ю. Технологическое обладнання машиностроительных производств, 1980
  18. Тепинкичиев В.К. Металлорежущие верстати, 1973
  19. Чернов Н.Н. Металлорежущие верстати, 1988
  20. Френкель С.Ш. Справочник молодого фрезеровщика (3-е изд.) (Профтехобразование), 1978








Заказать