metalinstryment.com
Довідник по металорізальних верстатів та пресовому обладнанні

FV-36 Верстат фрезерный вертикальний
схеми, опис, характеристики

Верстат вертикальний фрезерный консольный FV-36







Відомості про виробника консольно-фрезерного верстата FV-36

Производитель консольно-фрезерного універсального верстата FV-36 - Меканике-Куджир 1976 год, город Куджир, Румыния.





Верстати, выпускаемые Румынскими станкостроительными заводами


FV-36 Верстат фрезерный консольный вертикальний. Назначение і область применения

Універсальные фрезерные FU-36, горизонтальные FO-36 і вертикальные верстати FV-36 з нерухомою или вращательной головкой могут использоваться как машины в производстве деталей мелкой і крупной серии, а также для инструментальных работ, операций технического обслуживания.

Использование машин з довольно широкой областью является возможным благодаря следующему:

Изменение числа оборотів шпинделя і величин подач стола производится о помощью механізма предварительного выбора, который позволяет получение любой скорости обертання или подачі в диапазоне посредством поворота градуированного индикаторного диска, без прохождения через промежуточные ступени.





Габаритные розміри робочого простору вертикального консольно-фрезерного верстата FV-36

Габаритные розміри робочого простору консольно-фрезерного верстата FV-36

Розміри робочого простору консольно-фрезерного верстата FV-36

Габаритные розміри робочого простору консольно-фрезерного верстата FV-36. Скачать в увеличенном масштабе



Габаритные розміри робочого простору консольно-фрезерного верстата FV-36

Розміри робочого простору консольно-фрезерного верстата FV-36

Габаритные розміри робочого простору консольно-фрезерного верстата FV-36. Скачать в увеличенном масштабе



FV-36 Загальний вигляд вертикального консольно-фрезерного верстата

Фото консольно-фрезерного верстата FV-36

Фото консольно-фрезерного верстата FV-36 CR

Фото консольно-фрезерного верстата FV-36. Скачать в увеличенном масштабе



Фото консольно-фрезерного верстата FV-36

Фото консольно-фрезерного верстата FV-36 CR

Фото консольно-фрезерного верстата FV-36. Скачать в увеличенном масштабе



Фото консольно-фрезерного верстата FV-36

Фото консольно-фрезерного верстата FV-36 CR

Фото консольно-фрезерного верстата FV-36. Скачать в увеличенном масштабе




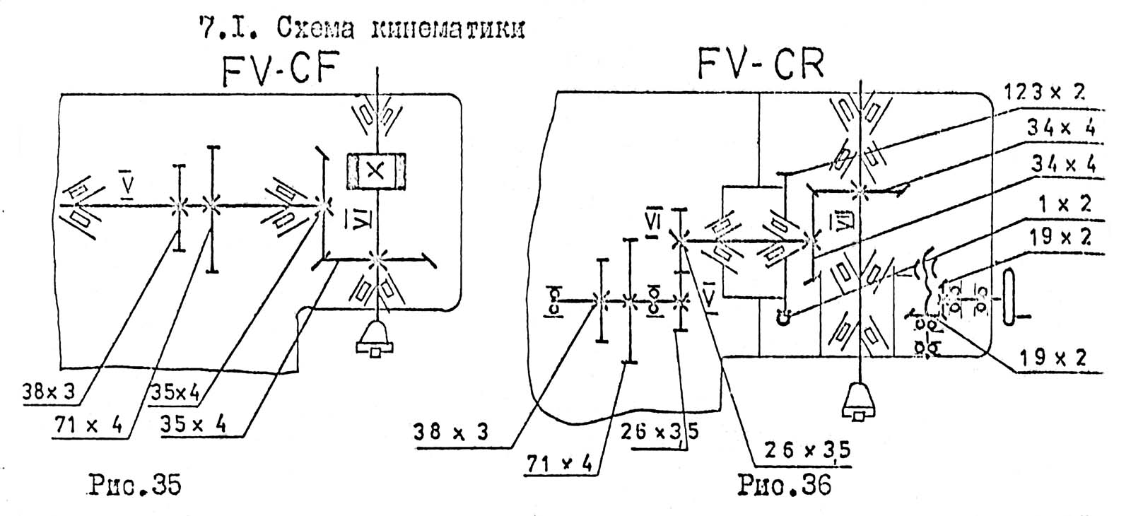
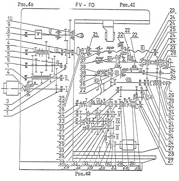
Кінематична схема вертикального консольно-фрезерного верстата FV-36

Кінематична схема вертикального консольно-фрезерного верстата FV-36

Кінематична схема вертикального консольно-фрезерного верстата FV-36

Кінематична схема вертикального консольно-фрезерного верстата FV-36. Скачать в увеличенном масштабе



Кінематична схема вертикального консольно-фрезерного верстата FV-36

Кінематична схема вертикального консольно-фрезерного верстата FV-36

Кінематична схема вертикального консольно-фрезерного верстата FV-36. Скачать в увеличенном масштабе



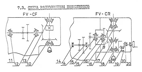
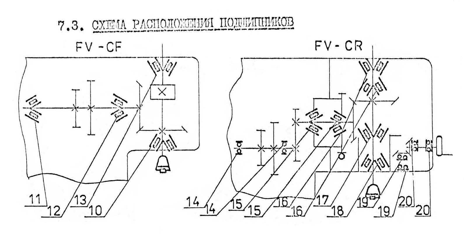
Cхема розположення підшибників вертикального консольно-фрезерного верстата FV-36

Cхема розположення підшибників вертикального консольно-фрезерного верстата FV-36

Cхема розположення підшибників вертикального консольно-фрезерного верстата FV-36. Скачать в увеличенном масштабе



Cхема розположення підшибників вертикального консольно-фрезерного верстата FV-36

Cхема розположення підшибників вертикального консольно-фрезерного верстата FV-36

Cхема розположення підшибників вертикального консольно-фрезерного верстата FV-36. Скачать в увеличенном масштабе





FV-36 Верстат консольно-фрезерный вертикальний. Відеоролик.



Технічні характеристики верстатів моделей FV-36

Наименование параметра 6Т82 FU-36 FO-36 FV-36
Класс точності по ГОСТ 8-82 Н
Рабочий стол
Максимальная нагрузка на стол (по центру), кг 400
Розміри рабочей поверхности стола (длина х ширина), мм 1250 х 320 1400 х 360 1400 х 360 1400 х 360
Число Т-образных пазов Розміри Т-образных пазов 3 3 3 3
Наибольшее перемещение стола продольное/ поперечное/ вертикальное механическое, мм 800/ 320/ 370 900/ 300/ 420 900/ 300/ 450 900/ 300/ 450
Наибольшее перемещение стола продольное/ поперечное/ вертикальное ручное, мм 920/ 320/ 470 920/ 320/ 470 920/ 320/ 470
Расстояние от шпинделя до стола при ручном перемещении, мм 30...400 30..500 70..540 55..525
Расстояние от оси шпинделя до хобота, мм 155
Наибольший угол поворота стола, град ±45° ±45° - -
Цена одного деления шкалы поворота стола, град 1 1 - -
Перемещение стола на одно деление лимба (продольное, поперечное, вертикальное), мм 0,05
Перемещение стола на один оборот лимба продольное/ поперечное/ вертикальное, мм 6/ 6/ 2
Шпиндель
Частота обертання шпинделя, об/мин 31,5...1600 32..16000 32..16000 32..16000
Количество швидкостей шпинделя 18 18 18 18
Ход пиноли, мм - - - 100
Механіка верстата
Быстрый ход стола продольный/ поперечний/ вертикальний, м/мин 4/ 4/ 1,33 2,3/ 2,3/ 0,765 2,3/ 2,3/ 0,765 2,3/ 2,3/ 0,765
Число ступеней рабочих подач стола 22 18 18 18
Пределы рабочих подач. Продольных і поперечных, мм/мин 12,5...1600 19..950 19..950 19..950
Пределы рабочих подач. Вертикальных, мм/мин 4,1...530 1/3 прод 1/3 прод 1/3 прод
Наибольшее усилие різання при поздовжньої/ поперечної/ вертикальной подаче, кН 15/ 12/ 5
Выключающие упоры подачі продольных есть
Выключающие упоры подачі поперечных, вертикальних нет
Блокировка ручной і механической подачі (поздовжньої, поперечної, вертикальной) есть
Блокировка раздельного увімкнення подачі есть
Автоматическая прерывистая подача Продольная есть
Автоматическая прерывистая подача Поперечная і вертикальная нет
Торможение шпинделя есть
Предохранение от перегрузки (муфта) есть
Привод
Електродвигун приводу головного руху, кВт (об/мин) об/мин 7,5 (1455) 7,5 (1500) 7,5 (1500) 7,5 (1500)
Електродвигун приводу подач, кВт (об/мин) 3 (1435) 2,2 (1500) 2,2 (1500) 2,2 (1500)
Електродвигун зажиму инструмента, кВт (об/мин) 0,25/ 2760
Електродвигун насоса охлаждающей жидкости, кВт (об/мин) 0,12 (2800) 0,15 (3000) 0,15 (3000) 0,15 (3000)
Суммарная мощность всех електродвигателей, кВт 10,87
Габарити і масса верстата
Габарити верстата (длина ширина высота), мм 2280 1965 1690 1968 х 2375 х 1792 1968 х 2375 х 1792 1968 х 2375 х 2100
Масса верстата, кг 3150 3300 3200 3550


    Список литературы:

  1. Инструкция по експлуатации. Консольно-фрезерный верстат FU-36 універсальний, FO-36 горизонтальный, FV-36CF вертикальний, FV-36CR вертикальний. Меканике-Куджир, Румыния, 1983

  2. Аврутин С.В. Основы фрезерного дела, 1962
  3. Аврутин С.В. Фрезерне дело, 1963
  4. Ачеркан Н.С. Металлорежущие верстати, Том 1, 1965
  5. Бирюков Б.Н. Гідравлическое обладнання металлорежущих верстатів., 1979
  6. Блюмберг В.А. Справочник фрезеровщика, 1984
  7. Копылов Работа на фрезерных верстатах,1971
  8. Кувшинский В.В. Фрезерование,1977
  9. Кучер А.М., Киватицкий М.М., Покровский А.А., Металлорежущие верстати (Альбом), 1972
  10. Ничков А.Г. Фрезерные верстати (Библиотека станочника), 1977
  11. Пикус М.Ю. Справочник слесаря по ремонту металлорежущих верстатів, 1987
  12. Схиртладзе А.Г., Новиков В.Ю. Технологическое обладнання машиностроительных производств, 1980
  13. Тепинкичиев В.К. Металлорежущие верстати, 1973
  14. Фрезерные верстати Каталог. Станкоимпорт, 1980
  15. Чернов Н.Н.. Металлорежущие верстати, 1988