metalinstryment.com
Довідник по металорізальних верстатів та пресовому обладнанні

TOS FN-20 Верстат фрезерный універсальний
схеми, опис, характеристики

TOS FN-20 Верстат фрезерный універсальний







Відомості про виробника універсального фрезерного верстата TOS FN-20

Верстат універсальний фрезерный моделі TOS FN-20 выпускал TOS Čelákovice, завод Zebrák, Чехословакия.





Верстати, выпускаемые в Чехословакии


FN-20 Назначение і область применения універсального фрезерного верстата

Инструментальный универсально-фрезерньй верстат FN-20 является самым легким типом серийного ряда инструментальных универсально-фрезерных верстатів FN-20, FN-32, FN-40.

Данный серийный ряд является продолжением испытанных верстатів FN-22А і FN-25.

Особливості конструкції і принцип роботи верстата

При разработке конструкції фрезерного верстата FN-20 принимались во внимание как опыт, приобретенный при производстве предшествующих типов, так і пожелания і замечания заказчиков.

Преимуществом верстата FN-20, по сравнению со верстатами типов FN-32 і FN-40, є повышенный ряд чисел оборотів і частинично увеличенное быстрое перемещение, целью которых является, кроме нормальной обробки, также достижение предельно економичной обробки легких сплавов і изделий малых размеров.

Верстат традиционно компонован в виде системы 3 взаимно переставляемых блоков, причем приводной механізм находится в станине і основании верстата. Подвижная шпиндельна бабка, шпиндель которой вращается в підшипниках качения, производит рух поперечної подачі. Продольная і вертикальная подачі осуществляются з помощью консоли з вертикальным столом.





Фото універсального фрезерного верстата FN-20

Фото універсального фрезерного верстата FN-20

Фото універсального фрезерного верстата TOS FN-20

Фото універсального фрезерного верстата FN-20. Увеличенный чертеж



Фото універсального фрезерного верстата FN-20

Фото універсального фрезерного верстата TOS FN-20

Фото універсального фрезерного верстата FN-20. Увеличенный чертеж



Фото універсального фрезерного верстата FN-20

Фото універсального фрезерного верстата TOS FN-20

Фото універсального фрезерного верстата FN-20. Увеличенный чертеж



Фото універсального фрезерного верстата FN-20

Фото універсального фрезерного верстата TOS FN-20

Фото універсального фрезерного верстата FN-20. Увеличенный чертеж



Фото універсального фрезерного верстата FN-20

Фото універсального фрезерного верстата TOS FN-20

Фото універсального фрезерного верстата FN-20. Увеличенный чертеж




Розташування органів керування консольно-фрезерным верстатом TOS FN-20

Розташування органів керування фрезерным верстатом TOS FN-20

Розташування органів керування фрезерным верстатом TOS FN-20

Розташування органів керування фрезерным верстатом TOS FN-20. Увеличенный чертеж



Пульт керування фрезерным верстатом TOS FN-20

Пульт керування фрезерным верстатом TOS FN-20

Пульт керування фрезерным верстатом TOS FN-20. Увеличенный чертеж






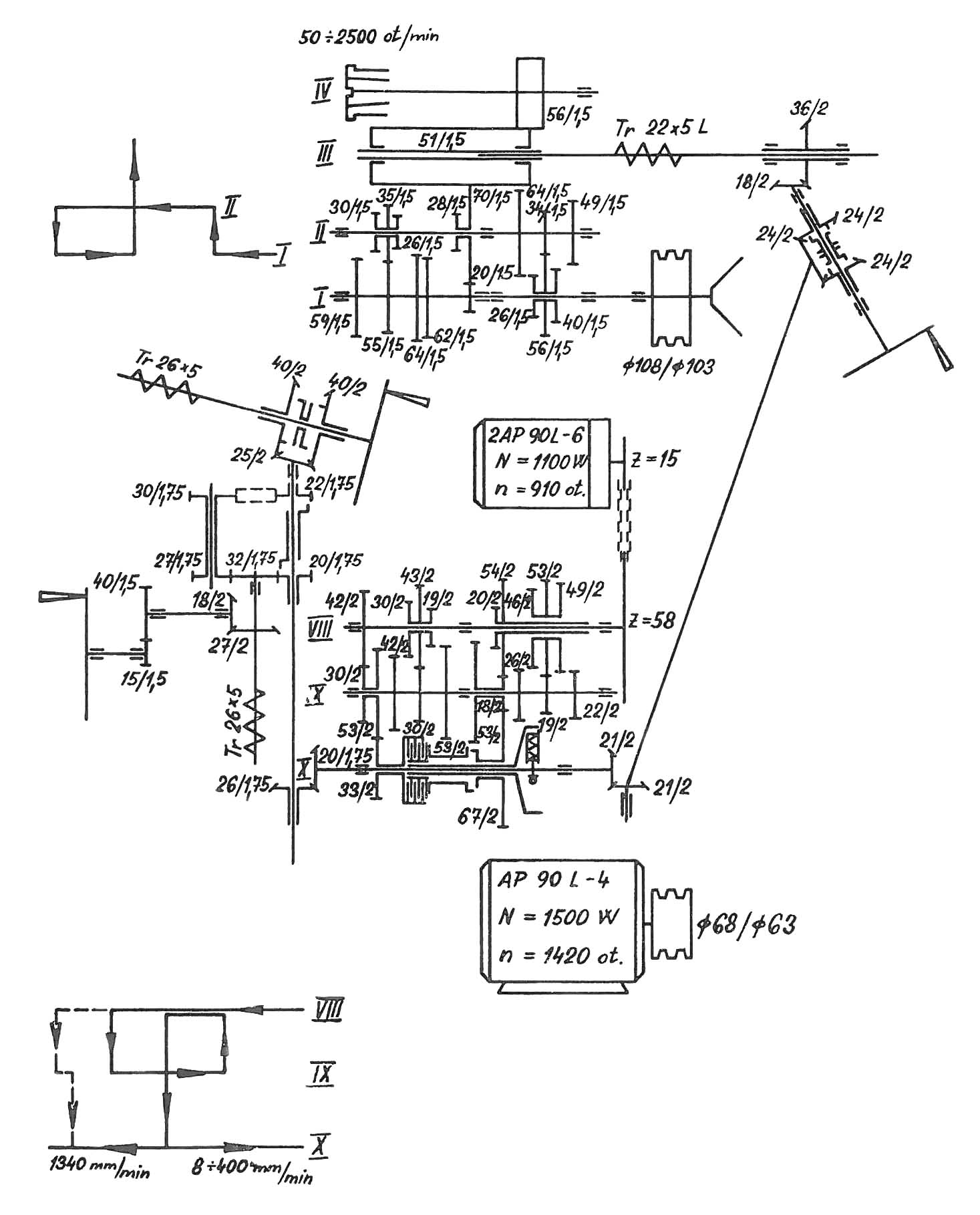
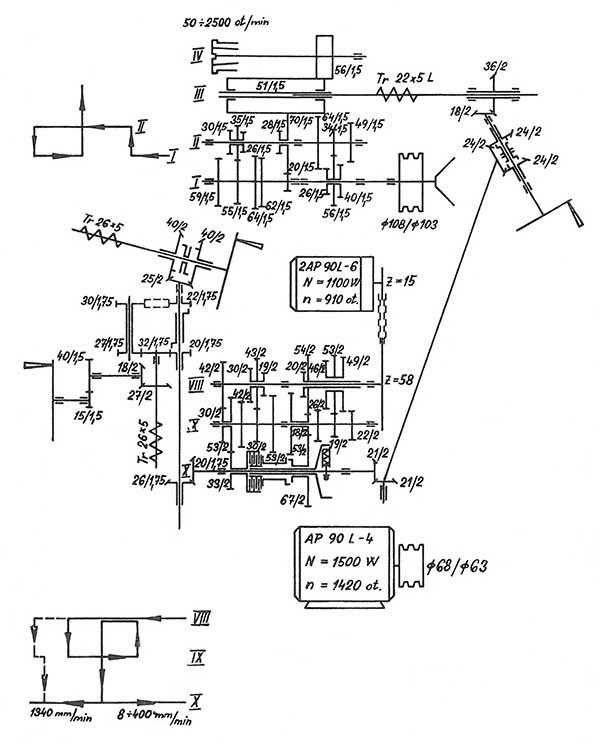
Схема кінематична універсального фрезерного верстата TOS FN-20

Кінематична схема універсального фрезерного верстата TOS FN-20

Кінематична схема універсального фрезерного верстата TOS FN-20

Кінематична схема універсального фрезерного верстата TOS FN-20. Увеличенный чертеж



Опис конструкції основних вузлів фрезерного верстата FN-20

а) Коробка швидкостей

Коробка швидкостей установлена а верхней частини станины і приводится в действие от индивидуального електродвигуна з помощью простой ременной передачи, состоящей из двух клиновых ремней.

Коробка швидкостей позволяет включать 18 ступеней чисел оборотів. Ее структура - 3 х 3 х 2 (рис. 2).

Закаленные і шлифованные зубчасті колеса, включая валы, изготовлены из качественных хром-никелевых материалов. Последним елементом коробки швидкостей является цилиндрическое зубчатое колесо, дающее возможность плавного сцепления з зубчатым колесом подвижной шпиндельной бабки. Увімкнення любой ступени чисел оборотів производится путем переміщення соответствующих зубчатых колес как при помощи криволинейного диска і управляемых им передвижных рычагов, так і з помощью механізма переміщення для налаштування высшей или низшей ступени скорости.

б) Коробка подач

Коробка подач установлена в нижней станине і приводится от индивидуального електродвигуна з помощью дуплексной ланцюги.

Механізм коробки швидкостей позволяет включать 18 ступеней скорости подач і одну ступень швидкого переміщення (рис. 2).

Переключення ступеней подач основано на том же принципе, как і переключение ступеней чисел оборотів (см. пункт 2 а). Увімкнення подачі производится нажатием кнопки на панелі керування, увімкнення швидкого переміщення осуществляется вручную при помощи рукоятки керування при включенной любой ступени скорости подачі.

Для защиты верстата от опасной перегрузки в коробке подач установлена шариковая предохранительная муфта, отрегулированная на оптимальный крутящий момент.

Любая манипуляция з регулирующими гвинтами етой муфты, производимая неспециалистом, може вызвать аварию верстата.

в) Шпиндельная бабка

Шпиндельная бабка перемещается по верхним призматическим направляющим станины. Горизонтальный шпиндель, вращающийся в підшипниках качения, соединен з коробкой швидкостей зубчатой передачей.

Верхние призматические направляющие шпиндельной бабки предназначены для установки держателя рабочих головок.

г) Консоль

На передних направляючих станины установлена консоль, перемещающаяся в вертикальном направлении, оснащенная вертикальным столом, перемещающимся в горизонтальном направлении.

Механическая подача в обоих вышеприведенных направлениях заимствуется от коробки подач посредством аллоидальных зубчатых передач. Одна загальна рукоятка, производящая крестообразные руху, дает возможность управлять настроенной подачей посредством зубчатой муфты.


Пуск верстата в ход і его обслуговування рис. 7, 9, 10, 11, 12

После подключения верстата к електросети і его змазки верстат подготовлен к пробной експлуатации. Сначала необходимо проверить правильное увімкнення фаз на колодке зажимов електрошафи. Путем нажатия кнопки подач включается в действие коробка подач, и, з помощью рычага подач шпиндельной бабки, післядняя вводится в действие. Если направление подачі шпиндельной бабки находится в соответствии з положением рычага, увімкнення фаз правильное. В противном случае нужно перебросить две фазы.

Керування верстатом сосредоточено как на кнопочной панелі керування, так в рычагах выбора скорости обертання і размера подач і в рычагах для изменения направления подач шпиндельной бабки (0276 шпиндельна бабка і 2230 консоль).

Пробная експлуатация начинается з испытания коробки швидкостей і шпиндельной бабки. При нахождении верстата в состоянии покоя включается наименьшая скорость. Это значит, что диск керування скоростью 655 нужно повернуть так, чтобы под щитком з обозначением метров в минуту находилась цифра 50 і средний рычаг 666 был отклонен в направлении к обозначению более низкой ступени.

Для керування вращательным движением шпинделя предназначены три кнопки в верхнем ряду на панелі.

После контроля функции кнопок при включенных минимальных числах оборотів производится переключение вплоть до наивысшей ступени чисел оборотів, причем необходимо следить за тем, чтобы при высших ступенях чисел оборотів шпиндель не работал более 5 минут»

После вышеприведенного контроля функции верстату дают работать на одной из средних ступеней чисел оборотів, т. е. примерно при 250 об/мин в течение 4-6 часов.

Во время вышеописанного ходу происходит тщательная смазка всех елементів коробки швидкостей і шпиндельной бабки.

Для керування подачами предназначены две кнопки, находящиеся в среднем ряду на панелі керування.

Кнопка А 4 - выключает електродвигатель подач Кнопка А 5 — запускает електродвигатель і подачі.

Так же, как і у коробки швидкостей, рычагом 1262 і диском 1251 включается самая низкая ступень подач і испытывается функция кнопок. Затем также повышаются ступени размеров подачі при одновременном включении подач стола і шпиндельной бабки.

Внимание !

Перед пуском консоли или шпиндельной бабки в ход необходимо во всех трех направлениях подачі освободить фиксирующие зажимные колодки.

Приведенные фиксирующие елементы предназначены для повышения жесткости неподвижных супортів при обработке і для уменьшения напряжения ходовых винтов і гаек.

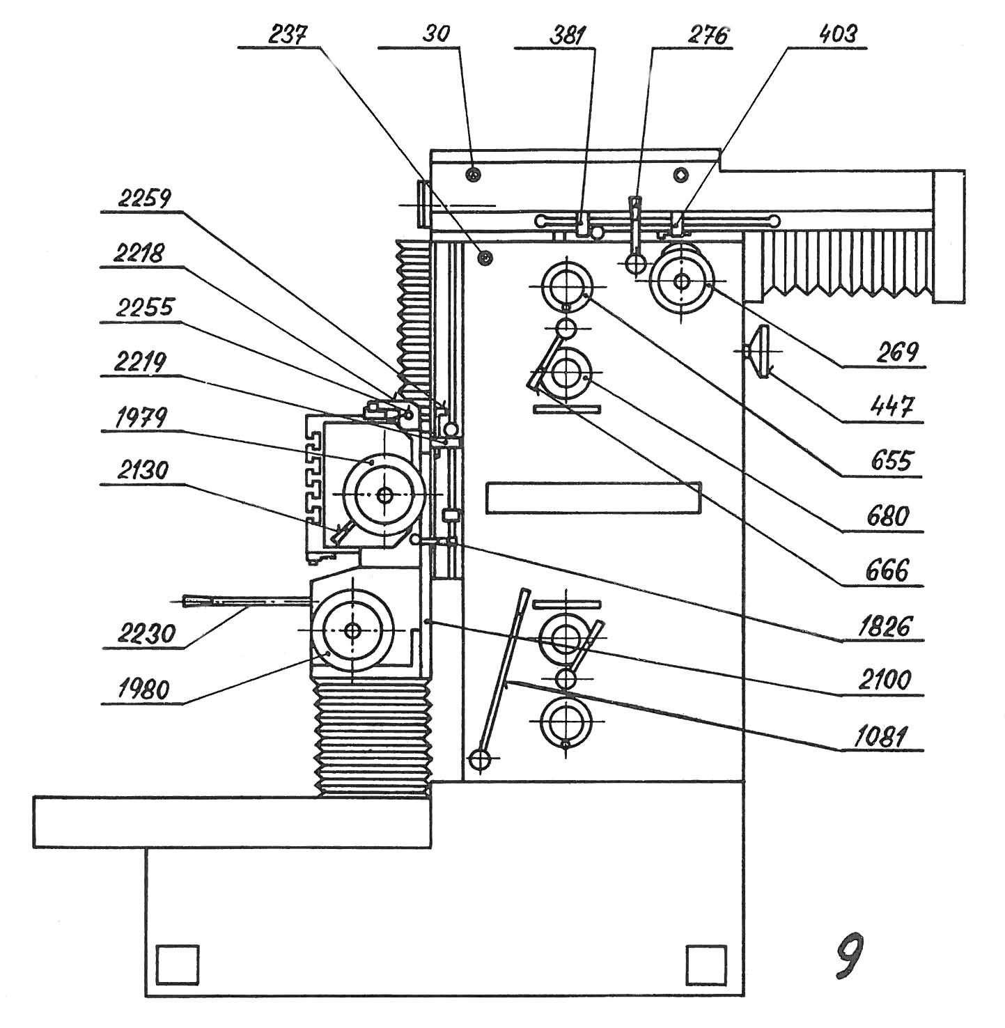
Для их фиксирования или освобождения служат: у поперечного руху шпиндельной бабки 1 цапфа 237, управляемая наставным четырехгранным ключом у вертикальной подачі консоли - винт з рукояткой 18Е6 у горизонтального руху стола - ексцентрик з рукояткой 213С.

Перемещение всех Движущихся деталей ограничено з обеих сторон неподвижными упорами 386, 388, которые автоматически выключают механическую подачу. Эти упоры запрещается удалять со верстата или изменять их положение.

Для ограничения переміщення до любой длины верстат оснащен в каждом направлении двумя подвижными центрирующими упорами 387.

Для переміщення обрабатываемого вироби или инструмента на требуемое расстояние (шаг) служит, кроме механической подачі, также ручная подача, заимствуемая от маховичков (214 шпиндельна бабка, 1926 консоль). Маховички соединены з ходовыми гвинтами выдвижной зубчатой муфтой, которая при механической подаче выведена из зацепления, вследствие чего маховичок остается в состоянии покоя.

Длину переміщення можно отсчитывать в трех направлениях подачі:


Уход за верстатом

а) Налаштування зазору горизонтального шпинделя (рис. 13)

Шпиндель універсального фрезерного верстата TOS FN-20

Шпиндель універсального фрезерного верстата TOS FN-20

Шпиндель універсального фрезерного верстата TOS FN-20. Увеличенный чертеж



Данные роботи должны быть доверены действительно опытному і надежному работнику.

Підшипники качения шпинделя сохраняют значительно дольше свой небольшой зазор посадки, чем підшипники ковзання. Поетому настраивать их необходимо лишь изредка. Прежде всего необходимо замерить зазор посадки. Для етого в боковой канавке шпиндельной бабки закрепляется держатель (штанга) индикатора, который прижимается сбоку на буртик шпинделя. Шпиндель осторожно отодвигается (с помощью соответствующего угольника или ломика), причем нужно следить за отклонением и, після его освобождения, записывается при каком значении шпиндель уже не возвращается обратно на первоначальное показание индикатора перед замером.

То же самое проделывается в вертикальном направлении, причем оба полученных значения (обычно не достигающих 0,01 мм) бывают почти одинаковыми - и, в качестве исходного значения, берется их среднее значение.

Так, например, полученные значения составляли 0,006 і 0,008 - берется следовательно 0,007 мм, которые умножаются на 12 (конус в подшипнике 1 : 12) і получается 12 х 0,007 мм = 0,084 мм.

Данное значение необходимо записать. Затем производится налаштування, причем підшипники также очищаются. Затем освобождаются оба ексцентриковые затяжных пальца (30), крышка шпиндельной бабки выдвигается і снимается, затискна штанга (33) освобождается, снимается крышка з конической полости (16) в направлении вперед, выжимается штифт (121), вывинчивается гайка (36) і крепительная штанга (33) выдвигается из шпинделя (22) вперед. После етого снимается предохранительное кольцо (131), кольцо (46) і шпонка (128). Гайки (50, 51) деблокируются путем сгибания предохранителей из листового материала (139, 140) і вывода их из зубьев гаек, після чего гайки освобождаются. Гайки (50) і листовой предохранитель (139) снимаются.

При помощи подходящей плоской штанги внутреннее кольцо підшипника (145) отодвигается назад і гвинта (95) передньої крышки шпинделя вывинчиваются. Алюминиевым молоточком или киянкой шпиндель (22) слегка выбивается вперед з таким расчетом, чтобы гайку (51) можно было вполне освободить і колесо (19) осторожными ударами отодвинуть назад, після чего втулка (42) поворачивается так, чтобы її канавка находилась точно против шпонки (126).

После етого шпиндель постепенно полностью выбивается вперед наружу. При етом необходимо работать очень осторожно, во избежание повреждения колеса (19) или зубчатого цилиндра, находящегося под колесом (19).

Буртик (24) выбивается вперед, передняя крышка (43) снимается і при помощи трубки выбивается кольцо (47) з внутренним кольцом підшипника (144) і підшипниками жидкостного трения со шпинделя вниз.

Теперь уже можно кольцо (47) перешлифовать на высчитанное значение (что приведено в примере з результатом 0,034) так, чтобы обе плоскости кольца были снова точно параллельными (причем максимальное отклонение може составлять 0,01 мм).

После промывки підшибників і остальных деталей чистым жидким маслом производится монтаж в обратной післядовательности і підшипники слегка смазываются.

Кольцо (47) необходимо устанавливать так, чтобы снятая фаска была направлена внутрь.

б) Налаштування зазору направляючих шпиндельной бабки (рис. 12)

Зазор в направляючих можно определить подобным образом, однако индикатор отклонений в данном случае прикрепляется к одной из вертикальних планок, причем его контакт находится против корпуса шпиндельной бабки. При обнаружении увеличенного зазору направляющие настраиваются следующим образом.

Отстегиваются крайние складки полотняного футляра сзади под шпиндельной бабкой от станины і отодвигаются назад.

Призматические направляющие снабжены з левой стороны (если смотреть сзади) клиновидной планкой, которая регулируется путем осторожном затяжки установочного гвинта (1502). При поворачивании гвинта вправо зазор уменьшается, при поворачивании влево - увеличивается.

Ввиду того, что скос клиновидной планки составляет 1 : 100, а резьба гвинта М10 (шаг винтовой линии 1,5), зазор при одном повороте гвинта уменьшается на 1,5 : 100, т. е. на 0,015 мм.

При налаштуванні необходимо проверять плотность направляючих з помощью ручной подачі шпиндельной бабки, осуществляемой вращением маховичка (269) при отключенном рычаге (276). Подача должна происходить довольно легко. Поетому налаштування необходимо производить очень чутко. После налаштування очищенные гофрированные футляры устанавливаются на свое место.

в) Налаштування зазору вертикального стола (рис. 12)

Налаштування зазору стола производится 2 планками - одной клиновидной з наладочным винтом і одной прямой. Перед налаштуванням крестообразный рычаг виключення переводится в нейтральное положение і снимается гофрированный футляр, находящийся на левой нижней стороне вертикального стола (если смотреть з задньої стороны) . При етом открывается доступ к наладочному винту клина.

Налаштування зазору выполняется так же, как у шпиндельной бабки.

При необходимости ограничить зазор также на горизонтальной планке (1814) нужно поступать следующим образом: снять крайние підшипники гвинта (1921, 1922), вывинтить из консоли ходовой винт (вместе з крайним подшипником 1921), освободить клин наладочным винтом (1991) і выдвинуть стол из горизонтальных направляючих. Со стола отвинчивается горизонтальная планка і з її поверхности соприкосновения отшлифуется замеренный зазор.

г) Налаштування вертикальних направляючих консоли (рис. 9 і 10) Данная налаштування производится двумя способами:


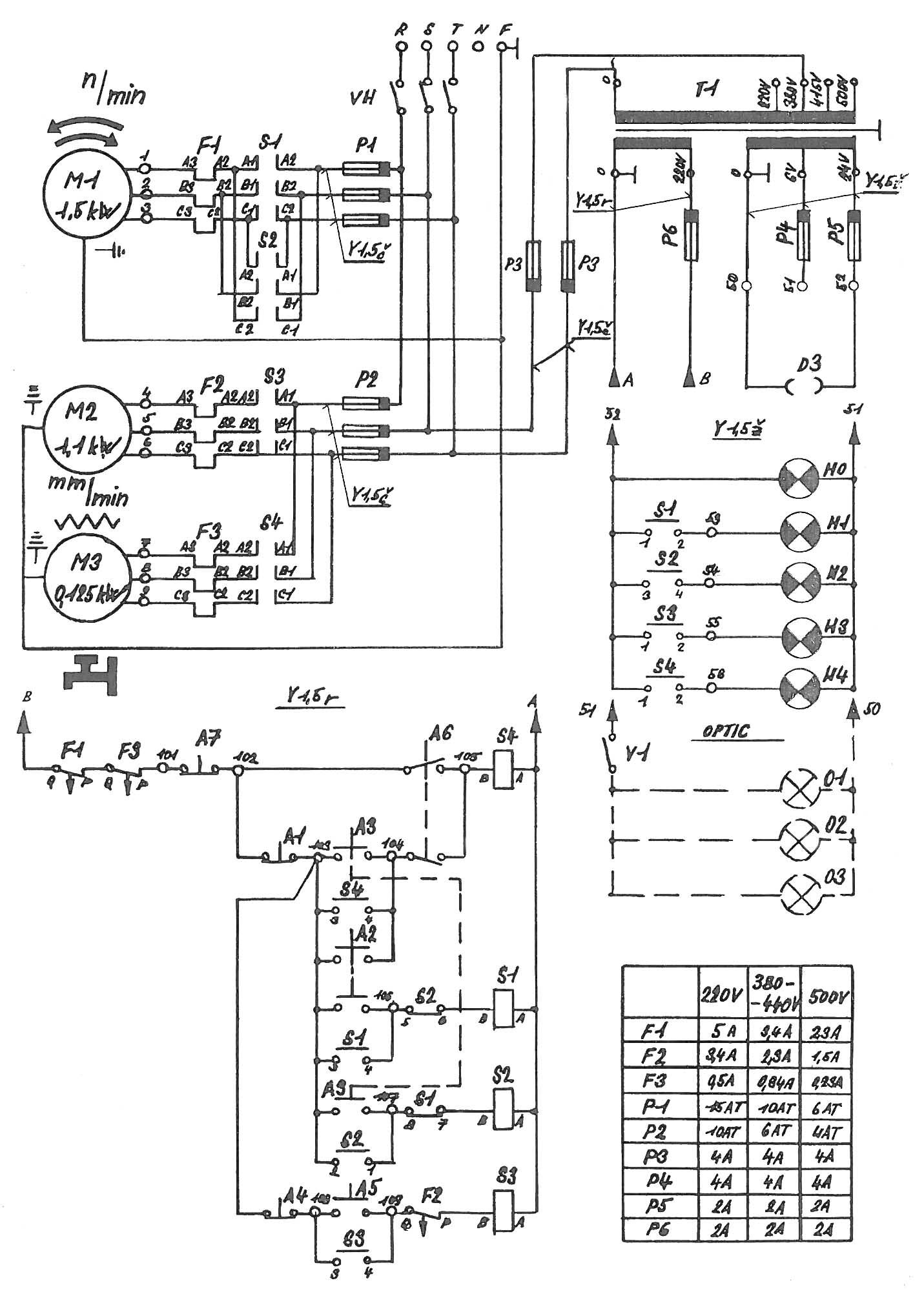
Схема електрична фрезерного верстата TOS FN-20

Електрична схема універсального фрезерного верстата TOS FN-20

Електрична схема універсального фрезерного верстата TOS FN-20

Електрична схема універсального фрезерного верстата TOS FN-20. Увеличенный чертеж






TOS FN-20 Верстат фрезерный універсальний. Відеоролик.




Технічні характеристики фрезерного верстата TOS FN-20

Наименование параметра СФ676 ОФ-55 TOS FN-20 TOS FN-32 TOS FN-40
Основні параметри верстата
Класс точності по ГОСТ 8-82 Н П
Розміри вертикального стола, мм 250 х 630 195 х 550 216 х 680 275 х 860 260 х 1160
Розміри горизонтального (углового) стола, мм 250 х 800 260 х 630 240 х 600 300 х 700 400 х 1160
Максимальная масса обрабатываемой детали, кг 100 120 125
Наибольшее расстояние от рабочей поверхности вертикального стола до вертикальних направляючих, мм 128
Расстояние от оси горизонтального шпинделя до рабочей поверхности горизонтального (углового) стола, мм 80..460 70..360
Наибольший продольный ход стола (механическиое перемещение), мм 450 250 300 (290) 500 710 (700)
Наибольший вертикальний ход стола (механическиое перемещение), мм 380 290 350 (340) 400 410 (400)
Наибольший поперечний ход шпиндельной бабки (механическиое перемещение), мм 300 150 200 (190) 250 310 (300)
Горизонтальный шпиндель верстата
Частота обертання горизонтального шпинделя, об/мин 50..1630 42..2150
50..2500 40..2000 40..2000
Количество швидкостей шпинделей 16 12 18 18 18
Перемещение шпинделя на одно деление лимба, мм 0,025
Наибольший допустимый крутящий момент на горизонтальном шпинделе, Нм 148
Конус горизонтального і вертикального шпинделей 40АТ5 Морзе 4 ISA 40 40 7:24 40 7:24
Подачи стола
Пределы продольных і вертикальних подач стола (X, Z), мм/мин 13..395 10..380 8..400 8..400 8..400
Ускоренный ход стола, мм/мин 935 935 1340 1240 1240
Перемещение стола продольное на одно деление лимба, мм 0,025
Перемещение суппорта стола вертикальное на одно деление лимба, мм 0,025
Количество подач стола 16 12 18 18 18
Наибольшее усилие подач стола, Н 5000
Вертикальная шпиндельна головка
Расстояние от торца вертикального шпинделя до рабочей поверхности горизонтального стола, мм 0..380 22..312
Частота обертання вертикального шпинделя, об/мин (Ступеней) 63..2040 55..2450
50..2500 (18) 40..2000 (18) 40..2000 (18)
Наибольший допустимый крутящий момент на вертикальном шпинделе, Нм 120
Наибольшее осевое перемещение вертикального шпинделя (ход пиноли), мм 80 60 75 90 100
Наибольший угол поворота вертикальной головки в вертикальной плоскости, градус ±90° ±45° ±120° ±120° ±120°
Конус вертикального шпинделя 40АТ5 Морзе 4 ISA 40 7:24 40 7:24 40 7:24
Масса головки, кг 30 50
Електроустаткування і привід верстата
Електродвигун головного привода, кВт (об/мин) 3 1,6/ 2,3 (1000/1500) 1,5 (1430) 2,2 (1400) 2,2 (1400)
Електродвигун подач, кВт (об/мин) 1,1 (910) 1,1 (910) 1,1 (910)
Електродвигун приводу насоса охлаждения, кВт 0,12 0,12 (1800) 0,125 (2880) 0,125 (2880) 0,125 (2880)
Суммарная мощность електродвигателей, кВА 3,12 1,12 2,7 4 4
Габарит і масса верстата
Габарити верстата (длина х ширина х высота), мм 1200 х 1240 х 1780 1150 х 1100 х 1600 1160 х 1600 х 1150 1882 х 2200 х 1600
Масса верстата, кг 1050 900 750 1460 1750

    Список литературы:

  1. Технический паспорт инструментального универсально-фрезерного верстата FN-20, FN-20 Optic, 1977

  2. Аврутин С.В. Основы фрезерного дела, 1962
  3. Аврутин С.В. Фрезерне дело, 1963
  4. Ачеркан Н.С. Металлорежущие верстати, Том 1, 1965
  5. Барбашов Ф.А. Фрезерне дело 1973, с.141
  6. Барбашов Ф.А. Фрезерные роботи (Профтехобразование), 1986
  7. Блюмберг В.А. Справочник фрезеровщика, 1984
  8. Григорьев С.П. Практика координатно-расточных і фрезерных работ, 1980
  9. Копылов Р.Б. Работа на фрезерных верстатах,1971
  10. Косовский В.Л. Справочник молодого фрезеровщика, 1992, с.180
  11. Кувшинский В.В. Фрезерование,1977
  12. Ничков А.Г. Фрезерные верстати (Библиотека станочника), 1977
  13. Пикус М.Ю. Справочник слесаря по ремонту металлорежущих верстатів, 1987
  14. Плотицын В.Г. Расчёты настроек і наладок фрезерных верстатів, 1969
  15. Плотицын В.Г. Наладка фрезерных верстатів,1975
  16. Рябов С.А. Современные фрезерные верстати і их оснастка, 2006
  17. Схиртладзе А.Г., Новиков В.Ю. Технологическое обладнання машиностроительных производств, 1980
  18. Тепинкичиев В.К. Металлорежущие верстати, 1973
  19. Чернов Н.Н. Металлорежущие верстати, 1988
  20. Френкель С.Ш. Справочник молодого фрезеровщика (3-е изд.) (Профтехобразование), 1978









Заказать