Виробник токарно-гвинторізного комбінованого верстата моделі 1А95 – Новосибірський верстатобудівний завод XVI партз'їзду , заснований у 1931 році.
Більш досконалі комбіновані токарно-гвинторізні верстати 1М95 , 1Д95 , 1Е95 випускав - Алма-Атинський верстатобудівний завод .
Універсальний комбінований токарно-гвинторізний верстат 1А95 призначений для виконання токарних, фрезерних, свердлильних, розточувальних, шліфувальних, довбальних та заточувальних робіт. А, також, для токарної обробки зовнішніх і внутрішніх поверхонь деталей типу тіл обертання різноманітного осьового профілю, у тому числі для нарізування метричної, модульної, дюймової та різьб на питці на заготовках, що встановлюються в центрах або патроні.
Комбінований верстат моделі 1А95 призначений для роботи в пересувних та стаціонарних майстернях.
Корпус передньої бабки верстата пересувається вертикальними напрямними стійки, яка кріпиться до станини.
У верхній частинині передньої бабки кріпиться свердлильно-фрезерний агрегат, а до переднього торця - довбання, якщо воно необхідно.
Пристрій для зовнішнього та внутрішнього шліфування монтується на столі супорта, заточний пристрій на торці станини.
Привід токарно-фрезерного та свердлильно-фрезерного агрегатів здійснюється від окремих електродвигунів, також, як шліфувального та заточувального пристроїв.
Зміна числа оборотів шпинделя токарно-фрезерного агрегату досягається перемиканням відповідних рукояток коробки швидкостей, а шпинделя свердлильно-фрезерного агрегату - зміною положення ременя на щаблях шківів і перемиканням перебору.

Габарити робочого простору токарного верстата 1А95

Шпиндель токарно-гвинторізного верстата 1А95

Фото токарно-гвинторізного верстата 1А95
Фото токарно-гвинторізного верстата 1А95. Дивитись у збільшеному масштабі

Фото токарно-гвинторізного верстата 1А95

Розташування органів керування токарно-гвинторізним верстатом 1А95
Розташування органів керування токарно-гвинторізним верстатом 1А95. Дивитись у збільшеному масштабі
Питание ланцюгів електроустаткування осуществляется следующими напряжениями:
Електроустаткування верстата предназначено для подключения к трехфазной сети переменного тока з глухозаземленным или изолированным нейтральным проводом.
На станке установлены наступні електродвигатели:

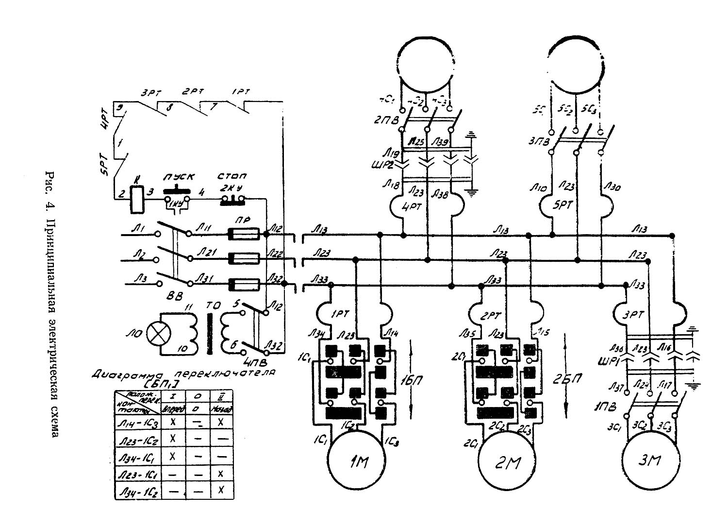
Електрична схема токарно-гвинторізного верстата 1А95
Електрична схема токарно-гвинторізного верстата 1А95. Дивитись у збільшеному масштабі
Електроустаткування верстата (рис. 3, 4, 5) рассчитано на напряжение 380 или 220 вольт трехфазного переменного тока (В зависимости от заказа) і состоит из 5 електродвигателей з короткозамкнутым ротором, пульта керування з кнопками, переключателя електродвигуна 1М, переключателей електродвигуна 2М, выключателей електродвигателей 3М, 4М, 5М і панелі з аппаратурой, размещенной в правой тумбе верстата.
Местное освещение осуществляется от сети переменного тока через понижающий трансформатор 380/36 В. Для осветительных приборов предусмотрен кронштейн з арматурой.
Електроустаткування верстата, обеспечивающее раздельное керування всему електродвигунами і нулевую защиту от перегрузок і токов короткого замыкания, работает по схеме (рис. 4):
1. Включая вводный выключатель ВВ, подают напряжение в первую ланцюг і ланцюг керування.
2. Нажимая затем на кнопку «Пуск»-1КУ выключают контактор «К», катушка которого питается от ланцюги Л-12-1-2-2-3-Л32. Через главные контакты контактора напряжение подается на пусковую аппаратуру всех електродвигателей.
Отключают верстат, нажимая на кнопку «Стоп»-2КУ. При етом прерывается ланцюг живлення катушки контактора «К» в точках 4-Л32.
3. Електродвигун 1М (приводу токарно-фрезерного агрегата) включают барабанным переключателем 1БП, рукоятка которого може ставиться в три положения:
4. Аналогично п. 3 осуществляется увімкнення і реверсирование електродвигуна 2М (приводу сверлильно-фрезерного агрегата) барабанным переключателем 2БП, расположенным на крышке корпуса агрегата.
5. Електродвигун 3М устанавливается непосредственно на плите шлифовального приспособления. Для удобства керування етим електродвигуном предусмотрен пакетный выключатель ПВ1, к которому подключены провода в гибком шланге. Електродвигун включается в сеть при помощи 3-полюсной розетки ШР.
6. Електродвигун 4М (приводу заточного приспособления) включают пакетным выключателем 11B2, расположенным на заточном приспособлении, так же, как електродвигатель шлифовального приспособления.
7. Трансформатор ТП местного освещения включают пакетным выключателем ПВ4 на пульті керування.
Нулевая защита осуществляется катушкой пускателя
Захист електродвигателей от перегрузки — тепловым реле 1РТ, 2РТ, 4РТ, 5РТ, 3РТ
Захист от токов коротких замыканий — предохранителями ПР-60.
Верстат должен быть надежно заземлен по существующим правилам і нормам.

Список елементів токарного верстата 1А95
Список елементів токарно-гвинторізного верстата 1А95. Дивитись у збільшеному масштабі

Список елементів токарного верстата 1А95
Список елементів токарно-гвинторізного верстата 1А95. Дивитись у збільшеному масштабі

Схема розположення електроустаткування токарно-гвинторізного верстата 1А95

Схема з'єднань токарного верстата 1А95
Схема з'єднань токарно-гвинторізного верстата 1А95. Дивитись у збільшеному масштабі
| Наименование параметра | 1А95 | 1М95 | 1Д95 | 1Е95 |
|---|---|---|---|---|
| Основні параметри | ||||
| Класс точності по ГОСТ 8-82 | Н | Н | Н | Н |
| Наибольший диаметр заготовки над станиной, мм | 420 | 500 | 400 | 400 |
| Наибольший диаметр заготовки над выемкой станины (по заказу), мм | - | - | 550 | 570 |
| Наибольший диаметр заготовки над суппортом, мм | 420 | 210 | 210 | |
| Высота центров над направляющими станины, мм | 235..355 | 210 | 210 | |
| Высота оси шпинделя над суппорт-столом, мм | 175..420 | 125..245 | ||
| Наибольшая длина заготовки (РМЦ), мм | 1000 | 1000 | 1000 | 1000 |
| Наибольшая длина обтачивания, мм | 820 | 950 | 950 | |
| Наибольшая масса заготовки в патроне, кг | ||||
| Наибольшая масса заготовки в центрах, кг | 100 | |||
| Передня бабка | ||||
| Наибольшее вертикальное перемещение передньої бабки, мм | 120 | нет | нет | |
| Шпиндель | ||||
| Диаметр сквозного отверстия в шпинделе, мм | 35 | 35 | 52 | 52 |
| Наибольший диаметр прутка, мм | 32 | 32 | 50 | 50 |
| Число ступеней частот прямого обертання шпинделя | 12 | 12 | 16 | 16 |
| Частота прямого обертання шпинделя, об/мин | 23..1000 | 28..1250 | 16..1250 | 20..1600 |
| Размер внутреннего конуса в шпинделе | Морзе 5 | Морзе 6 | Морзе 6 | Морзе 6 |
| Кінець шпинделя по ГОСТ 12593-72 | М68 х 6 | 6К | 6К | |
| Торможение шпинделя | нет | Электрическое | Электрическое | |
| Суппорт-стол. Подачи | ||||
| Розміри рабочей поверхности фрезерного стола, мм | 300 | 280 х 700 | ||
| Наибольшее продольное перемещение каретки суппорта, мм | 820 | 950 | 950 | |
| Наибольшее поперечное перемещение суппорта, мм | 320 | 300 | 275 | |
| Наибольшее поперечное перемещение верхнего суппорта (резцовые салазки), мм | 110 | 100 | 130 | |
| Число ступеней продольных і поперечных подач | 15 | 24 | 16 | 48 |
| Пределы скорости продольных подач, мм/об | 0,13..1,17 | 0,13..1,87 | 0,0028..0,078 | 0,03..4,21 |
| Пределы скорости поперечных подач, мм/об | 0,07..0,65 | 0,072..1,016 | 0,0014..0,039 | 0,015..2,1 |
| Скорость быстрых перемещений суппорта, продольных/ поперечных, м/мин | нет | 4/ 2 | 4/ 2 | |
| Продольное перемещение на одно деление лимба, мм | 1,0 | |||
| Продольное перемещение на одно деление нониуса, мм | ||||
| Поперечное перемещение суппорта на одно деление лимба, мм | 0,05 | |||
| Перемещение резцовых салазок на одно деление лимба, мм | 0,05 | 0,05 | 0,05 | |
| Количество нарезаемых різьб метрических | 23 | 18 | 26 | |
| Пределы шагов нарезаемых різьб метрических, мм | 0,5..18 | 1..12 | 0,5..14 | 0,5..56 |
| Количество нарезаемых різьб дюймовых | 28..3 | 24 | 35 | 39 |
| Пределы шагов нарезаемых різьб дюймовых | 3..28 | 60..3,5 | 56..0,5 | |
| Количество нарезаемых різьб модульных | 13 | 18 | 22 | |
| Пределы шагов нарезаемых різьб модульных | 0,25..35 | 0,5..7 | 0,5..28 | |
| Количество нарезаемых різьб питчевых | 24 | 35 | 32 | |
| Пределы шагов нарезаемых різьб питчевых | 8..112 | 56..2,0 | ||
| Предохранитель от перегрузки | есть | |||
| Блокировка продольных і поперечных подач | есть | |||
| Выключающие продольные упоры | нет | |||
| Шероховатость поверхности заготовки из конструкционной стали при чистовом обтачивании, мкм, не более | Ra 2.0 | |||
| Задня бабка | ||||
| Наибольшая длина переміщення задньої бабки вдоль станины, мм | 820 | |||
| Наибольшая длина вертикального переміщення задньої бабки, мм | 120 | нет | нет | |
| Наибольшая длина переміщення пиноли задньої бабки, мм | 165 | 120 | 120 | |
| Наибольшее перемещение задньої бабки, мм | ±20 | |||
| Размер внутреннего конуса | №4 | Морзе 4 | Морзе 5 | |
| Сверлильный агрегат | ||||
| Наибольший диаметр сверления, мм | 25 | 25 | 25 | |
| Наибольший ход шпинделя, мм | 80 | 80 | 80 | |
| Вылет оси сверлильного шпинделя, мм | 290 | 210 | 210 | |
| Диаметр сверлильного стола, мм | 320 | 280 х 280 | ||
| Вертикальное перемещение сверлильного стола, мм | 465 | |||
| Размер внутреннего конуса сверлильного шпинделя | №3 | Морзе 3 | ||
| Расстояние от кінця шпинделя до сверлильного стола, мм | 40..540 | 400 | ||
| Количество швидкостей шпинделя | 6 | |||
| Частота прямого обертання шпинделя, об/мин | 62..1118 | 11..78 | ||
| Вертикально-фрезерна головка | ||||
| Вылет оси шпинделя фрезерной головки, мм | 380 | |||
| Расстояние от кінця шпинделя до суппорт-стола, мм | 120..240 | |||
| Наибольшее продольное перемещение суппорт-стола, мм | 320 | |||
| Размер внутреннего конуса фрезерной головки | №3 | |||
| Шлифовальное пристрій | ||||
| Диаметр шлифуемой заготовки при наружном шлифовании, мм | 25..210 | 20..210 | ||
| Диаметр шлифуемой заготовки при внутреннем шлифовании, мм | 30..300 | 30..300 | ||
| Частота обертання шпинделя при наружном шлифовании, об/мин | 5950, 3560 | 4400 | 4400 | |
| Частота обертання шпинделя при внутреннем шлифовании, мм | 11000 | 11000 | ||
| Долбежное пристрій | ||||
| Длина ходу долбяка, мм | 100 | 100 | ||
| Вылет суппорта долбяка, мм | 310 | |||
| Наибольшая высота долбления, мм | 80 | |||
| Наибольшая длина долбления, мм | 280 | |||
| Наибольшая ширина ходу долбления, мм | 320 | |||
| Електроустаткування | ||||
| Количество електродвигателей на станке | 5 | 4 | 6 | |
| Електродвигун головного привода, кВт (об/мин) | 3 (1430) | 4 | 4 | 5,5 |
| Електродвигун приводу ускоренных перемещений, кВт | - | - | 0,4 | 0,55 |
| Електродвигун приводу сверлильного агрегата, кВт | 1,1 | 1,1 | 1,1 | 1,1 |
| Електродвигун заточного приспособления , кВт | 0,8 | 0,8 | 0,75 | 0,75 |
| Електродвигун шлифовального приспособления , кВт | 0,8 | - | 0,27 | 0,27 |
| Електродвигун насоса охлаждения, кВт | 0,12 | 0,12 | 0,125 | 0,125 |
| Суммарная мощность, кВт | ||||
| Габарити і масса верстата | ||||
| Габарити верстата (длина ширина высота) (РМЦ 1000), мм | 2800 х 1290 х 1650..1775 | 2750 х 1255 х 1670 | 3000 х 1200 х 1610 | 3000 х 1200 х 1640 |
| Масса верстата (РМЦ 1000), кг | 2050 | 2170 | 2030 | 2475 |
Замовити
Хто володіє інформацією – той володіє світом.
Натан Ротшильд