Виробником різьбонарізного верстата 2054м є Молодечненський верстатобудівний завод МСЗ , заснований у 1947 році та Красноріченський верстатобудівний завод ім. М.В. Фрунзе .
З січня 1958 року завод став іменуватися Молодеченським верстатобудівним заводом, отримавши завдання спеціалізуватися на випуску свердлильних верстатів. Починаючи з 1961 року, завод почав серійно випускати двошпиндельні, тришпиндельні, а потім універсальні вертикально-свердлильні верстати.
Напівавтомат різьбонарізний 2054М призначений для нарізки різьблення мітчиками з умовним діаметром до Ø 6 мм у сталі та до Ø 8 мм кольорових металах та в пластмасах. На верстаті можна обробляти метричні різьблення з кроком від 0,4 до 1,25 мм.
За особливим замовленням за окрему плату верстат 2054М може бути укомплектований набором копірних пар для нарізування дюймових та трубних різьблень відповідних розмірів, а також лівих різьблень.
Різьбонарізний верстат 2054М працює по автоматичному та напівавтоматичному циклу.
Верстат може бути використаний у серійному та масовому виробництвах, а також для вбудовування в автоматичні лінії.

Фото різьбонарізного верстата 2054м

Фото різьбонарізного верстата 2054м

Фото різьбонарізного верстата 2054м

Фото різьбонарізного верстата 2054м

Фото різьбонарізного верстата 2054м

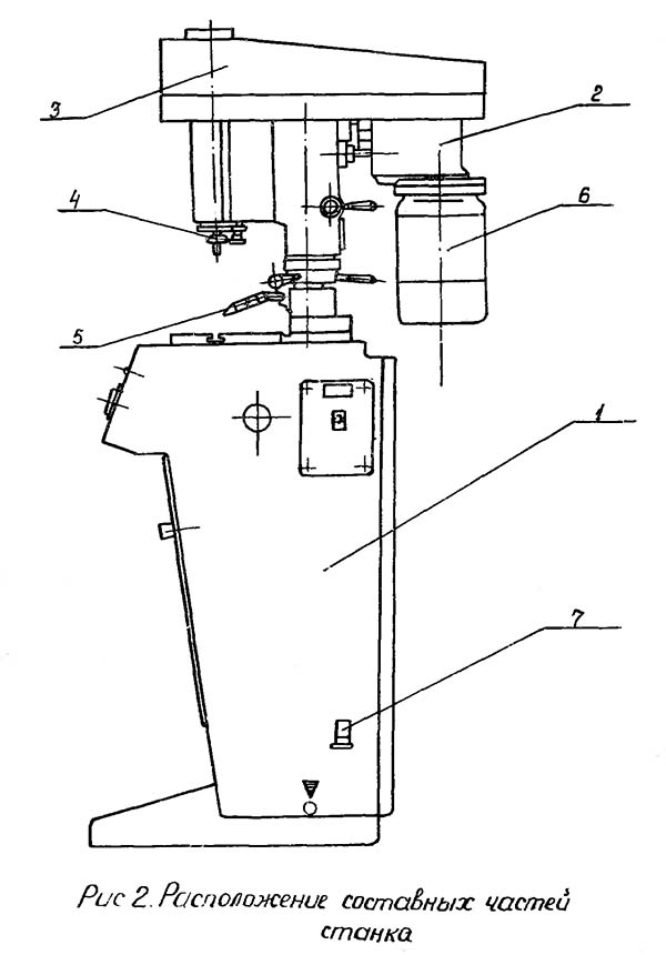
Розташування основних вузлів різьбонарізного верстата 2054м

Розташування органів керування різьбонарізним верстатом 2054м
Розташування органів керування резьбонарезным верстатом 2054м. Дивитись у збільшеному масштабі

Кінематична схема резьбонарезного верстата 2054м
1. Кінематична схема резьбонарезного верстата 2054м. Дивитись у збільшеному масштабі
2. Схема розположення підшибників резьбонарезного верстата 2054м. Дивитись у збільшеному масштабі
Кинематика верстата позволяет осуществлять вращение і подачу шпинделя.
Електродвигун 1 через зубчасті колеса 2 і 3 вращает вал 1 коробки швидкостей. С етого вала через одну из трех пар зубчатых колес 3 і 6, 4 і 7 или 5 і 8 вращение передається валу II коробки швидкостей. Переключення швидкостей осуществляется осевым переміщенням блока зубчатых колес 6, 7 і 8.
С вала II вращение передається через клиноременную передачу з двухступенчатыми шкивами 9 і 10 і предохранительную муфту вала III, а з него через две шпонки шпинделю IV. Таким образом, шпинделю може быть сообщено 6 частот обертання.
Со шпинделем IV, жестко соединен копирный винт 11, который вращается в гайке 12 і сообщает шпинделю подачу, равную шагу гвинта.
Тумба (рис. 5, стр. 44) является основанием верстата і рабочим столом В задньої частини тумбы имеется ниша для розміщення електроапаратури. Сверху на тумбе крепится головка. Внутри тумбы установлен агрегат охлаждения.
На рабочей повepxности стола, имеется Т-образный паз, а вокруг рабочей поверхности — корито для слива охлаждающей жидкости.
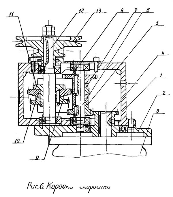
Коробка швидкостей (рис. 6, стр. 45) представляет собой зубчатый цилиндрический трехступенчатый редуктор. К нижней частини корпуса 1 коробки швидкостей крепится подмоторная плита 2 з Электродвигателем 3 і установленным на его валу зубчатым колесом 4, которое сцеплено з колесом 5, установленным на валу 6. На етом же валу установлены еще два колеса 7 і 8. Колеса 5, 7 і 8 могут быть сцеплены з одним из венцов 9, 10 і 11 тройного зубчатого блока, перемещающегося на шлицах вала 12. Оба вала 6 і 12 установлены на шариковых підшипниках. На верхнем кінці вала 12 закреплен 2-х ступенчатый клиноременный шкив 13.
Полость корпуса набивается консистентной смазкой ЦИАТИМ-201 при сборке, а при експлуатации — через пресс-масленку.
Коробка швидкостей крепится шпильками знизу к верхнему корпусу головки.
Для натяжения ремня коробка швидкостей може перемещаться вдоль верхнего корпуса головки при помощи специального натяжного гвинта.
Перемещение блока зубчатых колес осуществляется механізмом переключения, смонтированным на боковой крышке.
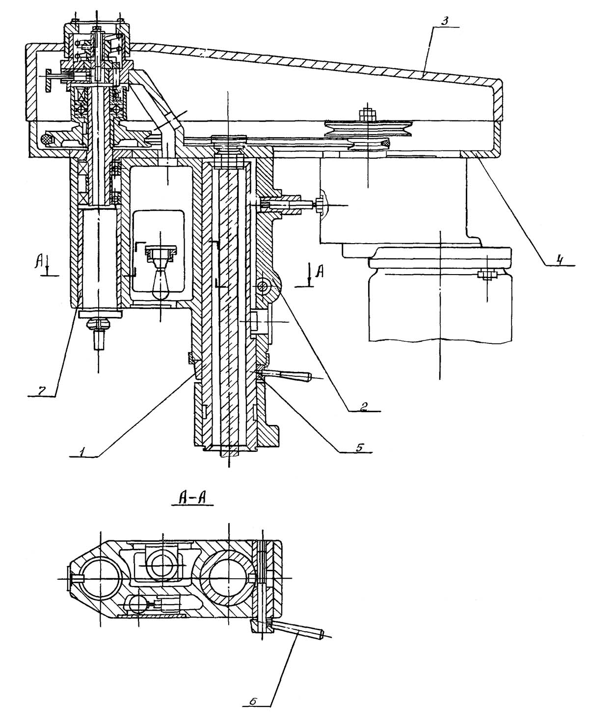
Головка (рис. 7, стр. 46) устанавливается на тумбе і состоит из колонны 1, корпуса 2, верхнего корпуса 4 і крышки 3. Корпус 2 може перемещаться вертикально по колонне 1 при помощи гайки 5 і закрепляется в любом положении рукояткой 6. В передньої частини корпуса 2 размещен шпиндель, который може перемещаться во втулке 7. Верхний корпус 4 крепится сверху на корпусе 2, а к нему, в свою очередь, крепится коробка швидкостей. В верхнем корпусе 4 размещена клиноременная передача, предохранительное пристрій і копирная пара. Сверху на верхний корпус 4 одевается крышка 3.
Шпиндель (рис. 8, стр. 47) размещается в головке і состоит из пиноли 1 з установленным в ней на шариковых підшипниках шпинделем 2. Выборка люфта в підшипниках производится автоматически пружиной 3. Шпиндель имеет наружный конус морзе 1«в», а в верхней частини две шпоночные канавки. На верхнем торце шпинделя имеется паз і болт, при помощи которых к шпинделю крепится копирный винт.
Охлаждение
Охлаждение представляет собой отдельный агрегат, установленный в тумбе. Охлаждение состоит из бака, крышки і насоса, установленного на крышке.
Налаштування необходимой частоти обертання шпинделя производится рукояткой 7 і установкой клинового ремня на одном из 2-х пар шкивов по таблице 23 (рис. 3, стр. 42).
Налаштування необходимой подачі производится путем установки копирной пары з соответствующим шагом різьби.
Для смены копирной пары необходимо:
Установка головки на необходимую высоту производится поворотом подъемной гайки 3 на колонне (см. рис. 3).
Перед переміщенням головки необходимо її отжать при помощи рукоятки 5, а після установки в требуемое положение — зажать.
Налаштування необходимой величины ходу шпинделя производится вращением кнопки 4 (см. рис. 3), при помощи которой перемещается кулачок, управляющий микропереключателем нижнего положения шпинделя. После пробного увімкнення ходу шпинделя положение кулачка уточняется. Ход шинделя контролируется по шкале.
Налаштування необходимого крутящего момента срабатывания предохранительной муфты производится переміщенням регулировочной гайки 6 (рис. 3, стр. 42).
Налаштування верстата на нарезание левых різьб производится путем установки левых копирных пар, которые поставляются к верстату по особому заказу і за отдельную плату.
Кроме етого должно быть изменено направление обертання шпинделя переключателем 1 в електрошкафу (рис. 3, стр. 42).
Налаштування верстата на работу в автоматическом или напівавтоматическом режиме производится при помощи переключателя 18 (рис. 3).
В процессе експлуатации верстата возникает необходимость регулювання окремих складових частин верстата з целью восстановления их нормальной роботи.
Регулювання натяжения ремней приводу шпинделя.
При переналаштуванні клиноременной передачи в связи з изменением частоти обертання шпинделя или при уменьшении крутящего момента на шпинделе необходимо ослабить или натянуть ремень. Для етого необходимо:

Коробка швидкостей резьбонарезного верстата 2054м

Сверлильная головка резьбонарезного верстата 2054м
Сверлильная головка верстата 2054м в разрезе. Скачать в увеличенном масштабе

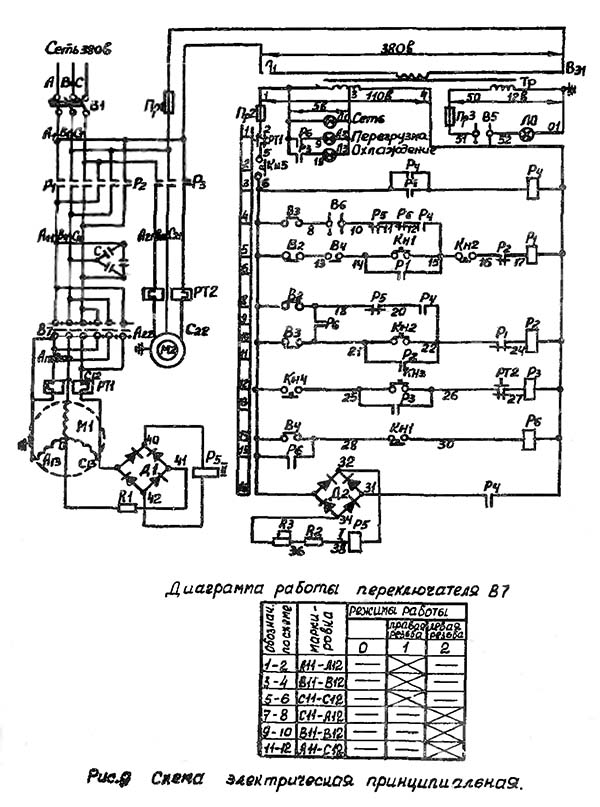
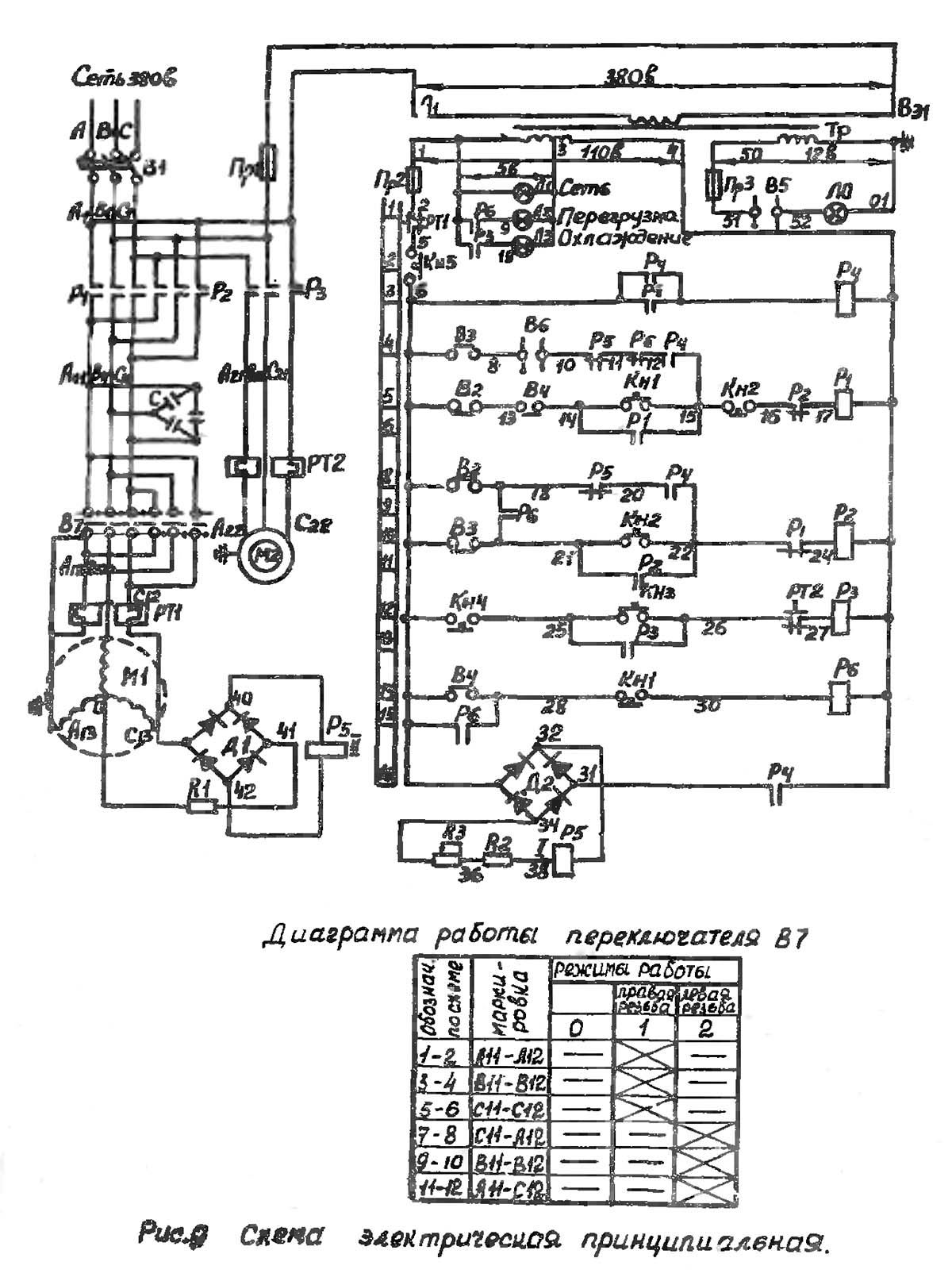
Електрична схема резьбонарезного верстата 2054м
Електрична схема резьбонарезного верстата 2054м. Скачать в увеличенном масштабе
На станке установлены 2 трехфазных короткозамкнутых асинхронных електродвигуна, і применены наступні величины напряжений переменного тока:
Для ограничения ходу пиноли вверху і внизу установлены 2 конечных выключателя В2 і ВЗ. Освещение рабочей зоны производится лампой, установленной в нише головки.
Вся пусковая аппаратура і аппаратура керування расположена в нише верстата. На боковой стенке ниши установлен Трехфазный автоматический выключатель АСТ-3 для подключения верстата к питающей сети. Аппаратура керування расположена на пульті.
При уходе за електрообладнанням необходимо периодически проверять состояние пусковой і релейной апаратури.
При осмотрах релейной апаратури особое внимание следует обращать на надежное замыкание і размыкание контактных мостиков.
Во время експлуатации електродвигателей систематически проводить их технические осмотры і профилактические ремонты.
Периодичность техосмотров устанавливается в зависимости от производственных условий, но не реже одного раза в два месяца. При профилактических ремонтах должна производиться разборка електродвигуна, внутренняя і наружная чистка, замена змазки підшибників. Смену змазки підшибників при нормальных условиях роботи следует производить через 4000 часов роботи.
Перед набивкой свежей смазкой підшипники должны быть тщательно промыты бензином. Камеру заполнить смазкой на 2/3 її объема.
При первоначальном пуске верстата необходимо прежде всего проверить надежность заземления і качество монтажа електроустаткування внешним осмотром.
После осмотра на клеммных наборах в шкафу керування, отключить провода живлення всех електродвигателей. При помощи автомата В1 Верстат подключить к цеховой сети.
При помощи кнопок і переключателей верстата, проверить четкость срабатывания магнитных пускачів і реле.
В станке предусмотрены 2 режима роботи:
Режим роботи устанавливается переключателем В6.
Нажатием кнопки Кн1 подается питание на катушку пускателя Р1,. который срабатывает, становится на самопитание і включает правое вращение електродвигуна приводу шпинделя Ml. а также пускатель нулевой защиты Р4. Двигатель разгоняется, включается реле напряжения Р5, которое разрывает, н. з. контакты 10—11 і 18—20. Происходит нарезание різьби.
В кінці обробки кулачком нажимается конечный выключатель В2, который н. з. контактом 6—13 разрывает ланцюг пускателя Р1, а н. о. контактом 6—18 подготавливает увімкнення пускателя Р2. Двигатель Ml отключается от сети, происходит конденсаторное торможение. По мере снижения оборотів двигуна падает напряжение на его статорных обмотках і при уменьшении до 20—30 В на фазе происходит отпадание реле контроля окончания конденсаторного торможения Р5. Замыкаются н. з. контакты 10—11, 18—20. Включается пускатель Р2. Начинается вторая стадия торможения противовключением з післядующим разворотом двигуна в обратную сторону і вновь включается реле Р5. Происходит вывод метчика из вироби. В исходном верхнем положении пиноли нажимается конечный выключатель В3, который отключает катушку пускателя Р2, двигатель Ml отключается от сети і тормозится. Если выбран режим «Одиночный цикл», двигатель останавливается. Если выбран режим «Автоматический цикл», то після отпадания реле Р5 включается пускатель Р1. Происходит торможение противовключением з післядующим разворотом двигуна в. обратную сторону. Цикл повторяется.
В станке предусмотрена предохранительная муфта от поломки метчика по крутящему моменту і осевому усилию. При срабатывании предохранительной муфты нажимается конечный выключатель В4. Двигатель отключается от сети, происходит торможение з післядующим разворотом. Пиноль возвращается в исходное верхнее положение.
В промежуточном положении ходу пиноли возврат її в верхнее исходное положение осуществляется кнопкой Кн2. Остановка верстата осуществляется кнопкой Кн5, «Все стоп».
Нажатием кнопки Кн3 продается напряжение на катушку пускателя Р3, который срабатывает, становится на самопитание і включает насос охлаждения. Остановка насоса охлаждения осуществляется кнопкой Кн4.
Схема передбачає нарезание правой і левой різьби. Для установки вида різьби служит переключатель В7, расположенный на панелі шкафа.
Захист елементів електроустаткування верстата от токов короткого замыкания осуществляется автоматическим выключателем і плавкими предохранителями.
Захист от токов перегрузки осуществляется тепловыми реле.
Нулевая защита осуществляется катушкой реле Р4 і реле Р3.
Верстат должен быть надежно заземлен согласно существующим правилам і нормам.

Технічні характеристики різьбонарізного верстата 2054м.
Технічні характеристики різьбонарізного верстата 2054м. Завантажити у збільшеному масштабі

Технічні характеристики різьбонарізного верстата 2054м.
Технічні характеристики різьбонарізного верстата 2054м. Завантажити у збільшеному масштабі