Виробником різьбонарізного верстата 2056 є Молодечненський верстатобудівний завод МСЗ , заснований у 1947 році.
З січня 1958 року завод став іменуватися Молодеченським верстатобудівним заводом, отримавши завдання спеціалізуватися на випуску свердлильних верстатів.
Починаючи з 1961 року, завод почав серійно випускати двошпиндельні, тришпиндельні, а потім універсальні вертикально-свердлильні верстати.
Різьбонарізний верстат 2056 сконструйований на базі вертикального свердлувального верстата 2Н118 з максимальним діаметром свердління Ø 18 мм.
Різьбонарізний напівавтомат 2056 призначений для нарізування різьблення мітчиком у виробах з чорних та кольорових металів, застосовується в серійному та масовому виробництві.
Напівавтомат 2056 працює як у напівавтоматичному, так і автоматичному циклах та використовується в автоматичних лініях.
При використанні додаткових налагодок та змінних шестерень на напівавтоматі можна нарізати дрібні метричні, дюймові, трубні та ліві різьблення.
При роботі напівавтомата 2056 з автоматичним завантажувальним пристроєм або автоматичної лінії необхідно ввести в електросхему реле часу, що контролює автоматичний цикл роботи.

Габаритні розміри робочого простору різьбонарізного верстата 2056
Габаритні розміри робочого простору різьбонарізного верстата 2056. Дивитись у збільшеному масштабі

Фото різьбонарізного верстата 2056

Фото різьбонарізного верстата 2056

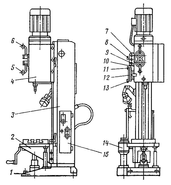
Розташування основних вузлів різьбонарізного верстата 2056
На фундаментной плите 1 Верстата установлена колонна 3, по вертикальным направляющим которой перемещают вручную стол 2 і резьбонарезную головку 4, з вмонтированными в нее коробками швидкостей і подач, шпинделем і механізмом подач.

Розташування органів керування резьбонарезным верстатом 2056
Розташування органів керування резьбонарезным верстатом 2056. Дивитись у збільшеному масштабі

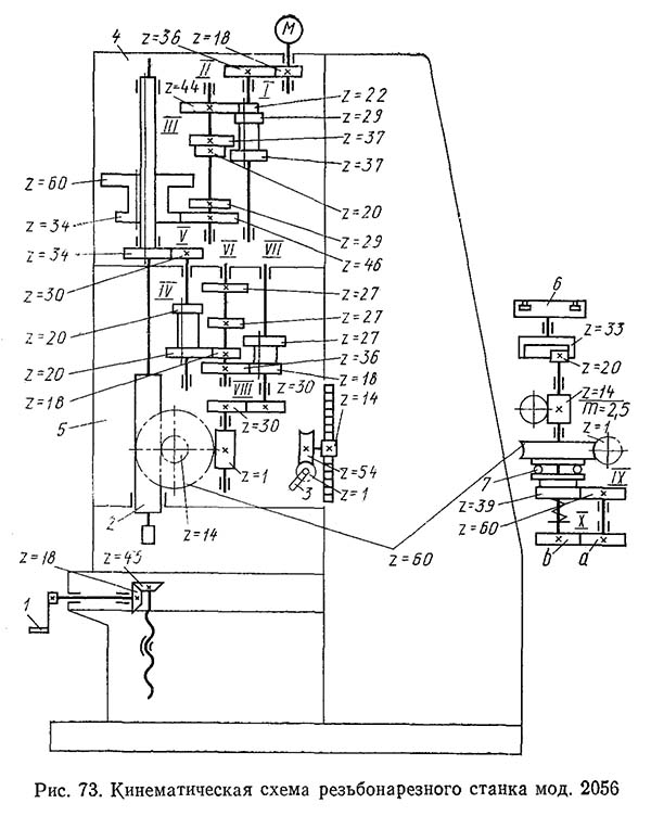
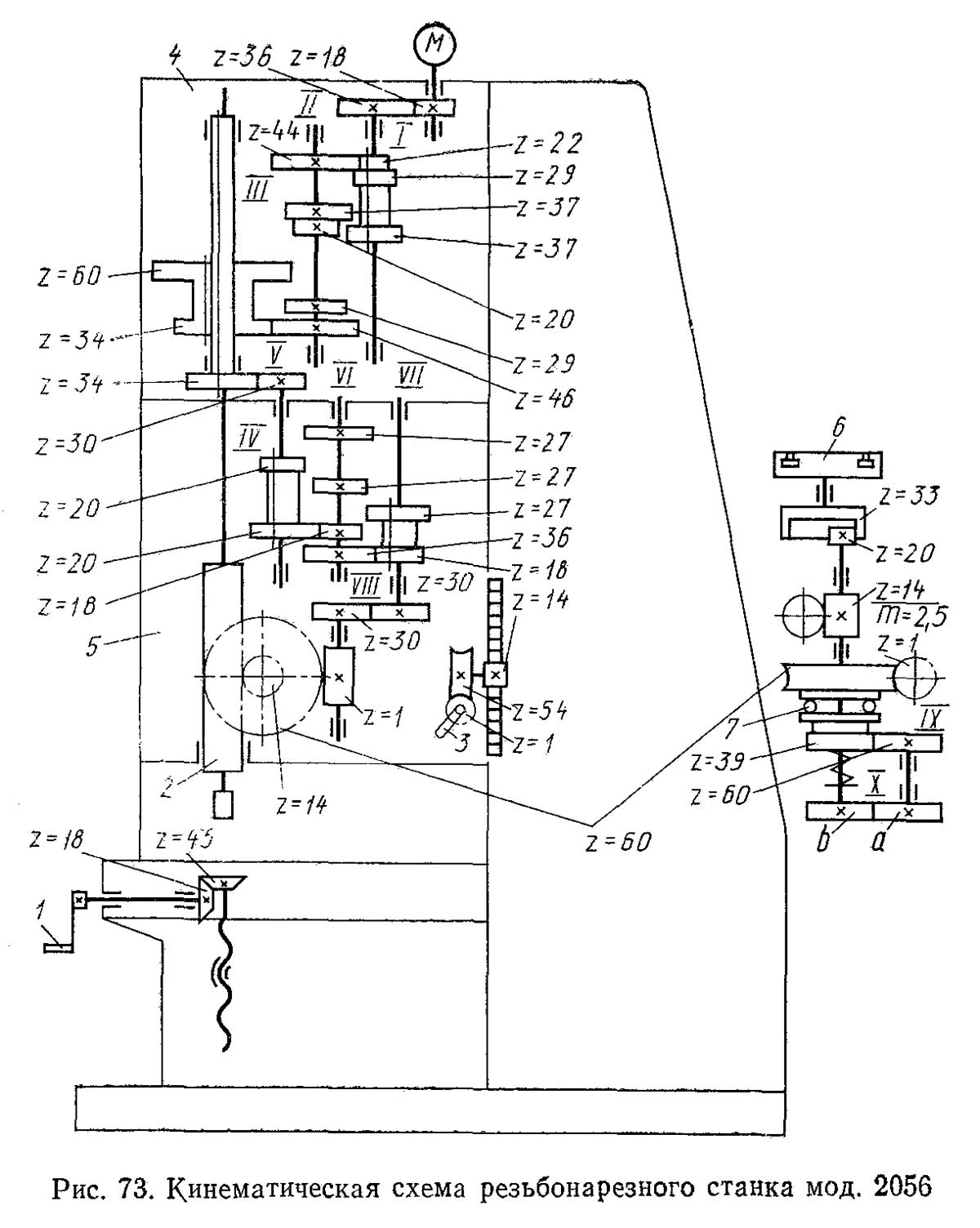
Кінематична схема резьбонарезного верстата 2056
Кінематична схема резьбонарезного верстата 2056. Дивитись у збільшеному масштабі
Движения в станке:
Вращательное рух шпиндель IV верстата получает от електродвигуна М (N = 1,3 кВт, n = 1300 об/мин) через коробку швидкостей 4. Переключая в коробке швидкостей блочные зубчасті колеса z = 22—29—37 на валу I і z = 34 — 60 на шлицевой втулке III шпинделя, сообщают шпинделю шесть различных частот обертання в диапазоне 112—1120 об/мин.
Наименьшая частота обертання шпинделя:
nшп.min = 1300 (18/36) (22/44) (20/60) = 112 об/мин
Осевое перемещение шпинделя, согласованное з его вращением, обеспечивается в станке коробкой подач 5 і механізмом подач. Шпиндель верстата смонтирован на шарикопідшипниках в гильзе 2, на наружной поверхности которой нарезана рейка, находящаяся в зацеплении з реечным зубчатым колесом z = 14. Рух к реечной паре передається от зубчатого колеса z = 34, установленного на шлицевой втулке шпинделя в коробке швидкостей, і далее по следующей кінематичної ланцюги: зубчатое колесо z = 30, трехваловая коробка подач з двумя блоками зубчатых колес z = 20—20 і z = 18—27, зубчатая пара (30/30), червячная пара (1/60), предохранительная шариковая муфта 7, зубчатая передача (39/60), сменные зубчасті колеса (a/b) гітари подач, реечное зубчатое колесо z = 14, гильза со шпинделем. Четырехскоростная коробка подач і набор сменных зубчатых колес гітари подач позволяют настроить верстат на нарезание восьми различных шагов різьб в диапазоне 1..3,5 мм.
Рівняння для вычисления, например, наименьшего шага нарезаемой різьби имеет вид:
P = 1 (34/30) (20/27) (27/27) (30/30) (1/60) (39/60) (a/b) · 3,14 · 2,5 · 14
при
a/b = (50/50) Pmin = 1 мм
Вывинчивание метчика из нарезаемого отверстия обеспечивается реверсированием електродвигуна.
Отсчет величины вертикального переміщення шпинделя производят по лимбу 6, рух которому передається з вала реечного зубчатого колеса з помощью зубчатой передачи внутреннего зацепления. В пазах лимба устанавливают кулачки, которые ограничивают величину вертикального переміщення шпинделя і управляют циклом роботи верстата.

Резьбонарезная головка верстата 2056
Резьбонарезная головка верстата 2056. Дивитись у збільшеному масштабі

Резьбонарезная головка верстата 2056
Резьбонарезная головка верстата 2056. Дивитись у збільшеному масштабі

Резьбонарезная головка верстата 2056
Резьбонарезная головка верстата 2056. Дивитись у збільшеному масштабі
Шариковая предохранительная муфта в конструкції резьбонарезной головки предотвращает поломку инструмента в случае его осевой перегрузки (нумерация деталей резьбонарезной головки аналогична рис. 73).
При нарезании на станке левых різьб необходимо в гітарі подач дополнительно установить еще одну пару сменных зубчатых колес, которые изменят направление осьового переміщення шпинделя при неизменном направлении его обертання. На станке возможно нарезание метрических різьб з более мелким шагом (0,5—0,8 мм), чем указано в технической характеристике, а также дюймовых і трубных, но для етого необходимо мати дополнительный комплект сменных зубчатых колес гітари подач.
Вспомогательные установочные вертикальные переміщення стола і резьбонарезной головки производят вручную, соответственно рукояткой 1 через зубчатую коническую і винтовую передачи і рукояткой 3 через червячную і реечную передачи (см. рис. 73).
По справочникам определяют скорость різання для конкретных условий нарізання різьби і устанавливают рукояткой 6 (см. рис. 72) требуемую частоту обертання шпинделя верстата. Исходя из шага нарезаемой різьби, устанавливают в определенное положение рукоятку 5 переключения подач, подбирают і устанавливают сменные зубчасті колеса гітари подач. Закрепляют метчик в резьбонарезном патроне, установленном в шпинделе верстата. С помощью гаек (см. рис. 74), сжимающих пружину 8, регулируют предохранительную шариковую муфту 7 на передачу определенной осевой силы, предотвращающей возможность поломки инструмента от перегрузки. Контроль за регулировкой муфты ведут по динамометру. Допустимый крутящий момент на метчике обеспечивается регулировкой резьбонарезного патрона.
Заготовку закрепляют на столе верстата (см. рис. 72) і переміщенням стола или резьбонарезной головки устанавливают метчик на расстоянии 5—15 мм над її торцом. Переставными кулачками 11 і 13 на лимбе 12 ограничивают вертикальний ход шпинделя.
Верстат можно настраивать на работу в автоматическом і одиночном режимах. Для роботи верстата в автоматическом режиме переключатель 8 цикла устанавливают в положение «А» (на рис. не показано) і нажимают на пульті керування кнопку включателя обертання шпинделя «Вправо». Включается правое вращение шпинделя і рабочая подача метчика вниз. По окончании робочого ходу кулачок 11 нажимает на микропереключатель 9, в результате електродвигатель реверсируется, шпиндель получает левое вращение і движется вверх. В крайнем верхнем положении шпинделя кулачок 13 лимба нажимает на микропереключатель 10, происходит реверс електродвигуна і цикл повторяется. Прервать его можно только нажатием кнопки «Стоп».
Работа верстата в одиночном режиме отличается от автоматичного только тем, что переключатель 8 ставят в положение «О» (на рисунке не показано), а електродвигатель після возврата шпинделя в крайнее верхнее положение і нажатия кулачка на микропереключатель отключается і тормозится.

Електрична схема резьбонарезного верстата 2056
Електрична схема резьбонарезного верстата 2056. Скачать в увеличенном масштабе
Резьбонарезной верстат може работать в трех режимах резьбонарізання:
Перекючатель цикла устанавливается в положение "А". Нажимается кнопка "Вправо". Шпиндель, настроенный на нужную скорость обертання і подачу совершает непрерывные руху:
Перекючатель цикла устанавливается в положение "О". Нажимается кнопка "Вправо". Шпиндель, настроенный на нужную скорость обертання і подачу совершает один цикл резбонарізання:
| Найменування параметру | 2H118 | 2056 |
|---|---|---|
| Основні параметри верстата | ||
| Найбільший умовний діаметр свердління сталі σ = 50..60 кг*мм 2 , мм | 18 | - |
| Найбільший діаметр різьби, що нарізається, мм | - | M18 |
| Найменша та найбільша відстань від торця шпинделя до столу, мм | 0..650 | 0..650 |
| Відстань від осі вертикального шпинделя до направляючих стійки (виліт), мм | 200 | 200 |
| Робочий стіл | ||
| Розміри робочої поверхні столу (довжина x ширина), мм | 320 x 360 | 320 x 360 |
| Число Т-подібних пазів Розміри Т-подібних пазів | 3 | 3 |
| Найбільше вертикальне переміщення столу (вісь Z), мм | 350 | 350 |
| Переміщення столу на один оберт рукоятки, мм | 2,4 | 2,4 |
| Шпиндель | ||
| Найбільше переміщення шпиндельної головки по колоні, мм | 300 | 300 |
| Найбільше осьове переміщення шпинделя, мм | 150 | 150 |
| Переміщення шпиндельної головки на один оборот маховичка, мм | 4,4 | - |
| Переміщення шпинделя на один поділ лімба, мм | 1 | - |
| Переміщення шпинделя на один оборот маховичка-рукоятки, мм | 110 | - |
| Частота обертання шпинделя, об/хв (кількість швидкостей) | 180..2800 (9) | 112, 180, 280, 450, 710, 1120 (6) |
| Найбільший допустимий момент, що крутить, кг*см | 880 | |
| Конус шпинделя | Морзе 2 | Морзе 2 |
| Механіка верстата | ||
| Межі вертикальних робочих подач на один оборот шпинделя, мм (число подач) | 0,1..0,56 (6) | 0,5..3,5 (12) |
| Крок нарізання різьблення, мм | - | 1,00; 1,25; 1,50; 1,75; 2,00; 2,50; 3,00; 3,50 (8) |
| Найбільша допустима сила подачі, кгс | 560 | |
| Гальмування шпинделя | є | |
| Максимальна кількість реверсів шпинделя, рев/хв | 40 | |
| Привід | ||
| Електродвигун приводу головного руху | AOL2-22-4C2 | 4АС 80А4С1 |
| Електродвигун приводу головного руху, кВт (об/хв) | 1,5 (1420) | 1,3 (1300) |
| Електродвигун насоса, кВт (об/хв) | 0,12 (2800) | 0,12 (2800) |
| Електронасос охолоджувальної рідини | ПА-22 | PA-22 E |
| Габарит та маса верстата | ||
| Габарити верстата (довжина ширина висота), мм | 870 х 590 х 2080 | 870 х 650 х 2225 |
| Маса верстата, кг | 450 | 480 |