Виробником радіально-свердлувальних верстатів 2А55 є Одеський Завод Радіально-Свердлильних Верстатів , заснований у 1884 році.
Радіально-свердлильний верстат 2А55 замінив застарілу модель 255 і був замінений на більш досконалу модель - 2Н55 .
Свердлильний верстат 2А55 служить для свердління, розсвердлювання, зенкерування, підрізання торців в обох напрямках, розгортання, розточування отворів і нарізування різьблення мітчиками у великих деталях, переміщення яких по столу верстата здійснювати важко, а в деяких випадках і неможливо.
Радіальний свердлильний верстат 2А55 призначений для отримання наскрізних та глухих отворів в деталях за допомогою свердл, для розгортання та чистової обробки отворів, попередньо отриманих литтям або штампуванням, та для виконання інших операцій. Головний рух та рух подачі у свердлильному верстаті повідомляються інструменту.
Шпиндель верстата 2А55 отримує 19 ступенів обертання від коробки швидкостей, що забезпечує вільний вибір швидкостей різання в діапазоні від 30 до 1900 об/хв.
Кінець шпинделя - конус морзе КМ5 виконання 1 (для встановлення хвостовика інструменту з лапкою) - за ГОСТ 24644 (Кінці шпинделів та хвостовики інструментів свердлильних, розточувальних та фрезерних верстатів).
Механізм подач забезпечує 12 подач шпинделя в діапазоні від 0,05 до 2,2 мм/об.
Застосування пристосувань та спеціального інструменту значно підвищує продуктивність верстата та розширює коло можливих операцій, дозволяючи проводити на ньому свердління квадратних отворів, виточення внутрішніх канавок, вирізування круглих пластин з листа тощо. При відповідному оснащенні на верстаті можна виконувати багато операцій, характерних для розточувальних верстатів.
Компонування верстата 2А55 традиційне для радіально-свердлильних верстатів включає:
2С550, 2С550А, SRB50 - Ø50 - виробник Стерлітамак - М.Т.Е. Стерлітамакський верстатобудівний завод, ВАТ
2К550 - Ø50 - виробник Гомельський завод верстатних вузлів, РУП
АС2550 - Ø50 - виробник Астраханський верстатобудівний завод, ВАТ

Габарит робочого простору радіально-свердлувального верстата 2а55

Фото радіально-свердлувального верстата 2а55

Фото радіально-свердлувального верстата 2а55
Фото радіально-свердлувального верстата 2а55. Дивитись у збільшеному масштабі

Загальний вигляд та компонування радіально-свердлувального верстата 2а55
Загальний вигляд та компонування верстата показані на рис. 30 а.
Основні вузли верстата: нижня плита 1, колона 2, гільза 3, траверса (рукав) 4, шпиндельна бабка 6 та стіл 23.
При роботі на радіально-свердлильних верстатах заготовка, що обробляється, встановлюється на столі 23 або безпосередньо на нижній плиті 1 Верстата. Так як заготівля в цьому випадку нерухома, після закінчення обробки кожного отвору необхідно переміщувати шпиндель верстата в поперечному напрямку для обробки інших отворів.
Частота обертання шпинделя радіально-свердлувального верстата 2А55 регулюється механічним шляхом за допомогою коробки швидкостей в діапазоні від 30 до 1500 об/хв (12 швидкостей). Привід подачі радіально-свердлильного верстата виконаний від головного Д1 двигуна через коробку подач. Швидкість подачі регулюється від 0,05 до 2,2 мм/об, максимальне зусилля подачі F = 20000 H.
Траверса радіально-свердлильного верстата може повертатися навколо осі колони на 360° і вертикально переміщається колоною на 680 мм зі швидкістю 1,4 м/хв. Затискач траверси на колоні проводиться автоматично. Усі органи керування верстатом зосереджені на свердлильній головці, що забезпечує значне скорочення допоміжного часу під час роботи на верстаті.
Зміна положення шпинделя здійснюється поворотом траверси 4 і 3 гільзи навколо осі колони 2 вручну. При цьому шпиндель 13 переміщається дугою кола. Крім того, обертанням маховичка 12 вручну шпиндельну бабку і шпиндель можна переміщати напрямними траверси щодо осі колони в радіальному напрямку.
Шляхом повороту траверси та радіального переміщення шпиндельної бабки можна встановити шпиндель у будь-яке місце, розташоване на відстані 450-1500 мм від осі колони 2.

Розміщення органів керування радіально-свердлильним верстатом 2а55
Розміщення органів керування радіально-свердлильним верстатом 2а55. Дивитись у збільшеному масштабі
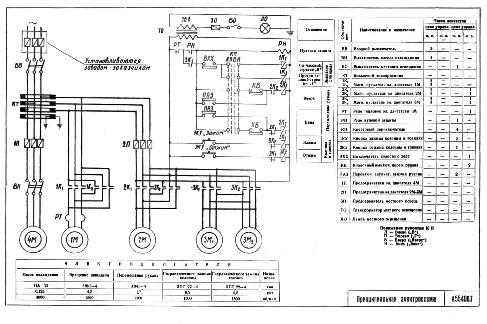
Питание ланцюгів електроустаткування осуществляется следующими напряжениями:
Електроустаткування верстата предназначено для подключения к трехфазной сети переменного тока з глухозаземленным или изолированным нейтральным проводом.
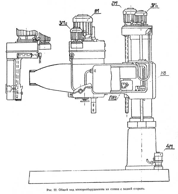
Верстат оборудован пятью електродвигунами (рис.21 і 22).
Общая защита от токов короткого замыкания передбачаєся предохранителями, установленными в распределительном шкафу потребителя на силу тока 25 А при напряжениях сети 380 ... 440 В і 3 А при напряжении 220 В.
Питание ланцюгів керування в верстатах нормального исполнения производится сетевым напряжением, а в верстатах тропического исполнения через трансформатор пониженным напряжением 127 в.
Верстат снабжен встроенным светильником местного освещения ЛО з лампой на напряжение 36 в.
По особому заказу може быть установлена лампа на напряжение 24 в.
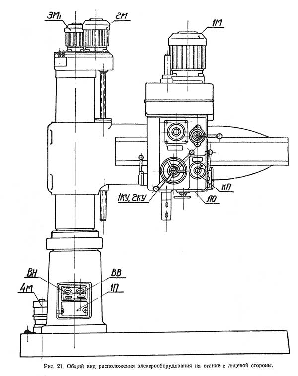
Вводный щит находится в цоколе колонны (рис. 21), на нем размещены вводной пакетный выключатель ВВ, пакетный выключатель ВН і плавкие предохранители 1П електронасоса охлаждения. Четыре остальных електродвигуна і аппаратура керування ими размещены на подвижных частях верстата. Питание і защитное заземление их осуществляется через кольцевой токоприемник КТ, расположенный в верхней частини колонны. Електродвигун обертання шпинделя 1М имеет тепловую защиту. Двигатель переміщення рукава 2М, двигатели зажиму колонны і головки ЗМ1 і ЗМ2, работающие в кратковременном режиме, тепловой защиты не имеют і снабжены плавкими предохранителями 2П.
Керування двигунами сверлильной головки 1М і переміщення рукава 2М производится от крестового переключателя КП, не имеющего самовозврата в нулевое положение.
Двигатель переміщення рукава 2М выполняет две функции: перемещает рукав і по окончании переміщення зажимает его на колонне. Это осуществляется автоматическим реверсированием двигуна по окончании переміщення рукава і соответствующей конструкцией механізма переміщення (рис. 10).
В связи з тем, что для большинства операций, выполняемых на станке, характерна малая длительность, електродвигатель приводу шпинделя може быть нагружен сверх нормальной мощности 4,5 кВт. Допустимая перегрузка определяется на общих основаниях в зависимости от режима роботи-

Електрична схема радиально-сверлильного верстата 2а55

Список елементів к схеме електрической сверлильного верстата 2А55
Список елементів к схеме електрической сверлильного верстата 2А55. Дивитись у збільшеному масштабі
Питание от сети через вводной пакетник ВВ подается на кольцевой токоприемник КТ і через предохранители 1П і пакетник ВН к електронасосу 4М (рис. 23)
Напряжение з контактных колец снимается щетками і подастся к контактам реверсивному магнитному пускателю 1K1—1K2 двигуна приводу шпинделя 1М. Через предохранители 2П к реверсивному магнитному пускателю 2К1—2К2 двигуна переміщення рукава 2М і к реверсивному магнитному пускателю 3K1—ЗК2 двигателей зажиму колонны і головки 3M1 і ЗМ2.
Одновременно напряжение поступает на ланцюги керування і местного освещения.
Ланцюг керування питается через нормально закрытые контакты теплового реле РТ і контакты реле нулевой защиты РН. При нажатии кнопки 1КУ «зажать», включается пускатель ЗK1 который своими контактами замыкает ланцюг катушки реле РН. Реле РН, включившись, переходит на самопитание і подготавливает питание ланцюгів керування після прекращения нажатия 1КУ.
При исчезновении» напряжения реле РН отключается, предотвращая возможность самозапуска двигателей, включенных крестовым переключателем КП. Восстановление живлення ланцюги керування при появлении напряжения производится повторным нажатием кнопки 1КУ «Зажим».
Увімкнення двигателей 1М і 2М достигается замыканием соответствующих контактов крестового переключателя КП в зависимости от требуемого направления обертання.
При включении КП на перемещение рукава начинает вращаться двигатель 2М, при етом винт переміщення сначала вращается вхолостую, перемещая сидящую на нем гайку 4 (рис. 10). В ето время производится отжим рукава і з помощью автоматичного переключателя ПАЗ подготавливается автоматический реверс двигуна 2М після виключення крестового переключателя. Реверс необходим (ля автоматичного зажиму рукава після окончания переміщення, что достигается холостым вращением гвинта в обратном направлении до зажиму рукава і разрыва ланцюги керування переключателем ПАЗ.
При подъеме і опускании рукава крайние положения ограничиваются конечным выключателем KB, разрывающим ланцюги катушек 2K1 і 2К2.
Магнитные пускатели 3K1 і ЗК2 двигателей зажиму 3M11 і 3М2 работают только в период нажатия кнопок 1КУ і 2КУ.
Лампа местного освещения ЛО включается посредством однополюсного выключателя ВО.
На верстатах в обычном виконанні рукоятка фрікциону в исходном положении нажимает на конечный выключатель ограничителя холостого ходу ВХХ, который разрывает ланцюг керування двигателем 1М. При включении фрікциону ВХХ освобождается і •восстанавливает ланцюги керування двигателем 1М. На верстатах тропического исполнения ограничитель холостого ходу ВХХ не устанавливается.
Общая защита електроустаткування верстата от токов короткого замыкания осуществляется предохранителями, установленными в распределительном шкафу потребителя.
Тепловое реле РТ защищает двигатель приводу шпинделя от перегрузки при длительной перегрузке.
Плавкие предохранители 1П, 2П, ЗП защищают от токов короткого замыкания ланцюги двигателей 4М, 2М, 3М1; і 3М2 і ланцюги керування і местного освещения.
Реле нулевой защиты РН предохраняет двигатели 1М і 2М от самозапуска при включенном крестовом переключателе і восстановлении подачі напряжения після временного перерыва.
Конечный выключатель КВ ограничивает верхнее і нижнее положения рукава на колонне.
Переключатель зажиму ПАЗ обеспечивает автоматический реверс двигуна 2М переміщення рукава при отключении крестового переключателя КП для зажиму рукава на колонне.
Примечание. * Здесь і ниже обозначение електроустаткування соответствует принципиальной електросхеме.
**В скобках указаны обороты електродвигателей при частоте 60 пер/сек.

Розташування електроустаткування на сверлильном станке 2А55
Розташування електроустаткування на сверлильном станке 2А55. Дивитись у збільшеному масштабі

Розташування електроустаткування на сверлильном станке 2А55
Розташування електроустаткування на сверлильном станке 2А55. Дивитись у збільшеному масштабі

Монтажная схема радиально-сверлильного верстата 2А55
1. Монтажная схема радиально-сверлильного верстата 2А55. Дивитись у збільшеному масштабі
2. Монтажная схема радиально-сверлильного верстата 2А55. Дивитись у збільшеному масштабі

Монтажная схема радиально-сверлильного верстата 2А55
1. Монтажная схема радиально-сверлильного верстата 2А55. Дивитись у збільшеному масштабі
2. Монтажная схема радиально-сверлильного верстата 2А55. Дивитись у збільшеному масштабі

Таблиця условных обозначений радиально-сверлильного верстата 2А55
Таблиця условных обозначений радиально-сверлильного верстата 2А55. Дивитись у збільшеному масштабі
| Наименование параметра | 255 | 2а55 | 2н55 | 2м55 | 2а554 |
|---|---|---|---|---|---|
| Основні параметри верстата | |||||
| Класс точності верстата | Н | Н | Н | Н | Н |
| Наибольший условный диаметр сверления в стали 45, мм | 50 | 50 | 50 | 50 | 50 |
| Наибольший условный диаметр сверления в чугуне, мм | 63 | 63 | 63 | 63 | |
| Диапазон нарезаемой різьби в стали 45, мм | М52 х 5 | ||||
| Расстояние от оси шпинделя до направляющей колонны (вылет шпинделя), мм | 450...1500 | 450...1500 | 400...1600 | 375...1600 | 375...1600 |
| Наибольшее горизонтальное перемещение сверлильной головки по рукаву, мм | 1125 | 1050 | 1200 | 1225 | 1225 |
| Наименьшее і наибольшее расстояние от торца шпинделя до плиты, мм | 470...1500 | 470...1500 | 450...1600 | 450...1600 | 450...1600 |
| Наибольшее вертикальное перемещение рукава по колонне (установочное), мм | 680 | 680 | 800 | 750 | 750 |
| Скорость вертикального переміщення рукава по колонне, м/мин | 1,4 | 1,4 | 1,4 | ||
| Наибольшее осевое перемещение пиноли шпинделя (ход шпинделя), мм | 350 | 350 | 350 | 400 | 400 |
| Угол поворота рукава вокруг колонны, град | 360° | 360° | 360° | 360° | 360° |
| Рамер поверхности плиты (ширина длина), мм | 968 х 2430 | 1000 х 2530 | 1000 х 2555 | 1020 х 2555 | |
| Наибольшая масса инструмента, устанавливаемого на станке, кг | 15 | ||||
| Шпиндель | |||||
| Диаметр гильзы шпинделя, мм | 90 | ||||
| Обозначение кінця шпинделя по ГОСТ 24644-81 | Морзе 5 | Морзе 5 | Морзе 5 | Морзе 5 | Морзе 5 АТ6 |
| Частота прямого обертання шпинделя, об/мин | 30..1700 | 30...1900 | 20...2000 | 20...2000 | 18...2000 |
| Количество швидкостей шпинделя прямого обертання | 19 | 19 | 21 | 21 | 24 |
| Частота обратного обертання шпинделя, об/мин | 34..1700 | 37,4...1900 | |||
| Количество швидкостей шпинделя обратного обертання | 18 | ||||
| Пределы рабочих подач на один оборот шпинделя, мм/об | 0,03..1,2 | 0,05...2,2 | 0,056...2,5 | 0,056...2,5 | 0,045...5,0 |
| Число ступеней рабочих подач | 18 | 12 | 12 | 12 | 24 |
| Пределы рабочих подач на один оборот шпинделя при нарезании різьби, мм | 1,0...5,0 | ||||
| Перемещение шпинделя на одно деление лимба, мм | 1 | 1 | 1 | 1 | |
| Перемещение шпинделя на оборот лимба, мм | 122 | 122 | 120 | ||
| Наибольший допустимый крутящий момент, кгс*см | 7500 | 7100 | 7100 | 7100 | |
| Наибольшее усилие подачі, кН | 20 | 20 | 20 | 20 | |
| Зажим обертання колонны | Гідро | Гідро | Гідро | Гідро | |
| Зажим рукава на колонне | Электр | Электр | Электр | Электр | |
| Зажим сверлильной головки на рукаве | Гідр | Гідр | Гідр | Гідр | |
| Електроустаткування. Привод | |||||
| Количество електродвигателей на станке | 5 | 7 | 6 | 7 | |
| Електродвигун приводу головного руху, кВт (об/мин) | 4,3 (1500) | 4,5 | 4 | 4,5 | 5,5 |
| Електродвигун приводу переміщення рукава, кВт (об/мин) | 1,5 (1500) | 1,7 | 2,2 | 2,2 | 2,2 |
| Електродвигун приводу гідрозажиму колонны, кВт (об/мин) | 0,25 (1500) | 0,5 | 0,5 | 0,55 | 0,55 |
| Електродвигун приводу гідрозажиму сверлильной головки, кВт (об/мин) | 0,5 | 0,5 | - | - | |
| Електродвигун насоса охлаждающей жидкости, кВт (об/мин) | 0,1 (3000) | 0,125 | 0,125 | 0,125 | 0,125 |
| Електродвигун набора швидкостей, кВт (об/мин) | - | - | 0,15 | 0,15 | 0,15 |
| Електродвигун набора подач, кВт | - | - | 0,15 | 0,15 | 0,15 |
| Електродвигун приводу ускоренного переміщення шпинделя, кВт | - | - | - | 0,55 | |
| Суммарная мощность установленных електродвигателей, кВт | 8,9 | ||||
| Габарити і масса верстата | |||||
| Габарити верстата (длина ширина высота), мм | 2500 х 970 х 2250 | 2625 х 968 х 3265 | 2545 х 1000 х 3315 | 2665 х 1020 х 3430 | 2665 х 1030 х 3430 |
| Масса верстата, кг | 4300 | 4100 | 4100 | 4700 | 4700 |