Виробником радіально-свердлувальних верстатів 2М55 є Одеський Завод Радіально-Свердлильних Верстатів , заснований у 1884 році.
Радіально-свердлильний верстат моделі 2М55 замінив застарілий верстат цієї серії 2Н55 .
Верстат радіально-свердлильний 2М55 призначений для свердління, розсвердлювання, зенкерування, розгортання, розточування отворів, нарізування різьблення мітчиками, підрізання торців різцем, а також виконання інших аналогічних операцій при обробці різних корпусних деталей в механічних цехах одиничного, дрібносерого складальних цехах заводів важкого транспортного машинобудування. При оснащенні верстата пристроями та спеціальним інструментом його можна використовувати для високопродуктивної обробки великогабаритних деталей у великосерійному виробництві.
Радіально-свердлильний верстат 2М55 має двоколонне компонування верстатної частинини, що дозволяє створити жорстку конструкцію вузла, що не допускає зміщення осі шпинделя при затиску колони. Спеціальний затискач колони центрального типу створює гальмівний момент, що гарантує високопродуктивне свердління.
Для повороту колони потрібно незначне зусилля на найменшому радіусі свердління, що також забезпечує високу продуктивність роботи та знижує стомлюваність оператора. Широкий діапазон чисел оборотів і подач шпинделя забезпечує високопродуктивну роботу за будь-яких поєднаннях оброблюваних матеріалів, інструменту розмірів тощо.
Преселективний дистанційний електрогідравлічний пристрій дозволяє змінювати режими з попереднім набором.
Верстат 2М55 має механізм автоматичного вимкнення при досягненні заданої глибини свердління.
Врівноваження шпинделя забезпечується спеціальною противагою, що допускає зручне регулювання з робочого місця у разі зміни маси інструменту.
Верстат 2М55 має наступні переваги в порівнянні з моделлю 2н55, що раніше випускалася:
Категорія якості найвища.
Клас точності верстата Н згідно з ГОСТ 8-77.

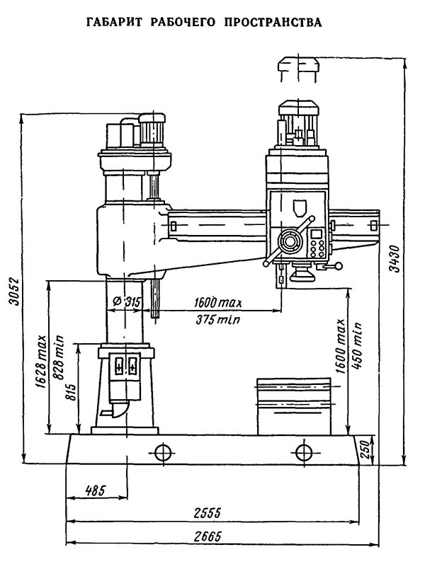
Габарит робочого простору свердлильного верстата 2м55

Фото радіально-свердлувального верстата 2м55

Фото радіально-свердлувального верстата 2м55

Обробка великогабаритних деталей на радіально-свердлильному верстаті 2м55

Свердлильна головка радіально-свердлувального верстата 2м55

Свердлильна головка радіально-свердлувального верстата 2м55
Свердлильна головка радіально-свердлувального верстата 2м55. Дивитись у збільшеному масштабі

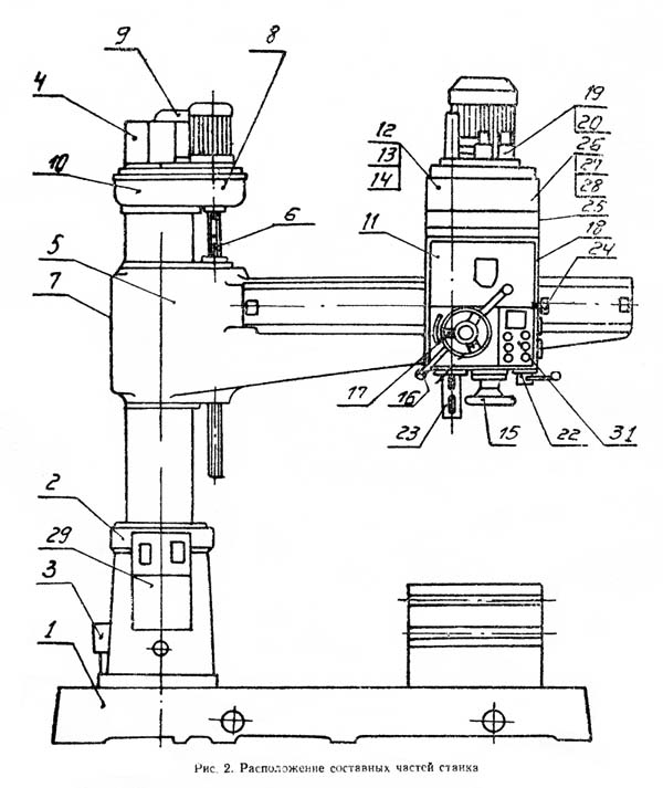
Розташування складових частинин свердлувального верстата 2м55

Пульт керування радиально-сверлильным верстатом 2м55

Розташування органів керування радиально-сверлильным верстатом 2м55
Питание ланцюгів електроустаткування осуществляется следующими напряжениями:
Питание верстата осуществляется от сети трехфазного переменного тока напряжением 380 В, частотой 50 Гц.
На станке установлены електродвигатели:

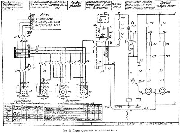
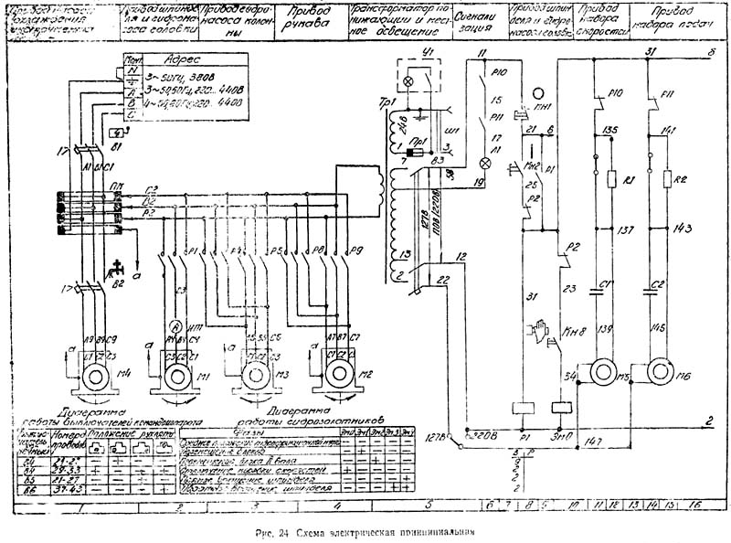
Електрична схема радиально-сверлильного верстата 2м55
Схема електрична радиально-сверлильного верстата 2М55. Дивитись у збільшеному масштабі

Електрична схема радиально-сверлильного верстата 2м55
Схема електрична радиально-сверлильного верстата 2М55. Дивитись у збільшеному масштабі

Схема розположення електроустаткування на станке 2М55

Список елементів радиально-сверлильного верстата 2М55
Список елементів радиально-сверлильного верстата 2М55. Дивитись у збільшеному масштабі
Вводной выключатель В1 і выключатель насоса охлаждения В2 расположены на вводном щите, укрепленном на цоколе колонны.
Панель керування расположена в нише рукава на подвижной частини верстата, поетому питание і защитное заземление осуществляются через кольцевой токосъемник ПК-Пульт керування і пульт набора режимов расположены на сверлильной головке.
Нагрузка електродвигуна шпинделя контролируется указателем нагрузки ИП (А) на пульті керування.
Для подготовки верстата к работе произведите следующее:
Керування наладочными операциями (рукав вверх—вниз, зажим—отжим колонны і головки) осуществляется соответствующими кнопками.
Предварительный набор режимов може быть осуществлен как при нерухомому, так і при работающем шпинделе, рукоятками набора швидкостей і подач В11 і В12. Поворот гідропреселектора осуществляется автоматически і контролируется сигнальной лампочкой Л1. Загорание сигнальной лампочки указывает на окончание предварительного набора режима.
Увімкнення нового режима осуществляется рукояткой командоаппарата. Рукоятку следует приподнять і повернуть влево только після загорания сигнальной лампочки Л1.
Для увімкнення обертання шпинделя без изменения режимов необходимо рукоятку командоаппарата просто повернуть в одно из рабочих положений.
Для остановки шпинделя необходимо рукоятку командоаппарата вернуть в нейтральное положение.
Остановка верстата осуществляется кнопкой Кн1 «0» з красным грибовидным толкателем.
Увімкненням вводного выключателя В1 напряжение через кольцевой токосъемник ПК подается к панелі керування.
В исходном положении верстата рукоятка командоаппарата должна находиться в нейтральном положении, при котором контакты В4(21—27), В5(21—27), В6(37—43) - разомкнуты, а В4(29—33) замкнут. Приступая к работе на станке, необходимо нажать кнопку Кн2 «I». При етом включается магнитный пускатель Р1 двигуна шпинделя Ml і насоса гідравлики сверлильной головки (стрелка указателя нагрузки ИП (А) отклоняется). После етого можно осуществить все необходимые наладочные операции (отжим—зажим сверлильной головки і колонны, перемещение рукава і головки, выбор необходимой частоти обертання шпинделя і величины подачі инструмента). Рассмотрим работу схеми во всех етих случаях.
Зажим сверлильной головки і колонны производится нажатием на кнопку КнЗ →I←), при етом включаются магнитный пускатель Р4 і електродвигатель гідронасоса колонны М3, а также реле Р6 і гідрозолотники зажиму головки Эм5 і зажиму колонны Эм6.
Отжим сверлильной головки і колонны производится нажатием на кнопку Кн4 ←II→ ), при етом включаются: магнитный пускатель Р5, електродвигатель гідронасоса колонны М3, выключаются реле Р6 і гідрозолотники зажиму Эм5 і Эм6.
Для того чтобы отжать сверлильную головку, оставив колонну в зажатом состоянии, необходимо нажать кнопку Кн5, з помощью которой отключаются гідрозолотник Эм5 і реле Р6. Відключення гідрозолотника Эм5 при работающем гідронасосе воспринимается гідромеханізмом, і происходит отжим головки. Механізм отжима колонны команды не получает.
Поворот рукава і перемещение сверлильной головки осуществляются вручную. Подъем рукава осуществляется нажимом кнопки Кн6, включается реле Р7 і становится на самопитание, контакт реле Р7 (31—67) включает магнитный пускатель Р8 і електродвигатель переміщення рукава М2, но подъема сразу не произойдет. Винт переміщення рукава сначала вращается вхолостую, перемещая сидящую на нем гайку отжима.
Завершив отжим рукава, гайка отжима входит в зацепление з грузовой гайкой, після чего начинается перемещение рукава вверх. Конечный выключатель В8 (31—77) подготавливает увімкнення пускателя Р9 і реверс електродвигуна М2, необходимый для автоматичного зажиму рукава в новом положении.
Подъем рукава прекращается нажатием на кнопки Кн7 или Кн1. В крайнем верхнем положении рукав останавливается от воздействия упора на конечный выключатель В9.
Опускание рукава производится в толчковом режиме з помощью кнопки Кн7. Отжим і зажим рукава происходит так же, как і при подъеме, автоматически.
Схема передбачає преселективный набор швидкостей і подач во время роботи верстата путем проворота кранов гідропреселекторов набора швидкостей і подач серводвигунами М5 і М6.
При перестановке переключателя B11 на новую скорость реле Р10 оказывается отключенным вследствие рассогласования положений переключателей В11 і В13. Размыкающий контакт реле Р10 (31—135) включает двигатель М5, а замыкающий контакт Р10 (11—15) гасит сигнальную лампу Л1 на пульті. Двигатель М5, включившись, начнет перемещать движок переключателя В13 до наступления согласования з измененным положением переключателя В11.
При наступлении согласования включается реле Р10, отключается електродвигатель М5 і загорается сигнальная лампа Л1. Набор подач происходит таким же образом. Загорание сигнальной лампочки Л1 сигнализирует о готовности верстата к включению нового режима роботи.
Увімкнення нового, заранее набранного режима осуществляется подъемом з післядующим поворотом рукоятки командоаппарата влево.
Поднимая рукоятку, мы замыкаем контакт 37—43 микровыключателя В6, включается і становится на самопитание реле часу РЗ і включается гідрозолотник Эм1 переключения блоков шестерен, а также, в зависимости от положения, переключается В11(45—47), включается (либо не включается) гідрозолотник керування блоком II вала. Происходит перемещение блоков соответственно положению крана гідропреселектора, заданному рукоятками набора режимов (переключатели В11 і В12).
Увімкнення прямого обертання шпинделя осуществляется поворотом рукоятки командоаппарата влево, при етом замыкается контакт микровыключателя В4 (21—27) і срабатывает гідрозолотник Эм4, сжимая верхние диски фрикционной муфты.
Увімкнення обратного обертання шпинделя осуществляется поворотом рукоятки вправо, при етом замыкается контакт микровыключателя В5 (21—27) і срабатывают гідрозолотники Эм4 і Эм3, сжимая нижние диски фрикционной муфты.
Если переключения швидкостей либо подач не произошло, необходимо вернуть рукоятку в исходное положение і повторить подъем і поворот ее.
Обычное увімкнення обертання шпинделя без изменения режимов осуществляется поворотом рукоятки командоаппарата влево (вправо), і приподнимать її не следует. При етом реле РЗ і гідрозолотники Эм1 і Эм2 живлення не получают, блоки шестерен коробки швидкостей і подач остаются на своих местах.
Отсоединение шпинделя от коробки швидкостей з целью обеспечения поворота его вручную осуществляется нажимом на кнопку Кн8, при етом включается електромагнит гідрозолотника Эм0, після чего шпиндельный блок устанавливается в среднее положение.
Для возобертання шпиндельного блока в рабочее состояние необходимо поднять і повернуть рукоятку командоаппарата.
Во время роботи степень загрузки електродвигуна приводу шпинделя контролируется указателем нагрузки ИП (А).
Включения і отключения насоса охлаждения инструмента производятся выключателем В2.

Колонна. Схема електрична з'єднань радиально-сверлильного верстата 2М55

Рукав. Схема електрична з'єднань радиально-сверлильного верстата 2М55

Панель керування. Схема електрична з'єднань радиально-сверлильного верстата 2М55

Сверлильная головка. Схема електрична з'єднань радиально-сверлильного верстата 2М55

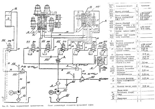
Гідросхема радиально-сверлильного верстата 2М55
Гідросхема радиально-сверлильного верстата 2М55. Дивитись у збільшеному масштабі

Гідросхема радиально-сверлильного верстата 2М55
Гідросхема радиально-сверлильного верстата 2М55. Дивитись у збільшеному масштабі
| Наименование параметра | 255 | 2а55 | 2н55 | 2м55 | 2а554 |
|---|---|---|---|---|---|
| Основні параметри верстата | |||||
| Класс точності верстата | Н | Н | Н | Н | Н |
| Наибольший условный диаметр сверления в стали 45, мм | 50 | 50 | 50 | 50 | 50 |
| Наибольший условный диаметр сверления в чугуне, мм | 63 | 63 | 63 | 63 | |
| Диапазон нарезаемой різьби в стали 45, мм | М52 х 5 | ||||
| Расстояние от оси шпинделя до направляющей колонны (вылет шпинделя), мм | 450...1500 | 450...1500 | 400...1600 | 375...1600 | 375...1600 |
| Наибольшее горизонтальное перемещение сверлильной головки по рукаву, мм | 1125 | 1050 | 1200 | 1225 | 1225 |
| Наименьшее і наибольшее расстояние от торца шпинделя до плиты, мм | 470...1500 | 470...1500 | 450...1600 | 450...1600 | 450...1600 |
| Наибольшее вертикальное перемещение рукава по колонне (установочное), мм | 680 | 680 | 800 | 750 | 750 |
| Скорость вертикального переміщення рукава по колонне, м/мин | 1,4 | 1,4 | 1,4 | ||
| Наибольшее осевое перемещение пиноли шпинделя (ход шпинделя), мм | 350 | 350 | 350 | 400 | 400 |
| Угол поворота рукава вокруг колонны, град | 360° | 360° | 360° | 360° | 360° |
| Рамер поверхности плиты (ширина длина), мм | 968 х 2430 | 1000 х 2530 | 1000 х 2555 | 1020 х 2555 | |
| Наибольшая масса инструмента, устанавливаемого на станке, кг | 15 | ||||
| Шпиндель | |||||
| Диаметр гильзы шпинделя, мм | 90 | ||||
| Обозначение кінця шпинделя по ГОСТ 24644-81 | Морзе 5 | Морзе 5 | Морзе 5 | Морзе 5 | Морзе 5 АТ6 |
| Частота прямого обертання шпинделя, об/мин | 30..1700 | 30...1900 | 20...2000 | 20...2000 | 18...2000 |
| Количество швидкостей шпинделя прямого обертання | 19 | 19 | 21 | 21 | 24 |
| Частота обратного обертання шпинделя, об/мин | 34..1700 | 37,4...1900 | |||
| Количество швидкостей шпинделя обратного обертання | 18 | ||||
| Пределы рабочих подач на один оборот шпинделя, мм/об | 0,03..1,2 | 0,05...2,2 | 0,056...2,5 | 0,056...2,5 | 0,045...5,0 |
| Число ступеней рабочих подач | 18 | 12 | 12 | 12 | 24 |
| Межі робочих подач на один оборот шпинделя при нарізанні різьблення, мм | 1,0...5,0 | ||||
| Переміщення шпинделя на один поділ лімба, мм | 1 | 1 | 1 | 1 | |
| Переміщення шпинделя на оборот лімба, мм | 122 | 122 | 120 | ||
| Найбільший допустимий момент, що крутить, кгс * см | 7500 | 7100 | 7100 | 7100 | |
| Найбільше зусилля подачі, кН | 20 | 20 | 20 | 20 | |
| Затискач обертання колони | Гідро | Гідро | Гідро | Гідро | |
| Затискач рукава на колоні | Електричний | Електричний | Електричний | Електричний | |
| Затискач головки на рукаві | Гідр | Гідр | Гідр | Гідр | |
| Електроустаткування. Привід | |||||
| Кількість електродвигунів на верстаті | 5 | 7 | 6 | 7 | |
| Електродвигун приводу головного руху, кВт (об/хв) | 4,3 (1500) | 4,5 | 4 | 4,5 | 5,5 |
| Електродвигун приводу переміщення рукава, кВт (об/хв) | 1,5 (1500) | 1,7 | 2,2 | 2,2 | 2,2 |
| Електродвигун приводу гідрозатиску колони, кВт (об/хв) | 0,25 (1500) | 0,5 | 0,5 | 0,55 | 0,55 |
| Електродвигун приводу гідрозатиску свердлильної головки, кВт (об/хв) | 0,5 | 0,5 | - | - | |
| Електродвигун насоса охолоджувальної рідини, кВт (об/хв) | 0,1 (3000) | 0,125 | 0,125 | 0,125 | 0,125 |
| Електродвигун набору швидкостей, кВт (об/хв) | - | - | 0,15 | 0,15 | 0,15 |
| Електродвигун набору подач, кВт | - | - | 0,15 | 0,15 | 0,15 |
| Електродвигун приводу прискореного переміщення шпинделя, кВт | - | - | - | 0,55 | |
| Сумарна потужність встановлених електродвигунів, кВт | 8,9 | ||||
| Габарити та маса верстата | |||||
| Габарити верстата (довжина ширина висота), мм | 2500 х 970 х 2250 | 2625 х 968 х 3265 | 2545 х 1000 х 3315 | 2665 х 1020 х 3430 | 2665 х 1030 х 3430 |
| Маса верстата, кг | 4300 | 4100 | 4100 | 4700 | 4700 |